JP2010146986A - 照明用レンズ、発光装置、面光源および液晶ディスプレイ装置 - Google Patents
照明用レンズ、発光装置、面光源および液晶ディスプレイ装置 Download PDFInfo
- Publication number
- JP2010146986A JP2010146986A JP2008326158A JP2008326158A JP2010146986A JP 2010146986 A JP2010146986 A JP 2010146986A JP 2008326158 A JP2008326158 A JP 2008326158A JP 2008326158 A JP2008326158 A JP 2008326158A JP 2010146986 A JP2010146986 A JP 2010146986A
- Authority
- JP
- Japan
- Prior art keywords
- light
- optical axis
- light emitting
- light source
- radiated
- Prior art date
- Legal status (The legal status is an assumption and is not a legal conclusion. Google has not performed a legal analysis and makes no representation as to the accuracy of the status listed.)
- Pending
Links
Images
Landscapes
- Led Device Packages (AREA)
- Liquid Crystal (AREA)
- Planar Illumination Modules (AREA)
Abstract
【課題】光源の指向性をより広くすることのできる照明用レンズを提供する。
【解決手段】照明用レンズ1は、入射面11および出射面12を有している。出射面12は、光軸A上の頂点に向かって凸となる第1出射面121、第1出射面121の周縁部から外側に広がる第2出射面122とを有している。第1出射面121は、光軸A上の光源位置である基点Pから放射されて第1出射面121に到達する放射光のうち光軸Aからの角度が所定角度以上の放射光を、第1回目の到達点で全反射した後に、第2回目の到達点で屈折させて被照射面3に到達させる、形状を有している。第2出射面122は、基点Pから放射されて第2出射面122に到達する放射光をその到達点で屈折させて被照射面3に到達させる形状を有している。第2出射面122は、d/p<0.4の領域では、0.2<cosθ1・cos2θ2<0.98を満足する。
【選択図】図1
【解決手段】照明用レンズ1は、入射面11および出射面12を有している。出射面12は、光軸A上の頂点に向かって凸となる第1出射面121、第1出射面121の周縁部から外側に広がる第2出射面122とを有している。第1出射面121は、光軸A上の光源位置である基点Pから放射されて第1出射面121に到達する放射光のうち光軸Aからの角度が所定角度以上の放射光を、第1回目の到達点で全反射した後に、第2回目の到達点で屈折させて被照射面3に到達させる、形状を有している。第2出射面122は、基点Pから放射されて第2出射面122に到達する放射光をその到達点で屈折させて被照射面3に到達させる形状を有している。第2出射面122は、d/p<0.4の領域では、0.2<cosθ1・cos2θ2<0.98を満足する。
【選択図】図1
Description
本発明は、例えば発光ダイオード等の光源の指向性を広くする照明用レンズ、およびこの照明用レンズを用いた照明装置に関する。さらに、本発明は、複数の照明装置を備える面光源、およびこの面光源がバックライトとして液晶パネル後方に配置された液晶ディスプレイ装置に関する。
従来の大型の液晶ディスプレイ装置のバックライトでは、冷陰極管が液晶パネル直下に多数配置され、これらの冷陰極管が拡散板や反射板等の部材と共に使われていた。近年では、バックライトの光源として発光ダイオードが使用されるようになっている。発光ダイオードは近年効率が向上し、蛍光灯に変わる消費電力の少ない光源として期待されている。また液晶ディスプレイ装置用の光源としては映像に応じて発光ダイオードの明暗を制御することで液晶ディスプレイ装置の消費電力を下げることができる。
液晶ディスプレイ装置の発光ダイオードを光源とするバックライトでは、冷陰極管の代わりに多数の発光ダイオードを配置することとなる。多数の発光ダイオードを用いることでバックライト表面で均一な明るさを得ることができるが、発光ダイオードが多数必要で安価にできない問題があった。1個の発光ダイオードの出力を大きくし、発光ダイオードの使用する個数を減らす取り組みがなされており、例えば特許文献1では、少ない個数の発光ダイオードでも均一な面光源が得られるようにするレンズが提案されている。
特許第3875247号
少ない個数の発光ダイオードで均一な面光源を得るためには、1個の発光ダイオードが照明する被照明領域を大きくする必要がある。すなわち発光ダイオードからの光を拡張して指向性を広くすることが必要である。このために特許文献1では、チップ状の発光ダイオードの指向性を制御する平面視で円形状のレンズを発光ダイオードの上に配置している。このレンズの形状は、光を出射させる出射面における光軸近傍部分が凹面となっており、その外側部分が凹面と連続する凸面となっている。
発光ダイオードでは、発光ダイオードのチップの正面方向に最も多くの光が発光しており、特許文献1に開示されたレンズでは、図17(a)に示すように、光軸近傍の凹面でチップからの正面方向に向かう光を屈折により発散させている。これにより、図17(b)に示すように、被照射面における光軸近傍の照度を抑えて広がりのある照度分布にすることができる。
ところで、発光ダイオードの発光は点ではなく、ある程度の発光領域を持っている。発光領域の周辺部より発光した光は、発光領域の中心部より発光した光とは違う経路をとる。図17(a)では、発光領域の中心部より発光した光の経路を実線で示し、発光領域の周辺部より発光した光の経路を波線で示している。
照度分布をより広がりのあるものにするには、光軸近傍の凹面の曲率半径を小さくすることが考えられる。このようにすれば、発光領域中心部からの光の凹面への入射角が大きくなり、この光を図18(a)中に実線で示すように周囲へ大きく屈折させることができる。しかしながら、発光領域周辺部からの光は図18(a)中に波線で示すように凹面への入射角が局所的に大きくなりすぎて全反射を起こすようになる。このため、図18(b)に示すように、被照射面上の照度は局所的に低下し、リング状に暗所が形成される。その結果、面光源としたときに輝度ムラが生じるようになる。このように特許文献1に記載のレンズでは、発光領域周辺部の光の全反射の影響で光源の指向性を広くするには限界がある。
本発明は、光源の指向性をより広くすることのできる照明用レンズを提供するとともに、この照明用レンズを含む発光装置、面光源、および液晶ディスプレイ装置を提供することを目的とする。
前記目的を達成するために、本発明の発明者は、発光ダイオードのチップの正面方向に行く、強い光を如何に周囲に配光するかが指向性をより広くするために重要であると考え、意図的に全反射を使って発光ダイオードのチップの正面方向に行く光を周囲に配光することを思い付いた。本発明はこのような観点からなされたものである。
すなわち、本発明は、所定の光軸間距離pで配置され、光源からの光を拡張して被照射面に照射する照明用レンズであって、光源からの光が入射する入射面と、入射した光を出射させる、光軸に対して軸対称な出射面と、を備え、前記出射面は、前記光軸上の頂点に向かって凸となる第1出射面と、この第1出射面の周縁部から外側に広がりながら凸面を形成する第2出射面と、を有し、前記第1出射面は、前記光軸上の前記光源の位置を基点としたときに、前記基点から放射されて当該第1出射面に到達する放射光のうち前記光軸からの角度が所定角度以上の放射光を、放射光が最初に到達する第1回目の到達点で全反射した後に、全反射された放射光が到達する第2回目の到達点で屈折させて前記被照射面に到達させる、形状を有しており、前記第2出射面は、前記基点から放射されて当該第2出射面に到達する放射光をその到達点で屈折させて前記被照射面に到達させる形状を有しており、前記基点から放射される放射光の光線と前記光軸とのなす角度をθ1、前記基点からθ1の角度で放射され、前記第2出射面で屈折した放射光の光線と前記光軸とのなす角度をθ2、前記基点からθ1の角度で放射され、前記第2出射面で屈折した放射光が前記被照射面に到達する位置から前記光軸までの距離をdとしたときに、前記第2出射面は、d/p<0.4の領域では、以下の式
0.2<cosθ1・cos2θ2<0.98
を満足する、照明用レンズを提供する。
0.2<cosθ1・cos2θ2<0.98
を満足する、照明用レンズを提供する。
また、本発明は、光を放射する発光ダイオードと、前記発光ダイオードからの光を拡張して被照射面に照射する照明用レンズと、を備える発光装置であって、前記照明用レンズは、上記の照明用レンズである、発光装置を提供する。
さらに、本発明は、平面的に配置された複数の発光装置と、前記複数の発光装置を覆うように配置され、前記複数の発光装置から一方面に照射された光を他方面から拡散した状態で放射する拡散板と、を備える面光源であって、前記複数の発光装置のそれぞれは、上記の発光装置である、面光源を提供する。
また、本発明は、液晶パネルと、前記液晶パネルの裏側に配置された上記の面光源と、を備える液晶ディスプレイ装置を提供する。
上記の構成によれば、第1出射面は、光源の発光領域中央部からの光をいったん全反射させた後に出射させる凸面になっている。このため、光源の発光領域周辺部からの光も第1出射面で全反射した後に被照射面に到達するようになる。すなわち、第1出射面によれば、第1出射面に到達する光の略全量を被照射面におけるレンズの光軸を中心とするより広い領域に照射することができる。一方、凸面を形成する第2出射面によれば、第2出射面に到達する光を被照射面におけるレンズの光軸から離れた領域に照射することができる。従って、本発明によれば、従来のような制約を伴うことなく、換言すれば光源から正面方向に行く強い光を有効に配光して、光源の指向性をより広くすることができる。
さらに本発明では、第2出射面が特定の条件を満たしているので、光源からの光をより広く配光することができる。従って、照明用レンズを所定の光軸間距離pで被照射面に平行な方向に平面的に複数配置したときには、光軸間距離pを大きくするとともに個々のレンズによる照射範囲を広くしても被照射面を均一に照明することができる。
(実施の形態1)
本発明の実施の形態1に係る照明用レンズついて、図面を参照しつつ説明する。図1は、実施の形態1に係る照明用レンズ1の構成図である。照明用レンズ1は、指向性を有する光源(図1では省略)と被照射面3との間に配置され、光源からの光を拡張して被照射面3に照射するものである。すなわち、照明用レンズ1によって光源の指向性が広くされる。被照射面3の照度分布は、照明用レンズ1の設計上の中心線である光軸A上が最大で周囲に行くほど略単調に減少する。なお、光源と照明用レンズ1とは、互いの光軸が合致するように配置される。また、実際には、図13に示すように、複数の照明用レンズ1が所定の光軸間距離pで被照射面3に平行な方向に平面的に配置される。ここで、光軸間距離pとは、最も近接する照明用レンズ1同士の光軸間距離のことであり、例えば、照明用レンズ1がマトリクス状に配置される場合は、照明用レンズ1の縦横のピッチのうち小さい方(それらが同じであってもよい)のピッチが光軸間距離pとなり、照明用レンズ1が千鳥状に配置される場合は、照明用レンズ1が最小間隔で並ぶ列におけるピッチが光軸間距離pとなる。
本発明の実施の形態1に係る照明用レンズついて、図面を参照しつつ説明する。図1は、実施の形態1に係る照明用レンズ1の構成図である。照明用レンズ1は、指向性を有する光源(図1では省略)と被照射面3との間に配置され、光源からの光を拡張して被照射面3に照射するものである。すなわち、照明用レンズ1によって光源の指向性が広くされる。被照射面3の照度分布は、照明用レンズ1の設計上の中心線である光軸A上が最大で周囲に行くほど略単調に減少する。なお、光源と照明用レンズ1とは、互いの光軸が合致するように配置される。また、実際には、図13に示すように、複数の照明用レンズ1が所定の光軸間距離pで被照射面3に平行な方向に平面的に配置される。ここで、光軸間距離pとは、最も近接する照明用レンズ1同士の光軸間距離のことであり、例えば、照明用レンズ1がマトリクス状に配置される場合は、照明用レンズ1の縦横のピッチのうち小さい方(それらが同じであってもよい)のピッチが光軸間距離pとなり、照明用レンズ1が千鳥状に配置される場合は、照明用レンズ1が最小間隔で並ぶ列におけるピッチが光軸間距離pとなる。
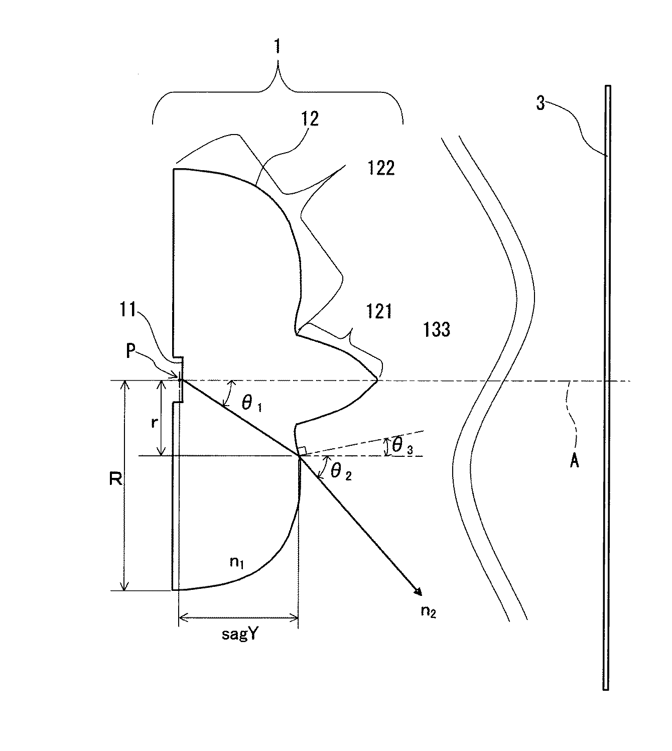
具体的に、照明用レンズ1は、光源からの光が入射する入射面11と、入射した光を出射させる出射面12とを有している。出射面12は光軸Aに対して軸対称である。照明用レンズ1の平面視における輪郭は、光軸Aに対して軸対称である必要はない。入射面11は光軸Aに対して軸対称である必要はない。光源からの光は、入射面11から照明用レンズ1内に入射した後に出射面12から出射されて、被照射面3に到達する。光源から放射される光は、出射面12の作用で拡張され、被照射面3の広い範囲に到達するようになる。
光源としては、例えば発光ダイオードを採用することができる。発光ダイオードは矩形板状のチップであることが多く、照明用レンズ1の入射面11も発光ダイオードに密着可能なように発光ダイオードの形状に合わせた形状とすることが好ましい。発光ダイオードは、照明用レンズ1の入射面11と接合剤を介して接していて、入射面11と光学的に接合されている。発光ダイオードは、通常は空気に触れないように封止樹脂で覆われているが、照明用レンズ1が封止樹脂の役割を果たすため、別途封止樹脂を配置する必要はない。従来の発光ダイオードの封止樹脂としては、エポキシ樹脂またはシリコンゴム等が用いられている。
照明用レンズ1は、所定の屈折率を有する透明材料で構成される。透明材料の屈折率は、例えば1.4から1.5程度である。このような透明材料としては、エポキシ樹脂、シリコン樹脂、アクリル樹脂、ポリカーボネイト等の樹脂、またはシリコンゴム等のゴムを用いることができる。中でも、発光ダイオードの封止樹脂として用いられるエポキシ樹脂またはシリコンゴム等を用いることが好ましい。
出射面12は、光軸A上の頂点に向かって凸となる第1出射面121と、この第1出射面121の周縁部から外側に広がりながら凸面を形成する第2出射面122とからなる。入射面11から照明用レンズ1の内部に入射する光は大きな角度範囲を持っている。光軸Aからの角度が小さい光は第1出射面121に到達し、光軸Aからの角度が大きい光は第2出射面122に到達する。
次に、第1出射面121および第2出射面122の形状について説明する。そのために、まず基点Pを規定し、この基点Pから放射される放射光を観念する。ここで、基点Pとは、光軸A上の光源の位置のことであり、光源として発光ダイオードを採用した場合は光軸Aと発光ダイオードの正面である出射面との交点となる。すなわち、基点Pは、入射面11から上述した接合剤の厚み分だけ離れている。そして、基点Pから放射される放射光は、第1出射面121と第2出射面122の境界と基点Pとを結んだ線と光軸Aとのなす角度θbを境に第1出射面121と第2出射面122のそれぞれに到達する。
第1出射面121は、基点Pから放射されて第1出射面121に到達する放射光のうち光軸Aからの角度が所定角度θf(図5参照)以上の放射光を、放射光が最初に到達する第1回目の到達点131(図3参照)で全反射した後に、全反射された放射光が到達する第2回目の到達点132(図3参照)で屈折させて被照射面3に到達させる、形状を有している。このように第1出射面121に到達した、光軸Aからの角度が所定角度θf以上の基点Pからの放射光は、1回の全反射と1回の屈折作用を受けて、大きく進路を変更し、被照射面3に照射されるようになる。ここで、第1回目の到達点131と第2回目の到達点132は、光軸Aを挟んで反対側に位置することが好ましい。すなわち、第1回目の到達点131から第2回目の到達点132に至る光線は光軸と交差することが好ましい。
第1出射面121が基点Pからの放射光を全反射させる始角である所定角度θfは、第1出射面121に到達する基点Pからの放射光の殆どがいったん全反射されるように、略0度となっていてもよい。ここで、略0度とは、1度未満の角度をいう。これを実現するには、第1出射面121の頂点を鋭く尖らせればよい。このようにすれば、被照射面3における光軸Aの近傍部分に到達する光量を抑えて、光源からの光をより周囲に配光することができる。
ただし、複数の発光ダイオードを用いて面光源を構成する場合は、所定角度θfを3〜7度とすることが好ましい。θfが3度未満だと被照射面3における光軸Aの近傍部分が暗くなりすぎ、θfが7度を超えると被照射面3における光軸Aの近傍部分が明るくなりすぎ、いずれの場合も面光源としたときに均一な照度分布を実現し難くなるからである。
さらに、所定角度θfが3〜7度である場合、第1出射面121は、基点Pから放射されて第1出射面121に到達する放射光のうち光軸Aからの角度が所定角度θf未満の放射光をその到達点133(図5参照)で屈折させて被照射面3に到達させる形状を有していることが好ましい。これを実現するには、第1出射面121の頂点近傍部分の曲率半径を大きくすればよい。このようにすれば、被照射面3における光軸Aの近傍部分を照明することができ、面光源としたときに面内での輝度ムラを少なくすることができる。
なお、第1出射面121と第2出射面122の境界と基点Pとを結んだ線と光軸Aとのなす角度θb(これは第1出射面121の終角でもあり第2出射面122の始角でもある)は、15〜25度の範囲内にあることが好ましい。θbが15度未満の場合は、第1出射面121による効果が小さくなり、大きな拡散効果が得られない。θbが25度を超える場合は、被照射面3における光軸Aの近傍部分が明るくなりすぎる。
一方、第2出射面122は、基点Pから放射されて第2出射面122に到達する放射光をその到達点14(図4参照)で屈折させて被照射面3に到達させる形状を有している。第2出射面122の外側に行くほど基点Pからの放射光と光軸Aとの角度は大きくなるが、放射光が第2出射面122に到達した到達点14での法線に対する放射線の光線の角度(後述するθ1−θ3)は第2出射面122に対する入射角であり、入射角が大きくなりすぎると全反射してしまう。全反射させないためには入射角を大きくさせないことが必要で、第2出射面122の形状は、光軸Aより遠くなるに従って、法線と光軸Aとの角度が大きくなるような形状、すなわち凸面になる。
なお、第2出射面122の形状は、次のようにも表すことができる。図1に示すように、基点Pから放射される放射光の光線B1と光軸Aとのなす角度をθ1、基点Pからθ1の角度で放射される放射光の光線B1と出射面12との交点Qにおける出射面12の法線Nと光軸Aとのなす角度をθ3、レンズの屈折率をn1、レンズの周囲の屈折率をn2とする。第2出射面122は、以下の式(1)
n1・sin(θ1−θ3)<n2・・・(1)
を満足する。式(1)は、第2出射面122の範囲を規定した式であり、第2出射面122の範囲を基点Pからの角度(極座標)で定義し、基点Pから放射された放射光が第2出射面122に到達したときに第2出射面122が光軸と平行であると仮定した時の全反射しない範囲を与えている。式(1)の左辺の値が式(1)の右辺の値以上になると、第2出射面122で全反射するようになる。
n1・sin(θ1−θ3)<n2・・・(1)
を満足する。式(1)は、第2出射面122の範囲を規定した式であり、第2出射面122の範囲を基点Pからの角度(極座標)で定義し、基点Pから放射された放射光が第2出射面122に到達したときに第2出射面122が光軸と平行であると仮定した時の全反射しない範囲を与えている。式(1)の左辺の値が式(1)の右辺の値以上になると、第2出射面122で全反射するようになる。
さらに、本実施形態の第2出射面122は、基点Pからθ1の角度で放射され、第2出射面122で屈折した放射光の光線B2と光軸Aとのなす角度をθ2、基点Pからθ1の角度で放射され、第2出射面122で屈折した放射光が被照射面3に到達する位置から光軸Aまでの距離をd(図13参照)としたときに、d/p<0.4の領域では、以下の式(2)
0.2<cosθ1・cos2θ2<0.98・・・(2)
を満足する。式(2)は、第2出射面122の部分範囲を規定した式であり、第2出射面122から出射された光の分布範囲を定義している。式(2)中の「cosθ1・cos2θ2」が0.98以上になると、被照射面3における光軸A上の照度が高くなりすぎ、0.2以下になると、被照射面3における光軸A近傍の照度が増し、光源の指向性をあまり広げることができない。よって、式(2)を満足しなければ、光の配光分布に偏りを生じ、光源を光軸間距離pで配置した際に、被照射面3において照度ムラを生じてしまう。
0.2<cosθ1・cos2θ2<0.98・・・(2)
を満足する。式(2)は、第2出射面122の部分範囲を規定した式であり、第2出射面122から出射された光の分布範囲を定義している。式(2)中の「cosθ1・cos2θ2」が0.98以上になると、被照射面3における光軸A上の照度が高くなりすぎ、0.2以下になると、被照射面3における光軸A近傍の照度が増し、光源の指向性をあまり広げることができない。よって、式(2)を満足しなければ、光の配光分布に偏りを生じ、光源を光軸間距離pで配置した際に、被照射面3において照度ムラを生じてしまう。
さらに、第2出射面122の局所曲率は、60°<θ1<80°となる範囲で最大の極大値を有することが好ましい。第2出射面122の局所曲率がθ1≦60°となる範囲で最大の極大値を有する場合には、第2出射面122から出射する光を広範囲に配光できなくなり、80°≦θ1となる範囲で最大の極大値を有する場合には、被照射面において照度ムラを少なくする配光分布特性が得られなくなり、照度ムラの原因となるからである。
以上説明したように、第1出射面121は、図3中に実線で示すように光源の発光領域中央部からの光をいったん全反射させた後に出射させる凸面になっている。このため、図3中に波線で示すように光源の発光領域周辺部からの光も第1出射面121で全反射した後に被照射面3に到達するようになる。すなわち、第1出射面121によれば、第1出射面121に到達する光の略全量を被照射面3におけるレンズの光軸Aを中心とするより広い領域に照射することができる。一方、凸面を形成する第2出射面122によれば、第2出射面122に到達する光を被照射面3におけるレンズの光軸Aから離れた領域に照射することができる。従って、本実施の形態1の照明用レンズ1によれば、従来のような制約を伴うことなく、換言すれば光源から正面方向に行く強い光を有効に配光して、光源の指向性をより広くすることができる。
さらに、本実施の形態1の照明用レンズ1では、第2出射面122がd/p<0.4の領域で上記の式(2)を満足しているので、光源からの光をより広く配光することができる。従って、照明用レンズ1を所定の光軸間距離pで被照射面3に平行な方向に平面的に複数配置したときには、光軸間距離pを大きくするとともに個々のレンズ1による照射範囲を広くしても被照射面3を均一に照明することができる。
なお、本発明の照明用レンズは、発光ダイオード以外の光源(例えば、レーザーまたは有機EL)にも適用可能である。
(実施の形態2)
図2は、本発明の実施の形態2に係る発光装置7の構成図である。この発光装置7は、光を放射する発光ダイオード2と、発光ダイオード2からの光を拡張して被照射面3に照射する、実施の形態1で説明した照明用レンズ1とを備えている。
図2は、本発明の実施の形態2に係る発光装置7の構成図である。この発光装置7は、光を放射する発光ダイオード2と、発光ダイオード2からの光を拡張して被照射面3に照射する、実施の形態1で説明した照明用レンズ1とを備えている。
発光ダイオード2は、照明用レンズ1の入射面11に接合剤により密着して配置され、光学的に接合されている。照明用レンズ1の出射面12から出射した光は被照射面3に到達し、被照射面3を照明する。
発光ダイオード2内での発光は指向性を持たない発光であるが、発光領域の屈折率は2.0以上であり、屈折率が低い領域に光が侵入すると、界面の屈折の影響で、界面の法線方向に最大の強度を持ち、法線方向から角度が大きくなるほど、光の強度は小さくなる。このように発光ダイオード2は指向性を持っており、広い範囲を照明するためには照明用レンズ1で指向性を広くすることが必要である。
図3は発光装置7の光路図である。図3では光源からの光のうち小さな角度で出射して、第1出射面121に到達する光線の光路を説明する。発光ダイオード2から出射した光は入射面11を透過し、第1出射面121に到達する。第1の出射面121上で光が到達した位置を第1回目の到達点131とする。第1回目の到達点131では発光ダイオード2からの光は大きな入射角で第1出射面121に入射するため第1出射面121を透過することができず、すべて反射する。反射した光は光軸と交差し、再度第1出射面121に到達する。第1の出射面121上で再度光が到達した位置を第2回目の到達点132とする。第2回目の到達点132では第1回目の到達点131で反射された光は小さな入射角で第1出射面121に入射するため、屈折作用を受けながら第1出射面121を透過する。透過した光は被照射面3に到達する。
図4は発光装置7の光路図である。図4では光源からの光のうち大きな角度で出射して、第2出射面122に到達する光線の光路を説明する。発光ダイオード2から出射した光は入射面11を透過し、第2出射面122に到達する。第2出射面122では光線は屈折作用を受けて透過し、被照射面3に到達する。
図5は発光装置7の光路図である。図5では光源からの光のうち光軸近傍の小さな角度で出射して、第1出射面121に到達する光線の光路を説明する。発光ダイオード2から出射した光は入射面11を透過し、第1出射面121に到達する。第1出射面121では光線は屈折作用を受けて透過し、被照射面3に到達する。このように、第1出射面121の光軸近傍に入射した光が全反射せず、屈折作用を受けて透過して、被照射面3に到達することで、被照射面3における光軸近傍部分の照度が必要以上に暗くなることを防ぐことができる。
以下、本発明の具体的な数値例として、実施例1を示す。
(実施例1)
図6は、本発明の実施の形態2の実施例1に係る発光装置の構成図である。本実施例1は、0.5mm角の発光ダイオードを光源とし、指向性を広げることを目的とした設計例である。図6中のθ1は、光軸A上の光源位置(基点P)と出射面12上の任意の位置とを結んだ直線と光軸Aとの角度である。また、図6中のθ3は、前記出射面12上の任意の位置での出射面12の法線、換言すれば光軸A上の光源位置(基点P)からθ1の角度方向に放射された光が出射面12に到達する位置での出射面12の法線が、光軸Aとなす角度である。さらに、図6中のθ2は、光軸A上の光源位置(基点P)からθ1の角度方向に放射され、第2出射面122で屈折した光の光線と光軸Aとのなす角度である。また、図6中のsagYは、光軸A上の光源位置(基点P)から前記出射面12上の任意の位置まで光軸方向に測った距離である。
図6は、本発明の実施の形態2の実施例1に係る発光装置の構成図である。本実施例1は、0.5mm角の発光ダイオードを光源とし、指向性を広げることを目的とした設計例である。図6中のθ1は、光軸A上の光源位置(基点P)と出射面12上の任意の位置とを結んだ直線と光軸Aとの角度である。また、図6中のθ3は、前記出射面12上の任意の位置での出射面12の法線、換言すれば光軸A上の光源位置(基点P)からθ1の角度方向に放射された光が出射面12に到達する位置での出射面12の法線が、光軸Aとなす角度である。さらに、図6中のθ2は、光軸A上の光源位置(基点P)からθ1の角度方向に放射され、第2出射面122で屈折した光の光線と光軸Aとのなす角度である。また、図6中のsagYは、光軸A上の光源位置(基点P)から前記出射面12上の任意の位置まで光軸方向に測った距離である。
次に具体的な数値を表1に示す。
図7は、表1のθ1とsagYについてグラフ化したものである。
本具体例1では、レンズを屈折率1.41(n1=1.41)の材料で構成しており、出射面12は空気(n2=1)に面している。これを上記式(1)に代入すると、第2出射面122では、θ1−θ3が45.172度未満となる。ここで、図8に、r/Rとθ1−θ3の関係のグラフを示す。r/Rは、光軸Aから前記出射面12上の任意の位置までの入射面11に平行な方向の距離をレンズ最外半径で規格化した値である(r:光軸から前記出射面上の任意の位置までの入射面に平行な方向の距離、R:レンズ最外半径)。図8は、第2出射面122ではθ1−θ3が45.172度未満となっていて式(1)が満たされていることを示している。また、図8は、第1出射面121が光軸A上の光源位置(基点P)から放射された光を光軸A近傍以外で全反射する形状であることをも示している。
さらに、図9に、d/pとcosθ1・cos2θ2の関係のグラフを示す。上記式(2)は、第2出射面122ではd/p<0.4の領域でcosθ1・cos2θ2が0.2と0.98の範囲内にあることを規定しているが、図9はこれが満たされていることを示している。なお、本実施例1では、pを20mmに設定しており、発光ダイオード2から被照射面3までの距離D(図13参照)を8mmに設定している。
また、図10に、θ1と局所曲率の関係のグラフを示す。図10から、第2出射面122の局所曲率は、θ1が約70度の位置で最大の極大値を有していることが分かる。すなわち、図10は、第2出射面122の局所曲率は、60°<θ1<80°となる範囲で最大の極大値を有することを示している。
図11は、具体例1の発光装置(実施例1の照明用レンズと発光ダイオード)を配置し、発光ダイオードから8mm離れた位置に被照射面を配置したときの計算で求めた被照射面での照度分布を表す。図12は、図11のときと同じ発光ダイオードのみを配置し、発光ダイオードから8mm離れた位置に被照射面を配置したときの計算で求めた被照射面での照度分布を表す。図11と図12を比較すると、照明用レンズの効果で被照射面を広く照明できていることがわかる。
(実施の形態3)
図13は、本発明の実施の形態3に係る面光源8の構成図である。この面光源8は、平面的に配置された、実施の形態2で説明した複数の発光装置7と、これらの発光装置7を覆うように配置された拡散板4とを備えている。なお、発光装置7は、マトリクス状に配置されていてもよいし、千鳥状に配置されていてもよい。
図13は、本発明の実施の形態3に係る面光源8の構成図である。この面光源8は、平面的に配置された、実施の形態2で説明した複数の発光装置7と、これらの発光装置7を覆うように配置された拡散板4とを備えている。なお、発光装置7は、マトリクス状に配置されていてもよいし、千鳥状に配置されていてもよい。
発光装置7は、拡散板4の一方面4aに光を照射する。すなわち、拡散板4の一方面4aは、実施の形態1および実施の形態2で説明した被照射面3となっている。拡散板4は、一方面4aに照射された光を他方面4bから拡散された状態で放射する。個々の発光装置7からは拡散板4の一方面4aに広い範囲で均一化された照度の光が照射され、この光が拡散板4で拡散されることにより、面内での輝度ムラが少ない面光源ができる。
ここで、発光ダイオード2から拡散板4の一方面4aである被照射面3までの距離Dと照明用レンズ1の光軸間距離pの関係については、0.3<D/p<0.5となっていることが好ましい。
図14は、実施例1の照明用レンズと発光ダイオードからなる発光装置を20mmピッチで一直線上に4つ配置し、発光ダイオードから8mm離れた位置に拡散板を配置したときの計算で求めた拡散板入射面(発光装置側の一方面)での照度分布を表す。照度分布に細かな波が見られるが照度計算を実行する上で、評価する光線数が不足しているためである。図15は、発光ダイオードのみを20mmピッチで一直線に4つ配置し、発光ダイオードから8mm離れた位置に拡散板を配置したときの計算で求めた拡散板入射面での照度分布を表す。図14と図15を比較すると、照明用レンズの効果で拡散板入射面を均一に照明できていることがわかる。
(実施の形態4)
図16は、本発明の実施の形態4に係る液晶ディスプレイ装置の構成図である。この液晶ディスプレイ装置は、液晶パネル5と、液晶パネル5の裏側に配置された、実施の形態3で説明した面光源8とを備えている。
図16は、本発明の実施の形態4に係る液晶ディスプレイ装置の構成図である。この液晶ディスプレイ装置は、液晶パネル5と、液晶パネル5の裏側に配置された、実施の形態3で説明した面光源8とを備えている。
発光ダイオード2と照明用レンズ1で構成される発光装置7が平面的に複数配置され、これらの発光装置7によって拡散板4が照明される。拡散板4の裏面(一方面)は、照度が均一化された光が照射され、この光が拡散板4によって拡散されて液晶パネル5が照明される。
なお、図16に示すように、液晶パネル5と面光源8との間には拡散シート、プリズムシート等のシート41が配置されているとともに、発光装置7が存在しない部分には拡散反射板6が配置されていることが好ましい。発光装置7からの光は、拡散板4で散乱されて、発光装置側へ戻ったり拡散板4を透過したりする。発光装置側へ戻って拡散反射板6に入射する光は、拡散反射板6で反射されて、拡散板4に再度入射する。拡散板4を透過した光は、シート41でさらに拡散されて、液晶パネル5を照明する。
1 照明用レンズ
11 入射面
12 出射面
121 第1出射面
122 第2出射面
131 第1回目の到達点
132 第2回目の到達点
133 到達点
14 到達点
2 発光ダイオード(光源)
3 被照射面
4 拡散板
41 拡散シートまたはプリズムシート
5 液晶パネル
6 拡散反射板
7 発光装置
8 面光源
A 光軸
B1,B2 光線
N 法線
P 基点
Q 交点
11 入射面
12 出射面
121 第1出射面
122 第2出射面
131 第1回目の到達点
132 第2回目の到達点
133 到達点
14 到達点
2 発光ダイオード(光源)
3 被照射面
4 拡散板
41 拡散シートまたはプリズムシート
5 液晶パネル
6 拡散反射板
7 発光装置
8 面光源
A 光軸
B1,B2 光線
N 法線
P 基点
Q 交点
Claims (7)
- 所定の光軸間距離pで配置され、光源からの光を拡張して被照射面に照射する照明用レンズであって、
光源からの光が入射する入射面と、入射した光を出射させる、光軸に対して軸対称な出射面と、を備え、
前記出射面は、前記光軸上の頂点に向かって凸となる第1出射面と、この第1出射面の周縁部から外側に広がりながら凸面を形成する第2出射面と、を有し、
前記第1出射面は、前記光軸上の前記光源の位置を基点としたときに、前記基点から放射されて当該第1出射面に到達する放射光のうち前記光軸からの角度が所定角度以上の放射光を、放射光が最初に到達する第1回目の到達点で全反射した後に、全反射された放射光が到達する第2回目の到達点で屈折させて前記被照射面に到達させる、形状を有しており、
前記第2出射面は、前記基点から放射されて当該第2出射面に到達する放射光をその到達点で屈折させて前記被照射面に到達させる形状を有しており、
前記基点から放射される放射光の光線と前記光軸とのなす角度をθ1、前記基点からθ1の角度で放射され、前記第2出射面で屈折した放射光の光線と前記光軸とのなす角度をθ2、前記基点からθ1の角度で放射され、前記第2出射面で屈折した放射光が前記被照射面に到達する位置から前記光軸までの距離をdとしたときに、
前記第2出射面は、d/p<0.4の領域では、以下の式
0.2<cosθ1・cos2θ2<0.98
を満足する、照明用レンズ。 - 前記基点からθ1の角度で放射される放射光の光線と前記出射面との交点における前記出射面の法線と前記光軸とのなす角度をθ3、レンズの屈折率n1を、レンズの周囲の屈折率n2としたときに、
前記第2出射面は、以下の式
n1・sin(θ1−θ3)<n2
を満足する、請求項1に記載の照明用レンズ。 - 前記所定角度は、3〜7度であり、
前記第1出射面は、前記基点から放射されて当該第1出射面に到達する放射光のうち前記光軸からの角度が前記所定角度未満の放射光をその到達点で屈折させて前記被照射面に到達させる形状を有している、請求項1または2に記載の照明用レンズ。 - 前記第2出射面の局所曲率は、60°<θ1<80°となる範囲で最大の極大値を有する、請求項1〜3のいずれか一項に記載の照明用レンズ。
- 光を放射する発光ダイオードと、前記発光ダイオードからの光を拡張して被照射面に照射する照明用レンズと、を備える発光装置であって、
前記照明用レンズは、請求項1〜4のいずれか一項に記載の照明用レンズである、発光装置。 - 平面的に配置された複数の発光装置と、前記複数の発光装置を覆うように配置され、前記複数の発光装置から一方面に照射された光を他方面から拡散した状態で放射する拡散板と、を備える面光源であって、
前記複数の発光装置のそれぞれは、請求項5に記載の発光装置である、面光源。 - 液晶パネルと、前記液晶パネルの裏側に配置された請求項6に記載の面光源と、を備える液晶ディスプレイ装置。
Priority Applications (1)
| Application Number | Priority Date | Filing Date | Title |
|---|---|---|---|
| JP2008326158A JP2010146986A (ja) | 2008-12-22 | 2008-12-22 | 照明用レンズ、発光装置、面光源および液晶ディスプレイ装置 |
Applications Claiming Priority (1)
| Application Number | Priority Date | Filing Date | Title |
|---|---|---|---|
| JP2008326158A JP2010146986A (ja) | 2008-12-22 | 2008-12-22 | 照明用レンズ、発光装置、面光源および液晶ディスプレイ装置 |
Publications (1)
| Publication Number | Publication Date |
|---|---|
| JP2010146986A true JP2010146986A (ja) | 2010-07-01 |
Family
ID=42567156
Family Applications (1)
| Application Number | Title | Priority Date | Filing Date |
|---|---|---|---|
| JP2008326158A Pending JP2010146986A (ja) | 2008-12-22 | 2008-12-22 | 照明用レンズ、発光装置、面光源および液晶ディスプレイ装置 |
Country Status (1)
| Country | Link |
|---|---|
| JP (1) | JP2010146986A (ja) |
Cited By (5)
| Publication number | Priority date | Publication date | Assignee | Title |
|---|---|---|---|---|
| WO2012008154A1 (ja) * | 2010-07-14 | 2012-01-19 | 株式会社エンプラス | 照明装置 |
| CN106051515A (zh) * | 2016-05-30 | 2016-10-26 | 众普森科技(株洲)有限公司 | 一种配光单元及配光组件 |
| CN109442348A (zh) * | 2018-11-28 | 2019-03-08 | 众普森科技(株洲)有限公司 | 光学透镜、光学模块及面板灯 |
| CN110126104A (zh) * | 2019-03-25 | 2019-08-16 | 苏州芯海半导体科技有限公司 | 一种砷化镓晶片切割方法 |
| WO2024235308A1 (zh) * | 2023-05-18 | 2024-11-21 | 欧普照明股份有限公司 | 透镜结构与光源模组 |
-
2008
- 2008-12-22 JP JP2008326158A patent/JP2010146986A/ja active Pending
Cited By (7)
| Publication number | Priority date | Publication date | Assignee | Title |
|---|---|---|---|---|
| WO2012008154A1 (ja) * | 2010-07-14 | 2012-01-19 | 株式会社エンプラス | 照明装置 |
| JPWO2012008154A1 (ja) * | 2010-07-14 | 2013-09-05 | 株式会社エンプラス | 照明装置 |
| US8827491B2 (en) | 2010-07-14 | 2014-09-09 | Enplas Corporation | Lighting device |
| CN106051515A (zh) * | 2016-05-30 | 2016-10-26 | 众普森科技(株洲)有限公司 | 一种配光单元及配光组件 |
| CN109442348A (zh) * | 2018-11-28 | 2019-03-08 | 众普森科技(株洲)有限公司 | 光学透镜、光学模块及面板灯 |
| CN110126104A (zh) * | 2019-03-25 | 2019-08-16 | 苏州芯海半导体科技有限公司 | 一种砷化镓晶片切割方法 |
| WO2024235308A1 (zh) * | 2023-05-18 | 2024-11-21 | 欧普照明股份有限公司 | 透镜结构与光源模组 |
Similar Documents
| Publication | Publication Date | Title |
|---|---|---|
| JP4546579B1 (ja) | 照明用レンズ、発光装置、面光源および液晶ディスプレイ装置 | |
| JP5342939B2 (ja) | 照明用レンズ、発光装置、面光源および液晶ディスプレイ装置 | |
| JP5118617B2 (ja) | 照明用レンズ、発光装置、面光源および液晶ディスプレイ装置 | |
| JP4489843B2 (ja) | 照明用レンズおよびそれを用いた発光装置、面光源、液晶ディスプレイ装置 | |
| JP5518881B2 (ja) | 発光装置、面光源および液晶ディスプレイ装置 | |
| JP5849193B2 (ja) | 発光装置、面光源、液晶ディスプレイ装置、およびレンズ | |
| JPWO2011048735A1 (ja) | 照明用レンズ、発光装置、面光源および液晶ディスプレイ装置 | |
| JPWO2012164790A1 (ja) | 面光源および液晶ディスプレイ装置 | |
| WO2012132043A1 (ja) | 照明装置 | |
| JP2011014831A (ja) | 発光装置、面光源および液晶ディスプレイ装置 | |
| JP6629601B2 (ja) | 光束制御部材、発光装置、面光源装置および表示装置 | |
| WO2013035788A1 (ja) | 照明装置および照明スタンド | |
| JP2010186142A (ja) | 照明用レンズ、発光装置、面光源および液晶ディスプレイ装置 | |
| JP2018181726A (ja) | 光束制御部材、発光装置、面光源装置および表示装置 | |
| JP2010146986A (ja) | 照明用レンズ、発光装置、面光源および液晶ディスプレイ装置 | |
| JP5342938B2 (ja) | 照明用レンズ、発光装置、面光源および液晶ディスプレイ装置 | |
| JP5849192B2 (ja) | 面光源および液晶ディスプレイ装置 | |
| JP6748424B2 (ja) | 発光装置、面光源装置および表示装置 | |
| JP2010140769A (ja) | 照明用レンズ、発光装置、面光源および液晶ディスプレイ装置 | |
| JP5342941B2 (ja) | 照明用レンズ、発光装置、面光源および液晶ディスプレイ装置 | |
| JP5342940B2 (ja) | 照明用レンズ、発光装置、面光源および液晶ディスプレイ装置 | |
| KR101798599B1 (ko) | 광속제어부재 및 이를 이용한 백라이트유닛 | |
| JP2011228226A (ja) | 照明用レンズ、発光装置、面光源および液晶ディスプレイ装置 | |
| JP2010146987A (ja) | 照明用レンズ、発光装置、面光源および液晶ディスプレイ装置 | |
| JP2016045306A (ja) | 光束制御部材、面光源装置および表示装置 |
