JP2010143736A - シート供給装置 - Google Patents
シート供給装置 Download PDFInfo
- Publication number
- JP2010143736A JP2010143736A JP2008324843A JP2008324843A JP2010143736A JP 2010143736 A JP2010143736 A JP 2010143736A JP 2008324843 A JP2008324843 A JP 2008324843A JP 2008324843 A JP2008324843 A JP 2008324843A JP 2010143736 A JP2010143736 A JP 2010143736A
- Authority
- JP
- Japan
- Prior art keywords
- tray
- lid
- paper
- sheet
- sheet supply
- Prior art date
- Legal status (The legal status is an assumption and is not a legal conclusion. Google has not performed a legal analysis and makes no representation as to the accuracy of the status listed.)
- Withdrawn
Links
- 238000011144 upstream manufacturing Methods 0.000 claims abstract description 7
- 230000003028 elevating effect Effects 0.000 claims description 18
- 238000000926 separation method Methods 0.000 abstract description 3
- 238000010586 diagram Methods 0.000 description 5
- 230000001105 regulatory effect Effects 0.000 description 5
- 238000009434 installation Methods 0.000 description 2
- 230000000694 effects Effects 0.000 description 1
- 238000005096 rolling process Methods 0.000 description 1
- 238000007665 sagging Methods 0.000 description 1
- 238000004804 winding Methods 0.000 description 1
Images
Landscapes
- Sheets, Magazines, And Separation Thereof (AREA)
Abstract
【課題】A3サイズの用紙やA4サイズの用紙等の通常サイズの用紙を多量に格納できると共に、長尺用紙を画像形成装置に供給できるシート供給装置を提供することである。
【解決手段】本体12は、画像形成装置に接続され、かつ、上部に開口Oが設けられている。トレイ16は、通常用紙が積載される。給紙ローラ18及び捌きローラ20は、通常用紙を画像形成装置へと搬送する。昇降機構22及び駆動部24は、給紙ローラ18及び捌きローラ20が通常用紙を搬送できるように、トレイ16を本体12内において昇降させる。昇降機構22及び駆動部24が、トレイ16を上昇させ、かつ、蓋14が、開口Oよりも搬送方向の上流側にてトレイ16と鈍角をなしている状態において、長尺用紙LPがトレイ16及び蓋14に跨って載置される。
【選択図】図8
【解決手段】本体12は、画像形成装置に接続され、かつ、上部に開口Oが設けられている。トレイ16は、通常用紙が積載される。給紙ローラ18及び捌きローラ20は、通常用紙を画像形成装置へと搬送する。昇降機構22及び駆動部24は、給紙ローラ18及び捌きローラ20が通常用紙を搬送できるように、トレイ16を本体12内において昇降させる。昇降機構22及び駆動部24が、トレイ16を上昇させ、かつ、蓋14が、開口Oよりも搬送方向の上流側にてトレイ16と鈍角をなしている状態において、長尺用紙LPがトレイ16及び蓋14に跨って載置される。
【選択図】図8
Description
本発明は、シート供給装置に関し、より特定的には、画像形成装置に対してシートを供給するシート供給装置に関する。
画像形成装置では、長尺用紙と呼ばれる用紙に対して画像が形成されることがある。長尺用紙とは、A3サイズの用紙やA4サイズの用紙と異なり、所定の方向に長い用紙である。このような長尺用紙としては、例えば、297mm×900mm、210mm×900mm、297mm×1200mm等のサイズの用紙が挙げられる。
ところで、A3サイズの用紙やA4サイズの用紙は、画像形成装置に内蔵されたトレイにて格納される。一方、長尺用紙は、サイズが特殊であることや、使用頻度がA3サイズの用紙等に比べて低いため、外付けのトレイ上に載置され、画像形成装置に対して供給される。このような外付けのトレイとしては、例えば、特許文献1に記載のシート供給装置が知られている。該シート供給装置では、トレイが搬送方向に拡張可能に構成されている。これにより、シート供給装置は、長尺用紙が自重にて垂れ下がってしまうことを防止している。
しかしながら、特許文献1に記載のシート供給装置では、以下に説明するように、該シート供給装置の設置スペース又は保管場所が必要となるという問題がある。より詳細には、A3サイズの用紙やA4サイズの用紙は、一度に大量に使用されることが多いため、画像形成装置に内蔵されたトレイに大量に格納されることが一般的である。よって、少量の用紙しか積載できないシート供給装置によって、A3サイズの用紙やA4サイズの用紙が画像形成装置に対して供給される機会は比較的少ない。そのため、シート供給装置は、長尺用紙の印刷に使用される場合が殆どであり、低い使用頻度しか有していない。そのため、ユーザは、シート供給装置が低い使用頻度しか有していないにもかかわらず、長尺用紙の印刷のために、該シート供給装置を画像形成装置に設置しておくか、又は、該シート供給装置を保管しておく必要があった。
特開2003−267561号公報
そこで、本発明の目的は、A3サイズの用紙やA4サイズの用紙等の通常サイズの用紙を多量に格納できると共に、長尺用紙を画像形成装置に供給できるシート供給装置を提供することである。
本発明の一形態に係るシート供給装置は、画像形成装置に接続され、かつ、上部に開口が設けられている本体と、第1のシートが積載されるトレイと、前記第1のシートを前記画像形成装置へと搬送する搬送手段と、前記搬送手段が前記第1のシートを搬送できるように、前記トレイを前記本体内において昇降させる昇降手段と、前記開口を覆う蓋と、を備え、前記昇降手段が、前記トレイを上昇させ、かつ、前記蓋が、前記開口よりも搬送方向の上流側に位置して該トレイと鈍角をなしている状態において、該トレイよりも搬送方向に長い第2のシートが該トレイ及び該蓋に跨って載置されること、を特徴とする。
以下に、本発明の実施形態に係るシート供給装置について説明する。
(シート供給装置の構成)
以下に、シート供給装置の構成について図面を参照しながら説明する。図1は、シート供給装置10が画像形成装置100に接続された状態の図である。図2ないし図5は、シート供給装置10の外観斜視図である。図6ないし図8は、シート供給装置10の断面構造図である。以下では、シート供給装置10から画像形成装置100に向かう方向を用紙の搬送方向と定義する。
以下に、シート供給装置の構成について図面を参照しながら説明する。図1は、シート供給装置10が画像形成装置100に接続された状態の図である。図2ないし図5は、シート供給装置10の外観斜視図である。図6ないし図8は、シート供給装置10の断面構造図である。以下では、シート供給装置10から画像形成装置100に向かう方向を用紙の搬送方向と定義する。
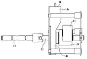
シート供給装置10は、A3サイズの用紙やA4サイズの用紙等の通常サイズの用紙を大量に格納することができる。本実施形態に係るシート供給装置10は、A4サイズの用紙を格納することができる。そして、シート供給装置10は、複写機などの画像形成装置100に接続されて、画像形成装置100に対して用紙を供給する。該シート供給装置10は、図2ないし図6(特に、図6(b)参照)に示すように、本体12、蓋14、トレイ16、給紙ローラ18、捌きローラ20、昇降機構22及び駆動部24を備えている。
本体12は、直方体状をなしており、図3に示すように、上面において開口Oを有している。すなわち、本体12は箱状をなしており、その内部は空洞である。本体12は、図1に示すように、搬送方向の下流側の側面において画像形成装置100と接触する。
蓋14は、図2に示すように、開口Oを覆うように設けられている。そして、蓋14は、図3、図4、図6及び図8に示すように、開口Oの搬送方向の両端に設けられた支点14a,14bを中心として回動可能に本体12に対して取り付けられている。支点14aは、搬送方向の下流側に設けられている。支点14bは、搬送方向の上流側に設けられている。なお、図3及び図6(b)に示すように、蓋14が支点14aを中心として回転する場合には、支点14bにおける本体12と蓋14との固定が解除される。一方、図4、図5及び図8に示すように、蓋14が支点14bを中心として回転する場合には、支点14aにおける本体12と蓋14との固定が解除される。このような構成は、一般的な両開きの扉と同様の構成により実現される。
トレイ16には、図6に示すように、通常サイズの用紙P(以下、通常用紙Pと称す)が上面に積載される。給紙ローラ18及び捌きローラ20は、通常用紙Pを画像形成装置100へと搬送する搬送手段を構成している。より詳細には、給紙ローラ18は、トレイ16に載置された通常用紙Pを一枚ずつ取り出す。捌きローラ20は、給紙ローラ18が取り出した通常用紙Pを一枚ずつ捌くと共に、捌いた一枚の通常用紙Pを画像形成装置100へと搬送する。
昇降機構22及び駆動部24は、給紙ローラ18及び捌きローラ20が通常用紙Pを搬送することができるように、トレイ16を本体12内において上下方向に昇降させる昇降手段を構成している。具体的には、駆動部24は、モーターにより構成され、昇降機構22に対して動力を供給する。昇降機構22は、駆動部24からの動力により、トレイ16を上昇させる。また、昇降機構22は、蓋14の開閉に連動して、駆動部24との連結を切断し、トレイ16を下降させる。以下に、図面を参照しながら昇降機構22について説明する。
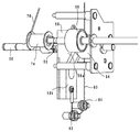
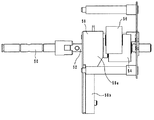
図9及び図10は、蓋14が閉まっているときの昇降機構22の外観斜視図である。図11は、支点14aを中心として蓋14が開いているときの昇降機構22の外観斜視図である。図12は、蓋14が閉まっているときに昇降機構22を平面視した図である。図13は、支点14aを中心として蓋14が開いているときに昇降機構22を平面視した図である。図14は、支点14bを中心として蓋14が開けられるときの昇降機構22の外観斜視図である。なお、図9、図10及び図12は、同じ状態を示しており、図11及び図13は、同じ状態を示している。
図9及び図10に示すように、昇降機構22は、シャフト50,52、ギア54,56、スライド部材58、ワイヤ60、プーリー62,64、係合部材66,68、当接部材70、スライド部材72、プーリー74及びワイヤ76を備えている。シャフト50は、駆動部24に接続されており、駆動部24の駆動に基づいて回転する。シャフト52は、シャフト50の先端に対して着脱可能に係合している。図9、図10及び図12では、シャフト50,52は係合しており、図11及び図13では、シャフト50,52は係合していない。
ギア54は、シャフト52に取り付けられており、シャフト50,52の回転に伴って回転する。ギア56は、ギア54に係合している。また、プーリー74は、図10に示すように、シャフトを解してギア56に連結されている。プーリー74の周囲には、ワイヤ76が巻きつけられている。これにより、シャフト50,52が係合しているときには、駆動部24が駆動すると、シャフト50,52、ギア54,56及びプーリー74が回転させられる。その結果、ワイヤ76がプーリー74によって巻き取られ、図4に示すトレイ16が上昇する。
スライド部材58は、上下方向に移動可能な部材であり、厚肉部58a及び薄肉部58bを有する。厚肉部58aは、薄肉部58bの上側に位置しており、シャフト52が延在している方向において、薄肉部58bよりも厚い構造を有している。ワイヤ60の一端は、スライド部材58に接続されている。ワイヤ60は、図9及び図10に示すように、スライド部材58の下端に接続され、下方向へと延在している。そして、ワイヤ60は、プーリー62,64により折り曲げられ、上方向へと延在している。ワイヤ60の他端は、係合部材66に接続されている。係合部材68は、図9に示すように、蓋14の支点14a近傍に取り付けられており、係合部材66と着脱可能に係号する。これにより、蓋14が支点14aを中心として開くと、係合部材66,68は引っ張り上げられる。そして、ワイヤ60は、図11及び図13に示すように、スライド部材58を引き下げる。この際、図11及び図13に示すように、スライド部材58の厚肉部58aが、ギア54を側方に押し出す。これにより、シャフト50,52の係合が解除される。その結果、トレイ16は、自重により下降する。
当接部材70は、図9に示すように、孔を有している。該孔には、ワイヤ60が通過している。スライド部材72は、上下方向に移動可能な部材であり、厚肉部72a及び薄肉部72bを有する。厚肉部72aは、薄肉部72bの下側に位置しており、上下方向に直交する方向において、薄肉部72bよりも厚い構造を有している。また、スライド部材72の上面は、本体12の上面から露出している。ユーザが、スライド部材72の上面を押し下げることにより、図14に示すように、当接部材70が、図9の矢印aの方向にスライドして、薄肉部72bに接触するようになる。その結果、ワイヤ60が、当接部材70により矢印aの方向に引っ張られ、係合部材66,68の係合が解除される。これにより、蓋14が支点14bを中心として開けられたとしても、ワイヤ60は、蓋14により引っ張り上げられなくなる。その結果、スライド部材58が引き下げられず、シャフト50,52の係合が解除されない。
(シート供給装置の動作)
以上のように構成されたシート供給装置10について、以下に図面を参照しながらその動作について説明する。以下に説明する動作は、シート供給装置10により、長尺用紙LPを画像形成装置100に供給可能とするための動作である。
以上のように構成されたシート供給装置10について、以下に図面を参照しながらその動作について説明する。以下に説明する動作は、シート供給装置10により、長尺用紙LPを画像形成装置100に供給可能とするための動作である。
初期状態では、図6(a)に示すように、蓋14は閉じられており、トレイ16上には多量の通常用紙Pが積載されている。このとき、昇降機構22は、図9及び図10に示す状態を取っている。したがって、シャフト50,52が係合しており、駆動部24の動力により、トレイ16は上昇している。ただし、トレイ16は、通常用紙Pが積載されているので、通常用紙Pの上面が給紙ローラ18に当接する位置において停止している。図6(a)の状態では、画像形成装置100からの指示により、シート供給装置10は、通常用紙Pを画像形成装置100に供給することができる。
次に、ユーザは、図6(b)に示すように、通常用紙Pをトレイ16から取り除くために、支点14aを中心として回転させて蓋14を開ける。この際、ワイヤ60は、蓋14により引き上げられる。そのため、図11に示すように、スライド部材58が下方向にスライドし、シャフト50,52の係合を解除する。その結果、駆動部24の動力がプーリー74に伝達されなくなり、トレイ16は、図6(b)に示すように、自重により下降する。
次に、ユーザは、図7(a)に示すように、通常用紙Pを取り除き、図7(b)に示すように、蓋14を閉じる。蓋14が閉じられると、昇降機構22は、図9及び図10の状態に復帰する。そのため、駆動部24の動力により、トレイ16は上昇する。
次に、ユーザは、スライド部材72の上面を押す。これにより、図14に示すように、係合部材66,68の係合が解除される。よって、図8(a)に示すように、ユーザが支点14bを中心として回転させて蓋14を開けたとしても、ワイヤ60は、引っ張り上げられない。そのため、シャフト50,52の係合が解除されず、トレイ16は、駆動部24の動力により、給紙ローラ18に当接するまで、上昇し続ける。これにより、図8(a)に示すように、昇降機構22及び駆動部24がトレイ16上昇させ、かつ、蓋14が、開口Oよりも搬送方向の上流側にてトレイ16と鈍角をなすようになる。この後、ユーザは、トレイ16よりも搬送方向に長い長尺用紙LPを、該長尺用紙LPがトレイ16及び蓋14を跨ぐように載置する。この後、画像形成装置100からの指示により、長尺用紙LPは、給紙ローラ18及び捌きローラ20により、画像形成装置100に対して搬送される。
なお、図7(b)に示すようにトレイ16が上昇している途中に、ユーザがスライド部材72を押すことなく支点14bを中心として蓋14を開けた場合には、ワイヤ60が蓋14により引っ張り上げられる。そのため、スライド部材58が、図11に示すように、引き下げられ、シャフト50,52の係合が解除される。これにより、駆動部24の動力がプーリー74に伝達されなくなる。その結果、図8(b)に示すように、トレイ16は、自重により下降する。この場合、長尺用紙LPをセットすることはできない。
(効果)
シート供給装置10は、図6(a)の状態において、多量の通常用紙Pを格納していると共に、該通常用紙Pを画像形成装置100に対して供給できる。一方、長尺用紙LPを画像形成装置100に供給したい場合には、図5及び図8(a)に示すように、昇降機構22及び駆動部24がトレイ16を上昇させ、かつ、蓋14が開口Oよりも搬送方向の上流側に位置して該トレイ16と鈍角をなしている。そのため、ユーザは、長尺用紙LPを蓋14及びトレイ16に跨って載置することができる。その結果、長尺用紙LPは、折り曲げられたり垂れ下がったりすることなく、シート供給装置10にセットされるようになる。
シート供給装置10は、図6(a)の状態において、多量の通常用紙Pを格納していると共に、該通常用紙Pを画像形成装置100に対して供給できる。一方、長尺用紙LPを画像形成装置100に供給したい場合には、図5及び図8(a)に示すように、昇降機構22及び駆動部24がトレイ16を上昇させ、かつ、蓋14が開口Oよりも搬送方向の上流側に位置して該トレイ16と鈍角をなしている。そのため、ユーザは、長尺用紙LPを蓋14及びトレイ16に跨って載置することができる。その結果、長尺用紙LPは、折り曲げられたり垂れ下がったりすることなく、シート供給装置10にセットされるようになる。
以上のように、シート供給装置10は、通常では、多量の通常用紙Pを格納しており、状況に応じて、長尺用紙LPをセットすることができる。すなわち、シート供給装置10は、特許文献1に記載のシート供給装置のように通常では使用されないものを、長尺用紙LPの供給時のみ画像形成装置に接続されるのではなく、通常時に使用されているものにおいて長尺用紙LPも供給可能とされている。よって、シート供給装置10の設置スペースや保管場所が別途必要にならない。
また、シート供給装置10では、長尺用紙LPの長辺は、本体12の側面により囲まれている。そのため、長尺用紙LPの搬送時に、長尺用紙LPの長辺が規制されるようになる。その結果、長尺用紙LPが確実にセットされるようになると共に、長尺用紙LPのスキュー性能が向上する。
(その他の実施形態)
本発明に係るシート供給装置は、前記シート供給装置10に限らず、その要旨の範囲内において変更可能である。図15及び図16は、その他の実施形態に係るシート供給装置10'の外観斜視図である。図15及び図16では、長尺用紙LPがセット可能な状態が示されている。
本発明に係るシート供給装置は、前記シート供給装置10に限らず、その要旨の範囲内において変更可能である。図15及び図16は、その他の実施形態に係るシート供給装置10'の外観斜視図である。図15及び図16では、長尺用紙LPがセット可能な状態が示されている。
シート供給装置10は、A4サイズの用紙を多量に格納することができた。一方、図15及び図16に示すシート供給装置10'は、A3サイズの用紙を多量に格納することができる。そして、シート供給装置10'のトレイ16は、図16に示すように、長尺用紙LPが搬送される場合に、トレイ16と蓋14とを繋ぐ補助トレイ80を有している。これにより、長尺用紙LPは、蓋14、トレイ16及び補助トレイ80に沿って載置されるようになる。その結果、長尺用紙LPが折れ曲がりにくくなる。
また、図15及び図16に示すシート供給装置10'では、A4サイズの用紙を多量に格納できるように、後端規制板82が設けられている。この後端規制板82は、通常用紙Pの後端をそろえるために設けられた部材である。ところが、長尺用紙LPは、搬送時に、後端規制板82に引っ掛かるおそれがある。そこで、補助トレイ80が設けられることにより、長尺用紙LPが後端規制板82に引っ掛かることが抑制される。
なお、シート供給装置10,10'では、蓋14は、本体12に対して両開き構造を有しているが、該蓋14は、本体12に対して着脱可能であってもよい。すなわち、ユーザが、蓋14を本体12から取り外して、図4に示すように、蓋14を本体12に取り付けなおしてもよい。
なお、蓋14は、ユーザにより開閉されるものとしたが、自動で開閉されるものであってもよい。
LP 長尺用紙
O 開口
P 通常用紙
10,10’ シート供給装置
12 本体
14 蓋
14a,14b 支点
16 トレイ
18 給紙ローラ
20 捌きローラ
22 昇降機構
24 駆動部
80 補助トレイ
100 画像形成装置
O 開口
P 通常用紙
10,10’ シート供給装置
12 本体
14 蓋
14a,14b 支点
16 トレイ
18 給紙ローラ
20 捌きローラ
22 昇降機構
24 駆動部
80 補助トレイ
100 画像形成装置
Claims (3)
- 画像形成装置に接続され、かつ、上部に開口が設けられている本体と、
第1のシートが積載されるトレイと、
前記第1のシートを前記画像形成装置へと搬送する搬送手段と、
前記搬送手段が前記第1のシートを搬送できるように、前記トレイを前記本体内において昇降させる昇降手段と、
前記開口を覆う蓋と、
を備え、
前記昇降手段が、前記トレイを上昇させ、かつ、前記蓋が、前記開口よりも搬送方向の上流側に位置して該トレイと鈍角をなしている状態において、該トレイよりも搬送方向に長い第2のシートが該トレイ及び該蓋に跨って載置されること、
を特徴とするシート供給装置。 - 前記蓋は、前記開口の搬送方向の両端に設けられた第1の支点及び第2の支点を中心として回動可能に本体に対して支持されており、
前記第2のシートが搬送される場合には、前記蓋は、搬送方向の上流側に設けられた前記第1の支点を中心として回転させられ、
前記第1のシートがトレイから取り出される場合には、前記蓋は、搬送方向の下流側に設けられた前記第2の支点を中心として回転されられること、
を特徴とする請求項1に記載のシート供給装置。 - 前記トレイは、前記第2のシートが搬送される場合に、該トレイと前記蓋とを繋ぐ補助トレイを有していること、
を特徴とする請求項1又は請求項2のいずれかに記載のシート供給装置。
Priority Applications (1)
| Application Number | Priority Date | Filing Date | Title |
|---|---|---|---|
| JP2008324843A JP2010143736A (ja) | 2008-12-22 | 2008-12-22 | シート供給装置 |
Applications Claiming Priority (1)
| Application Number | Priority Date | Filing Date | Title |
|---|---|---|---|
| JP2008324843A JP2010143736A (ja) | 2008-12-22 | 2008-12-22 | シート供給装置 |
Publications (1)
| Publication Number | Publication Date |
|---|---|
| JP2010143736A true JP2010143736A (ja) | 2010-07-01 |
Family
ID=42564560
Family Applications (1)
| Application Number | Title | Priority Date | Filing Date |
|---|---|---|---|
| JP2008324843A Withdrawn JP2010143736A (ja) | 2008-12-22 | 2008-12-22 | シート供給装置 |
Country Status (1)
| Country | Link |
|---|---|
| JP (1) | JP2010143736A (ja) |
Cited By (3)
| Publication number | Priority date | Publication date | Assignee | Title |
|---|---|---|---|---|
| JP2017128403A (ja) * | 2016-01-18 | 2017-07-27 | コニカミノルタ株式会社 | 給紙装置および画像形成装置 |
| CN108622687A (zh) * | 2017-03-17 | 2018-10-09 | 佳能精技立志凯株式会社 | 进纸装置及具备其的图像形成系统 |
| JP2020079162A (ja) * | 2020-03-03 | 2020-05-28 | コニカミノルタ株式会社 | 給紙装置および画像形成装置 |
-
2008
- 2008-12-22 JP JP2008324843A patent/JP2010143736A/ja not_active Withdrawn
Cited By (7)
| Publication number | Priority date | Publication date | Assignee | Title |
|---|---|---|---|---|
| JP2017128403A (ja) * | 2016-01-18 | 2017-07-27 | コニカミノルタ株式会社 | 給紙装置および画像形成装置 |
| US10167147B2 (en) * | 2016-01-18 | 2019-01-01 | Konica Minolta, Inc. | Sheet feeder device and image forming apparatus |
| CN108622687A (zh) * | 2017-03-17 | 2018-10-09 | 佳能精技立志凯株式会社 | 进纸装置及具备其的图像形成系统 |
| JP2020079162A (ja) * | 2020-03-03 | 2020-05-28 | コニカミノルタ株式会社 | 給紙装置および画像形成装置 |
| JP2021181380A (ja) * | 2020-03-03 | 2021-11-25 | コニカミノルタ株式会社 | 給紙装置および画像形成装置 |
| JP7186737B2 (ja) | 2020-03-03 | 2022-12-09 | コニカミノルタ株式会社 | 給紙装置および画像形成装置 |
| JP7541961B2 (ja) | 2020-03-03 | 2024-08-29 | コニカミノルタ株式会社 | 給紙装置および画像形成装置 |
Similar Documents
| Publication | Publication Date | Title |
|---|---|---|
| JP2001063855A (ja) | 給紙装置 | |
| CN104118747B (zh) | 片材给送装置以及具备片材给送装置的图像形成装置 | |
| JP2018100145A (ja) | 画像読取装置 | |
| JP2015164874A (ja) | 給紙装置及びその給紙装置を備えた画像形成装置 | |
| JP2010143736A (ja) | シート供給装置 | |
| JP2008024508A (ja) | 給紙装置 | |
| JP5843811B2 (ja) | 給紙装置及び画像形成装置 | |
| JP2009249175A (ja) | 給紙装置、及び画像形成装置 | |
| US9771230B2 (en) | Sheet conveyance device and image forming apparatus | |
| CN101607639B (zh) | 送纸装置 | |
| JP2007153455A (ja) | 用紙載置装置、及び画像形成装置 | |
| JP5865863B2 (ja) | シート給送装置及びそれを備えた画像形成装置 | |
| JP2011133663A (ja) | 給紙装置及び画像形成装置 | |
| JP6657989B2 (ja) | 自動原稿読取装置、画像形成装置 | |
| JP2009035357A (ja) | 原稿搬送装置 | |
| JP5436878B2 (ja) | 用紙供給装置及びこれを搭載した画像形成装置 | |
| JP5369995B2 (ja) | 給紙装置及び画像形成装置 | |
| JP2001192124A (ja) | シート材供給装置及び画像形成装置 | |
| JP2007197191A (ja) | 手差し給紙装置及びそれを備えた画像形成装置 | |
| US9834400B2 (en) | Printer | |
| JP2017132564A (ja) | シート給送装置およびそれを備えた画像形成装置 | |
| JP6686379B2 (ja) | 給紙装置および画像形成装置 | |
| JP6424857B2 (ja) | シート給送装置およびそれを備えた画像形成装置 | |
| JP2007210762A (ja) | 給紙装置及び画像形成装置 | |
| JP2007168978A (ja) | 給紙カセット及びこれを用いた画像形成装置 |
Legal Events
| Date | Code | Title | Description |
|---|---|---|---|
| A621 | Written request for application examination |
Free format text: JAPANESE INTERMEDIATE CODE: A621 Effective date: 20110826 |
|
| A761 | Written withdrawal of application |
Effective date: 20120413 Free format text: JAPANESE INTERMEDIATE CODE: A761 |