JP2010142872A - ベーパーリフロー半田付け装置 - Google Patents
ベーパーリフロー半田付け装置 Download PDFInfo
- Publication number
- JP2010142872A JP2010142872A JP2008326366A JP2008326366A JP2010142872A JP 2010142872 A JP2010142872 A JP 2010142872A JP 2008326366 A JP2008326366 A JP 2008326366A JP 2008326366 A JP2008326366 A JP 2008326366A JP 2010142872 A JP2010142872 A JP 2010142872A
- Authority
- JP
- Japan
- Prior art keywords
- carry
- heat medium
- steam
- unit
- steam tank
- Prior art date
- Legal status (The legal status is an assumption and is not a legal conclusion. Google has not performed a legal analysis and makes no representation as to the accuracy of the status listed.)
- Pending
Links
- 238000005476 soldering Methods 0.000 title claims abstract description 48
- 238000011084 recovery Methods 0.000 claims abstract description 41
- 238000010438 heat treatment Methods 0.000 claims abstract description 24
- 239000007788 liquid Substances 0.000 claims abstract description 24
- 238000001816 cooling Methods 0.000 claims description 36
- 239000002826 coolant Substances 0.000 claims description 12
- 229910000679 solder Inorganic materials 0.000 description 8
- 238000000034 method Methods 0.000 description 6
- 239000006071 cream Substances 0.000 description 4
- 238000004519 manufacturing process Methods 0.000 description 3
- 230000008018 melting Effects 0.000 description 3
- 238000002844 melting Methods 0.000 description 3
- 239000002184 metal Substances 0.000 description 3
- 230000002093 peripheral effect Effects 0.000 description 3
- 229920006395 saturated elastomer Polymers 0.000 description 3
- 239000012808 vapor phase Substances 0.000 description 3
- 238000009835 boiling Methods 0.000 description 2
- 210000000078 claw Anatomy 0.000 description 2
- 230000000694 effects Effects 0.000 description 2
- 230000003028 elevating effect Effects 0.000 description 2
- 238000001704 evaporation Methods 0.000 description 2
- 230000002542 deteriorative effect Effects 0.000 description 1
- 238000007599 discharging Methods 0.000 description 1
- 230000008020 evaporation Effects 0.000 description 1
- 239000000155 melt Substances 0.000 description 1
- 239000000203 mixture Substances 0.000 description 1
- 239000003960 organic solvent Substances 0.000 description 1
- 229910001220 stainless steel Inorganic materials 0.000 description 1
- 239000010935 stainless steel Substances 0.000 description 1
- 238000009834 vaporization Methods 0.000 description 1
- 230000008016 vaporization Effects 0.000 description 1
Images
Landscapes
- Electric Connection Of Electric Components To Printed Circuits (AREA)
Abstract
【課題】熱媒体の流出を効果的に抑制することができる半田付け装置を提供する。
【解決手段】半田付け装置1は、蒸気槽2と、前記蒸気槽2の下部に貯留された液体状の熱媒体3と、前記熱媒体3を加熱して蒸気を発生させる加熱部4と、前記蒸気槽2の搬入口から前記蒸気槽2内にワークを搬入する搬入部5とを備える。搬入口7を塞ぐように、ように熱媒体回収部20が設けられている。熱媒体回収部20は、蒸気槽2の搬入口7に対し出し入れ自在とし得るように構成されている。
【選択図】図1
【解決手段】半田付け装置1は、蒸気槽2と、前記蒸気槽2の下部に貯留された液体状の熱媒体3と、前記熱媒体3を加熱して蒸気を発生させる加熱部4と、前記蒸気槽2の搬入口から前記蒸気槽2内にワークを搬入する搬入部5とを備える。搬入口7を塞ぐように、ように熱媒体回収部20が設けられている。熱媒体回収部20は、蒸気槽2の搬入口7に対し出し入れ自在とし得るように構成されている。
【選択図】図1
Description
本発明は、液状の熱媒体を用いてプリント基板のリフロー半田付けを行うベーパーリフロー半田付け装置に関するものである。
従来、この種のベーパーリフロー半田付け装置(以下、「半田付け装置」という)としては、熱媒体としての不活性液体を収容した蒸気槽と、前記不活性液体を加熱する加熱部と、前記蒸気槽の上部側方から前記蒸気槽内にワークを搬入する昇降体とを備える半田付け装置が開示されている(例えば特許文献1)。
この半田付け装置では、前記不活性液体を加熱してその液体上に飽和蒸気相を形成し、前記蒸気槽の上部側方からワークを昇降体によって蒸気槽内に搬入し、飽和蒸気相が有する気化潜熱によってワークに予め形成した半田を加熱溶融してリフロー半田付けを行う。また、当該特許文献1に係る半田付け装置は、蒸気槽の内壁に冷却コイルが設けられており、不活性液体が蒸発してなる蒸気を回収するように構成されている。このようにして半田付け装置は、冷却コイルによってワーク搬入出口部の下側領域に飽和蒸気相を保持すると共に、外部へ熱媒体が流出するのを防止するように構成されている。
特開昭63−168276号公報
しかしながら、上記特許文献1では、冷却コイルが蒸気槽の内壁に設けられているので、蒸気槽の搬入出口部の中央部分から外部へ流出する蒸気を回収することができない。そうすると、従来の半田付け装置では、高価な熱媒体が無駄に蒸気槽から流出してしまうという問題があった。
そこで、本発明は、熱媒体の流出を効果的に抑制することができる半田付け装置を提供することを目的とする。
本発明の請求項1に係る発明は、蒸気槽と、前記蒸気槽内の下部に貯留された液体状の熱媒体と、前記熱媒体を加熱して蒸気を発生させる加熱部と、前記蒸気槽の搬入口から前記蒸気槽内にワークを搬入する搬入部とを備えるベーパーリフロー半田付け装置において、前記蒸気を凝縮して液体状に戻す熱媒体回収部が前記搬入口を塞ぐように設けられており、前記熱媒体回収部は、前記搬入部が前記ワークを搬入する動作に連動して、前記搬入口に対し出し入れ自在に設けられたことを特徴とする。
本発明の請求項2に係る発明は、前記熱媒体回収部は、前記搬入部が前記ワークを搬入した状態においても、前記搬入口に対し出し入れ可能であることを特徴とする。
本発明の請求項3に係る発明は、前記熱媒体回収部は、冷却媒体が流通する冷却パイプと、前記冷却パイプの下方に配置された受け部とを有することを特徴とする。
本発明の請求項1によれば、必要に応じて熱媒体回収部を移動させて、搬入口の中央部分から流出しようとする熱媒体を回収するので、熱媒体の流出を効果的に抑制することができる。
本発明の請求項2によれば、蒸気槽内にワークを搬入し、当該ワークを加熱している間も、熱媒体回収部で搬入口の中央部分から流出しようとする蒸気を回収することができる。
本発明の請求項3によれば、冷却パイプ内を流れる冷却媒体によって凝縮された熱媒体がワーク上に落下するのを防ぐことができるので、品質の低下を防止することができる。
(1)全体構成
以下、図面を参照して本発明の実施形態について詳細に説明する。
以下、図面を参照して本発明の実施形態について詳細に説明する。
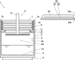
図1に示す半田付け装置1は、蒸気槽2と、前記蒸気槽2内の下部に貯留された液体状の熱媒体3と、前記熱媒体3を加熱して蒸気を発生させる加熱部4と、前記蒸気槽2の搬入口から前記蒸気槽2内にワークを搬入する搬入部5とを備える。この半田付け装置1は、加熱部4により熱媒体3を加熱して蒸気を発生し、当該蒸気によって搬入部5で搬入されたワーク6に設けられた半田を加熱溶融してリフロー半田付けを行い得るように構成されている。
尚、本実施形態において、ワーク6は電子部品が載置されたプリント基板である。一般的に、プリント基板に電子部品を載置する際には、まず、回路パターンに対応したステンレス鋼製のメタルマスクを用いて、電子部品が載置される回路パターンであるランド上にクリーム半田が塗布される。その後、メタルマスクを取り除くことにより、電子部品が載置されるランド上だけにクリーム半田が残るように処理される。この工程を経た後、マウンターによりプリント基板上の所定位置に電子部品が載置される。
蒸気槽2は、上部が開口した有底筒状の金属製容器からなり、当該上部に搬入口7が形成されている。搬入口7の周縁には、冷却部9が設けられている。冷却部9は、側壁8の内周面8aに螺旋状に設けられた固定冷却パイプ10と、当該固定冷却パイプ10の下方に配置された回収トレイ11とを有する。この固定冷却パイプ10には、図示しない冷却媒体供給装置から一定温度に保持された冷却媒体が供給されている。
蒸気槽2の底部2aの外側には、加熱部4が設けられている。加熱部4は、種々のものを用いることができるが、例えば内部に電熱線を張り巡らした電熱ヒータを用いることができる。この加熱部4は、蒸気槽2内に貯留された熱媒体3を蒸発させるために必要な熱量を発生させることができるものである。熱媒体3は、使用する半田の融点よりも沸点が高い不活性有機溶剤を用いる。
搬入部5は、ワーク6を着脱自在に保持する一対の保持部12,12と、当該保持部12に連結されたアーム部13,13とを備える。前記保持部12は、特に限定されるものではなく、例えば、爪を有し、当該爪により板状のワーク6を上下に挟んで保持することとしてもよい。前記アーム部13は、図示しない移動経路に連結されている。これにより、当該アーム部13に連結された保持部12は、搬入口7より上方の位置と、リフロー領域ARとの間を昇降する。
尚、移動経路は、プリント基板を製造するための複数の工程からなるプリント基板製造工程において、ワーク6を各工程間へ移動させるために張り巡らされたレールなどで構成された経路をいう。
このように構成された搬入部5は、図示しないプリント基板製造工程の移動経路に沿って各工程間を移動する。また、搬入部5は、蒸気槽2に位置決めされると、保持部12を蒸気槽2内に下降させ、保持部12で固定したワーク6をリフロー領域ARに搬入し、当該ワーク6を熱媒体3の蒸気で加熱し得るように構成されている。
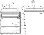
上記構成に加え、本実施形態に係る半田付け装置1は、搬入口7を塞ぐように、熱媒体回収部20が設けられている。熱媒体回収部20は、冷却媒体が流通する冷却パイプ21と、前記冷却パイプ21の下方に配置された受け部22とを有する。
この冷却パイプ21は、種々のものが考えられるが、例えば、図2に示すように、一本の管を搬入口7の一端7aと他端7bとを跨ぐように配置し、搬入口7の一端7a側において折り返してなる1組の配管23を、蒸気槽2の一対の側壁8間に複数設けることとしてもよい。この冷却パイプ21は、搬入口7の他端7b側に入口23aと出口23bとを有する。冷却パイプ21には、図示しない冷却媒体供給装置から一定温度に保持された冷却媒体が、搬入口7の他端7b側に設けられた入口23aへ供給される。
冷却媒体は、冷却パイプ21の配管23の中を搬入口7の一端7a側へ向かって流れ、さらに搬入口7の一端7a側において折り返して搬入口7の他端7b側に設けられた出口23bへと流れる。当該冷却媒体は、冷却パイプ21内を流れている間に、冷却パイプ21を介して蒸気と熱交換をすることにより、蒸気の熱を吸収する。これにより、蒸気は、凝縮され、液体状に戻る。
また、冷却パイプ21の下方には、配管23毎に受け部22が設けられている。受け部22は、蒸気槽2内の下部へ連通しており、当該冷却パイプ21によって凝縮された熱媒体3を回収し、回収した当該熱媒体3を蒸気槽2内の下部へ戻すように構成されている。尚、受け部22は、冷却パイプ21との間に隙間が形成されており、冷却パイプ21内を流れる冷却媒体によって冷却されることがないように断熱されている。
さらに半田付け装置1は、図示しない移動装置が設けられている。当該移動装置は、前記蒸気槽2の搬入口7に対し熱媒体回収部20を出し入れ自在とし得るように構成されている。すなわち、熱媒体回収部20は、搬入口7に対し入った位置、すなわち搬入口7を塞ぐように配置された位置(図2、以下「回収位置」という)と、搬入口7に対し出た位置、すなわち搬入口7の他端7bの外側へ配置され搬入口7からワーク6を搬入し得る位置(図3、以下「開放位置」という)との間を、移動装置により移動可能に構成されている。
(2)作用及び効果
次に上記構成の作用及び効果について説明する。まず、プリント基板上に電子部品を載置したワーク6を用意する。当該ワーク6は、保持部12で着脱自在に保持され、アーム部13によって移動経路に沿って各工程へ移動する。
次に上記構成の作用及び効果について説明する。まず、プリント基板上に電子部品を載置したワーク6を用意する。当該ワーク6は、保持部12で着脱自在に保持され、アーム部13によって移動経路に沿って各工程へ移動する。
リフロー半田工程を行う半田付け装置1では、蒸気槽2内に貯留された液状の熱媒体3が加熱部4により加熱されている。熱媒体3は、その温度が沸点を超えると蒸気を発生する。発生した蒸気は、液状の熱媒体3の液面から上昇して当該液面の上方にリフロー領域ARを形成すると共に、搬入口7近傍の側壁8の内周面8aに設けられた冷却部9により凝縮され、液状に戻る。液状に戻った熱媒体3は、回収トレイ11で回収され、蒸気槽2内の下部に貯留された液状の熱媒体3に戻される。この冷却部9により、半田付け装置1は、熱媒体3が搬入口7の周縁付近から流出することを防止できる。
さらに、本実施形態に係る半田付け装置1では、ワーク6が蒸気槽2へ運ばれてくる前、熱媒体回収部20が回収位置に配置されている(図2)。この熱媒体回収部20は、搬入口7の中央部分から蒸気槽2の外部へ流出しようとする蒸気を冷却パイプ21で凝縮させ、液状に戻す。液状に戻された熱媒体3は、受け部22で回収され、蒸気槽2内の下部に貯留された液状の熱媒体3に戻される。このようにして、半田付け装置1は、熱媒体回収部20が回収位置に配置されることにより、搬入口7近傍の内周面8aに設けられた冷却部9で回収されない搬入口7の中央部分を通る蒸気を回収することができるので、熱媒体3の流出を効果的に抑制することができる。
また、半田付け装置1は、ワーク6が蒸気槽2の搬入口7へ運ばれてくるのに連動して、熱媒体回収部20を開放位置へ移動させる(図3)。そうすると、蒸気槽2は、それまで熱媒体回収部20によって塞がれていた搬入口7が開放される。これにより、搬入部5は、ワーク6を蒸気槽2内へ降下させることが可能となる。
搬入口7に位置決めされた状態で、搬入部5は、保持部12に固定したワーク6を搬入口7の上方からリフロー領域ARへ搬入する(図4)。リフロー領域ARへ搬入されたワーク6は、蒸気によって加熱される。同時にワーク6に設けられたクリーム半田が加熱溶融される。
一方、ワーク6がリフロー領域ARに搬入されると同時に、熱媒体回収部20が開放位置から熱回収位置へ復帰する(図1及び図5)。これにより、熱媒体回収部20は、ワーク6を蒸気槽2内で加熱している間、搬入口7の中央部分から外部へ流出しようとする蒸気を回収する。
このように熱媒体回収部20は、搬入部5がワーク6をリフロー領域ARに搬入した際、回収位置に移動し得るように構成されている。これにより、半田付け装置1は、蒸気槽2内において、蒸気によりワーク6を加熱している間も、搬入口7から外部へ流出しようとする蒸気を熱媒体回収部20で回収することができる。従って、半田付け装置1は、高価な熱媒体3が蒸気槽2から流出するのをより確実に抑制することができる。
所定時間経過してクリーム半田の加熱溶融が終了すると、半田付け装置1は、ワーク6を排出するに先立って、熱媒体回収部20を開放位置へ移動させる(図4)。これにより、蒸気槽2は、それまで熱媒体回収部20によって塞がれていた搬入口7が開放される。
次いで、搬入部7は、ワーク6をリフロー領域ARから搬入口7の上方へ排出する(図3)。ここで、ワーク6は冷却され、溶融されたクリーム半田が固着することにより、半田付け工程が終了する。
次いで、半田付け装置1は、搬入部5が移動経路に沿って次工程へと移動するのに連動して、熱媒体回収部20を回収位置へ移動させる(図2)。
上記したように、半田付け装置1は、ワーク6を蒸気槽2内のリフロー領域ARに搬入する際と、リフロー領域ARから排出する際には、熱媒体回収部20を開放位置に配置するように構成し、ワーク6が蒸気槽2に運ばれてくる前、ワーク6を蒸気槽2に搬入して蒸気で加熱している間、及び、ワーク6を蒸気槽2から排出した後のそれぞれにおいて、熱媒体回収部20を回収位置に配置するように構成した。これにより、半田付け装置1は、搬入部5と、熱媒体回収部20との干渉を防ぎながら、搬入口7の中央部分から流出しようとする蒸気を回収することができる。このように、半田付け装置1は、必要に応じて熱媒体回収部20を移動させて、熱媒体3の流出を効果的に抑制することができる。
また、前記熱媒体回収部20は、冷却パイプ21の下方に配置された受け部22を有することにより、冷却パイプ21内を流れる冷却媒体によって凝縮された熱媒体3がワーク6上に落下するのを防ぐことができる。従って、半田付け装置1は、製品の品質を低下させずに、熱媒体3を効率的に回収して、蒸気槽2から熱媒体3が流出することを抑制できる。
また、半田付け装置1は、冷却パイプ21を有する熱媒体回収部20で熱媒体3の流出を抑制するように構成していることにより、環状冷却パイプ10と協働して、蒸気槽2内の温度をより一定に保持することができると共に、構造を簡素化できるので、コスト低減を実現することができる。
本発明は上記した実施形態に限定されるものではなく、本発明の趣旨の範囲内で適宜変更することが可能である。
例えば、冷却パイプ21は、一本の管を搬入口7を塞ぐように配置し、搬入口7の一端7a側において折り返してなる1組の配管23を、蒸気槽2の一対の側壁8間に複数設ける場合について説明したが、本発明はこれに限らず、冷却パイプ21は、搬入口7を塞ぐように
蛇行状や螺旋状に形成した配管を用いることとしてもよい。
蛇行状や螺旋状に形成した配管を用いることとしてもよい。
1 半田付け装置(ベーパーリフロー半田付け装置)
2 蒸気槽
3 熱媒体
4 加熱部
5 搬入部
6 ワーク
7 搬入口
20 熱媒体回収部
21 冷却パイプ
22 受け部
2 蒸気槽
3 熱媒体
4 加熱部
5 搬入部
6 ワーク
7 搬入口
20 熱媒体回収部
21 冷却パイプ
22 受け部
Claims (3)
- 蒸気槽と、
前記蒸気槽内の下部に貯留された液体状の熱媒体と、
前記熱媒体を加熱して蒸気を発生させる加熱部と、
前記蒸気槽の搬入口から前記蒸気槽内にワークを搬入する搬入部と
を備えるベーパーリフロー半田付け装置において、
前記蒸気を凝縮して液体状に戻す熱媒体回収部が前記搬入口を塞ぐように設けられており、
前記熱媒体回収部は、前記搬入部が前記ワークを搬入する動作に連動して、前記搬入口に対し出し入れ自在に設けられた
ことを特徴とするベーパーリフロー半田付け装置。 - 前記熱媒体回収部は、前記搬入部が前記ワークを搬入した状態においても、前記搬入口に対し出し入れ可能であることを特徴とする請求項1記載のベーパーリフロー半田付け装置。
- 前記熱媒体回収部は、冷却媒体が流通する冷却パイプと、前記冷却パイプの下方に配置された受け部とを有することを特徴とする請求項1又は2記載のベーパーリフロー半田付け装置。
Priority Applications (1)
| Application Number | Priority Date | Filing Date | Title |
|---|---|---|---|
| JP2008326366A JP2010142872A (ja) | 2008-12-22 | 2008-12-22 | ベーパーリフロー半田付け装置 |
Applications Claiming Priority (1)
| Application Number | Priority Date | Filing Date | Title |
|---|---|---|---|
| JP2008326366A JP2010142872A (ja) | 2008-12-22 | 2008-12-22 | ベーパーリフロー半田付け装置 |
Publications (1)
| Publication Number | Publication Date |
|---|---|
| JP2010142872A true JP2010142872A (ja) | 2010-07-01 |
Family
ID=42563842
Family Applications (1)
| Application Number | Title | Priority Date | Filing Date |
|---|---|---|---|
| JP2008326366A Pending JP2010142872A (ja) | 2008-12-22 | 2008-12-22 | ベーパーリフロー半田付け装置 |
Country Status (1)
| Country | Link |
|---|---|
| JP (1) | JP2010142872A (ja) |
Citations (2)
| Publication number | Priority date | Publication date | Assignee | Title |
|---|---|---|---|---|
| JPS62148085A (ja) * | 1985-12-23 | 1987-07-02 | Hitachi Techno Eng Co Ltd | ペ−パ−リフロ−式はんだ付け装置 |
| JPH0385161U (ja) * | 1989-12-19 | 1991-08-28 |
-
2008
- 2008-12-22 JP JP2008326366A patent/JP2010142872A/ja active Pending
Patent Citations (2)
| Publication number | Priority date | Publication date | Assignee | Title |
|---|---|---|---|---|
| JPS62148085A (ja) * | 1985-12-23 | 1987-07-02 | Hitachi Techno Eng Co Ltd | ペ−パ−リフロ−式はんだ付け装置 |
| JPH0385161U (ja) * | 1989-12-19 | 1991-08-28 |
Similar Documents
| Publication | Publication Date | Title |
|---|---|---|
| CA2688385C (en) | Method and apparatus for removing contaminants from a reflow apparatus | |
| TW201529217A (zh) | 用於波焊機器的助焊劑管理系統與方法 | |
| US4022371A (en) | Vapor bonding method | |
| JP2010087464A (ja) | 電気機器の分解方法 | |
| KR101716920B1 (ko) | 불활성 기체를 웨이브 납땜 설비에 제공하기 위한 장치 | |
| JP2010142872A (ja) | ベーパーリフロー半田付け装置 | |
| JP4569485B2 (ja) | リフロー半田付け方法及び装置 | |
| JP6352519B1 (ja) | 被洗浄物の洗浄方法及びその装置 | |
| US20140311526A1 (en) | Solvent systems for use in cleaning electronic and other components | |
| JP6914497B2 (ja) | 加熱方法及び加熱装置 | |
| US5246501A (en) | Flash drying treatment of solvent from workpieces | |
| JP2017213542A (ja) | 蒸気発生装置および蒸気洗浄装置 | |
| JP2009302341A (ja) | はんだ付け装置およびはんだ付け方法 | |
| US20160008855A1 (en) | Apparatus for continuous separation of cleaning solvent from rinse fluid in a dual-solvent vapor degreasing system | |
| JP2000334402A (ja) | 減圧蒸気洗浄装置 | |
| JP4921229B2 (ja) | 洗浄装置 | |
| JP3506851B2 (ja) | 蒸気乾燥装置及び半導体ウエハの乾燥方法 | |
| JP4525611B2 (ja) | リフロー半田付け方法及び装置 | |
| JPH07246459A (ja) | 気相式はんだ付け装置におけるフィルタリング方法 | |
| JPH0220352B2 (ja) | ||
| JP5281389B2 (ja) | 半田付け装置 | |
| JPH01150465A (ja) | 気相式はんだ付け装置 | |
| JPH01107965A (ja) | 気相式はんだ付け用溶剤のフィルタリング装置 | |
| JPS6031295A (ja) | 蒸気半田付け方法およびその装置 | |
| JPS63313663A (ja) | 気相式はんだ付け装置 |
Legal Events
| Date | Code | Title | Description |
|---|---|---|---|
| A621 | Written request for application examination |
Effective date: 20110908 Free format text: JAPANESE INTERMEDIATE CODE: A621 |
|
| A977 | Report on retrieval |
Effective date: 20121220 Free format text: JAPANESE INTERMEDIATE CODE: A971007 |
|
| A02 | Decision of refusal |
Effective date: 20130507 Free format text: JAPANESE INTERMEDIATE CODE: A02 |