JP2010142869A - 鍛造方法、鍛造品成形装置、及びトリポード型等速自在継手 - Google Patents
鍛造方法、鍛造品成形装置、及びトリポード型等速自在継手 Download PDFInfo
- Publication number
- JP2010142869A JP2010142869A JP2008325955A JP2008325955A JP2010142869A JP 2010142869 A JP2010142869 A JP 2010142869A JP 2008325955 A JP2008325955 A JP 2008325955A JP 2008325955 A JP2008325955 A JP 2008325955A JP 2010142869 A JP2010142869 A JP 2010142869A
- Authority
- JP
- Japan
- Prior art keywords
- product
- die
- preform
- forming
- forging
- Prior art date
- Legal status (The legal status is an assumption and is not a legal conclusion. Google has not performed a legal analysis and makes no representation as to the accuracy of the status listed.)
- Pending
Links
- 238000005242 forging Methods 0.000 title claims abstract description 73
- 238000000034 method Methods 0.000 title claims abstract description 25
- 239000000463 material Substances 0.000 claims abstract description 34
- 230000002093 peripheral effect Effects 0.000 claims abstract description 31
- 230000007423 decrease Effects 0.000 claims abstract description 5
- 238000000465 moulding Methods 0.000 claims description 23
- 238000007665 sagging Methods 0.000 claims description 11
- 230000001629 suppression Effects 0.000 claims description 4
- 238000003754 machining Methods 0.000 abstract description 15
- 239000007858 starting material Substances 0.000 abstract 1
- 239000002184 metal Substances 0.000 description 6
- 238000010438 heat treatment Methods 0.000 description 5
- 238000010409 ironing Methods 0.000 description 2
- 230000003014 reinforcing effect Effects 0.000 description 2
- 239000011800 void material Substances 0.000 description 2
- 241000193935 Araneus diadematus Species 0.000 description 1
- 230000000052 comparative effect Effects 0.000 description 1
- 238000004519 manufacturing process Methods 0.000 description 1
- 230000013011 mating Effects 0.000 description 1
- 238000012986 modification Methods 0.000 description 1
- 230000004048 modification Effects 0.000 description 1
- 238000003825 pressing Methods 0.000 description 1
Images
Classifications
-
- B—PERFORMING OPERATIONS; TRANSPORTING
- B21—MECHANICAL METAL-WORKING WITHOUT ESSENTIALLY REMOVING MATERIAL; PUNCHING METAL
- B21J—FORGING; HAMMERING; PRESSING METAL; RIVETING; FORGE FURNACES
- B21J5/00—Methods for forging, hammering, or pressing; Special equipment or accessories therefor
- B21J5/02—Die forging; Trimming by making use of special dies ; Punching during forging
- B21J5/025—Closed die forging
-
- B—PERFORMING OPERATIONS; TRANSPORTING
- B21—MECHANICAL METAL-WORKING WITHOUT ESSENTIALLY REMOVING MATERIAL; PUNCHING METAL
- B21J—FORGING; HAMMERING; PRESSING METAL; RIVETING; FORGE FURNACES
- B21J5/00—Methods for forging, hammering, or pressing; Special equipment or accessories therefor
- B21J5/02—Die forging; Trimming by making use of special dies ; Punching during forging
-
- B—PERFORMING OPERATIONS; TRANSPORTING
- B21—MECHANICAL METAL-WORKING WITHOUT ESSENTIALLY REMOVING MATERIAL; PUNCHING METAL
- B21J—FORGING; HAMMERING; PRESSING METAL; RIVETING; FORGE FURNACES
- B21J9/00—Forging presses
- B21J9/02—Special design or construction
-
- B—PERFORMING OPERATIONS; TRANSPORTING
- B21—MECHANICAL METAL-WORKING WITHOUT ESSENTIALLY REMOVING MATERIAL; PUNCHING METAL
- B21J—FORGING; HAMMERING; PRESSING METAL; RIVETING; FORGE FURNACES
- B21J9/00—Forging presses
- B21J9/02—Special design or construction
- B21J9/022—Special design or construction multi-stage forging presses
-
- B—PERFORMING OPERATIONS; TRANSPORTING
- B21—MECHANICAL METAL-WORKING WITHOUT ESSENTIALLY REMOVING MATERIAL; PUNCHING METAL
- B21K—MAKING FORGED OR PRESSED METAL PRODUCTS, e.g. HORSE-SHOES, RIVETS, BOLTS OR WHEELS
- B21K1/00—Making machine elements
- B21K1/76—Making machine elements elements not mentioned in one of the preceding groups
- B21K1/762—Coupling members for conveying mechanical motion, e.g. universal joints
-
- B—PERFORMING OPERATIONS; TRANSPORTING
- B21—MECHANICAL METAL-WORKING WITHOUT ESSENTIALLY REMOVING MATERIAL; PUNCHING METAL
- B21K—MAKING FORGED OR PRESSED METAL PRODUCTS, e.g. HORSE-SHOES, RIVETS, BOLTS OR WHEELS
- B21K1/00—Making machine elements
- B21K1/76—Making machine elements elements not mentioned in one of the preceding groups
- B21K1/762—Coupling members for conveying mechanical motion, e.g. universal joints
- B21K1/763—Inner elements of coupling members
-
- F—MECHANICAL ENGINEERING; LIGHTING; HEATING; WEAPONS; BLASTING
- F16—ENGINEERING ELEMENTS AND UNITS; GENERAL MEASURES FOR PRODUCING AND MAINTAINING EFFECTIVE FUNCTIONING OF MACHINES OR INSTALLATIONS; THERMAL INSULATION IN GENERAL
- F16D—COUPLINGS FOR TRANSMITTING ROTATION; CLUTCHES; BRAKES
- F16D3/00—Yielding couplings, i.e. with means permitting movement between the connected parts during the drive
- F16D3/16—Universal joints in which flexibility is produced by means of pivots or sliding or rolling connecting parts
- F16D3/20—Universal joints in which flexibility is produced by means of pivots or sliding or rolling connecting parts one coupling part entering a sleeve of the other coupling part and connected thereto by sliding or rolling members
- F16D3/202—Universal joints in which flexibility is produced by means of pivots or sliding or rolling connecting parts one coupling part entering a sleeve of the other coupling part and connected thereto by sliding or rolling members one coupling part having radially projecting pins, e.g. tripod joints
- F16D3/205—Universal joints in which flexibility is produced by means of pivots or sliding or rolling connecting parts one coupling part entering a sleeve of the other coupling part and connected thereto by sliding or rolling members one coupling part having radially projecting pins, e.g. tripod joints the pins extending radially outwardly from the coupling part
- F16D3/2055—Universal joints in which flexibility is produced by means of pivots or sliding or rolling connecting parts one coupling part entering a sleeve of the other coupling part and connected thereto by sliding or rolling members one coupling part having radially projecting pins, e.g. tripod joints the pins extending radially outwardly from the coupling part having three pins, i.e. true tripod joints
-
- F—MECHANICAL ENGINEERING; LIGHTING; HEATING; WEAPONS; BLASTING
- F16—ENGINEERING ELEMENTS AND UNITS; GENERAL MEASURES FOR PRODUCING AND MAINTAINING EFFECTIVE FUNCTIONING OF MACHINES OR INSTALLATIONS; THERMAL INSULATION IN GENERAL
- F16D—COUPLINGS FOR TRANSMITTING ROTATION; CLUTCHES; BRAKES
- F16D3/00—Yielding couplings, i.e. with means permitting movement between the connected parts during the drive
- F16D3/16—Universal joints in which flexibility is produced by means of pivots or sliding or rolling connecting parts
- F16D3/26—Hooke's joints or other joints with an equivalent intermediate member to which each coupling part is pivotally or slidably connected
- F16D3/30—Hooke's joints or other joints with an equivalent intermediate member to which each coupling part is pivotally or slidably connected in which the coupling is specially adapted to constant velocity-ratio
- F16D3/34—Hooke's joints or other joints with an equivalent intermediate member to which each coupling part is pivotally or slidably connected in which the coupling is specially adapted to constant velocity-ratio parts being connected by ridges, pins, balls, or the like guided in grooves or between cogs
-
- F—MECHANICAL ENGINEERING; LIGHTING; HEATING; WEAPONS; BLASTING
- F16—ENGINEERING ELEMENTS AND UNITS; GENERAL MEASURES FOR PRODUCING AND MAINTAINING EFFECTIVE FUNCTIONING OF MACHINES OR INSTALLATIONS; THERMAL INSULATION IN GENERAL
- F16D—COUPLINGS FOR TRANSMITTING ROTATION; CLUTCHES; BRAKES
- F16D2250/00—Manufacturing; Assembly
Landscapes
- Engineering & Computer Science (AREA)
- Mechanical Engineering (AREA)
- General Engineering & Computer Science (AREA)
- Forging (AREA)
Abstract
【課題】ダレを小さくでき、重量が過大な素材が混入された場合でも、軸部の先端面とダイスの接触による加工荷重の上昇を回避でき、金型の寿命を向上させることが可能な鍛造方法、鍛造品成形装置、及びトリポード型等速自在継手を提供する。
【解決手段】材料としての予備成形品20Aを成形した後、閉塞鍛造金型30に予備成形品20Aを投入して、閉塞鍛造金型30にて製品を成形するものである。予備成形品20Aにおける製品の軸部17の先端面17aを構成する予備先端面に、製品16の軸部17の先端面17aの外周部におけるボス部側の肉減少を抑制するためのダレ抑制部65を形成する。予備成形品20Aを閉塞鍛造金型30に投入して、製品16を成形する際には、成形される軸部17の先端面17aと閉塞鍛造金型30のキャビテイ24との間に逃げ部26が形成されている。
【選択図】図1
【解決手段】材料としての予備成形品20Aを成形した後、閉塞鍛造金型30に予備成形品20Aを投入して、閉塞鍛造金型30にて製品を成形するものである。予備成形品20Aにおける製品の軸部17の先端面17aを構成する予備先端面に、製品16の軸部17の先端面17aの外周部におけるボス部側の肉減少を抑制するためのダレ抑制部65を形成する。予備成形品20Aを閉塞鍛造金型30に投入して、製品16を成形する際には、成形される軸部17の先端面17aと閉塞鍛造金型30のキャビテイ24との間に逃げ部26が形成されている。
【選択図】図1
Description
本発明は、鍛造方法、鍛造品成形装置、及びトリポード型等速自在継手に関する。
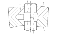
等速自在継手用のトラニオン(トリポード部材)やユニバーサルジョイント用の十字スパイダなど、ボス部に放射状に軸部が形成されている製品を閉塞鍛造で成形する場合、閉塞鍛造金型が用いられる。
閉塞鍛造金型は、図9に示すように、開閉可能なダイス1,2と、このダイス1,2の中心軸上で駆動可能なように配置されるパンチ4、5とを備える。すなわち、ダイス1,2を閉状態としてパンチ4、5にて押圧することによって、製品6の軸部7とボス部8の形状に相当したキャビテイ9が形成されている。そのため、図10(a)に示すように、ビレット(材料)10(図10(a)参照)をキャビテイ9内に投入した後型締めしてパンチ4、5により押圧すると、ビレット10が塑性変形して、図10(b)のように、ボス部8および軸部7が形成されてなる製品6を構成することができる。
すなわち、図10(a)に示すように曲率半径がR2の円柱状のビレット10をこのダイス1,2内に投入して鍛造すれば、R2よりも大きいR2´の曲率半径をもつ先端面7aの軸部7を有する製品6を形成することができる。
ところで、前記閉塞鍛造金型では、密閉状態になると加工荷重が急激に上昇して金型の破損や短寿命を引き起こすおそれがある。このため、従来には、必要な軸部長さより長く軸成形部を設定して軸先端部に逃げ部を設けているものがある(特許文献1)。
しかしながら、軸成形部分に逃げ部を形成した従来の金型ではパンチで押圧されたビレットから軸部に押し出された材料は、軸部の先端面において、中央部が流動しやすく周辺部が流動しにくい。そのため、正規の軸部の先端面の曲率半径よりも小さい曲率半径の先端面を有する軸部が形成される。このように、軸成形部分に逃げ部を形成した従来の金型では、正規の軸部の先端面に対して、外周側が軸部軸方向基端側へ減少する「ダレ」が生じる。
したがって、金型により精度よく形成された軸部長さを確保しようとするとこの「ダレ」の分だけ余分に材料が必要であった。ところで、前記閉塞鍛造金型にて鍛造成形された製品は、等速自在継手やユニバーサルジョイントの内側継手部材を構成することになる。このため、この製品を使用した等速自在継手やユニバーサルジョイントのコンパクト化・軽量化のためには、軸部の先端を機械加工により除去する必要があった。
また製品が組み込まれた等速自在継手やユニバーサルジョイントを使用したときの寿命を延ばし、また振動や音を抑えるためには、熱処理によりこの製品の強度・硬さを高めた上で、製品の軸部外周面を鍛造加工以上の高精度とすることが要求される。このため、熱処理後の機械加工により高精度に仕上る必要がある。この熱処理後の機械加工のため、軸先端を熱処理前に機械加工で除去し、除去面と軸部外周面との交接面を、軸部外周面の高精度機械加工時の位相決めの基準面に利用することがあった。そのため、交接面を高精度に形成する必要があった。
そこで、従来においては、製品形状を成形する工程(本成形と呼ぶ)の前に、本成形時の軸部に相当する部分の曲率半径を大きくした予備成形工程を行うことが提案された。これによって、本成形で軸部を成形する時に軸部の中央部が周辺部に比べて流動しやすい状態で逃げ部に材料が当らない状態でもダレを小さくすることを可能とし、等速自在継手やユニバーサルジョイントのコンパクト化・軽量化を図るようにした(特許文献2)。
特開2003−343592号
特開2008−188617号
前記したように、予備成形工程を行うようにするものであれば、前記「ダレ」を小さくすることが可能である。ところが、投入される素材の重量バラツキによっては重量が過大な素材が混入されることがある。このような場合、軸部の先端面(軸先端)がダイスに接触して密閉状態になり、加工荷重が急激に上昇して金型の短寿命を引き起こすおそれがあった。
本発明は、上記課題に鑑みて、ダレを小さくでき、重量が過大な素材が混入された場合でも、軸部の先端面(軸先端)とダイスの接触による加工荷重の上昇を回避でき、金型の寿命を向上させることが可能な鍛造方法、鍛造品成形装置、及びトリポード型等速自在継手を提供する。
本発明の鍛造方法は、開閉可能なダイスとこのダイス内の材料を押圧するパンチとを備えた閉塞鍛造金型を用いて、ボス部と、このボス部から放射状に突設される軸部とを有する製品を成形する鍛造方法において、前記材料としての予備成形品を成形した後、前記閉塞鍛造金型にこの予備成形品を投入して、閉塞鍛造金型にて製品を成形する鍛造方法であって、前記予備成形品における前記製品の軸部の先端面を構成する予備先端面に、製品の軸部の先端面の外周部におけるボス部側の肉減少を抑制するためのダレ抑制部を形成し、この予備成形品を前記閉塞鍛造金型に投入して、製品を成形する際には、成形される軸部の先端面と閉塞鍛造金型のキャビテイとの間に逃げ部を形成するものである。
本発明の鍛造方法によれば、閉塞鍛造金型に投入される予備成形品に、製品の軸部の先端面の外周部にダレ抑制部を形成しているので、閉塞鍛造金型で軸部を成形する時に、軸部の中央部が周辺部に比べて流動しやすい状態でも、ダレを小さくできる。
また、成形される軸部の先端面と閉塞鍛造金型のキャビテイとの間に逃げ部が形成されているので、重量が過大な素材が混入された場合も、軸先端とダイスとの隙間を十分に確保することができる。
前記ダレ抑制部は、予備成形品の予備先端面を平面部として構成したり、予備成形品の予備先端面の曲率中心を予備先端面よりも外径側に配設して、予備成形品の予備先端面の外周側を膨出状として構成したりすることができる。
予備成形品は、例えば、外周面に6つの面を持つ6角柱状体であり、その6つの面のうち、120°ピッチで配設される面が前記予備先端面を構成し、他の面が軸部間のボス部外径面を構成する予備外径面である。前記製品が、トリポード型等速自在継手のトリポード部材である場合がある。
本発明の鍛造品成形装置は、開閉可能なダイスとこのダイス内の材料を押圧するパンチとを備え、ボス部と、このボス部から放射状に突設される軸部とを有する製品の成形が可能であって、前記閉塞鍛造金型の製品成形用のキャビテイに、成形時に軸部との間の逃げ部が形成される製品成形用の閉塞鍛造金型と、前記製品の軸部の先端面を構成する予備先端面に、製品の軸部の先端面の外周部におけるボス部側への肉減少を抑制するためのダレ抑制部を有する材料としての予備成形品を成形する予備成形品用金型とを備えたものである。
本発明の鍛造品成形装置によれば、閉塞鍛造金型に投入される予備成形品に、製品の軸部の先端面の外周部にダレ抑制部を形成しているので、閉塞鍛造金型で軸部を成形する時に、軸部の中央部が周辺部に比べて流動しやすい状態でも、ダレを小さくできる。また、成形される軸部の先端面と閉塞鍛造金型のキャビテイとの間に逃げ部が形成されているので、重量が過大な素材が混入された場合も、軸先端とダイスとの隙間を十分に確保することができる。すなわち、本発明の鍛造品成形装置によれば、前記本発明にかかる鍛造方法を安定して行うことができる。
前記閉塞鍛造金型の製品成形用のキャビテイに、成形時に軸部の先端外周部が当接する規制部を設けたものであってもよい。このように、規制部を設けることによって、パンチによる押圧時に、当接部に材料が接することになって、軸先端の外周の一部または全部の形状がダイスによって保証される。この保証された部位を軸部外周面の高精度機械加工時の位相決めの基準面に利用することができる。
前記予備成形品用金型の予備成形品形成用のキャビテイに、ダレ抑制部成形用の平面部を設けたものであっても、キャビテイ側に凸となるダレ抑制部成形用の円弧面部を設けたものであってもよい。
本発明のトリポード型等速自在継手は、前記鍛造品成形装置にて成形したトリポード部材を用いたものである。
本発明では、軸部における「ダレ」を小さくでき、この鍛造製品を用いた等速自在継手やユニバーサルジョイントのコンパクト化・軽量化を図ることができる。しかも、重量が過大な素材が混入された場合も、軸先端(軸部の先端面)とダイスとの隙間を十分に確保することができ、軸先端とダイスの接触による加工荷重の上昇を回避でき、閉塞鍛造金型の寿命の向上を図ることができる。
ダレ抑制部は、予備成形品の予備先端面を平面部として構成したり、予備成形品の予備先端面の外周側を膨出状として構成したりすることによって、簡単に形成することができる。また、予備成形品は、例えば、外周面に6つの面を持つ6角柱状体で構成することによって、製品としてのトリポード型等速自在継手のトリポード部材を安定して成形することができる。
成形時に軸部の先端外周部が当接する規制部を設けたものでは、ダイスにて保証された部位を高精度機械加工時の位相決めの基準面に利用することができるので、軸先端を熱処理前に基準面(基準部)を形成するために機械加工で除去しなくて済み、材料コストおよび機械加工コストの低減を図ることができる。
本発明のトリポード型等速自在継手は、鍛造品成形装置にて成形したトリポード部材を用いることができ、コンパクト化・軽量化を図ることができた。
以下本発明の実施の形態を図1〜図7に基づいて説明する。
本発明にかかる鍛造品成形装置は、図1〜図3に示す閉塞鍛造金型30と、図5と図6に示す予備成形品用金型31とを備える。閉塞鍛造金型30は、開閉可能なダイス11、12と、このダイス11、12の開閉方向に沿って駆動してダイス11,12内の材料(予備成形品)を押圧するパンチ14、15とを備える。この場合の閉塞鍛造金型30は、放射状に軸部17が形成されてなる製品(たとえば、等速自在継手用のトリポード部材)16を成形する。なお、製品16であるトリポード部材は、ボス部18と、ボス部18から径方向外方に伸びる3本の軸部17とを備える。
ダイス11,12の軸心部にはガイド孔21a、21bが設けられ、各ガイド孔21a、21bには、それぞれパンチ14、15が嵌挿される。また、ダイス11,12の合わせ面11a、12a側のガイド孔21a、21bの開口部には、径方向に延びる3個の凹部22、23が周方向に沿って120°ピッチで配設されている。また、上方のパンチ14の下面14aにはその中央部に膨出部27が設けられるとともに、下方のパンチ15の上面15aにはその中央部に膨出部28が設けられている。
ダイス11,12が図1に示すように重ね合わされた状態では、製品16の軸部17を形成するための軸部用空所24Aが相対面する凹部22、23によって形成される。また
パンチ14、15及びダイス11、12によって、ボス部18を成形するためのボス部用空所24Bが形成される。すなわち、軸部用空所24Aとボス部用空所24Bとで製品成形用のキャビテイ24が構成される。この場合、空所24Aは径方向外方側において空所24A内へ当接部25が膨出し、この当接部25が、形成される軸部17の外周面の先端側に当接する。しかも、形成される軸部17の先端面17aとの間に隙間(逃げ部)26が設けられる。
パンチ14、15及びダイス11、12によって、ボス部18を成形するためのボス部用空所24Bが形成される。すなわち、軸部用空所24Aとボス部用空所24Bとで製品成形用のキャビテイ24が構成される。この場合、空所24Aは径方向外方側において空所24A内へ当接部25が膨出し、この当接部25が、形成される軸部17の外周面の先端側に当接する。しかも、形成される軸部17の先端面17aとの間に隙間(逃げ部)26が設けられる。
予備成形品用金型31は、図5に示すように、予備成形ダイス32と、この予備成形ダイス32の孔部32aに嵌挿される予備成形パンチ33及びエジェクタ34とを備える。
予備成形ダイス32の孔部32aは、図6に示す周壁50が円弧面部51(51a、51b、51c)と平面部52(52a,52b,52c)とが交互に配設された6角孔である。この場合、予備成形ダイス32の孔部32aに投入される材料20Bは、図7(a)に示す円柱体である。
材料20Bの外径面の半径R2は、図7(a)に示すように、この外径面が平面部52a,52b,52cに接触する程度とする。すなわち、平面部52a,52b,52cがこの外径面の接線となる。このため、予備成形ダイス32の孔部32aに材料20Bが投入された状態で、円弧面部51a、51b、51cと、平面部52a,52b,52cと円弧面部51a、51b、51cとのコーナ部に隙間が形成される。
また、図5に示すように、予備成形パンチ33の下面33aにはその中央部に膨出部35を形成するとともに、エジェクタ34の上面34aにはその中央部に膨出部36を形成している。予備成形パンチ33の膨出部35は前記上方のパンチ14の膨出部27と同一寸法形状とされ、エジェクタ34の中央部の膨出部36は前記下方のパンチ15の膨出部28と同一寸法形状とされる。なお、予備成形パンチ33の膨出部35とエジェクタ34の中央部の膨出部36の形状は互いに同じでも異なっていてもよく、パンチ14の膨出部27とパンチ15の膨出部28の形状は互いに同じでも異なっていてもよい。なお、予備成形ダイス32には図示省略の補強部材(補強リング)が圧入または焼ばめ等にて外嵌される。
次に金型装置31を使用した材料(予備成形品)20Aの形成方法を説明する。まず、図7(a)に示すように、円盤形状のビレット20Bを、開状態の金型装置31に投入する。ここで、開状態とは、予備成形パンチ33を上昇させた状態であって、予備成形ダイス32の孔部32a内にビレット20Bを投入することができる状態をいう。また図示しないが、ビレット20Bの外周面をしごき加工して最終的に材料20Aを得てもよい。ビレット20Bは孔部32aにφ0.005〜φ0.3の隙間で挿入される。またビレット20Bの外周面をしごき加工で成形する際には、予備成形ダイス31のビレット投入側にビレット20Bを上記隙間で挿入できるガイド部を設ければよい。
この状態から、予備成形パンチ33を下降させ、この予備成形パンチ33とエジェクタ34とでビレット20Bを押圧する。これによって、ビレット20Bが、塑性変形し予備成形ダイス32の孔部32aと予備成形パンチ33とエジェクタ34とで構成されるキャビテイ38内に充満して、図7(b)に示すように、材料20Aが形成される。すなわち、外径面60が円弧面部61(61a、61b、61c)と平面部62(62a,62b,62c)とが交互に配設された6角面である材料20Aを形成することができる。
次に図1〜図3に示す閉塞鍛造金型を使用した鍛造方法を説明する。まず、上方のダイス11と下方のダイス12とを相対的に離間させた型開状態とする。この際、上方のパンチ14を上昇させるとともに下方のパンチ15を下降させておく。この状態で、下方のダイス12のガイド孔21bに予備成形品20Aを投入する。なお、この予備成形品20Aは、ガイド孔21a、21bに嵌挿でき、かつ形成する製品の容積に対応するものである。
その後、上方のダイス11と下方のダイス12とを相対的に接近させる型締めを行う。次に、上方のパンチ14を下降させるとともに、下方のパンチ15を上昇させる。これによって、ビレット20を上下から押圧して、軸部17を形成するための前記空所24Aを形成する。空所24Aにビレット20Aの一部を流動させて、図4に示すように、ボス部18の周囲に3本の軸部17を放射状に有する製品16(トリポード部材)を形成する。
すなわち、本鍛造品成形装置では、まず図7(a)に示すように、材料20Bを予備成形用金型に投入して、図7(b)に示すように、予備成形品20Aを成形する。その後、この予備成形品20Aを図7(c)に示すように、閉塞鍛造金型に投入して、図7(d)に示すように、製品を成形することになる。
この場合、予備成形品20Aには、金型にて成形される軸部17の先端面17aとなる予備先端面が前記平面部62(62a,62b,62c)にて構成される。そして、この平面部62(62a,62b,62c)は、材料20Bの接線方向に延びるものであって、平面部62(62a,62b,62c)の周方向端部は、内径側に後退したものではない。このため、平面部62は、軸部17の外周部におけるボス部18側への肉減少を抑制するためのダレ抑制部65を構成することになる。すなわち、閉塞鍛造金型30で軸部17を成形する時に、軸部17の中央部が周辺部に比べて流動しやすい状態でも、ダレを小さくできる。このため、この鍛造製品を用いた等速自在継手やユニバーサルジョイントのコンパクト化・軽量化を図ることができる。しかも、成形される軸部17の先端面17aと閉塞鍛造金型30のキャビテイ24との間に逃げ部が形成されているので、重量が過大な素材が混入された場合も、軸部17の先端面(軸先端)17aとダイス11、12との隙間を十分に確保することができ、軸先端17とダイス11、12の接触による加工荷重の上昇を回避でき、閉塞鍛造金型30の寿命の向上を図ることができる。
成形時に軸部17の先端外周部が当接する規制部25を設けたものでは、ダイス11、12にて保証された部位を高精度機械加工時の位相決めの基準面に利用することができるので、軸先端17aを熱処理前に基準面(基準部)を形成するために機械加工で除去しなくて済み、材料コストおよび機械加工コストの低減を図ることができる。
予備成形用金型31のキャビテイ38として、図8に示すものであってもよい。すなわち、キャビテイ38側に凸となるダレ抑制部成形用の円弧面部55を設けたものであってもよい。この場合、図6に示す予備成形用金型31のキャビテイ38において、平面部52a,52b,52cを、この円弧面部55a、55b、55cに置き換えたものである。この円弧面部55a、55b、55cは、その曲率中心をキャビテイ38の外側に配置したものである。
このため、このようなキャビテイ38を有する予備成形用金型31であっても予備成形品20Aを成形することができる。この予備成形品20Aは、外径面60が円弧面部(凸円弧面部)63(63a、63b、63c)と円弧面部(凹円弧面部)64(64a,64b,64c)とが交互に配設された6角面である。このため、円弧面部64(64a,64b,64c)の周方向端部が膨出状となっている。
したがって、円弧面部64の膨出状部がダレ抑制部65となって、閉塞鍛造金型30で軸部17を成形する時に、軸部17の中央部が周辺部に比べて流動しやすい状態でも、ダレを小さくできる。予備先端面55a、55b、55c(64a,64b,64c)の曲率半径R1としては、周方向端部を膨出状となる範囲で種々設定できる。なお、ダレ抑制部65を平面部として構成した場合、円弧面から構成した場合に比べて、パンチ33およびエジェクタ34の製作コストを少なくできる利点がある。
以上、本発明の実施形態につき説明したが、本発明は前記実施形態に限定されることなく種々の変形が可能であって、例えば、実施形態における閉塞鍛造金型30は、当接部25が周方向に沿って所定ピッチで複数個配置されるものであるが、当接部25としては、空所24Aの全周にわたって形成してもよい。また、当接部25の断面形状や大きさとしても、軸先端の外周の形状がダイス11、12によって保証され、この保証部位40を高精度機械加工時の位相決めの基準面に利用することができるものであれば、任意に変更できる。
また、図1に示す閉塞鍛造金型においては、上下のパンチ14、15の膨出部27、28の形状が相違するものであっても、同一であってもよい。さらに、図5と図6に示す金型装置31においては、予備成形パンチ33とエジェクタ34の膨出部35、36の形状を同一形状としていたが、相違するものであってもよい。
次に、図7に示す予備成形を行った場合と、予備成形を行わない場合とで、「ダレ」の状態を比べ、その結果を次の表1に示した。表1においてビレット曲率半径R2とは、予備成形前の材料20Bの曲率を示し、前成形曲率半径R1とは、予備成形された材料20Aの予備先端面の曲率半径を示し、軸端曲率半径R3とは、図4に示すように、形成された軸部17の先端面17aの曲率半径を示し、ダレとは形成された軸部17の先端面17aの最も外方側の頂点から外周縁との差を示している。
表1の発明品とは、図7(a)に示した平面部62を有する予備成形品20Aを用いたものであり、従来品とは予備成形を行わないものであり、比較品とは、平面部62に代えて、外径側が凸となる円弧面とし、その曲率半径を47.8mmとし、軸端曲率半径R3を30.5mmとしたものである。
この表1からわかるように、前成形なしで本成形金型に挿入し加工した場合のダレは2.1mmであったが、前成形を行なった後に本成形金型にて加工した場合のダレは0.7mmとなり小さく抑えることができた。なお、比較例では、ダレは1.4mmであった。
11,12 ダイス
16 製品
17 軸部
17a 先端面
18 ボス部
20A 予備成形品
26 逃げ部
30 閉塞鍛造金型
31 予備成形品用金型
51(51a、51b、51c) 円弧面部
52(52a、52b、52c) 平面部
55(55a、55b、55c) 円弧面部
61(61a、61b、61c) 円弧面部
62(62a、62b、62c) 平面部
63(61a、61b、61c) 円弧面部
64(62a、62b、62c) 平面部
16 製品
17 軸部
17a 先端面
18 ボス部
20A 予備成形品
26 逃げ部
30 閉塞鍛造金型
31 予備成形品用金型
51(51a、51b、51c) 円弧面部
52(52a、52b、52c) 平面部
55(55a、55b、55c) 円弧面部
61(61a、61b、61c) 円弧面部
62(62a、62b、62c) 平面部
63(61a、61b、61c) 円弧面部
64(62a、62b、62c) 平面部
Claims (10)
- 開閉可能なダイスとこのダイス内の材料を押圧するパンチとを備えた閉塞鍛造金型を用いて、ボス部と、このボス部から放射状に突設される軸部とを有する製品を成形する鍛造方法において、
前記材料としての予備成形品を成形した後、前記閉塞鍛造金型にこの予備成形品を投入して、閉塞鍛造金型にて製品を成形する鍛造方法であって、前記予備成形品における前記製品の軸部の先端面を構成する予備先端面に、製品の軸部の先端面の外周部におけるボス部側の肉減少を抑制するためのダレ抑制部を形成し、この予備成形品を前記閉塞鍛造金型に投入して、製品を成形する際には、成形される軸部の先端面と閉塞鍛造金型のキャビテイとの間に逃げ部を形成することを特徴とする鍛造方法。 - 予備成形品の予備先端面を平面部として前記ダレ抑制部を構成することを特徴とする請求項1に記載の鍛造方法。
- 予備成形品の予備先端面の曲率中心を予備先端面よりも外径側に配設して、予備成形品の予備先端面の周方向端部を膨出状としてダレ抑制部を構成することを特徴とする請求項1に記載の鍛造方法。
- 予備成形品は、外周面に6つの面を持つ6角柱状体であり、その6つの面のうち、120°ピッチで配設される面が前記予備先端面を構成し、他の面が軸部間のボス部外径面を構成する予備外径面であることを特徴とする請求項1〜請求項3のいずれか1項に記載の鍛造方法。
- 前記製品が、トリポード型等速自在継手のトリポード部材であることを特徴とする請求項1〜請求項4のいずれか1項に記載の鍛造方法。
- 開閉可能なダイスとこのダイス内の材料を押圧するパンチとを備え、ボス部と、このボス部から放射状に突設される軸部とを有する製品の成形が可能であって、キャビテイに、成形時に軸部との間の逃げ部が形成される製品成形用の閉塞鍛造金型と、
前記製品の軸部の先端面を構成する予備先端面に、製品の軸部の先端面の外周部におけるボス部側への肉減少を抑制するためのダレ抑制部を有する材料としての予備成形品を成形する予備成形品用金型とを備えたことを特徴とする鍛造品成形装置。 - 前記閉塞鍛造金型の製品成形用のキャビテイに、成形時に軸部の先端外周部の一部または全部が当接する規制部を設けたことを特徴とする請求項6に記載の鍛造品成形装置。
- 前記予備成形品用金型の予備成形品形成用のキャビテイに、ダレ抑制部成形用の平面部を設けたことを特徴とする請求項6に記載の鍛造品成形装置。
- 前記予備成形品用金型の予備成形品形成用のキャビテイに、キャビテイ側に凸となるダレ抑制部成形用の円弧面部を設けたことを特徴とする請求項6〜請求項8のいずれか1項に記載の鍛造品成形装置。
- 前記請求項6〜請求項9のいずれか1項に記載の鍛造品成形装置にて成形したトリポード部材を用いたことを特徴とするトリポード型等速自在継手。
Priority Applications (6)
| Application Number | Priority Date | Filing Date | Title |
|---|---|---|---|
| JP2008325955A JP2010142869A (ja) | 2008-12-22 | 2008-12-22 | 鍛造方法、鍛造品成形装置、及びトリポード型等速自在継手 |
| CN200980151520.XA CN102256723B (zh) | 2008-12-22 | 2009-11-30 | 锻造方法、锻造件成形装置及三球销型等速万向接头 |
| EP09834682.8A EP2388084A4 (en) | 2008-12-22 | 2009-11-30 | FORGING METHOD, MOLDING DEVICE FOR FORGED PARTS, AND UNIVERSAL UNIFORM MOVEMENT WITH TRIPOD |
| PCT/JP2009/070105 WO2010073878A1 (ja) | 2008-12-22 | 2009-11-30 | 鍛造方法、鍛造品成形装置、及びトリポード型等速自在継手 |
| US13/129,650 US9149859B2 (en) | 2008-12-22 | 2009-11-30 | Forging method, molding device for forgings, and tripod uniform motion universal joint |
| US14/515,604 US9132473B2 (en) | 2008-12-22 | 2014-10-16 | Forging method, molding device for forgings, and tripod uniform motion universal joint |
Applications Claiming Priority (1)
| Application Number | Priority Date | Filing Date | Title |
|---|---|---|---|
| JP2008325955A JP2010142869A (ja) | 2008-12-22 | 2008-12-22 | 鍛造方法、鍛造品成形装置、及びトリポード型等速自在継手 |
Publications (1)
| Publication Number | Publication Date |
|---|---|
| JP2010142869A true JP2010142869A (ja) | 2010-07-01 |
Family
ID=42287496
Family Applications (1)
| Application Number | Title | Priority Date | Filing Date |
|---|---|---|---|
| JP2008325955A Pending JP2010142869A (ja) | 2008-12-22 | 2008-12-22 | 鍛造方法、鍛造品成形装置、及びトリポード型等速自在継手 |
Country Status (5)
| Country | Link |
|---|---|
| US (2) | US9149859B2 (ja) |
| EP (1) | EP2388084A4 (ja) |
| JP (1) | JP2010142869A (ja) |
| CN (1) | CN102256723B (ja) |
| WO (1) | WO2010073878A1 (ja) |
Cited By (2)
| Publication number | Priority date | Publication date | Assignee | Title |
|---|---|---|---|---|
| CN102091916A (zh) * | 2011-01-06 | 2011-06-15 | 湖北三环车桥有限公司 | 一种采用辊锻模锻和焊接工艺制造复杂汽车前轴的方法 |
| WO2015146879A1 (ja) * | 2014-03-28 | 2015-10-01 | Ntn株式会社 | 自在継手用トラニオンの閉塞鍛造方法および自在継手用トラニオン |
Families Citing this family (5)
| Publication number | Priority date | Publication date | Assignee | Title |
|---|---|---|---|---|
| ES2624136T3 (es) * | 2012-04-03 | 2017-07-13 | Thyssenkrupp Presta Aktiengesellschaft | Procedimiento para la fabricación de un muñón extrusionado |
| TWI571334B (zh) * | 2015-01-23 | 2017-02-21 | 賴傳榮 | The forming method and device of the mother joint of the universal joint |
| CN108380687A (zh) * | 2018-01-12 | 2018-08-10 | 江苏理研科技股份有限公司 | 一种球头三销的闭合式挤压成型模具 |
| CN110508738A (zh) * | 2019-09-25 | 2019-11-29 | 浙江海洋大学 | 一种热模锻装置及热模锻方法 |
| CN111112531A (zh) * | 2019-12-06 | 2020-05-08 | 江苏森威精锻有限公司 | 一种可用于自动化生产斜滚道内星轮模具 |
Citations (1)
| Publication number | Priority date | Publication date | Assignee | Title |
|---|---|---|---|---|
| JP2008188617A (ja) * | 2007-02-02 | 2008-08-21 | Ntn Corp | 閉塞鍛造金型及び鍛造方法 |
Family Cites Families (10)
| Publication number | Priority date | Publication date | Assignee | Title |
|---|---|---|---|---|
| US4177665A (en) * | 1978-04-03 | 1979-12-11 | Schurmann Heinz P | Cold flow forming |
| JPH0685955B2 (ja) * | 1987-07-06 | 1994-11-02 | アイダエンジニアリング株式会社 | 閉塞鍛造装置 |
| JP3839566B2 (ja) * | 1997-10-13 | 2006-11-01 | 本田技研工業株式会社 | 等速自在継手内輪の鍛造成形方法およびその装置 |
| JP3599618B2 (ja) * | 1999-03-05 | 2004-12-08 | Ntn株式会社 | 等速自在継手 |
| JP4100602B2 (ja) * | 2002-05-28 | 2008-06-11 | トヨタ自動車株式会社 | トリポード粗形材の冷間閉塞鍛造方法 |
| JP2005040842A (ja) * | 2003-07-24 | 2005-02-17 | Uk:Kk | 中空段付軸の成形方法 |
| JP2006183725A (ja) | 2004-12-27 | 2006-07-13 | Toyota Motor Corp | Cvjトリポード、その製造方法およびその製造装置 |
| US7690236B2 (en) * | 2005-05-26 | 2010-04-06 | Showa Denko K.K. | Method and apparatus for hole punching |
| JP2008240825A (ja) | 2007-03-26 | 2008-10-09 | Ntn Corp | 加工方法、トラニオン及びトリポード型等速自在継手 |
| CN101224484B (zh) * | 2007-12-20 | 2010-11-10 | 贵州安大航空锻造有限责任公司 | 近等温锻造盘形锻件的大型锻模 |
-
2008
- 2008-12-22 JP JP2008325955A patent/JP2010142869A/ja active Pending
-
2009
- 2009-11-30 EP EP09834682.8A patent/EP2388084A4/en not_active Withdrawn
- 2009-11-30 US US13/129,650 patent/US9149859B2/en active Active
- 2009-11-30 WO PCT/JP2009/070105 patent/WO2010073878A1/ja not_active Ceased
- 2009-11-30 CN CN200980151520.XA patent/CN102256723B/zh active Active
-
2014
- 2014-10-16 US US14/515,604 patent/US9132473B2/en active Active
Patent Citations (1)
| Publication number | Priority date | Publication date | Assignee | Title |
|---|---|---|---|---|
| JP2008188617A (ja) * | 2007-02-02 | 2008-08-21 | Ntn Corp | 閉塞鍛造金型及び鍛造方法 |
Cited By (3)
| Publication number | Priority date | Publication date | Assignee | Title |
|---|---|---|---|---|
| CN102091916A (zh) * | 2011-01-06 | 2011-06-15 | 湖北三环车桥有限公司 | 一种采用辊锻模锻和焊接工艺制造复杂汽车前轴的方法 |
| WO2015146879A1 (ja) * | 2014-03-28 | 2015-10-01 | Ntn株式会社 | 自在継手用トラニオンの閉塞鍛造方法および自在継手用トラニオン |
| JP2015193044A (ja) * | 2014-03-28 | 2015-11-05 | Ntn株式会社 | 自在継手用トラニオンの閉塞鍛造方法および自在継手用トラニオン |
Also Published As
| Publication number | Publication date |
|---|---|
| CN102256723B (zh) | 2015-01-28 |
| US20150038244A1 (en) | 2015-02-05 |
| EP2388084A4 (en) | 2016-02-24 |
| CN102256723A (zh) | 2011-11-23 |
| US9149859B2 (en) | 2015-10-06 |
| EP2388084A1 (en) | 2011-11-23 |
| WO2010073878A1 (ja) | 2010-07-01 |
| US20110224005A1 (en) | 2011-09-15 |
| US9132473B2 (en) | 2015-09-15 |
Similar Documents
| Publication | Publication Date | Title |
|---|---|---|
| JP4869968B2 (ja) | 閉塞鍛造金型及び鍛造方法 | |
| JP2010142869A (ja) | 鍛造方法、鍛造品成形装置、及びトリポード型等速自在継手 | |
| EP2690262A1 (en) | Method for manufacturing hollow engine valve | |
| JPWO2012127726A1 (ja) | 歯形部品の製造方法、歯形部品の製造装置、および歯形部品 | |
| JP6689151B2 (ja) | 円筒状リング部材の製造方法、ラジアル転がり軸受の製造方法、及び一方向クラッチの製造方法 | |
| CN102483090B (zh) | 用于制造球面滚子轴承所用的挡盘的方法以及具有依照该方法制成的挡盘的球面滚子轴承 | |
| JP5974554B2 (ja) | プレス成形品の製造方法及び製造装置 | |
| JP2016047537A (ja) | 中空エンジンバルブ及びその製造方法 | |
| CN109922902B (zh) | 金属制构件的制造方法 | |
| KR101533518B1 (ko) | 치형 부품의 제조 방법 및 치형 부품의 제조 장치 | |
| KR100810102B1 (ko) | 헤드부가 확경된 부품용 단조금형 및 그 단조품 | |
| JP6123917B2 (ja) | 環状部材の製造方法 | |
| JP2009279611A (ja) | 円筒状リング部材の製造方法 | |
| JP5253991B2 (ja) | 鍛造方法、閉塞鍛造金型、及びトリポード型等速自在継手 | |
| JP2006064124A (ja) | クラッチハウジング及びその製造方法 | |
| KR20060115589A (ko) | 가열 성형된 허브 및 그 방법 | |
| JP2002346682A (ja) | 厚板の据込み−バーリング加工方法及びその金型 | |
| JP3637249B2 (ja) | 外径側球面形状リングの製造方法 | |
| JP3746828B2 (ja) | 円筒状部品の製造方法 | |
| WO2016052105A1 (ja) | 成形方法 | |
| JP2007181878A (ja) | フランジ付きハウジング部材とその成形方法及び装置 | |
| JPH06190479A (ja) | 組立式カムシャフトの製造方法 | |
| JP5968374B2 (ja) | 孔付き鍛造品の製造方法 | |
| JP2024118042A (ja) | 筒状素材のフランジ部の成形方法 | |
| JP6169765B1 (ja) | 鍛造方法および鍛造金型セット |
Legal Events
| Date | Code | Title | Description |
|---|---|---|---|
| A621 | Written request for application examination |
Free format text: JAPANESE INTERMEDIATE CODE: A621 Effective date: 20110920 |
|
| A131 | Notification of reasons for refusal |
Free format text: JAPANESE INTERMEDIATE CODE: A131 Effective date: 20121203 |
|
| A02 | Decision of refusal |
Free format text: JAPANESE INTERMEDIATE CODE: A02 Effective date: 20130329 |
