JP2010142516A - 遊技機 - Google Patents

遊技機 Download PDF

Info

Publication number
JP2010142516A
JP2010142516A JP2008324767A JP2008324767A JP2010142516A JP 2010142516 A JP2010142516 A JP 2010142516A JP 2008324767 A JP2008324767 A JP 2008324767A JP 2008324767 A JP2008324767 A JP 2008324767A JP 2010142516 A JP2010142516 A JP 2010142516A
Authority
JP
Japan
Prior art keywords
effect
control unit
special symbol
game
lottery
Prior art date
Legal status (The legal status is an assumption and is not a legal conclusion. Google has not performed a legal analysis and makes no representation as to the accuracy of the status listed.)
Pending
Application number
JP2008324767A
Other languages
English (en)
Inventor
Atsuta Hashizume
惇太 橋爪
Current Assignee (The listed assignees may be inaccurate. Google has not performed a legal analysis and makes no representation or warranty as to the accuracy of the list.)
Kyoraku Sangyo Co Ltd
Original Assignee
Kyoraku Sangyo Co Ltd
Priority date (The priority date is an assumption and is not a legal conclusion. Google has not performed a legal analysis and makes no representation as to the accuracy of the date listed.)
Filing date
Publication date
Application filed by Kyoraku Sangyo Co Ltd filed Critical Kyoraku Sangyo Co Ltd
Priority to JP2008324767A priority Critical patent/JP2010142516A/ja
Publication of JP2010142516A publication Critical patent/JP2010142516A/ja
Pending legal-status Critical Current

Links

Images

Landscapes

  • Pinball Game Machines (AREA)
  • Display Devices Of Pinball Game Machines (AREA)

Abstract

【課題】遊技者に継続した期待感を与えて、遊技性の向上を図ること。
【解決手段】遊技機100は、抽選部201と、特別図柄制御部202と、演出実行部203と、発光部204とを備える。抽選部201は、遊技盤上の遊技領域に発射された遊技球が遊技盤上の所定の始動口へ入賞することにより所定の確率で大当たりに当選する抽選をおこなう。特別図柄制御部202は、抽選部201の抽選結果に基づき、当該抽選結果をあらわすための特別図柄を変動させて、抽選結果をあらわす図柄にて停止させる。演出実行部203は、特別図柄制御部202によって特別図柄が複数回変動される間、継続する演出(以下「継続演出」という)を実行する。そして、演出実行部203は、継続演出において、演出用の所定の光源を有する発光部を発光させる。
【選択図】図2

Description

本発明は、遊技盤上の遊技領域に発射された遊技球が所定の始動口へ入賞することにより所定の確率で大当たりに当選する抽選をおこなう遊技機に関する。
従来、たとえば、遊技盤の遊技領域に打ち出された遊技球が所定の始動口へ入賞すると可変表示装置に3列の図柄(たとえば1〜12の数字の図柄)を変動表示し、特定の組み合わせ(たとえば「7・7・7」)にて停止表示すると大当たりとなる遊技機があった。このような遊技機には、可変表示装置に上記の図柄のほか、各種演出表示をおこなうものもあった。
また、演出実行時には、可変表示装置に各種演出表示をおこなうほか、遊技機が備えるランプなどを点灯させる遊技機も近年では広く用いられている。たとえば、このような遊技機には、発射ハンドル装置を大当たり抽選の抽選結果(当落)に絡んで、発光させる遊技機があった(たとえば下記特許文献1参照。)。
特開2007−44365号公報
しかしながら、上記の従来技術では、発射ハンドル装置(のランプ)の発光は、そのときの変動に対する演出であり、遊技者の期待感を長時間にわたって維持できていないという問題があった。すなわち、上記の従来技術において、発射ハンドル装置が発光された場合、遊技者は発光された際の変動に対しては期待感を持つことができるが、その後の変動に対しては期待感を持つことができない。したがって、発射ハンドル装置が発光された変動にて大当たりとならなかった場合には、遊技者は期待感を失って、遊技をやめてしまうことがあった。
本発明は、上記の従来技術による問題点を解消するため、遊技者の期待感を維持でき、遊技者に長時間にわたった遊技をおこなわせることができる遊技機を提供することを目的とする。
前述した課題を解決し、目的を達成するため、本発明は以下の構成を採用した。括弧内の参照符号は、本発明の理解を容易にするために下記の実施の形態との対応関係を示したものであって、本発明の範囲を何ら限定するものではない。本発明にかかる遊技機(100)は、遊技盤(101)上の遊技領域(103)に発射された遊技球が前記遊技盤(101)上の所定の始動口(105,106)へ入賞することにより所定の確率で大当たりに当選する抽選をおこなう抽選手段(201)と、前記抽選手段(201)の抽選結果に基づき、当該抽選結果をあらわすための特別図柄を変動させて、前記抽選結果をあらわす図柄にて停止させる特別図柄制御手段(202)と、前記特別図柄制御手段(202)によって特別図柄が変動された所定の変動から、複数回、前記特別図柄が変動されるまでの間、継続する演出(以下「継続演出」という)を実行する演出実行手段(203)と、を備え、前記演出実行手段(203)は、演出用の所定の光源を有する発光部(204)を発光させる前記継続演出を実行することを特徴とする。
また、上記の発明において、前記遊技球が前記所定の始動口(105,106)へ入賞する毎に、当該遊技球により前記大当たりに当選するか否かを判定する事前判定手段(205)と、前記事前判定手段(205)の判定結果に基づき、未変動分の保留の中に前記大当たりがあるか否かを判定する保留判定手段(206)と、をさらに備え、前記演出実行手段(203)は、前記保留判定手段(206)によって大当たりがあると判定された場合に、前記特別図柄制御手段(202)によって前記大当たりとなる保留が消化されるまでの間、前記継続演出を実行することとしてもよい。
また、上記の発明において、前記事前判定手段(205)は、前記遊技球が前記所定の始動口(105,106)へ入賞する毎に、当該遊技球により特定のはずれ(以下「小当たり」という)となるか否かを判定し、前記保留判定手段(206)は、前記保留の中に前記小当たりがあるか否かを判定し、前記演出実行手段(203)は、前記保留判定手段(206)によって小当たりがあると判定された場合に、前記特別図柄制御手段(202)によって前記小当たりとなる保留が消化されるまでの間、前記継続演出を実行することとしてもよい。
また、上記の発明において、前記演出実行手段(203)は、前記発光部とは異なる前記遊技盤(101)上の他の光源(116,264)を消灯させる前記継続演出を実行することとしてもよい。
また、上記の発明において、前記遊技盤(101)上の遊技領域(103)に遊技球を発射する発射部(392)と、前記発射部(392)を駆動させて前記遊技球を発射させるための操作ハンドル(117)と、をさらに備え、前記操作ハンドル(117)は、少なくとも一部に光透過性を有するハンドルカバー(404)にて被覆されるとともに、内部に前記発光部(204)が設けられていることとしてもよい。
上記の構成によれば、特別図柄の複数回の変動にわたって、演出用の所定の光源を発光させる継続演出を実行することができる。
本発明によれば、特別図柄の複数回の変動にわたって、遊技者の期待感を維持することができるという効果を奏する。
以下に添付図面を参照して、本発明にかかる遊技機の好適な実施の形態を詳細に説明する。
(遊技機の基本構成)
まず、本発明の実施の形態にかかる遊技機の基本構成について説明する。図1は、本発明の実施の形態にかかる遊技機の一例を示す正面図である。図1に示すように、本実施の形態の遊技機100は、遊技盤101を備えている。遊技盤101の下部位置には、発射部(図3中符号392参照)が配置されている。
発射部の駆動によって発射された遊技球は、レール102a,102b間を上昇して遊技盤101の上部位置に達した後、遊技領域103内を落下する。遊技領域103には、複数の釘(不図示)が設けられており、この釘によって遊技球は不特定な方向に向けて落下する。また、遊技領域103において遊技球の落下途中となる位置には、遊技球の落下方向を変化させる風車や各種入賞口(始動口や大入賞口など)が配設されている。
遊技盤101のほぼ中央部分には、画像表示部104が配置されている。画像表示部104としては液晶表示器(LCD:Liquid Crystal Display)などが用いられる。画像表示部104の下方には、第1始動口105と、第2始動口106とが配設されている。第1始動口105、第2始動口106は、始動入賞させるための入賞口である。
第2始動口106の近傍には、電動チューリップ107が設けられている。電動チューリップ107は、遊技球を第2始動口106へ入賞し難くさせる閉状態(閉口された状態)と、閉状態よりも入賞し易くさせる開状態(開放された状態)とを有する。これらの状態の制御は、電動チューリップ107が備えるソレノイド(図3中符号331参照)によっておこなわれる。
電動チューリップ107は、画像表示部104の左側に配設されたゲート108を遊技球が通過したことによりおこなわれる普通図柄抽選の抽選結果に基づいて開放される。ゲート108は、画像表示部104の左側(図示の位置)に限らず、遊技領域103内の任意の位置に配設してよい。
第2始動口106の下方には、大入賞口109が設けられている。大入賞口109は、大当たり状態となったときに開放され、遊技球の入賞により所定個数(たとえば15個)の賞球を払い出すための入賞口である。
画像表示部104の側部や下方などには普通入賞口110が配設されている。普通入賞口110は、遊技球の入賞により所定個数(たとえば10個)の賞球を払い出すための入賞口である。普通入賞口110は、図示の位置に限らず、遊技領域103内の任意の位置に配設してよい。遊技領域103の最下部には、いずれの入賞口にも入賞しなかった遊技球を回収する回収口111が設けられている。
遊技盤101の右下部分には、特別図柄が表示される特別図柄表示部112が配置されている。ここで、特別図柄は、第1始動口105または第2始動口106へ入賞することによりおこなう大当たり抽選の抽選結果をあらわす図柄である。大当たり抽選は、遊技状態を大当たり状態とするか否かの抽選である。
また、遊技盤101の右下部分には、普通図柄が表示される普通図柄表示部113が配置されている。ここで、普通図柄は、普通図柄抽選の抽選結果をあらわす図柄である。普通図柄抽選は、前述のように電動チューリップ107を開状態とするか否かの抽選である。たとえば、特別図柄表示部112および普通図柄表示部113としては7セグメントディスプレイが用いられる。
特別図柄表示部112および普通図柄表示部113の左側には、特別図柄または普通図柄に対する保留数を表示する保留数表示部114が配置されている。たとえば、保留数表示部114としてはLEDが用いられる。この保留数表示部114としてのLEDは複数配置され、点灯/消灯によって保留数をあらわす。たとえば、保留数表示部114を構成するLEDのうちの、上段のLEDが2個点灯している場合には、普通図柄に対する保留数は2であることをあらわす。
遊技盤101の遊技領域103の外周部分には、枠部材115が設けられている。枠部材115は、遊技盤101の上下左右の4辺において遊技領域103の周囲を囲む形状を有している。また、枠部材115は、遊技盤101の盤面から遊技者側に突出する形状を有している。
枠部材115において遊技領域103の上側および下側となる2辺には、演出ライト部(枠ランプ)116が設けられている。演出ライト部116は、それぞれ複数のランプとモータ(不図示)とを有する。各ランプは、遊技機100の正面にいる遊技者を照射する。また、各ランプは、モータの駆動により光の照射方向を上下方向・左右方向に変更することができる。また、各ランプは、遊技機100の周囲を照射し、その照射位置が遊技機100を基準にして円をなすように、光の照射方向を回転させることもできる。
枠部材115の下部位置には、操作ハンドル117が配置されている。操作ハンドル117は、上記の発射部の駆動によって遊技球を発射させる際に、遊技者によって操作される。操作ハンドル117は、上記の枠部材115と同様に、遊技盤101の盤面から遊技者側に突出する形状を有している。
操作ハンドル117は、上記の発射部を駆動させて遊技球を発射させる発射指示部材118を備えている。発射指示部材118は、操作ハンドル117の外周部において、遊技者から見て右回りに回転可能に設けられている。公知の技術であるため説明を省略するが、操作ハンドル117には、遊技者が発射指示部材118を直接操作していることを検出するセンサなどが設けられている。これにより、発射部は、発射指示部材118が遊技者によって直接操作されている時に遊技球を発射させる。また、操作ハンドル117は、その内部に、演出用の所定の光源を有する発光部(後述する発光部204)を備えている。
枠部材115において、遊技領域103の下側となる辺には、演出ボタン(チャンスボタン)119および十字キー120が設けられている。これら演出ボタン119および十字キー120は、遊技機100において遊技者からの操作を受け付ける操作部を構成している。また、枠部材115には、音声を出力するスピーカ(図3中符号354参照)が組み込まれている。
また、図示は省略するが、遊技領域103内の所定位置(たとえば画像表示部104の周囲)には演出用の役物(以下「演出役物」という。図3中符号365参照)が設けられている。この演出役物は、不図示のソレノイドやモータを備えており、このソレノイドやモータの駆動によって駆動される。
(本実施の形態の遊技機の機能的構成)
つぎに、本発明の実施の形態にかかる遊技機100の機能的構成について説明する。図2は、本発明の実施の形態にかかる遊技機の機能的構成を示すブロック図である。図2に示すように、遊技機100は、抽選部201と、特別図柄制御部202と、演出実行部203と、発光部204とを備えている。
抽選部201は、遊技盤101上の遊技領域103に発射された遊技球が所定の始動口(第1始動口105、または第2始動口106)へ入賞することにより所定の確率で大当たりに当選する抽選(以下「大当たり抽選」という)をおこなう機能を有する。たとえば、抽選部201は、第1始動口105、または第2始動口106へ遊技球が入賞する毎に所定の乱数(以下「大当たり乱数」という)を取得しておき、この大当たり乱数と、大当たり抽選用テーブルとを用いて、大当たり抽選をおこなう。
特別図柄制御部202は、抽選部201の抽選結果に基づき、当該抽選結果をあらわすための特別図柄を変動させて、抽選結果をあらわす図柄にて停止させる機能を有する。たとえば、特別図柄制御部202は、抽選部201の抽選結果を得ると、特別図柄を変動させる期間(以下「変動時間」という)を決定して、特別図柄の変動を開始する。そして、変動開始時から変動時間が経過したら、特別図柄を、抽選部201の抽選結果をあらわす図柄(たとえば、はずれは「−」、大当たりは「7」)にて停止させる。
演出実行部203は、特別図柄制御部202によって特別図柄が変動された所定の変動(たとえば後述する継続演出フラグをONに設定した変動)から、複数回、特別図柄が変動されるまでの間(各変動間のインターバル期間中も)、継続する演出(以下「継続演出」という)を実行する機能を有する。たとえば、演出実行部203は、演出用の所定の光源(以下「演出用光源」という)を有する発光部204を発光させる継続演出を実行する。
たとえば、発光部204は、通電することにより光を発光する複数のLED(たとえば後述するLED412、LED413)や、これらのLEDが発光した光を反射する反射部材と、反射部材による反射方向を変化させるように反射部材を回転させるモータなどを備えている。これにより、発光部204は、反射部材を用いてLEDからの発光光を多方向に反射させて、発光部204を発光させることによる演出効果を増大させることができる。
たとえば、発光部204は、操作ハンドル117内に設けられる。詳細は後述するが、操作ハンドル117は、少なくとも一部に光透過性を有するハンドルカバー(後述するハンドルカバー404)にて被覆されている。そのため、発光部204が照射した光は、このハンドルカバーを介して操作ハンドル117外へ到達し、遊技者は発光部204が照射した光を視認することができる。
また、遊技機100は、図2に示すように、事前判定部205と、保留判定部206とを備えてもよい。ここで、事前判定部205は、遊技球が所定の始動口(第1始動口105、または第2始動口106)へ入賞する毎に、当該遊技球により大当たりに当選するか否かを判定する機能を有する。また、さらに、事前判定部205は、遊技球が所定の始動口へ入賞する毎に、当該遊技球により特定のはずれ(以下「小当たり」という)となるか否かを判定してもよい。たとえば、ここで、小当たりとは、後述する2ラウンド確変大当たりと同一の演出を実行させるはずれである。なお、事前判定の詳細な処理については図11を用いて後述する。
保留判定部206は、事前判定部205の判定結果に基づき、未変動分の保留の中に大当たりがあるか否かを判定する機能を有する。また、さらに、保留判定部206は、未変動分の保留の中に小当たりがあるか否かを判定してもよい。
ここで、保留について説明する。公知の技術のため詳細な説明は省略するが、遊技機100は、所定の始動口へ入賞した遊技球を検出する検出部210を備えており、この検出部210によって遊技球を検出する毎に、前述の大当たり乱数を取得する。そして、この大当たり乱数を用いて大当たり抽選をおこなうが、特別図柄の変動中に、所定の始動口へ遊技球が入賞すると、ただちには新たに入賞した遊技球に対する特別図柄の変動はおこなえない。このため、この大当たり乱数は、保留として一時的に記憶される。たとえば、遊技機100は、保留を4つまで記憶することができる。
上記の事前判定部205と、保留判定部206とを備えた場合、演出実行部203は、保留判定部206によって大当たりがあると判定された場合に、特別図柄制御部202によって大当たりとなる保留が消化されるまでの間、継続演出を実行する。ここで、「保留が消化される」とは、この保留の大当たり乱数を用いた特別図柄の変動がなされることをいう。また、演出実行部203は、保留判定部206によって小当たりがあると判定された場合にも、特別図柄制御部202によって小当たりとなる保留が消化されるまでの間、継続演出を実行してもよい。なお、たとえば、保留は、保留された順番、または所定の優先順位にしたがって、順次消化されていくものとする。
(本実施の形態の遊技機のハードウェア構成)
つぎに、本発明の実施の形態にかかる遊技機100のハードウェア構成について説明する。図3は、本発明の実施の形態にかかる遊技機のハードウェア構成を示すブロック図である。図3に示すように、遊技機100の制御部300は、遊技の進行を制御する主制御部301と、演出内容を制御する演出制御部302と、賞球の払い出しを制御する賞球制御部303とを備えている。以下にそれぞれの制御部の構成について詳細に説明する。
(1.主制御部)
主制御部301は、CPU(Central Processing Unit)311と、ROM(Read Only Memory)312と、RAM(Random Access Memory)313と、不図示の入出力インターフェース(I/O)などを備えて構成される。
CPU311は、大当たり抽選、変動パターン選択、遊技状態の制御などをおこなう遊技制御処理を実行する。ROM312には、CPU311が上記の処理を実行するために必要となる各種プログラムなどが記憶されている。RAM313は、CPU311のワークエリアとして機能する。なお、CPU311が各種プログラムを実行することによりRAM313にセットされたデータは、主制御部301に接続された各構成に対して出力される。
すなわち、主制御部301は、CPU311がRAM313をワークエリアとして使用しながら、ROM312に記憶された各種プログラムを実行することによって、遊技機100の遊技の進行を制御するように機能する。たとえば、主制御部301は、主制御基板(公知の技術のため詳細な説明は省略する)によって実現される。
主制御部301には、遊技球を検出する検出手段として機能する各種スイッチ(SW)、大入賞口などの電動役物を開閉動作させるためのソレノイド、上記の特別図柄表示部112、普通図柄表示部113、保留数表示部114などが接続される。
具体的に、上記の各種SWとしては、第1始動口105へ入賞した遊技球を検出する第1始動口SW321と、第2始動口106へ入賞した遊技球を検出する第2始動口SW322と、ゲート108を通過した遊技球を検出するゲートSW323と、大入賞口109へ入賞した遊技球を検出する大入賞口SW324と、普通入賞口110へ入賞した遊技球を検出する普通入賞口SW325とが主制御部301に接続される。
それぞれのSW(321〜325)による検出信号は主制御部301へ入力される。これらのSWには、近接スイッチなどを用いることができる。なお、普通入賞口SW325は、普通入賞口110の配置位置別に複数個設けてもよい。
また、上記のソレノイドとしては、電動チューリップ107を開閉動作させる電動チューリップソレノイド331、大入賞口109を開閉動作させる大入賞口ソレノイド332とが主制御部301に接続される。主制御部301は、それぞれのソレノイド(331、332)に対する駆動を制御する。たとえば、主制御部301は、普通図柄抽選の抽選結果に基づいて電動チューリップソレノイド331の駆動を制御する。主制御部301は、大当たり抽選の抽選結果に基づいて大入賞口ソレノイド332の駆動を制御する。
また、主制御部301は、大当たり抽選、普通図柄抽選の抽選結果に基づいて、特別図柄表示部112、普通図柄表示部113の表示内容を制御する。たとえば、主制御部301は、大当たり抽選をおこなうと特別図柄表示部112の特別図柄を変動表示させる。そして、所定期間経過後に、大当たり抽選の抽選結果を示す図柄にて特別図柄を停止表示させる。
同様に、主制御部301は、普通図柄抽選をおこなうと普通図柄表示部113の普通図柄を変動表示させる。そして、所定期間経過後に、普通図柄抽選の抽選結果を示す図柄にて普通図柄を停止表示させる。
さらに、主制御部301は、演出制御部302および賞球制御部303にも接続され、それぞれの制御部に対して各種コマンドを出力する。たとえば、主制御部301は、大当たり抽選をおこなうと、演出制御部302に対して変動開始コマンドを出力する。ここで、変動開始コマンドには、遊技状態を示す情報や、特別図柄を変動表示させる時間(以下「変動時間」という)や、大当たり抽選の抽選結果(停止表示させる特別図柄)を示す情報などが含まれている。そして、主制御部301は、入賞口への遊技球の入賞を検出すると、賞球制御部303に対して賞球コマンドを出力する。ここで、賞球コマンドには、払い出させる賞球の個数を示す情報などが含まれている。
(2.演出制御部)
演出制御部302は、演出統括部302aと、画像・音声制御部302bと、ランプ制御部302cとによって構成され、遊技機100の演出内容を制御する機能を有する。ここで、演出統括部302aは、主制御部301から受信したコマンド(たとえば変動開始コマンド)に基づいて演出制御部302全体を統括する機能を有している。画像・音声制御部302bは、演出統括部302aからの指示内容に基づいて画像および音声の制御をおこなう機能を有している。また、ランプ制御部302cは、ハンドルライト部のランプの他、遊技盤101および枠部材115などに設けられたランプ(不図示)の点灯を制御する機能を有している。
(2−1.演出統括部)
まず、演出統括部302aの構成について説明する。演出統括部302aは、CPU341と、ROM342と、RAM343と、リアルタイムクロック(以下「RTC」という)344と、不図示の入出力インターフェース(I/O)などを備えて構成される。
CPU341は、変動開始コマンドなどに基づいて、実行する演出を選択し、この演出に応じた画像、音声、ランプの点灯などの演出内容を画像・音声制御部302bやランプ制御部302cへ指示出力する処理などを実行する。ROM342には、CPU341が上記の処理を実行するために必要となる各種プログラムなどが記憶されている。RAM343は、CPU341のワークエリアとして機能する。CPU341がプログラムを実行することによりRAM343にセットされたデータは、所定のタイミングで画像・音声制御部302bおよびランプ制御部302cに対して出力される。
すなわち、演出統括部302aは、CPU341がRAM343をワークエリアとして使用しながら、ROM342に記憶されたプログラムを実行することによって、演出制御部302全体を統括するように機能する。たとえば、演出統括部302aは、変動開始コマンドに基づいて、特別図柄の変動表示に合わせて実行する演出を決定し、画像・音声制御部302b、ランプ制御部302cに所定の処理を実行するように指示出力して、演出制御部302全体を統括する。
RTC344は、実時間を計時出力する計時手段として機能する。RTC344は、遊技機100の電源が遮断されているときもバックアップ電源(不図示)により計時動作を継続する。なお、RTC344は、演出統括部302aなど演出制御部302内に配置する例に限らず、主制御部301内に配置してもよい。また、RTC344は、単独で配置して演出制御部302や主制御部301に対して実時間を計時出力してもよい。
また、演出統括部302aには、演出ボタン119が接続されている。たとえば、演出ボタン119は、遊技者から操作を受け付けると、対応するデータを演出統括部302aへ入力する。また、図3において図示は省略するが、十字キー120も演出統括部302aに接続されている。十字キー120は、遊技者によって選択されたキーに対応する入力信号を演出統括部302aへ入力する。
(2−2.画像・音声制御部)
つぎに、画像・音声制御部302bの構成について説明する。画像・音声制御部302bは、CPU351と、ROM352と、RAM353と、不図示の入出力インターフェース(I/O)などを備えて構成される。
CPU351は、画像・音声の生成処理、および出力処理を実行する。ROM352には、画像・音声の生成処理、および出力処理を実行するためのプログラム、該処理に必要となる背景画像・演出図柄画像・キャラクタ画像など各種画像データや各種音声データなどが記憶されている。RAM353は、CPU351のワークエリアとして機能し、画像表示部104に表示させる画像データやスピーカ354から出力させる音声データが一時的に格納される。
すなわち、画像・音声制御部302bは、CPU351がRAM353をワークエリアとして使用しながら、ROM352に記憶されたプログラムを実行することによって、演出統括部302aからの指示に基づいて画像および音声の制御をおこなうように機能する。
たとえば、CPU351は、演出統括部302aから指示された指示内容に基づいて、背景画像表示処理、演出図柄変動/停止表示処理、キャラクタ画像表示処理など各種画像処理と音声処理を実行する。このときには、CPU351は、処理に必要な画像データおよび音声データをROM352から読み出してRAM353に書き込む。
RAM353に書き込まれた背景画像や演出図柄画像などの画像データは、画像・音声制御部302bに接続された画像表示部104に対して出力され、画像表示部104の表示画面上において重畳表示される。すなわち、演出図柄画像は、背景画像よりも手前に見えるように表示される。なお、同一位置に背景画像と図柄画像が重なる場合などには、Zバッファ法など周知の陰面消去法により各画像データのZバッファのZ値を参照することで、図柄画像を優先してRAM353に記憶させる。
また、RAM353に書き込まれた音声データは、画像・音声制御部302bに接続されたスピーカ354に対して出力され、音声データに基づく音声がスピーカ354から出力される。
(2−3.ランプ制御部)
つぎに、ランプ制御部302cの構成について説明する。ランプ制御部302cは、CPU361と、ROM362と、RAM363と、不図示の入出力インターフェース(I/O)などを備えて構成される。CPU361は、ランプを点灯させる処理などを実行する。ROM362には、上記の処理を実行するために必要となる各種プログラム、該処理に必要となるランプ点灯に用いる制御データなどが記憶されている。RAM363は、CPU361のワークエリアとして機能する。
ランプ制御部302cは、演出ライト部(枠ランプ)116と、盤ランプ364と演出役物365と、発光部204とに接続され、点灯制御するデータや動作制御するデータを出力する。これにより、ランプ制御部302cは、遊技盤101および枠部材115などに設けられたランプの点灯、演出役物365の動作を制御するように機能する。
本実施の形態では、演出制御部302は、演出統括部302aと画像・音声制御部302bとランプ制御部302cとがそれぞれ異なる基板機能として設けられるが、これらは同じプリント基板上に組み込んで構成してもよい。ただし、同じプリント基板上に組み込まれた場合であってもそれぞれの機能は独立しているものとする。
(3.賞球制御部)
つぎに、賞球制御部303の構成について説明する。賞球制御部303は、CPU381と、ROM382と、RAM383と、不図示の入出力インターフェース(I/O)などを備えて構成される。CPU381は、払い出す賞球を制御する賞球制御処理を実行する。ROM382には、該処理に必要となるプログラムなどが記憶されている。RAM383は、CPU381のワークエリアとして機能する。
また、賞球制御部303は、払出部(払出駆動モータ)391と、発射部392と、定位置検出SW393と、払出球検出SW394と、球有り検出SW395と、満タン検出SW396と接続される。
賞球制御部303は、払出部391に対して入賞時の賞球数を払い出す制御をおこなう。払出部391は、遊技球の貯留部から所定数を払い出すためのモータからなる。具体的には、賞球制御部303は、払出部391に対して各入賞口(第1始動口105、第2始動口106、大入賞口109、普通入賞口110)に入賞した遊技球に対応した賞球数を払い出す制御をおこなう。
また、賞球制御部303は、発射部392に対する遊技球の発射の操作を検出して遊技球の発射を制御する。発射部392は、遊技のための遊技球を発射するものであり、遊技者による遊技操作を検出するセンサと、遊技球を発射させるソレノイド等を備える。賞球制御部303は、発射部392のセンサにより遊技操作を検出すると、検出された遊技操作に対応してソレノイド等を駆動させて遊技球を間欠的に発射させ、遊技盤101の遊技領域103に遊技球を送り出す。
また、この賞球制御部303には、払い出す遊技球の状態を検出する各所の検出部が接続され、賞球のための払い出し状態を検出する。これらの検出部としては、定位置検出SW393、払出球検出SW394、球有り検出SW395、満タン検出SW396などがある。たとえば、賞球制御部303は、賞球基板によってその機能を実現する。
上記構成の主制御部301と、演出制御部302と、賞球制御部303は、それぞれ異なるプリント基板(主制御基板、演出制御基板、賞球制御基板)に設けられる。これに限らず、たとえば、賞球制御部303は、主制御部301と同一のプリント基板上に設けることもできる。
また、主制御部301には、盤用外部情報端子基板397が接続されており、主制御部301が実行処理した各種情報を外部に出力することができる。賞球制御部303についても、枠用外部情報端子基板398が接続されており、賞球制御部303が実行処理した各種情報を外部に出力することができる。
なお、上記の抽選部201はCPU311とROM312とによって、特別図柄制御部202はCPU311とROM312と特別図柄表示部112とによって、演出実行部203はCPU341とROM342とによって、それぞれの機能を実現することができる。
(本実施の形態の遊技機が有する遊技状態)
つぎに、本実施の形態の遊技機100が有する遊技状態について説明する。前述のように、主制御部301は、遊技機100の遊技状態の制御などをおこなう。ここで、遊技機100は、(1)大当たり状態と、(2)通常状態と、(3)時短状態と、(4)確変状態と、(5)潜伏確変状態と、からなる5つの遊技状態を有している。以下にそれぞれの遊技状態について説明する。
大当たり状態は、大当たりに当選した場合に実行される遊技状態である。大当たり状態は、大当たりの種別毎に設定された所定の大当たり終了条件を満たすまで継続される。たとえば、本実施の形態においては、15ラウンド確変/通常大当たりでは「大当たりゲーム15ラウンドの消化」が大当たり終了条件となっている。また、2ラウンド確変大当たりでは「大当たりゲーム2ラウンドの消化」が大当たり終了条件となっている。大当たりゲームでは、所定期間(または所定個数の入賞があるまで)大入賞口109が開放される。大当たり終了条件を満たした場合には、大当たりの種別毎に設定された遊技状態へ移行する。
通常状態は、通常時に実行される遊技状態である。換言すれば、その他の遊技状態でないときに実行される遊技状態である。通常状態では、低確率状態用の大当たり判定テーブル(以下「低確率判定テーブル」という)を用いて大当たり抽選をおこない、たとえば、1/300の確率で大当たりに当選するようになっている。また、通常状態では、所定の電動チューリップ制御処理(不図示)により電動チューリップ107があまり開放しない(また開放してもすぐに閉口する)ようになっている。このため、通常状態では、第2始動口106への遊技球の入賞がし難くなっている。
時短状態は、15ラウンド通常大当たりによる大当たり状態後に実行される遊技状態である。時短状態は、所定の時短終了条件を満たすまで継続される。たとえば、本実施の形態においては、「特別図柄の100回変動」が時短終了条件となっている。時短終了条件を満たした場合には、通常状態へ移行する。時短状態では、低確率判定テーブルを用いて大当たり抽選をおこない、通常状態と同様の確率で大当たりに当選するようになっている。また、時短状態では、所定の電動チューリップ制御処理(不図示)により電動チューリップ107が頻繁に開放され、通常状態よりも第2始動口106への遊技球の入賞がし易くなっている。
確変状態は、15ラウンド確変大当たりによる大当たり状態後に実行される遊技状態である。確変状態は、所定の確変終了条件を満たすまで継続される。たとえば、本実施の形態においては、「いずれかの大当たりへの当選」が確変終了条件となっている。確変状態では、高確率状態用の大当たり判定テーブル(以下「高確率判定テーブル」という)を用いて大当たり抽選をおこない、たとえば、1/30の確率で大当たりに当選するようになっている。また、確変状態では、電動チューリップ制御処理により電動チューリップ107が頻繁に開放され、通常状態よりも第2始動口106への遊技球の入賞がし易くなっている。
潜伏確変状態は、2ラウンド確変大当たりによる大当たり状態後に実行される遊技状態である。潜伏確変状態は、確変状態と同様に、所定の確変終了条件(いずれかの大当たりへの当選)を満たすまで継続される。潜伏確変状態では、高確率判定テーブルを用いて大当たり抽選をおこない、確変状態と同様の確率で大当たりに当選するようになっている。また、潜伏確変状態は、確変状態とは異なり、電動チューリップ107は通常状態と同様の制御がおこなわれる。すなわち、潜伏確変状態は、確変状態と比べて第2始動口106への遊技球の入賞がし難くなっている。
すなわち、本実施の形態の遊技機100では、上記の通常状態および時短状態は大当たりの確率が低い低確率状態であり、上記の確変状態および潜伏確変状態は大当たりの確率が低確率状態よりも高い高確率状態となっている。
(本実施の形態の遊技機の基本動作)
つぎに、本実施の形態の遊技機100の基本動作の一例について説明する。遊技機100は、遊技球が第1始動口105または第2始動口106へ入賞すると、大当たり抽選をおこなう。このときには、特別図柄表示部112の特別図柄を変動表示する。そして、所定期間経過後に、大当たり抽選の抽選結果を示す図柄にて特別図柄を停止表示する。
遊技機100は、特別図柄を変動表示すると、それに合わせて画像表示部104にて演出用の図柄(以下「演出図柄」という)の変動表示をおこなう。このときには、演出図柄のみならず、演出図柄の変動表示にあわせて、実行中の演出に基づく各種画像(たとえばキャラクタ画像、背景画像)を画像表示部104に表示してもよい。
そして、特別図柄を停止表示すると、画像表示部104にて演出図柄も停止表示する。たとえば、特別図柄を大当たりを示す所定の図柄で停止表示させた場合(大当たり抽選にて大当たりに当選した)には、遊技機100は、大当たりを示す特定の組み合わせで演出図柄を停止表示する(たとえば「7・7・7」)。
また、特別図柄を大当たりを示す所定の図柄で停止表示させると、遊技機100は、遊技状態を大当たり状態とし、当選した大当たりの種別に応じたラウンド分(たとえば15ラウンド)、大入賞口109を開放する。この開放中に、遊技球が大入賞口109へ入賞すると、遊技機100は所定個数の賞球を払い出す。
また、大当たり状態となった場合には、遊技機100は、大当たり用の大当たり演出を実行する。たとえば、大当たり演出では、大当たり演出用の背景画像を画像表示部104に表示する。このときには、当選した大当たりの種別などを表示してもよい。また、15ラウンド確変大当たりに当選していても、「15ラウンド通常大当たりに当選」と表示し、所定のタイミングで「15ラウンド確変大当たりに当選」とする昇格演出をおこなってもよい。
大当たり状態は、当選した大当たりの種別毎に設定された大当たり終了条件を満たすと終了し、遊技機100は他の遊技状態となる。たとえば、15ラウンド確変大当たりに当選した場合には、遊技機100は大当たり状態が終了すると確変状態となる。また、遊技機100は、15ラウンド通常大当たりに当選した場合には大当たり状態が終了すると時短状態となり、2ラウンド確変大当たりに当選した場合には大当たり状態が終了すると潜伏確変状態となる。
また、遊技機100は、遊技球がゲート108を通過すると普通図柄抽選をおこなう。このときには、普通図柄表示部113の普通図柄を変動表示する。そして、所定期間経過後に、普通図柄抽選の抽選結果を示す図柄にて普通図柄を停止表示する。普通図柄を普図当たりを示す所定の図柄で停止表示させた場合(普通図柄抽選にて普図当たりに当選した)、遊技機100は、電動チューリップ107を所定期間開放する。
(操作ハンドルの詳細な構成)
つぎに、操作ハンドル117の詳細な構成について説明する。図4は、操作ハンドルの構成を示す分解斜視図である。図4において、操作ハンドル117は、上記の発射指示部材118を支持する基台部401を備えている。基台部401は、遊技者側に設けられた開口部402を備える略円筒形状を有している。発射指示部材118は、略リング形状を有しており、基台部401の開口部402に突き当てた状態で、基台部401に取り付けられる。発射指示部材118は、基台部401に取り付けられた状態において、基台部401の軸心と同一軸心周りに、基台部401に対して相対的に回転可能とされている。
操作ハンドル117において、発射指示部材118の外周面には、突起403が設けられている。突起403は、発射指示部材118の外周側に突出しており、複数設けられている。遊技者は、複数の突起403あるいは突起403間に指をかけた状態で操作ハンドル117を把持し、発射指示部材118を回転させる。発射指示部材118に突起403を設けることにより、遊技者は発射指示部材118を容易に回転させることができる。また、発射指示部材118に突起403を設けることにより、遊技者が直接操作しているか否かの判断を精度よくおこなうことができる。
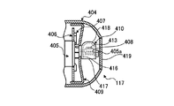
発射指示部材118において、基台部401と反対側には、ハンドルカバー(カバー部材)404が設けられている。ハンドルカバー404は、基台部401および発射指示部材118とともに、発光部204を収容する空間を形成する。空間内には、モータ405、白色LED基板406、支持部材407、赤色LED基板408、固定反射部材409、および回転反射部材410が設けられている。
モータ405、白色LED基板406、支持部材407、および赤色LED基板408は、固定反射部材409よりも基台部401側に設けられており、回転反射部材410は、固定反射部材409よりもハンドルカバー404側に設けられている。
モータ405は、基台部401の軸心と同一軸心周りに回転することによって駆動力を発生する。モータ405には、モータ405の駆動力を伝達する駆動軸(回転軸)405aが設けられている。駆動軸405aは、モータ405から遊技盤101の前方方向(遊技者側)へ延びるように設けられている。
白色LED基板406は、モータ405の駆動軸405aを回避するような中空円板形状(ドーナツ状)を有している。白色LED基板406には、モータ405の駆動軸心周りに複数(図4においては6個)配置されたLED412が実装されている。白色LED基板406に実装されたLED412は、白色光を発光する。
赤色LED基板408は、赤色光を発光するLED413を支持する。赤色LED基板408は、支持部材407によって、白色LED基板406に固定される。赤色LED基板408は、LED413が白色LED基板406よりもハンドルカバー404側に位置するように、固定反射部材409に設けられた孔部を貫通し、固定反射部材409からハンドルカバー404側へ突出した状態で支持されている。LED413は、常に駆動軸405aと略直交する所定の方向であって上方向に光を照射する。LED413が発光した光は、常に一方向に向けて照射される。
たとえば、ランプ制御部302cは、白色LED基板406および赤色LED基板408に対して、LED412,413が間欠的に点灯するようなLED点灯制御信号を出力する。ランプ制御部302cは、白色LED基板406および赤色LED基板408に対して、LED412とLED413とが、回転反射部材410の回転を維持したままの状態で交互に点灯するようなLED点灯制御信号を出力する。なお、光源としてはLED412,413に限るものではなく、電球など公知の各種の光源を用いることができる。
固定反射部材409は、複数の反射面414を、駆動軸405aを中心として放射線状に配置した多面形状の反射部材からなっており、入射した光をハンドルカバー404側に反射する。各反射面414は、中央部が遊技者から離間し、外周部ほど遊技者側へせり出している。固定反射部材409は、遊技者側へせり出した外周部において上記のLED412に対応する位置に、複数の孔415を備えている。上記LED412は、この孔415を介して固定反射部材409よりもハンドルカバー404側に臨んだ状態で、白色光を発光する。
上記のモータ405の駆動軸405aは、白色LED基板406、支持部材407、および固定反射部材409を介して、ハンドルカバー404側へ突出している。上記の回転反射部材410は、ハンドルカバー404側へ突出した駆動軸405aの先端部分に設けられている。回転反射部材410は、駆動軸405aの軸芯を中心として回転自在な状態で、駆動軸405aに連結されている。
回転反射部材410の回転方向は、遊技者から見て右回りであっても左回りであってもよい。本実施の形態の遊技機100においては、回転反射部材410の回転方向は、遊技者から見て右回り方向とされている。この方向は、発射部392による遊技球の発射方向と同じである。
回転反射部材410は、LED413の全部(一部であってもよい)を覆った状態でLED413の周囲を回転するように駆動軸405aに設けられている。遊技機100における回転反射部材410は、LED413および駆動軸405aの先端を覆うフード状の形状を有している。回転反射部材410は、プラスチック材料(材質)などの軽量な材料を用いて成形されている。回転反射部材410を軽量な材料(材質)によって形成することにより、回転反射部材410が回転することによって発生する遠心力を小さくすることができ、回転反射部材410が回転することに起因する振動の発生を極力抑制することができる。
回転反射部材410の内側および外側は、LED413が発光した光を反射する鏡面とされている。回転反射部材410は、内側の鏡面(内面)416によって反射した光を、上記の固定反射部材409に向けて出射する開口部417を備えている。
LED413が発光した光は、回転反射部材410の内側の鏡面416によって反射されてから、開口部417を介して回転反射部材410の外部へ至る。回転反射部材410の外部へ至った光の一部は、ハンドルカバー404を透過して操作ハンドル117の外部へ至り、別の一部は固定反射部材409に入射する。
回転反射部材410の内側の鏡面416によって反射される光の向きは、回転反射部材410の回転にともなって変化する(図5〜図8を参照)。これによって、固定反射部材409に入射する光の入射角度、および、固定反射部材409によって反射される光の進行方向が変化する。回転反射部材410の内側の鏡面416によって反射され、固定反射部材409によって反射された光は、ハンドルカバー404を介して操作ハンドル117の外部に出射される。
回転反射部材410の外側も鏡面とされており、固定反射部材409によって反射された光の一部は外側の鏡面418によって反射されてからハンドルカバー404に入射し、その後、ハンドルカバー404を介して操作ハンドル117の外部に出射される。
ハンドルカバー404は、たとえば光透過性を有するプラスチック材料などを用いて、固定反射部材409側に向けて開口する開口部を備える略半球形状に形成されている。ハンドルカバー404の内周面には、略半球形状とされた頂点部分から、開口部の周縁に向かって放射状に延びるリブ(あるいはスリット)が設けられている。リブ(あるいはスリット)は、モータ405の回転にともなって回転する開口部417の移動軌跡に交差する方向に延びている。リブ(あるいはスリット)を設けることにより、ハンドルカバー404の内部構造は、ハンドルカバー404の外側からは見えないようになっている。
ハンドルカバー404の頂点部分には、光を透過しない材料によって形成されたエンブレム419が設けられている。エンブレム419によって、遊技者からは、回転反射部材410の存在を確認できないようになっている。エンブレム419には、たとえば、遊技機100に関するロゴなどを設けることができる。これにより、遊技機が遊技者に与える印象を強め、遊技機100の宣伝効果の向上を図ることができる。
(操作ハンドルの動作)
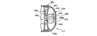
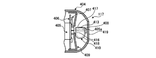
図5(図5−1、図5−2、図5−3)〜図8(図8−1、図8−2、図8−3)は、操作ハンドルの動作を示す説明図である。図5〜図8において、枝番「−1」であらわされる図面は、操作ハンドル117において、ハンドルカバー404周辺を断面した状態を示している。
図5(図5−1、図5−2、図5−3)〜図8(図8−1、図8−2、図8−3)において、枝番「−2」であらわされる図面は、ハンドルカバー404を取り外した状態の操作ハンドル117を、エンブレム419側から見た状態を示している。図5〜図8において、枝番「−3」であらわされる図面は、ハンドルカバー404を取り付けた状態の操作ハンドル117を、エンブレム419側から見た状態を示している。
上記のように、LED413が発光した光は、常に一方向に向けて照射される。図5〜図8において、枝番「−1」(図5−1、図6−1、図7−1、図8−1)であらわされる図面においては、LED413が発光した光は、紙面上方に向かって照射される。図5〜図8において、枝番「−2」(図5−2、図6−2、図7−2、図8−2)であらわされる図面においては、LED413が発光した光は、紙面左斜め上方に向かって照射される。
図5(図5−1、図5−2、図5−3)においては、回転反射部材410の内側の鏡面416とLED413とが対向している。この状態においては、LED413が発光した光は、回転反射部材410の内側の鏡面416によってLED413からの発光方向とは反対方向に向かって反射され、開口部を介して回転反射部材410の外部に出射されて、固定反射部材409に入射する。これにより、ハンドルカバー404を取り付けた状態においては、図5−3において符号530で示す部分が最も強く発光する。
図6(図6−1、図6−2、図6−3)においては、赤色LED基板408の一部が回転反射部材410の外部に露出している。この状態においては、LED413が発光した光は、一部が回転反射部材410の内側の鏡面416によってLED413からの発光方向とは反対方向に向かって反射され、別の一部が開口部417を介して直接回転反射部材410の外部に出射される。
回転反射部材410の内側の鏡面416によってLED413からの発光方向とは反対方向に向かって反射された一部の光は、回転反射部材410の内側の鏡面416によって複数回反射されてから開口部417を介して回転反射部材410の外部に出射される。これにより、ハンドルカバー404を取り付けた状態においては、図6−3において符号630で示す部分が最も強く発光する。
図7(図7−1、図7−2、図7−3)においては、LED413が開口部417を介して回転反射部材410の外部に臨んでいる。この状態においては、LED413が発光した光は、すべて、直接回転反射部材410の外部に出射される。これにより、ハンドルカバー404を取り付けた状態においては、図7−3において符号730で示す部分が最も強く発光する。
図8(図8−1、図8−2、図8−3)においては、開口部417を介してLED413を回転反射部材410の外部から視認できる状態となっている。この状態においては、LED413が発光した光は、回転反射部材410の内側の鏡面416によってLED413からの発光方向とは反対方向に向かって反射された後、開口部417を介して回転反射部材410の外部に出射される。これにより、ハンドルカバー404を取り付けた状態においては、図8−3において符号830で示す部分が最も強く発光する。
図5(図5−1、図5−2、図5−3)〜図8(図8−1、図8−2、図8−3)に示したように、回転反射部材410が回転することにより、操作ハンドル117において強く発光する箇所がエンブレム419の周囲を回るように移動する。これにより、遊技者に対して、あたかも操作ハンドル117内部の光源が回転しているかのような印象を与えることができる。
なお、ぱちんこ遊技機においては、操作ハンドル117などのように遊技者が触れる箇所を振動させることが禁止されているが、本実施の形態の操作ハンドル117によれば、プラスチック材料によって軽量化された回転反射部材410を回転させることによって、操作ハンドル117に振動を伝えることなく、操作ハンドル117内部の光源が回転しているかのような印象を与えることができる。
また、本実施の形態の遊技機100においては、回転反射部材410の回転方向が、発射部392による遊技球の発射方向と同じ方向であるため、操作ハンドル117内部の光源が発射部392による遊技球の発射方向と同じ方向に回転しているように見せることができる。これによって、遊技球の発射を促し、遊技機100を継続して稼働させることができる。
(本実施の形態の遊技機がおこなう処理)
つぎに、本実施の形態の遊技機100がおこなう処理について説明する。以下に説明する主制御部301がおこなう各処理は、CPU311がROM312に記憶されているプログラムを実行することによりおこなうものである。
(基本制御処理)
図9は、遊技機の基本制御処理の処理内容を示すフローチャートである。この基本制御処理は、遊技機100の遊技の進行を制御するための処理であり、遊技機100の電源が投入されたときに開始され、遊技機100の起動中継続的に実行されるものである。図9に示すように、基本制御処理において、主制御部301は、まず、初期化処理を実行する(ステップS901)。初期化処理では、公知の技術のため詳細な説明は省略するが、起動チェック(チェックサム)、前回の電源遮断前の状態への復旧、もしくはRAMクリア(所定の初期状態への復旧)などをおこなう。
初期化処理後、主制御部301は、入賞処理を実行する(ステップS902)。入賞処理では、第1始動口105、第2始動口106への遊技球の入賞を検出する毎に、大当たり抽選にて用いる大当たり乱数の取得などをおこなう。なお、入賞処理の処理内容については図10を用いて後述する。
入賞処理後、主制御部301は、特別図柄変動・停止処理を実行する(ステップS903)。特別図柄変動・停止処理では、特別図柄を変動表示/停止表示させるための処理をおこなう。たとえば、特別図柄変動・停止処理では、大当たり抽選をおこない、停止表示させる図柄(抽選結果をあらわす図柄)、変動時間などを決定する。なお、特別図柄変動・停止処理の処理内容については図12を用いて後述する。
特別図柄変動・停止処理後、主制御部301は、大当たり遊技フラグ、または小当たり遊技フラグがONであるかを判定する(ステップS904)。これらのフラグは、大当たり抽選の抽選結果に基づいて設定されるものである。大当たり遊技フラグ、または小当たり遊技フラグがOFFであれば(ステップS904:No)、主制御部301は、ステップS902へ復帰して、上記の処理を繰り返す。
大当たり遊技フラグ、または小当たり遊技フラグがONであれば(ステップS904:Yes)、主制御部301は、当たり遊技制御処理を実行する(ステップS905)。当たり遊技制御処理では、たとえば、遊技状態を大当たり状態(大当たりの場合)として、当選した大当たりの種別に応じ、大入賞口109を開放させる処理などをおこなう。また、小当たりの場合は、2ラウンド分、大入賞口109を開放させる。
そして、大当たり終了条件を満たした場合には、大当たり状態を終了させ、当選した大当たりの種別(または小当たり)に応じた遊技状態(たとえば確変状態)にして、ステップS902へ復帰する。以降、主制御部301は、ステップS902〜905の処理を繰り返す。
(入賞処理)
つぎに、ステップS902の入賞処理の処理内容について説明する。図10は、入賞処理の処理内容を示すフローチャートである。入賞処理において、主制御部301は、まず、第1始動口SW321や第2始動口SW322から検出信号を取得したかを判定する(ステップS1001)。検出信号を取得していなければ(ステップS1001:No)、主制御部301は、そのまま入賞処理を終了する。
検出信号を取得していれば(ステップS1001:Yes)、主制御部301は、特別図柄の保留数Uが4未満(U<4)であるかを判定する(ステップS1002)。特別図柄の保留数Uが4以上であれば(ステップS1002:No)、主制御部301は、そのまま入賞処理を終了する。
保留数Uが4未満であれば(ステップS1002:Yes)、主制御部301は、保留数Uに「1」加算して(U←U+1)(ステップS1003)、その保留に対する大当たり乱数およびリーチ乱数を取得する(ステップS1004)。ここで、大当たり乱数とは、大当たり抽選に用いる乱数である。また、リーチ乱数とは、大当たり抽選にてはずれだった場合に、リーチ演出を実行するか否かを判定するリーチ判定に用いる乱数である。
ステップS1004にて大当たり乱数およびリーチ乱数を取得すると、主制御部301は、取得したこれらの乱数をRAM313に記憶して(ステップS1005)、事前判定処理を実行する(ステップS1006)。そして、事前判定処理の処理結果(以下「事前判定結果」という)を演出制御部302へ送信して(ステップS1007)、入賞処理を終了し、上記のステップS903へ移行する。なお、事前判定処理の処理内容については図11を用いて後述する。
(事前判定処理)
つぎに、ステップS1006の事前判定処理の処理内容について説明する。図11は、事前判定処理の処理内容を示すフローチャートである。図11に示すように、事前判定処理において、主制御部301は、まず、実行中の遊技状態が高確率状態であるかを判定する(ステップS1101)。
高確率状態であれば(ステップS1101:Yes)、主制御部301は、高確率状態用の大当たり判定テーブル(以下「高確率判定テーブル」という)を選択する(ステップS1102)。高確率状態でなければ(ステップS1101:No)、主制御部301は、今回の事前判定対象となる保留の前の保留に、遊技状態を高確率状態へ移行させる確変大当たりがあるかを判定する(ステップS1103)。たとえば、ステップS1103では、今回の事前判定対象となる保留をU3とすると、このU3の2つ前の保留U1や、U3の1つ前の保留U2に確変大当たりとなる保留があるかを判定する。
確変大当たりとなる保留があれば(ステップS1103:Yes)、主制御部301は、ステップS1102へ移行して、高確率判定テーブルを選択する。一方、確変大当たりとなる保留がなければ(ステップS1103:No)、主制御部301は、低確率状態用の大当たり判定テーブル(以下「低確率判定テーブル」という)を選択する(ステップS1104)。
そして、入賞時に取得した大当たり乱数と、選択した判定テーブル(高確率判定テーブル、または低確率判定テーブル)とを用いて、主制御部301は、事前判定対象となる保留が大当たりであるかの判定(事前判定)をおこない(ステップS1105)、事前判定処理を終了し、上記のステップS1007へ移行する。ステップS1105では、入賞時に取得した大当たり乱数の値が、判定テーブルにて大当たりとされる所定の乱数値であれば大当たりであると判定する。
(特別図柄変動・停止処理)
つぎに、ステップS903の特別図柄変動・停止処理の処理内容について説明する。図12は、特別図柄変動・停止処理の処理内容を示すフローチャートである。図12に示すように、特別図柄変動・停止処理において、主制御部301は、まず、特別図柄の保留数Uが1以上(U≧1)であるかを判定する(ステップS1201)。特別図柄の保留数Uが1未満(U=0)であれば(ステップS1201:No)、主制御部301は、そのまま特別図柄変動・停止処理を終了する。
特別図柄の保留数Uが1以上であれば(ステップS1201:Yes)、主制御部301は、保留数Uから「1」減算して(U←U−1)(ステップS1202)、実行中の遊技状態が高確率状態であるかを判定する(ステップS1203)。高確率状態であれば(ステップS1203:Yes)、主制御部301は、高確率判定テーブルを選択する(ステップS1204)。高確率状態でなければ(ステップS1203:No)、主制御部301は、低確率判定テーブルを選択する(ステップS1205)。
そして、入賞時に取得した大当たり乱数と、選択した判定テーブル(高確率判定テーブル、または低確率判定テーブル)とを用いて、主制御部301は、大当たり抽選をおこなう(ステップS1206)。なお、図示は省略するが、ステップS1206にて大当たりとなった場合には、主制御部301は、その大当たりの種別(15ラウンド確変/通常大当たり、2ラウンド確変大当たり)も決定する。
また、ステップS1206にてはずれとなった場合には、主制御部301は、入賞時に取得したリーチ乱数と、所定のリーチ判定テーブルとを用いて、はずれ時のリーチ演出を実行するか否かも判定する。なお、以下では、リーチ演出を実行するはずれを「リーチはずれ」といい、リーチ演出を実行しないはずれを「ノーマルはずれ」という。
大当たり抽選後、主制御部301は、リーチ演出を実行するかを判定する(ステップS1207)。ステップS1207では、ステップS1206にて、大当たり、またはリーチはずれであった場合に、リーチ演出を実行すると判定する。リーチ演出を実行すると判定した場合には(ステップS1207:Yes)、主制御部301は、リーチ演出実行時の変動パターン(変動時間)を選択するための乱数(以下「変動パターン乱数」という)を取得する(ステップS1208)。
そして、主制御部301は、この変動パターン乱数と、変動パターンテーブル(不図示)とを用いて、リーチ変動パターンを選択する(ステップS1209)。一方、ステップS1207にて、リーチ演出を実行しないと判定した場合には(ステップS1207:No)、主制御部301は、ノーマルはずれ用のノーマルはずれ変動パターンを選択する(ステップS1210)。
ステップS1209またはステップS1210において、変動パターンを選択すると、主制御部301は、選択された変動パターンを用いて特別図柄の変動表示を開始する(ステップS1211)。図示は省略するが、このとき、主制御部301は、演出制御部302(演出統括部302a)に対して変動開始コマンドを出力する。
特別図柄の変動表示を開始した後、主制御部301は、大当たり抽選の抽選結果が大当たりであったかを判定し(ステップS1212)、大当たりであれば(ステップS1212:Yes)、大当たり遊技フラグをONに設定し(ステップS1213)、ステップS1216へ移行する。
大当たりでなければ(ステップS1212:No)、主制御部301は、大当たり抽選の抽選結果が小当たりであったかを判定し(ステップS1214)、小当たりであれば(ステップS1214:Yes)、小当たり遊技フラグをONに設定し(ステップS1215)、ステップS1216へ移行する。小当たりでなければ(ステップS1214:No)、そのまま、ステップS1216へ移行する。
そして、変動パターンが示す変動時間となったら、主制御部301は、特別図柄を停止表示し(ステップS1216)、特別図柄変動・停止処理を終了し、上記のステップS904へ移行する。なお、図示は省略するが、特別図柄を停止表示する際に、主制御部301は、演出制御部302(演出統括部302a)に対して変動停止コマンドを出力する。
(本実施の形態の遊技機がおこなう演出の概要)
つぎに、本実施の形態の遊技機100の演出制御部302がおこなう演出の概要について説明する。演出制御部302は、主制御部301から送信された情報に基づき、継続演出を開始する。たとえば、主制御部301は、事前判定処理にて保留に対する事前判定をおこなうと、その事前判定結果を演出制御部302へ送信する(ステップS1007を参照)。演出制御部302は、この事前判定結果に基づき、保留の中に大当たりまたは小当たりがあるかを判定し、保留の中に大当たりまたは小当たりがあれば、継続演出を開始する。
そして、演出制御部302は、大当たりまたは小当たりとなるまで継続演出を継続し、大当たりまたは小当たりとなると、継続演出を終了する。たとえば、演出制御部302は、大当たりとなると、操作ハンドル117内の光源の発光のほか、スピーカ354から所定の音声を出力して、継続演出を終了する。また、演出制御部302は、小当たりとなると、そのまま(スピーカ354から音声を出力せずに)、継続演出を終了する。以下に、継続演出を実行するために演出制御部302(の演出統括部302a)が、毎変動毎(変動開始コマンドを受信する毎)に実行する処理の処理内容を説明する。
(継続演出制御処理)
図13は、継続演出制御処理の処理内容を示すフローチャートである。この継続演出制御処理は、演出統括部302aのCPU341がROM342に記憶されたプログラムを実行することによりおこなうものである。図13に示すように、継続演出制御処理において、演出統括部302aは、まず、継続演出フラグがONであるかを判定する(ステップS1301)。ここで、継続演出フラグとは、継続演出を実行するか否かをあらわすフラグである。
継続演出フラグがONであれば(ステップS1301:Yes)、演出統括部302aは、後述するステップS1308へ移行する。継続演出フラグがOFFであれば(ステップS1301:No)、演出統括部302aは、事前判定結果を蓄積した記憶領域を参照し、現在の保留の中に、当たり(大当たり、または小当たり)があるかを確認する(ステップS1302)。
つぎに、演出統括部302aは、継続演出を実行するかを判定する(ステップS1303)。たとえば、ステップS1303において、演出統括部302aは、記憶領域内に当たりがあれば継続演出を実行すると判定し、記憶領域内に当たりがなければ継続演出を実行しないと判定する。また、継続演出の実行に関する所定の抽選をおこない、当選した場合に継続演出を実行すると判定してもよい。
継続演出を実行しないと判定した場合(ステップS1303:No)、演出統括部302aは、そのまま継続演出制御処理を終了する。ステップS1303にて継続演出を実行すると判定した場合(ステップS1303:Yes)、演出統括部302aは、継続演出フラグをONに設定する(ステップS1304)。
つぎに、演出統括部302aは、継続演出の継続回数を算出する(ステップS1305)。ここで、継続回数とは、継続演出を継続する回数(特別図柄の変動回数)をいう。たとえば、継続回数が2回であれば、演出統括部302aは、継続演出を開始後、特別図柄が2回変動表示されるまで、継続演出を継続する。継続回数の算出は、当たりとなる保留が、現在から何変動先の保留であるかによって算出される。たとえば、当たりとなる保留が、2変動先の保留であれば、演出統括部302aは、継続回数を2回と算出する。
継続回数を算出すると、演出統括部302aは、モータ駆動制御データの出力を開始し(ステップS1306)、ランプ点灯制御データの出力を開始し(ステップS1307)、継続演出を開始させる。そして、継続演出の終了時期となったか(継続演出開始から、継続回数分、特別図柄が変動されたか)を判定する(ステップS1308)。
終了時期となっていなければ(ステップS1308:No)、演出統括部302aは、そのまま継続演出制御処理を終了する。継続演出の終了時期となったら(ステップS1308:Yes)、演出統括部302aは、継続演出を開始させた当たりが大当たりであったかを判定する(ステップS1309)。大当たりであれば(ステップS1309:Yes)、演出統括部302aは、音声制御データの出力を開始し(ステップS1310)、継続演出フラグをOFFに設定して(ステップS1311)、継続演出を終了させる。
一方、小当たりであれば(ステップS1309:No)、演出統括部302aは、モータ駆動制御データの出力を停止し(ステップS1312)、ランプ点灯制御データの出力を停止し(ステップS1313)、ステップS1311へ移行する。
(本実施の形態の遊技機がおこなう演出の具体的な一例)
つぎに、本実施の形態の遊技機100がおこなう演出の具体的な一例について説明する。図14は、本実施の形態の遊技機がおこなう演出の具体的な一例を示す説明図である。図14(イ)(時期t1)において、遊技機100は、保留数U=3の状態とする。遊技機100は、この保留数Uと同数の「★」画像を画像表示部104に表示することで、保留数Uを遊技者に案内している(保留表示1404)。
いま、保留数U=3の保留を、最初に入賞した保留をU1、U1のつぎの保留をU2、最後に入賞した保留をU3とし、U3が事前判定によって大当たりと判定された保留とする。図14(イ)では、前回の保留に対する変動表示が終了し、演出図柄1401〜1403は停止表示されている。
時期t1後の時期t2となったとき、遊技機100は、保留U1に対する演出図柄1401〜1403の変動表示を開始する(図14(ロ))。同時に、遊技機100は、継続演出を開始する。このため、操作ハンドル117内のLED412,413が発光する。
時期t2後の時期t3となったとき、遊技機100は、保留U2に対する演出図柄1401〜1403の変動表示を開始する(図14(ハ))。遊技機100は、継続演出を継続する。このため、操作ハンドル117内のLED412,413は発光を継続する。
つづいて、遊技機100は、保留U3に対する演出図柄1401〜1403の変動表示を開始する。そして、所定の変動時間(選択された変動パターンに基づく変動時間)が経過した時期t4となると、遊技機100は、大当たりを示す組み合わせ(図示の例では「1・1・1」)にて演出図柄1401〜1403を停止表示する(図14(ニ))。
時期t4後、所定の大当たり演出が開始されるまで、操作ハンドル117内のLED412,413は発光を継続する。なお、この大当りとなる変動開始時、または変動中には、図示を省略するが、スピーカ354からは、所定の音声が出力される(たとえば「キュイイン」といった効果音)。
なお、たとえば、U3が事前判定により小当たりと判定された保留であれば、時期t4において、遊技機100は、はずれを示す組み合わせ(たとえば「1・2・1」)にて演出図柄1401〜1403を停止表示する。そして、継続演出を終了する。このため、操作ハンドル117内のLED412,413は発光を停止する。
また、図示は省略するが、遊技機100は、継続演出を実行すると、演出ライト部116のランプや、盤ランプ364など、遊技盤101上の発光部204(のLED412,413)以外のランプを消灯させてもよい。これにより、継続演出を一層と際だたせ、継続演出の演出効果を増大させることができる。
図15は、本実施の形態の遊技機がおこなう演出の具体的な一例のタイミングチャートである。図15に示すように、図14にて示した時期t1では、演出図柄1401〜1403は停止表示しており、発光部204(操作ハンドル117内のLED412,413)は消灯している。
時期t1後の時期t2にて、遊技機100は、保留U1に対する特別図柄変動・停止処理をおこなうとともに、継続演出制御処理をおこない継続演出フラグをONに設定し、演出図柄1401〜1403の変動表示を開始する。さらに、遊技機100は、発光部204の発光を開始する。その後、時期t2から所定期間経過した時期t21にて、遊技機100は、はずれを示す組み合わせにて演出図柄1401〜1403停止表示する。
遊技機100は、時期t21から時期t3までの所定のインターバル期間にも発光部204の発光を継続する。そして、インターバル期間が経過した時期t3となると、遊技機100は、保留U2に対する特別図柄変動・停止処理をおこなうとともに、継続演出制御処理をおこなって、演出図柄1401〜1403の変動表示を開始する。その後、時期t3から所定期間経過した時期t31にて、遊技機100は、はずれを示す組み合わせにて演出図柄1401〜1403停止表示する。
遊技機100は、時期t31から時期t32までの所定のインターバル期間にも発光部204の発光を継続する。そして、インターバル期間が経過した時期t32となると、遊技機100は、保留U3に対する特別図柄変動・停止処理をおこなうとともに、継続演出制御処理をおこなって、演出図柄1401〜1403の変動表示を開始する。図示は省略するが時期t32における変動開始時、またはこの変動中に、スピーカ354から所定の音声を出力してもよい。その後、時期t32から所定期間経過した時期t4にて、遊技機100は、大当りを示す組み合わせにて演出図柄1401〜1403停止表示する。そして、遊技機100は、継続演出フラグをOFFに設定して、大当り演出へ移行する。
このように、遊技機100は、継続演出フラグをONに設定した変動から、複数回、演出図柄が変動されるまでの間(すなわち、複数回、特別図柄が変動されるまでの間)、各変動間のインターバル期間中にも発光部204の発光を継続し、継続演出をおこなう。なお、上記の実施の形態では、記憶領域内に当たり(大当り、または小当たり)があるときに継続演出フラグをONに設定することとしたが、これに限らない。記憶領域内に当たりがなくとも(ノーマルはずれ、およびリーチはずれのみであっても)、継続演出フラグをONに設定してもよい。継続演出フラグは、たとえば、遊技機100の製造者が定めた任意の条件に基づきONに設定することができる。
以上のように、本実施の形態の遊技機100は、特別図柄を複数回変動する間、継続演出を実行する構成とした。継続演出を実行すると、遊技機100は、操作ハンドル117内のLED412,413を発光させる。これにより、遊技機100は、特別図柄の複数回変動にわたって、遊技者の期待感を維持することができる。
また、本実施の形態の遊技機100は、事前判定をおこなって、保留の中に大当たりや小当たりがあれば、継続演出を実行するように構成した。これにより、遊技機100は、継続演出を実行すると、遊技者に「大当たりが近いかもしれない」といった期待感を与えて、継続演出を開始させた保留が消化されるまでその期待感を維持することができる。
以上に説明したように、本発明にかかる遊技機によれば、複数回の特別図柄の変動をまたいで操作ハンドル内の光源を発光させる継続演出を実行するので、継続演出が実行されている間(複数回特別図柄が変動するまで)遊技者の期待感を維持でき、遊技機の遊技性を向上させることができる。
本発明の実施の形態にかかる遊技機の一例を示す正面図である。 本発明の実施の形態にかかる遊技機の機能的構成を示すブロック図である。 本発明の実施の形態にかかる遊技機のハードウェア構成を示すブロック図である。 操作ハンドルの構成を示す分解斜視図である。 ハンドルカバー周辺を断面した状態を示す説明図(その1)である。 ハンドルカバーを取り外した状態の操作ハンドルを、エンブレム側から見た状態を示す説明図(その1)である。 ハンドルカバーを取り付けた状態の操作ハンドルを、エンブレム側から見た状態を示す説明図(その1)である。 ハンドルカバー周辺を断面した状態を示す説明図(その2)である。 ハンドルカバーを取り外した状態の操作ハンドルを、エンブレム側から見た状態を示す説明図(その2)である。 ハンドルカバーを取り付けた状態の操作ハンドルを、エンブレム側から見た状態を示す説明図(その2)である。 ハンドルカバー周辺を断面した状態を示す説明図(その3)である。 ハンドルカバーを取り外した状態の操作ハンドルを、エンブレム側から見た状態を示す説明図(その3)である。 ハンドルカバーを取り付けた状態の操作ハンドルを、エンブレム側から見た状態を示す説明図(その3)である。 ハンドルカバー周辺を断面した状態を示す説明図(その4)である。 ハンドルカバーを取り外した状態の操作ハンドルを、エンブレム側から見た状態を示す説明図(その4)である。 ハンドルカバーを取り付けた状態の操作ハンドルを、エンブレム側から見た状態を示す説明図(その4)である。 遊技機の基本制御処理の処理内容を示すフローチャートである。 入賞処理の処理内容を示すフローチャートである。 事前判定処理の処理内容を示すフローチャートである。 特別図柄変動・停止処理の処理内容を示すフローチャートである。 継続演出制御処理の処理内容を示すフローチャートである。 本実施の形態の遊技機がおこなう演出の具体的な一例を示す説明図である。 本実施の形態の遊技機がおこなう演出の具体的な一例のタイミングチャートである。
符号の説明
100 遊技機(遊技機)
101 遊技盤
104 画像表示部
105 第1始動口
106 第2始動口
109 大入賞口
112 特別図柄表示部
117 操作ハンドル
201 抽選部(抽選手段)
202 特別図柄制御部(特別図柄制御手段)
203 演出実行部(演出実行手段)
204 発光部
205 事前判定部(事前判定手段)
206 保留判定部(保留判定手段)
301 主制御部
302 演出制御部
302a 演出統括部
302b 画像・音声制御部
302c ランプ制御部
303 賞球制御部

Claims (5)

  1. 遊技盤上の遊技領域に発射された遊技球が前記遊技盤上の所定の始動口へ入賞することにより所定の確率で大当たりに当選する抽選をおこなう抽選手段と、
    前記抽選手段の抽選結果に基づき、当該抽選結果をあらわすための特別図柄を変動させて、前記抽選結果をあらわす図柄にて停止させる特別図柄制御手段と、
    前記特別図柄制御手段によって特別図柄が変動された所定の変動から、複数回、前記特別図柄が変動されるまでの間、継続する演出(以下「継続演出」という)を実行する演出実行手段と、
    を備え、
    前記演出実行手段は、演出用の所定の光源を有する発光部を発光させる前記継続演出を実行することを特徴とする遊技機。
  2. 前記遊技球が前記所定の始動口へ入賞する毎に、当該遊技球により前記大当たりに当選するか否かを判定する事前判定手段と、
    前記事前判定手段の判定結果に基づき、未変動分の保留の中に前記大当たりがあるか否かを判定する保留判定手段と、
    をさらに備え、
    前記演出実行手段は、前記保留判定手段によって大当たりがあると判定された場合に、前記特別図柄制御手段によって前記大当たりとなる保留が消化されるまでの間、前記継続演出を実行することを特徴とする請求項1に記載の遊技機。
  3. 前記事前判定手段は、前記遊技球が前記所定の始動口へ入賞する毎に、当該遊技球により特定のはずれ(以下「小当たり」という)となるか否かを判定し、
    前記保留判定手段は、前記保留の中に前記小当たりがあるか否かを判定し、
    前記演出実行手段は、前記保留判定手段によって小当たりがあると判定された場合に、前記特別図柄制御手段によって前記小当たりとなる保留が消化されるまでの間、前記継続演出を実行することを特徴とする請求項1または2に記載の遊技機。
  4. 前記演出実行手段は、前記発光部とは異なる前記遊技盤上の他の光源を消灯させる前記継続演出を実行することを特徴とする請求項1〜3のいずれか一つに記載の遊技機。
  5. 前記遊技盤上の遊技領域に遊技球を発射する発射部と、
    前記発射部を駆動させて前記遊技球を発射させるための操作ハンドルと、
    をさらに備え、
    前記操作ハンドルは、少なくとも一部に光透過性を有するハンドルカバーにて被覆されるとともに、内部に前記発光部が設けられていることを特徴とする請求項1〜4のいずれか一つに記載の遊技機。
JP2008324767A 2008-12-19 2008-12-19 遊技機 Pending JP2010142516A (ja)

Priority Applications (1)

Application Number Priority Date Filing Date Title
JP2008324767A JP2010142516A (ja) 2008-12-19 2008-12-19 遊技機

Applications Claiming Priority (1)

Application Number Priority Date Filing Date Title
JP2008324767A JP2010142516A (ja) 2008-12-19 2008-12-19 遊技機

Related Child Applications (1)

Application Number Title Priority Date Filing Date
JP2014175593A Division JP2014239977A (ja) 2014-08-29 2014-08-29 遊技機

Publications (1)

Publication Number Publication Date
JP2010142516A true JP2010142516A (ja) 2010-07-01

Family

ID=42563551

Family Applications (1)

Application Number Title Priority Date Filing Date
JP2008324767A Pending JP2010142516A (ja) 2008-12-19 2008-12-19 遊技機

Country Status (1)

Country Link
JP (1) JP2010142516A (ja)

Cited By (2)

* Cited by examiner, † Cited by third party
Publication number Priority date Publication date Assignee Title
JP2014014625A (ja) * 2012-07-11 2014-01-30 Sankyo Co Ltd 遊技機
JP2018130189A (ja) * 2017-02-13 2018-08-23 株式会社三共 遊技機

Citations (7)

* Cited by examiner, † Cited by third party
Publication number Priority date Publication date Assignee Title
JP2003117086A (ja) * 2001-10-12 2003-04-22 Heiwa Corp パチンコ機
JP2003230715A (ja) * 2002-02-12 2003-08-19 Sanyo Product Co Ltd 遊技機
JP2004329538A (ja) * 2003-05-07 2004-11-25 Sankyo Kk 遊技機
JP2005058367A (ja) * 2003-08-08 2005-03-10 Sanyo Product Co Ltd 遊技機
JP2008104631A (ja) * 2006-10-25 2008-05-08 Okumura Yu-Ki Co Ltd パチンコ遊技機
JP2008228799A (ja) * 2007-03-16 2008-10-02 Kyoraku Sangyo Kk 遊技機
JP2009273498A (ja) * 2008-05-12 2009-11-26 Fujishoji Co Ltd 弾球遊技機

Patent Citations (7)

* Cited by examiner, † Cited by third party
Publication number Priority date Publication date Assignee Title
JP2003117086A (ja) * 2001-10-12 2003-04-22 Heiwa Corp パチンコ機
JP2003230715A (ja) * 2002-02-12 2003-08-19 Sanyo Product Co Ltd 遊技機
JP2004329538A (ja) * 2003-05-07 2004-11-25 Sankyo Kk 遊技機
JP2005058367A (ja) * 2003-08-08 2005-03-10 Sanyo Product Co Ltd 遊技機
JP2008104631A (ja) * 2006-10-25 2008-05-08 Okumura Yu-Ki Co Ltd パチンコ遊技機
JP2008228799A (ja) * 2007-03-16 2008-10-02 Kyoraku Sangyo Kk 遊技機
JP2009273498A (ja) * 2008-05-12 2009-11-26 Fujishoji Co Ltd 弾球遊技機

Cited By (2)

* Cited by examiner, † Cited by third party
Publication number Priority date Publication date Assignee Title
JP2014014625A (ja) * 2012-07-11 2014-01-30 Sankyo Co Ltd 遊技機
JP2018130189A (ja) * 2017-02-13 2018-08-23 株式会社三共 遊技機

Similar Documents

Publication Publication Date Title
JP2002272958A (ja) 遊技機
JP2008228798A (ja) 遊技機、演出基板および演出基板に実行させるプログラム
JP5739858B2 (ja) 遊技機
JP4583397B2 (ja) 遊技機
JP2010142516A (ja) 遊技機
JP5770964B2 (ja) 遊技機
JP2013212406A (ja) 遊技機
JP2013212253A (ja) 遊技機
JP2017006711A (ja) 遊技機
JP2006304987A (ja) 遊技機
JP2014239977A (ja) 遊技機
JP2013212405A (ja) 遊技機
JP2013078367A (ja) 遊技機
JP2007054160A (ja) 遊技機、画像表示方法、及びプログラム
JP2010046536A (ja) 遊技機、演出基板および演出基板に実行させるプログラム
JP7623971B2 (ja) 遊技機
JP7543332B2 (ja) 遊技機
JP5469701B2 (ja) 遊技機
JP5820852B2 (ja) 遊技機
JP2007222507A (ja) 遊技機
JP6118786B2 (ja) 遊技機
JP6486133B2 (ja) 遊技機
JP6486134B2 (ja) 遊技機
JP5079778B2 (ja) 遊技機
JP2016150038A (ja) 遊技機

Legal Events

Date Code Title Description
A621 Written request for application examination

Free format text: JAPANESE INTERMEDIATE CODE: A621

Effective date: 20111025

A131 Notification of reasons for refusal

Free format text: JAPANESE INTERMEDIATE CODE: A131

Effective date: 20121030

A521 Written amendment

Free format text: JAPANESE INTERMEDIATE CODE: A523

Effective date: 20121228

A131 Notification of reasons for refusal

Free format text: JAPANESE INTERMEDIATE CODE: A131

Effective date: 20131001

A02 Decision of refusal

Free format text: JAPANESE INTERMEDIATE CODE: A02

Effective date: 20140603