JP2010142002A - 電源起動回路及びスイッチング電源装置 - Google Patents
電源起動回路及びスイッチング電源装置 Download PDFInfo
- Publication number
- JP2010142002A JP2010142002A JP2008314868A JP2008314868A JP2010142002A JP 2010142002 A JP2010142002 A JP 2010142002A JP 2008314868 A JP2008314868 A JP 2008314868A JP 2008314868 A JP2008314868 A JP 2008314868A JP 2010142002 A JP2010142002 A JP 2010142002A
- Authority
- JP
- Japan
- Prior art keywords
- power supply
- voltage
- zener diode
- transistor
- zener
- Prior art date
- Legal status (The legal status is an assumption and is not a legal conclusion. Google has not performed a legal analysis and makes no representation as to the accuracy of the status listed.)
- Pending
Links
- 230000005669 field effect Effects 0.000 claims description 5
- 238000004804 winding Methods 0.000 description 15
- 238000009499 grossing Methods 0.000 description 9
- 239000003990 capacitor Substances 0.000 description 7
- 238000005516 engineering process Methods 0.000 description 2
- 230000005284 excitation Effects 0.000 description 2
- 230000000630 rising effect Effects 0.000 description 2
- 230000004913 activation Effects 0.000 description 1
- 230000007423 decrease Effects 0.000 description 1
- 230000004048 modification Effects 0.000 description 1
- 238000012986 modification Methods 0.000 description 1
Images
Landscapes
- Dc-Dc Converters (AREA)
Abstract
【課題】2つのツェナーダイオードが並列接続されている構成を採用せずにヒステリシスを持たすことができる電源起動回路を提供する。
【解決手段】
ツェナーダイオードZD1およびツェナーダイオードZD1の直列回路と、入力電圧が所定値を超え、ツェナーダイオードZD1およびZD2がオン状態になると、オン状態になるPNPトランジスタQ1と、PNPトランジスタQ1がオン状態になると、オン状態になるNPNトランジスタQ2を有し、NPNトランジスタQ2がオン状態になると、ツェナーダイオードZD2をバイパスするバイパス回路とを備え、前記バイパス回路の電圧降下がツェナーダイオードZD2の電圧降下よりも小さい電源起動回路。
【選択図】図1
【解決手段】
ツェナーダイオードZD1およびツェナーダイオードZD1の直列回路と、入力電圧が所定値を超え、ツェナーダイオードZD1およびZD2がオン状態になると、オン状態になるPNPトランジスタQ1と、PNPトランジスタQ1がオン状態になると、オン状態になるNPNトランジスタQ2を有し、NPNトランジスタQ2がオン状態になると、ツェナーダイオードZD2をバイパスするバイパス回路とを備え、前記バイパス回路の電圧降下がツェナーダイオードZD2の電圧降下よりも小さい電源起動回路。
【選択図】図1
Description
本発明は、電源起動回路及びそれを備えたスイッチング電源装置に関する。
ヒステリシスを有する電源起動回路(例えば特許文献1〜3参照)は、入力電圧が立ち上がって所定値を越えると、動作を開始してスイッチング電源装置を起動させる。スイッチング電源装置が起動して負荷への電力供給を開始する際には、消費電力が急激に増えることにより電力供給ラインの電圧ドロップが生じる。しかしながら、ヒステリシスを有する電源起動回路は、この電圧ドロップのために自己の動作が停止してしまうことを、ヒステリシスを持たせることで防止している。
ここで、従来のヒステリシスを有する電源起動回路の構成を図5に示す。図5に示す従来のヒステリシスを有する電源起動回路は、ツェナーダイオードZD11及びZD12と、抵抗R11〜R14と、PNPトランジスタQ11と、NPNトランジスタQ12とを備えている。
入力電圧VINが供給されるラインLN11にツェナーダイオードZD11のカソードが接続され、ツェナーダイオードZD11のアノードが抵抗R14の一端に接続される。
また、NPNトランジスタQ12のベースが抵抗R13を介してツェナーダイオードZD11と抵抗R14との接続ノードに接続される。そして、ラインLN11に抵抗R11の一端が接続され、抵抗R11の他端が抵抗R12の一端に接続され、抵抗R12の他端がNPNトランジスタQ12のコレクタに接続され、NPNトランジスタQ12のエミッタと抵抗R14の他端とが共通接続される。
また、PNPトランジスタQ11のベースが抵抗R11と抵抗R12との接続ノードに接続される。そして、ラインLN11にPNPトランジスタQ11のエミッタが接続され、PNPトランジスタQ11のコレクタがツェナーダイオードZD12のカソードに接続され、ツェナーダイオードZD12のアノードがツェナーダイオードZD11と抵抗R14との接続ノードに接続される。なお、ツェナーダイオードZD11のツェナー電圧が、オン状態であるときのPNPトランジスタQ11のコレクタ・エミッタ間電圧とツェナーダイオードZD12のツェナー電圧との合計値より大きくなるように、ツェナーダイオードZD11及びZD12をそれぞれ選定する。
上記のような構成の図5に示す従来のヒステリシスを有する電源起動回路は、以下のように動作する。
入力電圧VINがツェナーダイオードZD11のツェナー電圧未満である場合、ツェナーダイオードZD11、NPNトランジスタQ12、PNPトランジスタQ11、及びツェナーダイオードZD12がいずれもオフ状態となり、図5に示す従来のヒステリシスを有する電源起動回路は非動作状態である。
一方、入力電圧VINが立ち上がってツェナーダイオードZD11のツェナー電圧を越えると、ツェナーダイオードZD11がオン状態になり、ツェナーダイオードZD11及び抵抗R14の直列回路が、抵抗R13を介してNPNトランジスタQ12のベースにバイアス電圧を供給し、NPNトランジスタQ12をオン状態にする。そして、NPNトランジスタQ12がオン状態になると、抵抗R11、抵抗R12、及びNPNトランジスタQ12の直列回路が、PNPトランジスタQ11のベースにバイアス電圧を供給し、PNPトランジスタQ11をオン状態にする。
PNPトランジスタQ11がオン状態になると、PNPトランジスタQ11のコレクタ・エミッタ間電圧とツェナーダイオードZD12のツェナー電圧との合計値がツェナーダイオードZD11のツェナー電圧より小さくなるので、ツェナーダイオードZD12がオン状態になり、ツェナーダイオードZD11がオフ状態になる。そして、PNPトランジスタQ11、ツェナーダイオードZD12及び抵抗R14の直列回路が、抵抗R13を介してNPNトランジスタQ12のベースにバイアス電圧を供給し、NPNトランジスタQ12のオン状態を維持する。NPNトランジスタQ12、PNPトランジスタQ11、ツェナーダイオードZD12のオン状態は、PNPトランジスタQ11のコレクタ・エミッタ間電圧とツェナーダイオードZD12のツェナー電圧との合計値を入力電圧VINが下回らない限り、維持される。
PNPトランジスタQ11がオン状態である場合、PNPトランジスタQ11とツェナーダイオードZD12との接続ノードの電圧である出力電圧VOUTがHighレベルとなり、図5に示す従来のヒステリシスを有する電源起動回路が動作状態となる。
上記の通り、図5に示す従来のヒステリシスを有する電源起動回路は、オン状態であるときのPNPトランジスタQ11のコレクタ・エミッタ間電圧とツェナーダイオードZD12のツェナー電圧との合計値をツェナーダイオードZD11のツェナー電圧から差分して得られる電圧値によってヒステリシス量が決まる回路となっている。
従来のヒステリシスを有する電源起動回路は、2つのツェナーダイオードが並列接続されている構成しか提案されていなかった。
本発明は、上記の状況に鑑み、2つのツェナーダイオードが並列接続されている構成を採用せずにヒステリシスを持たすことができる電源起動回路及びスイッチング電源装置を提供して技術の豊富化を図ることを目的とする。
上記目的を達成するために本発明に係る電源起動回路は、第1の定電圧降下手段および第2の定電圧降下手段の直列回路と、入力電圧が所定値を超え、前記第1の定電圧降下手段及び前記第2の定電圧降下手段がオン状態になると、オン状態になる第1トランジスタと、前記第1トランジスタがオン状態になると、オン状態になる第2トランジスタを有し、前記第2トランジスタがオン状態になると、前記第2の定電圧降下手段をバイパスするバイパス回路とを備え、前記バイパス回路の電圧降下が前記第2の定電圧降下手段の電圧降下よりも小さい構成とする。
このような構成によると、第1の定電圧降下手段と第2の定電圧降下手段との直列回路を備えるので、2つのツェナーダイオードが並列接続されている構成を採用せずにすむ。また、このような構成によると、前記トランジスタがオン状態になると、前記第2の定電圧降下手段をバイパスするバイパス回路とを備えるので、ヒステリシスを持たすことができる。
また、前記第1の定電圧降下手段及び前記第2の定電圧降下手段をそれぞれツェナーダイオードとすることが好ましい。これにより、前記第1の定電圧降下手段及び前記第2の定電圧降下手段を少ない部品点数で実現することができる。
また、前記トランジスタをPNPトランジスタ又はPチャネル電界効果トランジスタとしてもよい。これにより、電源起動回路の出力を反転させるためのトランジスタを別途設ける必要がなくなる。
また、上記目的を達成するために本発明に係るスイッチング電源装置は、上記いずれかの構成の電源起動回路を備える構成とする。
本発明によると、2つのツェナーダイオードが並列接続されている構成を採用せずにヒステリシスを持たすことができる電源起動回路及びスイッチング電源装置を実現することができ、技術の豊富化を図ることができる。
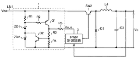
本発明の実施形態について図面を参照して以下に説明する。本発明に係るスイッチング電源装置の一構成例を図1に示す。図1に示す本発明に係るスイッチング電源装置は、本発明に係る電源起動回路1と、PWM制御回路2と、一次巻線L1、二次巻線L2、及び補助巻線L3を有するトランスと、スイッチング素子SW1と、整流ダイオードD1及びD2と、平滑コンデンサC1及びC2と、フォトカプラPC1とを備えている。
入力電圧VINが立ち上がって所定値を越えると、本発明に係る電源起動回路1が動作を開始して、PWM制御回路2に電力を供給し、PWM制御回路2を起動させる。起動後のPWM制御回路2は、フォトカプラPC1を介して送られてくる出力電圧VOの情報に応じてPWM(Pulse Width Modulation)信号を生成し、その生成したPWMをスイッチング素子SW1の制御端子に供給し、スイッチング素子SW1をオン/オフ制御する。
スイッチング素子SW1がオン状態のとき、入力電圧VINがトランスの一次巻線L1に供給され、トランスの一次巻線L1に励磁エネルギが蓄積される。一方、スイッチング素子SW1がオフ状態のとき、トランスの一次巻線L1に蓄積された励磁エネルギがトランスの二次巻線L2及び補助巻線L3から取り出される。したがって、トランスの二次巻線L2及び補助巻線L3から出力される電圧は矩形波状の交流電圧となる。
トランスの二次巻線L2から出力される矩形波状の交流電圧は整流ダイオードD2及び平滑コンデンサC2からなる整流平滑回路によって整流且つ平滑されて出力電圧VOとなる。そして、この出力電圧VOが負荷(不図示)に供給される。
また、トランスの補助巻線L3から出力される矩形波状の交流電圧は整流ダイオードD1及び平滑コンデンサC1からなる整流平滑回路によって整流且つ平滑されてPWM制御回路2に供給される。したがって、平滑コンデンサC1の充電完了後は、整流ダイオードD1及び平滑コンデンサC1からなる整流平滑回路からPWM制御回路2の電源電圧をとることができる。
次に、本発明に係る電源起動回路1について説明する。本発明に係る電源起動回路1は、ツェナーダイオードZD1及びZD2と、抵抗R1〜R5と、PNPトランジスタQ1と、NPNトランジスタQ2とを備えている。
入力電圧VINが供給されるラインLN1に抵抗R1の一端が接続され、抵抗R1の他端にツェナーダイオードZD1のカソードが接続され、ツェナーダイオードZD11のアノードがツェナーダイオードZD2のカソードに接続される。
また、PNPトランジスタQ1のベースが抵抗R2を介して抵抗R1とツェナーダイオードZD1との接続ノードに接続される。そして、ラインLN1にPNPトランジスタQ1のエミッタが接続され、PNPトランジスタQ1のコレクタが抵抗R3の一端に接続され、抵抗R3の他端が抵抗R4の一端に接続される。
また、NPNトランジスタQ2のベースが抵抗R3と抵抗R4との接続ノードに接続される。そして、NPNトランジスタQ2のコレクタがツェナーダイオードZD1とツェナーダイオードZD2との接続ノードに接続され、NPNトランジスタQ2のエミッタとツェナーダイオードZD2のアノードと抵抗R4の他端とが共通接続される。なお、ツェナーダイオードZD2のツェナー電圧が、オン状態であるときのNPNトランジスタQ2のコレクタ・エミッタ間電圧より大きくなるように、ツェナーダイオードZD2を選定する。
上記のような構成の本発明に係る電源起動回路1は、以下のように動作する。
入力電圧VINが立ち上がりの初期の状態で、入力電圧VINがツェナーダイオードZD1のツェナー電圧(以下、第1ツェナー電圧という)とツェナーダイオードZD2のツェナー電圧(以下、第2ツェナー電圧という)との合計値未満である場合、抵抗R1の両端に電位差が生じないため、ツェナーダイオードZD1、ツェナーダイオードZD2、PNPトランジスタQ1、及びNPNトランジスタQ2がいずれもオフ状態となり、本発明に係る電源起動回路1は非動作状態である。
一方、入力電圧VINが立ち上がって、入力電圧VINが第1ツェナー電圧と第2ツェナー電圧との合計値を越えると、ツェナーダイオードZD1及びZD2がオン状態になり、抵抗R1の両端に電位差が生じる。それにより、抵抗R1並びにツェナーダイオードZD1及びZD2の直列回路が、抵抗R2を介してPNPトランジスタQ1のベースにバイアス電圧を供給し、PNPトランジスタQ1をオン状態にする。そして、PNPトランジスタQ1がオン状態になると、PNPトランジスタQ1、抵抗R3、及び抵抗R4の直列回路が、NPNトランジスタQ2のベースにバイアス電圧を供給し、NPNトランジスタQ2をオン状態にする。
NPNトランジスタQ2がオン状態になると、NPNトランジスタQ2のコレクタ・エミッタ間電圧が第2ツェナー電圧より小さくなるので、ツェナーダイオードZD2がオフ状態になる。そして、抵抗R1、ツェナーダイオードZD1、及びNPNトランジスタQ2の直列回路が、抵抗R2を介してPNPトランジスタQ1のベースにバイアス電圧を供給し、PNPトランジスタQ1のオン状態を維持する。NPNトランジスタQ2、PNPトランジスタQ1、ツェナーダイオードZD1のオン状態は、第1ツェナー電圧とNPNトランジスタQ2のコレクタ・エミッタ間電圧との合計値を入力電圧VINが下回らない限り、維持される。
PNPトランジスタQ1がオン状態である場合、PNPトランジスタQ1と抵抗R3の接続ノードの電圧を抵抗R5によって降圧した電圧VOUTがHighレベルとなり、本発明に係る電源起動回路1が動作状態となる。
上記の通り、本発明に係る電源起動回路1は、第2ツェナー電圧からオン状態であるときのNPNトランジスタQ2のコレクタ・エミッタ間電圧を差分して得られる電圧値によってヒステリシス量が決まるヒステリシスを有する電源起動回路となっている。
ツェナーダイオードZD1を正の温度特性を有するツェナーダイオード(ツェナー電圧が5.6Vより大きいツェナーダイオード)とし、ツェナーダイオードZD2を負の温度特性を有するツェナーダイオード(ツェナー電圧が5.6Vより小さいツェナーダイオード)とすることが望ましい。本発明に係る電源起動回路は、2つのツェナーダイオードが直列接続されている構成であるので、ツェナーダイオードZD1の正の温度特性とツェナーダイオードZD2の負の温度特性とが互いに低減し合うように作用し、電源起動回路が動作を開始する入力電圧VINの値の温度によるばらつきが小さくなり、電源起動回路が動作を開始する入力電圧VINの値が安定する。
なお、本発明は上述した実施形態に限らず、発明の主旨を逸脱しない範囲で種々の変更を加えて実行することができる。
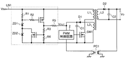
例えば、上述した実施形態では、本発明に係る電源起動回路で用いるトランジスタをバイポーラトランジスタとしていたが、バイポーラトランジスタの代わりに電界効果トランジスタを用いても構わない。すなわち、本発明に係る電源起動回路1において、PNPトランジスタQ1をPチャネル電界効果トランジスタに置換し、NPNトランジスタQ2をNチャネル電界効果トランジスタに置換して、図2に示すような構成にしてもよい。
また、本発明に係る電源起動回路1では、抵抗R1並びにツェナーダイオードZD1及びZD2の直列回路において、ツェナーダイオードZD1及びZD2が抵抗R1よりも低電位側に配置され、抵抗R1並びにツェナーダイオードZD1及びZD2の直列回路から供給されるバイアス電圧を制御端子に入力するトランジスタをPNPトランジスタQ1としていたが、抵抗及び2つのツェナーダイオードの直列回路において、2つのツェナーダイオードが抵抗よりも高電位側に配置され、抵抗及び2つのツェナーダイオードの直列回路から供給されるバイアス電圧を制御端子に入力するトランジスタをNPNトランジスタ又はNチャネル電界トランジスタとしても構わない。かかる構成の一例を図3に示す。
図3に示す本発明に係る電源起動回路1’は、ツェナーダイオードZD1’及びZD2’と、抵抗R1’〜R5’と、抵抗R6及びR7と、NPNトランジスタQ1’と、PNPトランジスタQ2’と、NPNトランジスタQ3と、抵抗R6及びR7とを備えている。なお、NPNトランジスタQ1’及びQ3はそれぞれNチャネル電界トランジスタとの置き換えが可能であり、PNPトランジスタQ2’はPチャネル電界トランジスタとの置き換えが可能である。
入力電圧VINが供給されるラインLN1にツェナーダイオードZD2’のカソードが接続され、ツェナーダイオードZD2’のアノードがツェナーダイオードZD1’のカソードに接続され、ツェナーダイオードZD1’のアノードが抵抗R1’の一端に接続される。
また、NPNトランジスタQ1’のベースが抵抗R2’を介してツェナーダイオードZD1’と抵抗R1’との接続ノードに接続される。そして、ラインLN1に抵抗R3’の一端が接続され、抵抗R3’の他端に抵抗R4’の一端が接続され、抵抗R4’の他端がNPNトランジスタQ1’のコレクタに接続される。
また、ラインLN1にPNPトランジスタQ2’のエミッタが接続され、PNPトランジスタQ2’のコレクタがツェナーダイオードZD2’とツェナーダイオードZD1’との接続ノードに接続され、PNPトランジスタQ2’のベースが抵抗R3’と抵抗R4’との接続ノードに接続される。
さらに、ラインLN1に抵抗R6の一端が接続され、抵抗R6の他端がNPNトランジスタQ3のコレクタに接続され、NPNトランジスタQ3のベースが抵抗R5’を介して抵抗R4’とNPNトランジスタQ1’との接続ノードに接続され、抵抗R1’の他端とNPNトランジスタQ1’のエミッタとNPNトランジスタQ3のエミッタとが共通接続される。なお、ツェナーダイオードZD2’のツェナー電圧(以下、第2’ツェナー電圧という)が、オン状態であるときのPNPトランジスタQ2’のコレクタ・エミッタ間電圧より大きくなるように、ツェナーダイオードZD2’を選定する。
上記のような構成の本発明に係る電源起動回路1’は、以下のように動作する。
入力電圧VINが立ち上がりの初期の状態で、入力電圧VINがツェナーダイオードZD1’のツェナー電圧(以下、第1’ツェナー電圧という)と第2’ツェナー電圧との合計値未満である場合、ツェナーダイオードZD1’、ツェナーダイオードZD2’、NPNトランジスタQ1’、及びPNPトランジスタQ2’がいずれもオフ状態となり、NPNトランジスタQ3のみがオン状態となり、本発明に係る電源起動回路1は非動作状態である。
一方、入力電圧VINが立ち上がって、入力電圧VINが第1’ツェナー電圧と第2’ツェナー電圧との合計値を越えると、ツェナーダイオードZD1’及びZD2’がオン状態になり、抵抗R1’並びにツェナーダイオードZD1’及びZD2’の直列回路が、抵抗R2’を介してNPNトランジスタQ1’のベースにバイアス電圧を供給し、NPNトランジスタQ1’をオン状態にする。そして、NPNトランジスタQ1’がオン状態になると、NPNトランジスタQ1’、抵抗R3’、及び抵抗R4’の直列回路が、PNPトランジスタQ2’のベースにバイアス電圧を供給し、PNPトランジスタQ2’をオン状態にする。
PNPトランジスタQ2’がオン状態になると、PNPトランジスタQ2’のコレクタ・エミッタ間電圧が第2’ツェナー電圧より小さくなるので、ツェナーダイオードZD2’がオフ状態になる。そして、抵抗R1’、ツェナーダイオードZD1’、及びPNPトランジスタQ2’の直列回路が、抵抗R2’を介してNPNトランジスタQ1’のベースにバイアス電圧を供給し、NPNトランジスタQ1’のオン状態を維持する。PNPトランジスタQ2’、NPNトランジスタQ1’、ツェナーダイオードZD1’のオン状態は、第1’ツェナー電圧とPNPトランジスタQ2’のコレクタ・エミッタ間電圧との合計値を入力電圧VINが下回らない限り、維持される。
NPNトランジスタQ1’がオン状態である場合、NPNトランジスタQ1’と抵抗R3’の接続ノードの電圧を抵抗R5’によって降圧した電圧VOUTがLowレベルとなり、NPNトランジスタQ3がオフ状態になる。これにより、本発明に係る電源起動回路1’の出力電圧VOUTがHighレベルになり、本発明に係る電源起動回路1’が動作状態となる。
上記の通り、本発明に係る電源起動回路1’は、第2’ツェナー電圧からオン状態であるときのPNPトランジスタQ2’のコレクタ・エミッタ間電圧を差分して得られる電圧値によってヒステリシス量が決まるヒステリシスを有する電源起動回路となっている。
ツェナーダイオードZD1’を正の温度特性を有するツェナーダイオード(ツェナー電圧が5.6Vより大きいツェナーダイオード)とし、ツェナーダイオードZD2’を負の温度特性を有するツェナーダイオード(ツェナー電圧が5.6Vより小さいツェナーダイオード)とすることが望ましい。本発明に係る電源起動回路は、2つのツェナーダイオードが直列接続されている構成であるので、ツェナーダイオードZD1’の正の温度特性とツェナーダイオードZD2’の負の温度特性とが互いに低減し合うように作用し、電源起動回路が動作を開始する入力電圧VINの値の温度によるばらつきが小さくなり、電源起動回路が動作を開始する入力電圧VINの値が安定する。
また、上述した実施形態では、定電圧降下手段としてツェナーダイオードを用いたが、ツェナーダイオードの代わりに、他の定電圧降下手段を用いても構わない。例えば、定電圧の精度はさほど高くないが、ダイオードを縦続接続したものを定電圧降下手段として用いてもよい。図5に示す従来のヒステリシスを有する電源起動回路では、ツェナーダイオードZD11及びZD12のツェナー電圧がいずれも大きいため、ツェナーダイオードZD11の代わりにダイオードを縦続接続したものに用いる場合も、ツェナーダイオードZD12の代わりにダイオードを縦続接続したものに用いる場合も縦続数を多くする必要がある。これに対して、本発明に係る電源起動回路では、ヒステリシス量に依存するが、通常ツェナーダイオードZD2のツェナー電圧は2V程度に設定するので、ツェナーダイオードZD2の代わりにダイオードを縦続接続したものに用いる場合は、縦続数を3個程度に抑えることができる。
また、上述した実施形態では、トランスを有するスイッチング電源装置を例示したが、本発明に係るスイッチング電源装置はトランスを有するスイッチング電源装置に限定されることはなく、いわゆるトランスレス型スイッチング電源装置であっても構わない。つまり、本発明はスイッチング電源装置全般に適用することができる。
ここで、本発明に係るトランスレス型スイッチング電源装置の一構成例を図4に示す。なお、図4において図1と同一の部分には同一の符号を付し、詳細な説明を省略する。
入力電圧VINが立ち上がって所定値を越えると、本発明に係る電源起動回路1が動作を開始して、PWM制御回路3に電力を供給し、PWM制御回路3を起動させる。起動後のPWM制御回路3は、送られてくる出力電圧VOの情報に応じてPWM信号を生成し、その生成したPWMをスイッチング素子SW2の制御端子に供給し、スイッチング素子SW2をオン/オフ制御する。
スイッチング素子SW2がオン状態のときには、ラインLN1からスイッチング素子SW2を介してコイルL4に電流が流れる。これにより、コイルL4にエネルギが蓄えられ、かつ負荷(不図示)にエネルギが供給される。一方、スイッチング素子SW2がオフ状態のときには、コイルL4に蓄えられたエネルギがダイオードD3を通じて負荷(不図示)に供給される。
1、1’ 本発明に係る電源起動回路
2、3 PWM制御回路2
C1、C2 平滑コンデンサ
C3 コンデンサ
D1、D2 整流ダイオード
D3 ダイオード
L1 トランスの一次巻線
L2 トランスの二次巻線
L3 トランスの補助巻線L3
L4 コイル
LN1 入力電圧が供給されるライン
PC1 フォトカプラ
Q1、Q2’ PNPトランジスタ
Q2、Q1’、Q3 NPNトランジスタ
R1〜R5、R1’〜R5’、R6、R7 抵抗
SW1、SW2 スイッチング素子
ZD1、ZD2、ZD1’、ZD2’ ツェナーダイオード
2、3 PWM制御回路2
C1、C2 平滑コンデンサ
C3 コンデンサ
D1、D2 整流ダイオード
D3 ダイオード
L1 トランスの一次巻線
L2 トランスの二次巻線
L3 トランスの補助巻線L3
L4 コイル
LN1 入力電圧が供給されるライン
PC1 フォトカプラ
Q1、Q2’ PNPトランジスタ
Q2、Q1’、Q3 NPNトランジスタ
R1〜R5、R1’〜R5’、R6、R7 抵抗
SW1、SW2 スイッチング素子
ZD1、ZD2、ZD1’、ZD2’ ツェナーダイオード
Claims (4)
- 第1の定電圧降下手段および第2の定電圧降下手段の直列回路と、
入力電圧が所定値を超え、前記第1の定電圧降下手段及び前記第2の定電圧降下手段がオン状態になると、オン状態になる第1トランジスタと、
前記第1トランジスタがオン状態になると、オン状態になる第2トランジスタを有し、前記第2トランジスタがオン状態になると、前記第2の定電圧降下手段をバイパスするバイパス回路とを備え、
前記バイパス回路の電圧降下が前記第2の定電圧降下手段の電圧降下よりも小さいことを特徴とする電源起動回路。 - 前記第1の定電圧降下手段及び前記第2の定電圧降下手段がそれぞれツェナーダイオードである請求項1に記載の電源起動回路。
- 前記第1トランジスタがPNPトランジスタ又はPチャネル電界効果トランジスタである請求項1または2のいずれか1項に記載の電源起動回路。
- 請求項1〜3のいずれか1項に記載の電源起動回路を備えることを特徴とするスイッチング電源装置。
Priority Applications (1)
| Application Number | Priority Date | Filing Date | Title |
|---|---|---|---|
| JP2008314868A JP2010142002A (ja) | 2008-12-10 | 2008-12-10 | 電源起動回路及びスイッチング電源装置 |
Applications Claiming Priority (1)
| Application Number | Priority Date | Filing Date | Title |
|---|---|---|---|
| JP2008314868A JP2010142002A (ja) | 2008-12-10 | 2008-12-10 | 電源起動回路及びスイッチング電源装置 |
Publications (1)
| Publication Number | Publication Date |
|---|---|
| JP2010142002A true JP2010142002A (ja) | 2010-06-24 |
Family
ID=42351618
Family Applications (1)
| Application Number | Title | Priority Date | Filing Date |
|---|---|---|---|
| JP2008314868A Pending JP2010142002A (ja) | 2008-12-10 | 2008-12-10 | 電源起動回路及びスイッチング電源装置 |
Country Status (1)
| Country | Link |
|---|---|
| JP (1) | JP2010142002A (ja) |
Cited By (4)
| Publication number | Priority date | Publication date | Assignee | Title |
|---|---|---|---|---|
| CN104065257A (zh) * | 2014-06-25 | 2014-09-24 | 深圳市汇川技术股份有限公司 | 一种电源控制芯片的滞回启动电路 |
| JP2016010222A (ja) * | 2014-06-24 | 2016-01-18 | 三菱電機株式会社 | 電源起動回路 |
| CN110171370A (zh) * | 2018-02-20 | 2019-08-27 | 三菱电机株式会社 | 起动电路 |
| JP2019208258A (ja) * | 2019-07-24 | 2019-12-05 | 三菱電機株式会社 | 起動回路 |
Citations (4)
| Publication number | Priority date | Publication date | Assignee | Title |
|---|---|---|---|---|
| JPS61109458A (ja) * | 1984-10-30 | 1986-05-27 | Hitachi Metals Ltd | スイツチング電源 |
| JPH11187644A (ja) * | 1997-12-18 | 1999-07-09 | Ishikawajima Harima Heavy Ind Co Ltd | 電源起動制御回路 |
| JP2000197356A (ja) * | 1998-12-25 | 2000-07-14 | Fuji Electric Co Ltd | 電源制御回路 |
| JP2004222472A (ja) * | 2003-01-17 | 2004-08-05 | Fuji Electric Device Technology Co Ltd | スイッチング電源制御回路 |
-
2008
- 2008-12-10 JP JP2008314868A patent/JP2010142002A/ja active Pending
Patent Citations (4)
| Publication number | Priority date | Publication date | Assignee | Title |
|---|---|---|---|---|
| JPS61109458A (ja) * | 1984-10-30 | 1986-05-27 | Hitachi Metals Ltd | スイツチング電源 |
| JPH11187644A (ja) * | 1997-12-18 | 1999-07-09 | Ishikawajima Harima Heavy Ind Co Ltd | 電源起動制御回路 |
| JP2000197356A (ja) * | 1998-12-25 | 2000-07-14 | Fuji Electric Co Ltd | 電源制御回路 |
| JP2004222472A (ja) * | 2003-01-17 | 2004-08-05 | Fuji Electric Device Technology Co Ltd | スイッチング電源制御回路 |
Cited By (6)
| Publication number | Priority date | Publication date | Assignee | Title |
|---|---|---|---|---|
| JP2016010222A (ja) * | 2014-06-24 | 2016-01-18 | 三菱電機株式会社 | 電源起動回路 |
| CN104065257A (zh) * | 2014-06-25 | 2014-09-24 | 深圳市汇川技术股份有限公司 | 一种电源控制芯片的滞回启动电路 |
| CN110171370A (zh) * | 2018-02-20 | 2019-08-27 | 三菱电机株式会社 | 起动电路 |
| CN110171370B (zh) * | 2018-02-20 | 2022-07-26 | 三菱电机株式会社 | 起动电路 |
| JP2019208258A (ja) * | 2019-07-24 | 2019-12-05 | 三菱電機株式会社 | 起動回路 |
| JP7042775B2 (ja) | 2019-07-24 | 2022-03-28 | 三菱電機株式会社 | 起動回路 |
Similar Documents
| Publication | Publication Date | Title |
|---|---|---|
| KR100630855B1 (ko) | Dc-dc 컨버터의 제어 회로, dc-dc 컨버터의 제어 방법, 반도체 장치, dc-dc 컨버터 및 전자 기기 | |
| CN1996732B (zh) | 开关电源装置和用于该开关电源装置的半导体装置 | |
| JP3450929B2 (ja) | スイッチング電源装置 | |
| JP6424644B2 (ja) | 電源制御用半導体装置 | |
| JP2004062331A (ja) | 直流電源装置 | |
| JP5293016B2 (ja) | Dc−dcコンバータ | |
| JP2005300376A (ja) | 電圧検出回路、電源装置及び半導体装置 | |
| JP2010051053A (ja) | 昇圧dc−dcコンバータ用制御回路及び昇圧dc−dcコンバータ | |
| CN101164220A (zh) | 电源控制方法及其结构 | |
| US6538492B2 (en) | Power supply, electronic device using the same, and output | |
| JP2015041571A (ja) | Led電源装置及びled照明装置 | |
| CN110401347B (zh) | 直流电源装置 | |
| JP2008048515A (ja) | スイッチング電源装置 | |
| JP2016144310A (ja) | スイッチング電源装置 | |
| JP2010142002A (ja) | 電源起動回路及びスイッチング電源装置 | |
| JP2015216763A (ja) | スイッチング電源回路 | |
| JP3757260B2 (ja) | 同期整流型dc−dcコンバータ | |
| JP2006067703A (ja) | スイッチング電源装置 | |
| JP2003339157A (ja) | 自励式スイッチング電源装置 | |
| JP6455180B2 (ja) | 電源制御用半導体装置 | |
| JP2009095182A (ja) | スイッチング電源装置 | |
| CN114144966A (zh) | 具有保持电路和浪涌控制电路的转换器 | |
| JP3544370B2 (ja) | スイッチング電源装置 | |
| JP7575260B2 (ja) | スイッチング電源装置 | |
| JP2004320858A (ja) | スイッチング電源装置 |
Legal Events
| Date | Code | Title | Description |
|---|---|---|---|
| A621 | Written request for application examination |
Free format text: JAPANESE INTERMEDIATE CODE: A621 Effective date: 20100903 |
|
| A977 | Report on retrieval |
Free format text: JAPANESE INTERMEDIATE CODE: A971007 Effective date: 20120509 |
|
| A131 | Notification of reasons for refusal |
Free format text: JAPANESE INTERMEDIATE CODE: A131 Effective date: 20120515 |
|
| A02 | Decision of refusal |
Free format text: JAPANESE INTERMEDIATE CODE: A02 Effective date: 20120918 |