JP2010101437A - アクティブ除振ユニット - Google Patents

アクティブ除振ユニット Download PDF

Info

Publication number
JP2010101437A
JP2010101437A JP2008273782A JP2008273782A JP2010101437A JP 2010101437 A JP2010101437 A JP 2010101437A JP 2008273782 A JP2008273782 A JP 2008273782A JP 2008273782 A JP2008273782 A JP 2008273782A JP 2010101437 A JP2010101437 A JP 2010101437A
Authority
JP
Japan
Prior art keywords
vibration isolation
displacement
horizontal
isolation table
vibration
Prior art date
Legal status (The legal status is an assumption and is not a legal conclusion. Google has not performed a legal analysis and makes no representation as to the accuracy of the status listed.)
Granted
Application number
JP2008273782A
Other languages
English (en)
Other versions
JP5065225B2 (ja
Inventor
Satoshi Watakari
佐登志 渡苅
Yoshimitsu Baba
美充 馬場
Current Assignee (The listed assignees may be inaccurate. Google has not performed a legal analysis and makes no representation or warranty as to the accuracy of the list.)
Nabeya Co Ltd
Original Assignee
Nabeya Co Ltd
Priority date (The priority date is an assumption and is not a legal conclusion. Google has not performed a legal analysis and makes no representation as to the accuracy of the date listed.)
Filing date
Publication date
Application filed by Nabeya Co Ltd filed Critical Nabeya Co Ltd
Priority to JP2008273782A priority Critical patent/JP5065225B2/ja
Publication of JP2010101437A publication Critical patent/JP2010101437A/ja
Application granted granted Critical
Publication of JP5065225B2 publication Critical patent/JP5065225B2/ja
Expired - Fee Related legal-status Critical Current
Anticipated expiration legal-status Critical

Links

Images

Landscapes

  • Vibration Prevention Devices (AREA)

Abstract

【課題】除振台の水平方向の振動に対して、応答性良く、アクティブ除振を行い得ると共に、除振台に鉛直方向の移動が生じても、それによる悪影響を受けることの少ない、コンパクトな構造のアクティブ除振ユニットを提供すること。
【解決手段】微小変位センサ8による検出情報に基づき、除振台2における水平方向の微小変位を除去する微小変位アクチュエータ機構10として、ダイヤフラム28に永久磁石44を取り付けてなる水平ダイヤフラムアクチュエータ20を、床4に立設した支持板22に配設する一方、永久磁石44が磁着可能な鉄ブロック16を除振台2側に設けてなる、水平方向の微小変位を除去するための第一の微小変位アクチュエータ12を設け、更に、永久磁石44と鉄ブロック16とが、それらの鉛直方向の相互の摺動を許容する第一のすべり板46を介して、磁着可能として、アクティブ除振ユニットを構成した。
【選択図】図1

Description

本発明は、アクティブ除振ユニットに係り、特に、液晶、半導体等の製造装置や、精密加工装置等の嫌振装置を搭載し、装置から発生する振動若しくは床から装置に伝わる振動を除去する目的で用いられる、除振台乃至は装置内部に組み込まれる除振ユニットであって、中でも、水平方向の微振動の除去に好適に用いられ得るアクティブ除振ユニットに関するものである。
従来から、液晶や半導体の製造装置を始めとして、加工機械や測定装置、検査装置等の振動を嫌う精密機器等の、所謂嫌振機器においては、外部からの振動を可及的に且つ充分に遮断したり、内部で発生する振動を減衰したりする必要があり、そしてそのために、そのような嫌振機器を搭載したテーブル乃至は定盤、換言すれば除振台の下部に、ばね系などの機構を利用した除振乃至は制振装置(ダンパ)を設置した各種の構造のものが提案され(特許文献1〜3参照)、外部入力振動や内部発生振動を減衰せしめて、定盤の揺れを速やかに収束させ、以て、その変動レベルを収束して、規定レベルに保持し得るようになっている。
ところで、この種の除振装置乃至は除振ユニットにあっては、鉛直方向の振動と共に、水平方向の振動をも併せて減衰乃至は制振する必要があるところ、そのような水平方向の振動を対象として、定盤の水平方向の揺動を静定するようにした揺動ダンパが検討され、その一つとして、上記した特許文献3の図4や図6には、棒状の粘弾性体を用い、この粘弾性体を定盤から垂下させたブラケットに圧接せしめることにより、定盤が水平面で大きく揺れた場合において、粘弾性体が、その軸方向に圧縮・伸張せしめられるようにして、定盤の揺れのエネルギーを吸収せしめ、その揺れを速やかに停止させ得るようにした構造のものが、明らかにされている。しかしながら、この粘弾性体を用いる揺動ダンパは、定盤の揺れのエネルギーを吸収して、その水平方向の揺動を静定せしめる、受身のタイプ(パッシブ型)のものであって、定盤に対して、振動とは逆位相の揺れを加えて、積極的に乃至は強制的に振動を除去せしめる、所謂アクティブ型のものではなかった。
このため、特許文献4,5等においては、除振台の水平方向の振動を積極的に除去すべく、除振台の対応する両側面に、或いは除振台から一体的に延びる接続部材(取付ブラケット)の対応する両側面に、エアタンクから供給される圧力空気により膨張せしめられる、空気ばね方式のゴム製ばね部を、それぞれ配設せしめたり、或いはそのようなゴム製ばね部とコイルばねとを組み合わせて、配設したりして、加速度センサ等によって検出される水平方向の振動に基づき、そのようなゴム製ばね部を膨張させたり、収縮せしめたりして、それらゴム製ばね部の膨張・収縮や、コイルばねの付勢作用によって、入力振動とは逆位相の動きを除振台に加えることにより、除振台の振動を積極的に静定するようにした構造の、アクティブ型のものが、提案されている。
しかしながら、それら従来のアクティブ型の除振ユニットにあっては、ゴム製ばね部として、エアベローズやエアマウント等と称される大きな空気ばねが用いられて、それが除振台に対して配設されることとなるところから、必要な配設空間が大きくなったり、取付ブラケットが外方に突出したりして、装置が大型化するという問題を惹起することに加えて、容量の大きなゴム製ばね部への圧力空気の給排気によって、そのようなゴム製ばね部の作動を行わしめるものであるところから、圧力空気の消費量が多く、そのために、経済性に劣ることとなると共に、応答性良くアクティブ制御することが困難であるという問題を内在しているのである。しかも、そのようなゴム製ばね部は、除振台に対して、或いはそれに設けられた接続部材に対して、連結されることとなるところから、除振台に対する嫌振装置等の搭載物の有無により、除振台の荷重が変化したり、除振台の荷重を支持して、その水平姿勢を確保するためのレベリングユニットのオン・オフ作動により、レベル差(鉛直方向の位置ズレ)が生じたり等した際に、ゴム製ばね部に対して、剪断力が作用することとなって、その耐久性を悪化せしめる等という問題も、内在しているのである。
特開平5−321980号公報 特開平11−218182号公報 特開2005−220936号公報 特開平1−247838号公報 特許第2673321号公報
ここにおいて、本発明は、かかる事情を背景にしてなされたものであって、その解決課題とするところは、除振台の水平方向の振動に対して、応答性良く、アクティブ除振を行い得ると共に、除振台に鉛直方向の移動が生じても、それによる悪影響を受けることの少ない、コンパクトな構造のアクティブ除振ユニットを提供することにある。
そして、本発明は、上記した課題を解決するために、以下に列挙せる如き各種の態様において、好適に実施され得るものであるが、また、以下に記載の各態様は、任意の組み合わせにおいても採用可能である。なお、本発明の態様乃至は技術的特徴は、以下に記載のものに何等限定されることなく、明細書全体の記載及び図面に開示の発明思想に基づいて認識されるものであることが、理解されるべきである。
(1) 除振台と床との間に介装されて、かかる除振台を防振、支持するようにした除振ユニットにして、該除振台の重量を支える弾性支持体と、該除振台における少なくとも水平方向の微小変位を検出する微小変位センサと、該微小変位センサにて検出される微小変位に基づいて、該除振台における少なくとも水平方向の微小変位を除去する微小変位アクチュエータ機構とを含み、且つ該微小変位アクチュエータ機構が、空気圧の導入・排出によってピストン移動せしめられるダイヤフラムに永久磁石を取り付けてなる第一のシリンダを、前記除振台及び床の何れか一方から鉛直方向に延びる支持部に、該第一のシリンダによるピストン移動の方向が水平方向となるように配設する一方、該除振台及び床の何れか他方から鉛直方向に延びる、前記永久磁石が磁着可能な第一の磁着部を設けてなる、水平方向の微小変位を除去するための第一の微小変位アクチュエータを少なくとも有し、更に、前記第一のシリンダに取り付けた永久磁石と前記第一の磁着部とが、それらの鉛直方向の相互の摺動を許容する第一のすべり板を介して、磁着可能とされていることを特徴とするアクティブ除振ユニット。
(2) 前記微小変位アクチュエータ機構が、空気圧の導入・排出によってピストン移動せしめられるダイヤフラムに永久磁石を取り付けてなる第二のシリンダを、前記除振台及び床の何れか一方に、該第二のシリンダによるピストン移動の方向が鉛直方向となるように配設する一方、該除振台及び床の何れか他方に、前記永久磁石が磁着可能な第二の磁着部を設けてなる、鉛直方向の微小変位を除去するための第二の微小変位アクチュエータを更に有し、そして、前記第二のシリンダに取り付けられた永久磁石と前記第二の磁着部とが、それらの水平方向の相互の摺動を許容する第二のすべり板を介して、磁着可能とされている上記態様(1)に記載のアクティブ除振ユニット。
(3) 前記第一及び第二の微小変位アクチュエータにおける前記第一及び第二のシリンダが、何れも、前記床の側に配設されている上記態様(1)又は(2)に記載のアクティブ除振ユニット。
(4) 前記除振台の下面に、矩形の鉄ブロックが固設され、該鉄ブロックの鉛直方向の側面及び水平な下面にて、前記第一及び第二の磁着部が、それぞれ構成されている上記態様(3)に記載のアクティブ除振ユニット。
(5) 前記第一及び第二のシリンダが、それぞれ、浅底の有底筒状ハウジングと、該ハウジングの開口部を覆蓋するように取り付けられた、中央部側の部位が厚肉板状とされたダイヤフラムと、該ダイヤフラムの厚肉板状の部位に取り付けられた圧力プレートとを含んで構成され、且つそれぞれの圧力プレートに対して、前記永久磁石が固設されている上記態様(1)乃至(4)の何れか一つに記載のアクティブ除振ユニット。
(6) 前記微小変位センサが、前記除振台と前記床との間で伝達される振動の水平方向及び鉛直方向の加速度をそれぞれ検出する加速度センサである上記態様(1)乃至(5)の何れか一つに記載の除振ユニット。
(7) 前記加速度センサが、前記除振台の下面に固設された矩形の鉄ブロックに取り付けられている上記態様(6)に記載のアクティブ除振ユニット。
(8) 前記微小変位センサから入力される検出信号に応じて、前記第一及び第二の微小変位アクチュエータに対する空気圧の導入・排出を制御する制御装置が、設けられている上記態様(1)乃至(7)の何れか一つに記載のアクティブ除振ユニット。
(9) 前記弾性支持体が、コイルスプリング及び/又は柱状の粘弾性体である上記態様(1)乃至(8)の何れか一つに記載のアクティブ除振ユニット。
(10) 前記弾性支持体が、空気圧の導入・排出によって高さを変化させる空気ばねである上記態様(1)乃至(8)の何れか一つに記載のアクティブ除振ユニット。
(11) 前記床に対する前記除振台の高さ変化を検出する変位センサが設けられ、該変位センサの検出信号が、前記微小変位センサの検出信号と共に、制御装置に入力されて、それらの検出信号に基づいて、該制御装置から前記第一及び第二の微小変位アクチュエータ並びに前記空気ばねに対して制御信号がそれぞれ出力せしめられる上記態様(10)に記載のアクティブ除振ユニット。
(12) 前記制御装置の制御信号から、低域フィルタを通じて、前記空気ばねの制御信号が取り出される一方、高域フィルタを通じて、前記第一の微小変位アクチュエータの制御信号が取り出される上記態様(11)に記載のアクティブ除振ユニット。
このように、本発明に従うアクティブ除振ユニットにあっては、微小変位センサにて検出される微小変位に基づいて作動せしめられる微小変位アクチュエータ機構が、空気圧の導入・排出によってピストン移動せしめられるダイヤフラムに永久磁石を取り付けてなる第一のシリンダを有し、この第一のシリンダを、永久磁石にて、除振台の側又は床の側に磁着せしめて、除振台に対して入力振動とは逆位相の押圧作用が加えられるようになっているところから、そのような第一のシリンダに供給される圧力空気の量を少なくすることが出来ることとなるのであり、それ故に、コンパクトな構造において、応答性の良い微小変位アクチュエータが、有利に実現され得たのであり、そして、そのような第一のシリンダのエア容量を小さくすることが出来るために、エアの給排のためのバルブにおいても、流量の少ない安価なバルブが使用可能となったことに加えて、エアの消費量も少なく抑えることが出来ることとなったのである。
しかも、かかる本発明にあっては、第一の微小変位アクチュエータにおける第一のシリンダが、永久磁石により、除振台又は床の何れかの側に連結せしめられるに際して、それらの間に、第一のすべり板を配して、すべり機構が構成されていることにより、除振台の荷重変化や、レベリングユニットのオン・オフ作動に基づくところのレベル差によって、除振台が鉛直方向(上下方向)に移動しても、永久磁石が第一のすべり板上を滑って、除振台又は床の側に磁着することとなるところから、そのような鉛直方向の位置ズレを効果的に吸収し得ることとなり、以て、かかる位置ズレに基づくところの剪断力の作用を有利に回避乃至は抑制せしめ得て、第一の微小変位アクチュエータに対する悪影響を有利に回避することが出来るのである。
また、第一の微小変位アクチュエータは、除振台又は床の側に、永久磁石の磁着力によって、連結せしめられているものであるところから、それらの脱着が容易であるという利点があり、そのために、第一の微小変位アクチュエータと除振台又は床との間に水平方向に過度のズレが発生したときに、永久磁石が外れて、第一の微小変位アクチュエータに対して、過度のズレによる引張力が作用することを効果的に阻止することが出来、これによって、第一の微小変位アクチュエータ自体の破損を阻止して、その保護を図ることが出来るという特徴をも有している。
以下、本発明を更に具体的に明らかにするために、図面を参照しつつ、本発明の代表的な実施形態について、詳細に説明することとする。
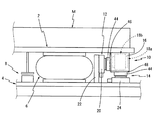
まず、図1には、本発明に従うアクティブ除振ユニットの構造が、正面視の形態において、概略的に示されている。
そこにおいて、除振台2と床4との間には、弾性支持体としてのエアベローズ6や変位センサ8が介装され、更に、微小変位アクチュエータ機構10が設けられている。除振台2は、定盤乃至はテーブルにて構成されるものであって、その上に、所定の嫌振機器Mが載置される一方、そのような嫌振機器Mが載置されてなる除振台2の重量が、圧縮空気等の圧力空気の給排操作によって膨張・収縮せしめられる、公知の構造のエアベローズ6により、支持されるようになっている。また、変位センサ8は、嫌振機器Mの搭載等による除振台2の高さ変化を検出するためのものであって、その検出信号に基づいて、エアベローズ6への圧力空気の給排を制御することにより、除振台2を水平に且つ基準の高さに保ち得るようになっている。なお、かかるエアベローズ6や変位センサ8は、ここでは、それぞれ、その一つが示されているが、盤状の除振台2の支持及びそのレベリングを行うべく、一般に複数、中でも、矩形の除振台2においては、その各隅部に位置するように4箇所に、それぞれ配置せしめられることとなる。
また、除振台2と床4との間に設けられた微小変位アクチュエータ機構10は、それら除振台2と床4との間に入力される振動に基づくところの、水平方向の微小変位を除去するための第一の微小変位アクチュエータ12と、かかる入力振動に基づくところの鉛直方向の微小変位を除去するための第二の微小変位アクチュエータとを有しており、それら二つの微小変位アクチュエータ12,14が、床4の側に位置固定に配設されている一方、除振台2の下面に固設された、側面に開口した内部空間を有する直方体形状の、換言すれば側方開口の矩形箱型形状の鉄ブロック16に対して、後述せるように、着脱可能に連結せしめられている。また、鉄ブロック16の内部空間内には、除振台2の入力振動に基づくところの、水平方向や鉛直方向の微小変位を検出する微小変位センサ18が設けられており、そして、ここでは、公知の加速度センサからなる水平方向加速度センサ18aと鉛直方向加速度センサ18bとから構成されて、除振台2と床4との間で伝達される振動の水平方向及び鉛直方向の加速度を、それぞれ、検出するようになっている。
より具体的には、第一の微小変位アクチュエータ12は、第一のシリンダとしての水平ダイヤフラムアクチュエータ20を有しており、この水平ダイヤフラムアクチュエータ20が、鉄ブロック16の垂直面(鉛直方向の側面)の一つに対向するように、床4上に立設された、鉛直方向に伸びる支持部としての壁状の支持板22に対して、位置固定に配設せしめられているのである。また、第二の微小変位アクチュエータ14においては、第二のシリンダとしての鉛直ダイヤフラムアクチュエータ24が、鉄ブロック16の下面に対向するように、床4の上面上に位置固定に配設せしめられている。
そして、それら水平ダイヤフラムアクチュエータ20や鉛直ダイヤフラムアクチュエータ24は、何れも同様な構造を有するものであって、その一例を、水平ダイヤフラムアクチュエータ20について説明するならば、図2(a)及び(b)に示される如く、水平ダイヤフラムアクチュエータ20は、円形又は矩形の平面形態を呈する浅底の有底筒状ハウジング26と、このハウジング26の開口部を覆蓋するように取り付けられた、中央部側の部位が厚肉板状とされたゴム製のダイヤフラム28と、このダイヤフラム28の板状の部位に取り付けられた、金属製の圧力プレート30とを含んで、単動シリンダ構造において構成されている。
そこで、ハウジング26にあっては、その開口部の段付き部に、ダイヤフラム28が、その外周縁部において嵌め込まれて、かかる開口部と同様な形状(ここでは、リング形状)を呈する押さえ板32を介して、かしめ固定せしめられている。そして、これによって、ハウジング26の開口部が閉塞されて、その筒内に、圧力空気室34が形成されており、この圧力空気室34に対して、給排口36を通じて、圧縮空気等の所定の圧力空気が外部から供給され、或いはそれを通じて外部に排出され得るようになっている。
また、ダイヤフラム28は、公知のゴム材質からなるものであって、その中央部側の厚肉板状部位の外面には、圧力プレート30が取り付けられている一方、その内面側に位置するように、金属製の補強板38が埋設されている。そして、このダイヤフラム28の外周縁部位、換言すれば厚肉板状部位28aと押さえ板32にて固定される部位との間の部分が、圧力空気室34内に入り込むように、U字型に湾曲せしめられてなる、薄肉の湾曲部位28bとされて、この湾曲部位28bのゴム弾性による復元力によって、ダイヤフラム28は、図2(a)に示される位置に引き戻され、原形に復帰し得るようになっている。また、かかるダイヤフラム28には、適数箇所に、取付け孔40が設けられており、この取付け孔40内に、圧力プレート30の裏面に一体的に立設された先端膨出の固定ピン42が嵌入せしめられることによって、圧力プレート30が、ダイヤフラム28に対して固定されるようになっている。
さらに、かかる圧力プレート30上には、所定厚さの板状の永久磁石44が接着剤等によって固着されて、圧力プレート30と一体的な構造とされているのである。なお、この永久磁石44は、その板厚方向にN極とS極が配列されてなるものであって、その外面(図においては上面)において、所定の対象物に磁着し得るようになっている。
そして、かくの如き構造の水平ダイヤフラムアクチュエータ20は、そのハウジング26に設けたフランジ部(図示せず)において、ボルトやねじ等によって、支持板22に対して、一体的に固定せしめられる一方、図1に示される如く、水平ダイヤフラムアクチュエータ20に取り付けられた永久磁石44が、それに対向する鉄ブロック16の一つの鉛直面に対して、フッ素樹脂等の低摩擦材料からなるすべり板(第一)46を介して、磁着せしめられることによって、除振台2の側に連結されている。このため、鉄ブロック16に対して、永久磁石44、ひいては水平ダイヤフラムアクチュエータ20は、鉛直方向に滑りやすく、それらの間に鉛直方向のズレ力が作用したときには、比較的小さな力の負荷によって、鉛直方向に移動させられ得ることとなるのである。また、ここでは、永久磁石44が磁着せしめられる鉄ブロック16の鉛直面が、第一の磁着部となっている。
また、かかる水平ダイヤフラムアクチュエータ20は、そのハウジング26内に形成された圧力空気室34に、給排口36を通じて、圧縮空気等の所定の圧力空気が供給乃至は導入されると、図2(b)に示される如く、ダイヤフラム28が、図において上下方向にピストン移動(往復移動)せしめられ、これにより、ダイヤフラム28に取り付けた圧力プレート30に一体的に設けた永久磁石44を上方に押し上げ、以て、図1に示される如く、鉄ブロック16に対して所定の押圧力が作用せしめられ得ることとなるのである。更に、そのような水平ダイヤフラムアクチュエータ20における圧力空気室34内の圧力空気が、給排口36を通じて外部に排出せしめられると、ダイヤフラム28は、その湾曲部位28bの元の形状への復元力によって、引き込み移動して、図2(a)に示される如く、ダイヤフラム28がハウジング26内に入り込むようになることによって、鉄ブロック16に対しては引張り力を作用せしめ、図1において、鉄ブロック16に対して、左方向への引張力が作用せしめられるのである。このように、水平ダイヤフラムアクチュエータ20は、図2(a)の状態と図2(b)の状態との間で、それらの図において、上下方向に往復動せしめられるのであるが、そのストロークの大きさは適宜に選定され、例えば3〜5mm程度の値が採用されることとなる。
なお、第二の微小変位アクチュエータ14における鉛直ダイヤフラムアクチュエータ24にあっても、それは、上記した水平ダイヤフラムアクチュエータ20と同様な構造及び機能を有するように構成されている。すなわち、鉛直ダイヤフラムアクチュエータ24は、水平ダイヤフラムアクチュエータ20と同様に、ハウジング26とダイヤフラム28と圧力プレート30とを有し、その圧力プレート30上に、永久磁石44が固設されてなる構造において、構成されているのである。そして、そのような鉛直ダイヤフラムアクチュエータ24における圧力空気室(34)に対する圧力空気の給排によって、鉛直ダイヤフラムアクチュエータ24は、図2に示される如く、ピストン移動せしめられて、鉄ブロック16の対向する下面に対して、すべり板(第二)48を介して磁着した永久磁石44から、上方への押圧力及び下方への引張力が作用せしめられるようになっているのである。このように、鉛直ダイヤフラムアクチュエータ24により、永久磁石44が鉄ブロック16の下面に磁着せしめられることとなるところから、ここでは、かかる鉄ブロック16の下面が、第二の磁着部を与えている。
このように、第二の微小変位アクチュエータ14を構成する鉛直ダイヤフラムアクチュエータ24は、永久磁石44により、除振台2に設けた鉄ブロック16の下面に対して、磁着されて、連結せしめられることとなるのであるが、それら鉄ブロック16と鉛直ダイヤフラムアクチュエータ24との間に、水平方向の位置ズレが生じても、すべり板48の存在によって、そのズレを効果的に吸収し得るようになっているのであり、また、鉛直方向に大きな引き離し力が作用した場合にあっても、鉄ブロック16に対しては、永久磁石44の磁着力によって、連結されているのみであるところから、それらの間における離間によって、鉛直ダイヤフラムアクチュエータ24が悪影響を受けないようになっている。
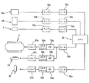
そして、かくの如き構成の除振ユニットにあっては、例えば、図3に示される制御回路によって、アクティブ制御されることにより、除振台2に作用する振動が、積極的に(能動的に)除去乃至は抑制せしめるようにされるのである。
すなわち、除振台2における水平方向の振動や鉛直方向の振動は、水平方向加速度センサ18aや鉛直方向加速度センサ18bにてそれぞれ検出され、また除振台2のレベリングのための高さ変化が、変位センサ8にて検出されると、それら三つの検出値が、それぞれ、増幅器50a〜50cで増幅された後、A/Dコンバータ52a〜52cにてA/D変換され、制御装置54にそれぞれ入力されるようになっている。更に、その制御装置54においては、それら入力された検出信号(情報)に基づいて、除振台2のレベリングのための制御信号や、水平方向及び鉛直方向の振動とは逆方向の力を、それぞれの微小変位アクチュエータ12,14におけるダイヤフラムアクチュエータ20,24にて発生せしめるための制御信号が、それぞれ出力される。
そして、かかる制御装置54から出力された制御信号は、水平ダイヤフラムアクチュエータ20に対しては、D/Aコンバータ56aにてD/A変換された後、高域フィルタ58aを通って、バルブドライバ60aに入力されて、その作動が制御されることにより、バルブ62aの開閉制御を行い、以て、水平ダイヤフラムアクチュエータ20への圧力空気の給排を制御せしめることによって、水平方向の振動とは逆方向の押圧力を、水平ダイヤフラムアクチュエータ20にて発生させて、水平方向の振動を除去乃至は抑制するように、作動せしめられるのである。
また、制御装置54からの制御信号は、D/Aコンバータ56bにてD/A変換された後、高域フィルタ58bにて、鉛直ダイヤフラムアクチュエータ24の制御信号が取り出され、それに基づいて、バルブドライバ60bにてバルブ62bの開閉が制御され、以て、鉛直ダイヤフラムアクチュエータ24において、鉛直方向の振動とは逆方向の力を発生せしめて、その振動の除去乃至は抑制が実現される一方、かかるD/Aコンバータ56bでD/A変換された制御信号は、また、低域フィルタ58cにてエアベローズ6の制御信号として取り出され、そしてそれに基づいて、バルブドライバ60cにてバルブ62cが開閉制御されることにより、エアベローズ6に対する圧力空気の給排が行われることによって、除振台2のレベリング乃至は基準位置の確保が実現されるようになっているのである。
従って、かくの如き構成のアクティブ除振ユニットにあっては、微小変位アクチュエータ機構10における第一の微小変位アクチュエータ12や第二の微小変位アクチュエータ14において、それぞれのアクチュエータとして、水平ダイヤフラムアクチュエータ20や鉛直ダイヤフラムアクチュエータ24が用いられて、それぞれ、水平方向や鉛直方向における振動とは逆方向の力を発生させるシリンダとして、機能せしめられているところから、コンパクトなシステム構築が可能となったのであり、しかも、水平方向の入力振動に対しては、水平な引っ張り方向の力を、水平ダイヤフラムアクチュエータ20において、そのダイヤフラム28の復元力に基づいて発生させることが出来るところから、対向するばねやベローズを積極的に設ける必要が全くなく、そのために、この点においても、装置のコンパクト化やコストの低減に大きく寄与し得ることとなったのである。
また、微小変位アクチュエータ機構10の第一及び第二の微小変位アクチュエータ12,14における、水平ダイヤフラムアクチュエータ20や鉛直ダイヤフラムアクチュエータ24が、永久磁石44,44による磁着力にて、除振台2側の鉄ブロック16に連結(接続)されるようになっているところから、それらの脱着が容易であり、そのために、それらダイヤフラムアクチュエータ20,24と鉄ブロック16との間に過度のズレが発生したときには、鉄ブロック16から永久磁石44が外れ、以て、ダイヤフラムアクチュエータ20,24を破損等から効果的に保護することが出来る特徴も発揮する。
さらに、それダイヤフラムアクチュエータ20,24における永久磁石44,44と鉄ブロック16の磁着面(鉛直面及び下面)との間には、それぞれ、すべり板46、48が介装されて、それらのすべり板46,48を介して、磁着、連結されているところから、除振台2上への嫌振機器Mの搭載、或いは、それからの取り外しにより、また、レベリングユニット(エアベローズ)への圧力空気の給排により、除振台2が上下方向に移動し、鉄ブロック16と水平ダイヤフラムアクチュエータ20や鉛直ダイヤフラムアクチュエータ24との間に位置ズレが惹起される場合にあっても、そのような位置ズレを効果的に吸収することが出来るのであって、これにより、水平ダイヤフラムアクチュエータ20や鉛直ダイヤフラムアクチュエータ24に破損等の問題が惹起されることを、有利に回避することが出来る利点をも有している。
加えて、水平ダイヤフラムアクチュエータ20や鉛直ダイヤフラムアクチュエータ24においては、その圧力空気室34の容積を小さくすることが出来、これにより、ダイヤフラム28を突出し・引込み作動させるためのエア容量を少なくすることが出来る特徴があるのであり、これによって、ダイヤフラム28の作動、ひいては永久磁石44による押圧・引張作動を、応答性良く実現することが出来ると共に、エアの消費量を少なく抑えることが出来、またそれによって、流量の少ない安価なバルブ(62a,62b)を使用することも出来ることとなったのである。
なお、かくの如き構造のアクティブ除振ユニットにおいて、除振台2のレベリングを行うエアベローズ6に対して、圧力空気が供給されて、そのレベリングが行われているときには、図4(a)に示される如き除振台2の支持形態となるのであるが、そのようなエアベローズ6内の圧力空気が外部に排出されるようになると、図4(b)に示されるように、除振台2は下降して、除振台2の重量は、床4上に立設された支持板22にて、支持されるようになっている。これにより、除振台2の重量が更に鉛直ダイヤフラムアクチュエータ24に加わることがないところから、かかる鉛直ダイヤフラムアクチュエータ24の保護も有利に実現されるようになっているのである。
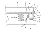
ところで、本発明は、上記した具体例の他にも、各種の態様において実現され得るものであり、その一例が、図5に示されている。そこにおいては、除振台2の重量を支える弾性支持体として、上例のエアベローズ6の如き空気ばねに代えて、コイルスプリングからなるばね64が用いられている。このようなばね64としては、コイルスプリングの他にも、公知のものが適宜に用いられ得るところであり、例えば、よく知られているように、円柱状の粘弾性体(エポキシ樹脂)を用いることも可能であり、更には、コイルばねと粘弾性体とを併用する構造も採用可能である。何れにしても、そのような弾性支持体としては、公知のものが適宜に選択されて、用いられることとなる。なお、そこでは、微小変位アクチュエータ機構や微小変位センサは前例と同様であるので、ここでは、同一の番号を付して、詳細な説明は省略することとする。また、かかる図5に示されるアクティブ除振ユニットの制御回路が、図6に示されているが、この制御回路も、前例の制御回路を示す図3と同様であるので、同様な部分には同一の番号を付して、詳細な説明を省略する。
そして、かかる図5に示されるアクティブ除振ユニットにおいては、除振台2への嫌振機器Mの搭載の有無により、除振台2が、上下方向に比較的大きく移動するようになるのであるが、その場合において、本発明に従う微小変位アクチュエータ機構10の特徴が、より良く発揮されることとなるのである。すなわち、嫌振機器Mが搭載されてなる、図7(b)に示されてなる状態から、嫌振機器Mが取り外されると、除振台2は、それを支えるばね64の付勢作用によって、図7(a)に示される如く、上昇させられることとなるのであるが、その際、水平ダイヤフラムアクチュエータ20は、そのダイヤフラム28に対して、固定せしめた永久磁石44がすべり板46上を摺動することにより、鉄ブロック16に対する鉛直方向の位置関係のズレを効果的に吸収することが出来ることとなるのである。また、鉛直ダイヤフラムアクチュエータ24においても、それに固定された永久磁石44が、その磁着力にて、鉄ブロック16に対して連結されているに過ぎないものであるところから、それら鉄ブロック16と永久磁石44との間が離脱せしめられて、鉄ブロック16の上昇による鉛直ダイヤフラムアクチュエータ24に対する悪影響も効果的に回避され得ることとなる。要するに、除振台2(鉄ブロック16)の鉛直方向への大きな動きによって、水平ダイヤフラムアクチュエータ20や鉛直ダイヤフラムアクチュエータ24に対する悪影響が、効果的に回避され得るようになっているのである。
以上、本発明の代表的な実施形態について詳述してきたが、それは、あくまでも例示に過ぎないものであって、本発明は、そのような実施形態に係る具体的な記述によって何等限定的に解釈されるものではないことが、理解されるべきである。
例えば、上述した実施形態においては、微小変位アクチュエータ機構10が、第一の微小変位アクチュエータ12と第二の微小変位アクチュエータ14とを含んで、構成されているが、本発明にあっては、少なくとも、第一の微小変位アクチュエータ12が本発明に従う構成とされておれば良く、第二の微小変位アクチュエータ14としては、鉛直方向の入力振動を吸収することの出来る、公知の各種のアクチュエータを用いることが可能である。
また、第一の微小変位アクチュエータ12や第二の微小変位アクチュエータ14において、それぞれのシリンダを構成する水平ダイヤフラムアクチュエータ20や鉛直ダイヤフラムアクチュエータ24は、床4側に固定せしめられる場合のみならず、それぞれ独立して、鉄ブロック16の如き除振台2側の部材に取り付けられて、固定され、それぞれの永久磁石44,44において、床4側に設けられる第一の磁着部や第二の磁着部に磁着せしめられるようにした構造も、採用可能である。そして、それらダイヤフラムアクチュエータ20,24は、例示の形態の他にも、除振台2側や床4側に、直接に或いは適当な取付ブラケットを介して、固定され、また第一及び第二の磁着部も、当業者に自明な適宜の形態において、除振台2側に或いは床4側に設けられることとなる。
さらに、微小変位アクチュエータ機構10にあっても、図示の実施形態においては、その一つが図示されているのであるが、そのような微小変位アクチュエータ機構10を複数設けることも可能であり、その場合において、水平方向の複数の方向からの入力振動に対して、それぞれの微小変位アクチュエータ機構が対応するようにして、水平な各方向の振動をそれぞれアクティブ除振するようにすることが望ましい。
なお、本発明においては、第一の微小変位アクチュエータ12によって、水平方向の入力振動が有利に除去乃至は抑制せしめられ得るのものであるが、また、そのような第一の微小変位アクチュエータ12のアクティブ除振機能を更に高める上において、必要に応じて、適当な空気ばねやコイルスプリングなどを用いて、水平ダイヤフラムアクチュエータ20による押圧・引張作用を補助するようにすることも可能である。
その他、一々列挙はしないが、本発明は、当業者の知識に基づいて、種々なる変更、修正、改良等を加えた態様において実施され得るものであり、また、そのような実施の態様が、本発明の趣旨を逸脱しない限りにおいて、何れも、本発明の範疇に属するものであることは、言うまでもないところである。
本発明に従うアクティブ除振ユニットの一例に係る構成の概略を示す正面説明図である。 図1に示されるアクティブ除振ユニットにおいて用いられているダイヤフラムアクチュエータの一例を示す断面説明図であって、(a)は圧力空気の非供給状態を示しており、(b)は圧力空気を供給した状態を示している。 図1に示されるアクティブ除振ユニットのための制御回路の一例を示す説明図である。 図1に示されるアクティブ除振ユニットにおいて、エアベローズの作動の有無による除振台の状態を示す正面部分説明図であって、(a)は、エアベローズの作動中の状態を示し、(b)はエアベローズが作動していないときの状態を示している。 本発明に従うアクティブ除振ユニットの他の一例を示す正面説明図である。 図5に示されるアクティブ除振ユニットのための制御回路の一例を示す説明図である。 図5に示されるアクティブ除振ユニットにおいて、搭載荷重の有無による除振台のレベル差を示す正面部分説明図であって、(a)は搭載荷重が存在しない状態を示し、(b)は搭載荷重がある場合を示している。
符号の説明
2 除振台 4 床
6 エアベローズ 8 変位センサ
10 微小変位アクチュエータ機構 12,14 微小変位アクチュエータ
16 鉄ブロック 18 微小変位センサ
18a 水平方向加速度センサ 18b 鉛直方向加速度センサ 20 水平ダイヤフラムアクチュエータ 22 支持板
24 鉛直ダイヤフラムアクチュエータ 26 有底筒状ハウジング
28 ダイヤフラム 28a 厚肉板状部位
28b 薄肉湾曲部位 30 圧力プレート
32 押さえ板 34 圧力空気室 36 給排口 38 補強板
40 取付け孔 42 固定ピン 44 永久磁石 46,48 すべり板 50a〜c 増幅器 52a〜c A/Dコンバータ 54 制御装置 56a,b D/Aコンバータ
58a,b高域フィルタ 58c 低域フィルタ
60a〜c バルブドライバ 62a〜c バルブ
64 ばね

Claims (12)

  1. 除振台と床との間に介装されて、かかる除振台を防振、支持するようにした除振ユニットにして、該除振台の重量を支える弾性支持体と、該除振台における少なくとも水平方向の微小変位を検出する微小変位センサと、該微小変位センサにて検出される微小変位に基づいて、該除振台における少なくとも水平方向の微小変位を除去する微小変位アクチュエータ機構とを含み、
    且つ該微小変位アクチュエータ機構が、空気圧の導入・排出によってピストン移動せしめられるダイヤフラムに永久磁石を取り付けてなる第一のシリンダを、前記除振台及び床の何れか一方から鉛直方向に延びる支持部に、該第一のシリンダによるピストン移動の方向が水平方向となるように配設する一方、該除振台及び床の何れか他方から鉛直方向に延びる、前記永久磁石が磁着可能な第一の磁着部を設けてなる、水平方向の微小変位を除去するための第一の微小変位アクチュエータを少なくとも有し、更に、前記第一のシリンダに取り付けた永久磁石と前記第一の磁着部とが、それらの鉛直方向の相互の摺動を許容する第一のすべり板を介して、磁着可能とされていることを特徴とするアクティブ除振ユニット。
  2. 前記微小変位アクチュエータ機構が、空気圧の導入・排出によってピストン移動せしめられるダイヤフラムに永久磁石を取り付けてなる第二のシリンダを、前記除振台及び床の何れか一方に、該第二のシリンダによるピストン移動の方向が鉛直方向となるように配設する一方、該除振台及び床の何れか他方に、前記永久磁石が磁着可能な第二の磁着部を設けてなる、鉛直方向の微小変位を除去するための第二の微小変位アクチュエータを更に有し、そして、前記第二のシリンダに取り付けられた永久磁石と前記第二の磁着部とが、それらの水平方向の相互の摺動を許容する第二のすべり板を介して、磁着可能とされている請求項1に記載のアクティブ除振ユニット。
  3. 前記第一及び第二の微小変位アクチュエータにおける前記第一及び第二のシリンダが、何れも、前記床の側に配設されている請求項1又は請求項2に記載のアクティブ除振ユニット。
  4. 前記除振台の下面に、矩形の鉄ブロックが固設され、該鉄ブロックの鉛直方向の側面及び水平な下面にて、前記第一及び第二の磁着部が、それぞれ構成されている請求項3に記載のアクティブ除振ユニット。
  5. 前記第一及び第二のシリンダが、それぞれ、浅底の有底筒状ハウジングと、該ハウジングの開口部を覆蓋するように取り付けられた、中央部側の部位が厚肉板状とされたダイヤフラムと、該ダイヤフラムの厚肉板状の部位に取り付けられた圧力プレートとを含んで構成され、且つそれぞれの圧力プレートに対して、前記永久磁石が固設されている請求項1乃至請求項4の何れか一つに記載のアクティブ除振ユニット。
  6. 前記微小変位センサが、前記除振台と前記床との間で伝達される振動の水平方向及び鉛直方向の加速度をそれぞれ検出する加速度センサである請求項1乃至請求項5の何れか一つに記載のアクティブ除振ユニット。
  7. 前記加速度センサが、前記除振台の下面に固設された矩形の鉄ブロックに取り付けられている請求項6に記載のアクティブ除振ユニット。
  8. 前記微小変位センサから入力される検出信号に応じて、前記第一及び第二の微小変位アクチュエータに対する空気圧の導入・排出を制御する制御装置が、設けられている請求項1乃至請求項7の何れか一つに記載のアクティブ除振ユニット。
  9. 前記弾性支持体が、コイルスプリング及び/又は柱状の粘弾性体である請求項1乃至請求項8の何れか一つに記載のアクティブ除振ユニット。
  10. 前記弾性支持体が、空気圧の導入・排出によって高さを変化させる空気ばねである請求項1乃至請求項8の何れか一つに記載のアクティブ除振ユニット。
  11. 前記床に対する前記除振台の高さ変化を検出する変位センサが設けられ、該変位センサの検出信号が、前記微小変位センサの検出信号と共に、制御装置に入力されて、それらの検出信号に基づいて、該制御装置から前記第一及び第二の微小変位アクチュエータ並びに前記空気ばねに対して制御信号がそれぞれ出力せしめられる請求項10に記載のアクティブ除振ユニット。
  12. 前記制御装置の制御信号から、低域フィルタを通じて、前記空気ばねの制御信号が取り出される一方、高域フィルタを通じて、前記第一の微小変位アクチュエータの制御信号が取り出される請求項11に記載のアクティブ除振ユニット。

JP2008273782A 2008-10-24 2008-10-24 アクティブ除振ユニット Expired - Fee Related JP5065225B2 (ja)

Priority Applications (1)

Application Number Priority Date Filing Date Title
JP2008273782A JP5065225B2 (ja) 2008-10-24 2008-10-24 アクティブ除振ユニット

Applications Claiming Priority (1)

Application Number Priority Date Filing Date Title
JP2008273782A JP5065225B2 (ja) 2008-10-24 2008-10-24 アクティブ除振ユニット

Publications (2)

Publication Number Publication Date
JP2010101437A true JP2010101437A (ja) 2010-05-06
JP5065225B2 JP5065225B2 (ja) 2012-10-31

Family

ID=42292250

Family Applications (1)

Application Number Title Priority Date Filing Date
JP2008273782A Expired - Fee Related JP5065225B2 (ja) 2008-10-24 2008-10-24 アクティブ除振ユニット

Country Status (1)

Country Link
JP (1) JP5065225B2 (ja)

Cited By (6)

* Cited by examiner, † Cited by third party
Publication number Priority date Publication date Assignee Title
JP2012047308A (ja) * 2010-08-30 2012-03-08 Tokkyokiki Corp アクティブ除振装置
JP2014077458A (ja) * 2012-10-09 2014-05-01 Unirock:Kk 除振装置
KR101421060B1 (ko) 2013-03-22 2014-07-18 주식회사 나인티시스템 면진 테이블의 테스트장치
CN108927306A (zh) * 2018-09-17 2018-12-04 浙江美宁电器有限公司 一种用于油烟机圆形铝板加工的夹紧装置
CN110397699A (zh) * 2019-07-20 2019-11-01 宿州市金鼎安全技术股份有限公司 一种矿区机械用减震底座
WO2025135017A1 (ja) * 2023-12-18 2025-06-26 特許機器株式会社 流体ばね

Citations (10)

* Cited by examiner, † Cited by third party
Publication number Priority date Publication date Assignee Title
JPH03199736A (ja) * 1989-12-26 1991-08-30 Fujitsu Ltd ボイスコイル式モータを内蔵した空気ばね
JPH05149379A (ja) * 1991-11-29 1993-06-15 Takenaka Komuten Co Ltd アクテイブ除振装置
JPH08270721A (ja) * 1995-03-30 1996-10-15 Hitachi Ltd 免震機能付きアクティブ除振装置
JPH09177879A (ja) * 1995-12-27 1997-07-11 Ebara Corp 除振装置
JPH1089403A (ja) * 1996-09-10 1998-04-07 Nikon Corp 防振装置
JP2000120765A (ja) * 1998-10-09 2000-04-25 Fujita Corp アクティブ型除振装置
WO2000029753A1 (fr) * 1998-11-13 2000-05-25 Tokkyokiki Corporation Actionneur de fluide
JP2002122180A (ja) * 2000-10-13 2002-04-26 Tokkyokiki Corp ハイブリッドアクチュエータ
JP2005282696A (ja) * 2004-03-29 2005-10-13 Canon Inc 除振マウント装置、露光装置及びデバイス製造方法
JP2006083883A (ja) * 2004-09-14 2006-03-30 Fujikura Rubber Ltd 除振台装置

Patent Citations (10)

* Cited by examiner, † Cited by third party
Publication number Priority date Publication date Assignee Title
JPH03199736A (ja) * 1989-12-26 1991-08-30 Fujitsu Ltd ボイスコイル式モータを内蔵した空気ばね
JPH05149379A (ja) * 1991-11-29 1993-06-15 Takenaka Komuten Co Ltd アクテイブ除振装置
JPH08270721A (ja) * 1995-03-30 1996-10-15 Hitachi Ltd 免震機能付きアクティブ除振装置
JPH09177879A (ja) * 1995-12-27 1997-07-11 Ebara Corp 除振装置
JPH1089403A (ja) * 1996-09-10 1998-04-07 Nikon Corp 防振装置
JP2000120765A (ja) * 1998-10-09 2000-04-25 Fujita Corp アクティブ型除振装置
WO2000029753A1 (fr) * 1998-11-13 2000-05-25 Tokkyokiki Corporation Actionneur de fluide
JP2002122180A (ja) * 2000-10-13 2002-04-26 Tokkyokiki Corp ハイブリッドアクチュエータ
JP2005282696A (ja) * 2004-03-29 2005-10-13 Canon Inc 除振マウント装置、露光装置及びデバイス製造方法
JP2006083883A (ja) * 2004-09-14 2006-03-30 Fujikura Rubber Ltd 除振台装置

Cited By (7)

* Cited by examiner, † Cited by third party
Publication number Priority date Publication date Assignee Title
JP2012047308A (ja) * 2010-08-30 2012-03-08 Tokkyokiki Corp アクティブ除振装置
JP2014077458A (ja) * 2012-10-09 2014-05-01 Unirock:Kk 除振装置
KR101421060B1 (ko) 2013-03-22 2014-07-18 주식회사 나인티시스템 면진 테이블의 테스트장치
CN108927306A (zh) * 2018-09-17 2018-12-04 浙江美宁电器有限公司 一种用于油烟机圆形铝板加工的夹紧装置
CN108927306B (zh) * 2018-09-17 2023-08-15 浙江美宁电器有限公司 一种用于油烟机圆形铝板加工的夹紧装置
CN110397699A (zh) * 2019-07-20 2019-11-01 宿州市金鼎安全技术股份有限公司 一种矿区机械用减震底座
WO2025135017A1 (ja) * 2023-12-18 2025-06-26 特許機器株式会社 流体ばね

Also Published As

Publication number Publication date
JP5065225B2 (ja) 2012-10-31

Similar Documents

Publication Publication Date Title
JP5065225B2 (ja) アクティブ除振ユニット
US8851250B2 (en) Active vibration isolation system
US8016274B2 (en) Antivibration device, and vehicle comprising same
US20100030384A1 (en) Vibration Isolation System With Design For Offloading Payload Forces Acting on Actuator
JPH05340444A (ja) 防振装置及びその制御方法
US20170175845A1 (en) Vibration isolator with a vertically effective pneumatic spring
JP5437888B2 (ja) 除振マウント
JP2006014588A (ja) 自冷式アクチュエータ
JP2009097673A (ja) 防振継手
CN101382178A (zh) 主动减振隔振装置及主动减振隔振系统
US5042784A (en) Damping support structure
JP2014044076A (ja) 振動試験機
JP2009058099A (ja) 液体封入式マウント装置
JP2011247314A (ja) アクティブ除振装置
JP2000234646A (ja) 除振装置
NL2004415C2 (en) Active vibration isolation system, arrangement and method.
KR101354263B1 (ko) 병렬형 엔진 마운트 구조
JP5242943B2 (ja) アクティブ除振装置
KR100834901B1 (ko) 전기액추에이터를 이용한 고정밀장비 운동제어용모션컨트롤러 및 이를 이용한 운동제어시스템
JP2007205543A (ja) 除振装置
KR200407609Y1 (ko) 고효율 방진 에어 마운트를 가진 정밀 운동 제어기
JP4982272B2 (ja) アクティブ除振マウント機構
JP4091610B2 (ja) 流体アクチュエータ及びこれを用いたハイブリッドアクチュエータ
JP4328859B2 (ja) アクティブ除振装置
KR100839872B1 (ko) 건식 힘 전달 메커니즘과 전자석 구동기를 이용한 능동엔진 마운트

Legal Events

Date Code Title Description
A621 Written request for application examination

Free format text: JAPANESE INTERMEDIATE CODE: A621

Effective date: 20111014

A977 Report on retrieval

Free format text: JAPANESE INTERMEDIATE CODE: A971007

Effective date: 20120726

TRDD Decision of grant or rejection written
A01 Written decision to grant a patent or to grant a registration (utility model)

Free format text: JAPANESE INTERMEDIATE CODE: A01

Effective date: 20120807

A01 Written decision to grant a patent or to grant a registration (utility model)

Free format text: JAPANESE INTERMEDIATE CODE: A01

A61 First payment of annual fees (during grant procedure)

Free format text: JAPANESE INTERMEDIATE CODE: A61

Effective date: 20120809

R150 Certificate of patent or registration of utility model

Free format text: JAPANESE INTERMEDIATE CODE: R150

FPAY Renewal fee payment (event date is renewal date of database)

Free format text: PAYMENT UNTIL: 20150817

Year of fee payment: 3

LAPS Cancellation because of no payment of annual fees