JP2010101348A - 外筒取付構造 - Google Patents

外筒取付構造 Download PDF

Info

Publication number
JP2010101348A
JP2010101348A JP2008271039A JP2008271039A JP2010101348A JP 2010101348 A JP2010101348 A JP 2010101348A JP 2008271039 A JP2008271039 A JP 2008271039A JP 2008271039 A JP2008271039 A JP 2008271039A JP 2010101348 A JP2010101348 A JP 2010101348A
Authority
JP
Japan
Prior art keywords
outer cylinder
mounting structure
bearing box
female screw
cylinder mounting
Prior art date
Legal status (The legal status is an assumption and is not a legal conclusion. Google has not performed a legal analysis and makes no representation as to the accuracy of the status listed.)
Granted
Application number
JP2008271039A
Other languages
English (en)
Other versions
JP4748612B2 (ja
Inventor
Nobuaki Kono
信明 河野
Current Assignee (The listed assignees may be inaccurate. Google has not performed a legal analysis and makes no representation or warranty as to the accuracy of the list.)
Tsubakimoto Chain Co
Original Assignee
Tsubaki Emerson Co
Priority date (The priority date is an assumption and is not a legal conclusion. Google has not performed a legal analysis and makes no representation as to the accuracy of the date listed.)
Filing date
Publication date
Application filed by Tsubaki Emerson Co filed Critical Tsubaki Emerson Co
Priority to JP2008271039A priority Critical patent/JP4748612B2/ja
Publication of JP2010101348A publication Critical patent/JP2010101348A/ja
Application granted granted Critical
Publication of JP4748612B2 publication Critical patent/JP4748612B2/ja
Active legal-status Critical Current
Anticipated expiration legal-status Critical

Links

Images

Landscapes

  • Mutual Connection Of Rods And Tubes (AREA)
  • Gasket Seals (AREA)
  • Transmission Devices (AREA)

Abstract

【課題】各構成部材を小型化し、製造・組立を容易とするとともに、外筒を特定の角方向に正確に固定し緩みを防止する外筒取付構造を提供すること。
【解決手段】軸受111を介して回転軸131を保持する軸受箱110に回転軸131を同軸に内包する外筒120を密着固定する外筒取付構造において、軸受箱110のボス部112に外筒130が螺合し、ボス部112の端面側と外筒120の端部側に設けられた空間に弾性シール部材126が密着収容されていること。
【選択図】図3

Description

本発明は、回転駆動源の出力取出部に設けられ軸受を介して回転軸を保持する軸受箱と、該軸受箱から回転駆動源の外方に延びる回転軸を同軸に内包する外筒とを密着固定する外筒取付構造に関するものであり、例えば、ボールねじを用いた直線作動機のボールねじの軸受箱と外筒の取付構造に関するものである。
従来、ボールねじを用いた直線作動機として、回転駆動源の出力取出部に設けられ軸受を介して回転軸を保持するとともに回転駆動源の外方に延びる回転軸を同軸に内包する外筒を備えた直線作動機が周知である。
この周知の直線作動機500は、図6に示すように、回転駆動源530の出力軸に連結された回転軸531と、該回転軸531に螺合したナット532と、該ナット532に取り付けられた2本の直動部材533と、回転軸531とナット532と2本の直動部材533を内包する外筒520とを有している。
回転軸531の回転駆動源530側の軸受511は外筒520の内部に支持されるとともに、外筒520の軸方向中間部には、ナット532と2本の直動部材533にグリス等の潤滑剤を供給するための給脂口521が設けられ、該給脂口521は給脂口ボルト523により密封されている(例えば、特許文献1等参照。)。
しかしながら、このような周知の直線作動機では、外筒520に軸受511が直接支持されているため、外筒520が複雑な構造となり精度も要求されるため、回転駆動源側の軸受を支持する軸受箱と外筒を別部材としたものが知られている。
軸受箱と外筒を別部材とした公知の外筒取付構造は、図7、図8に示すように、軸受箱610の端面にフランジ661が設けられると共に、外筒620の端面にもフランジ671が設けられ、それぞれのフランジ661、671が対向して複数の固定ボルト672で締結固定されている。
外筒620の軸方向中間部にはグリス等の潤滑剤を供給するための給脂口621が設けられ、該給脂口621は給脂口ボルト623により密封されている。
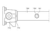
また、他の軸受箱と外筒を別部材とした公知の外筒取付構造は、図9、図10に示すように、軸受箱710に外筒720と螺合する雄ネジ部713を有するボス部712が設けられ、外筒720端部の内周面に雄ネジ部713に螺合する雌ネジ部722が設けられるとともに、外筒720端部の外周面に固定ナット773の雌ネジ部774と螺合する雄ネジ部775が設けられている。
ボス部712に外筒720が螺合し、外筒720に固定ナット773が軸受箱710の端面714に当接して締め込まれることで軸受箱710に外筒720が密着固定される。
外筒720の軸方向中間部にはグリス等の潤滑剤を供給するための給脂口721が設けられ、該給脂口721は給脂口ボルト723により密封されている。
特開2001−141021号公報(第2頁乃至第3頁、図1、図7)
しかしながら、前者の公知の外筒取付構造は、外筒620に溶接等によりフランジ671の形成する必要があり、また、軸受箱610のフランジ661と外筒620のフランジ671の合わせ面が密着するように精度良く加工する必要があり、製造に時間とコストがかかるとともに、軸受箱610と外筒620が大型化するという問題があった。
また、外筒620の中間部に設けた給脂口621の向く角方向を正確に特定したい場合、それぞれのフランジにおける複数の固定ボルト672の位置を正確に合わせてボルト穴加工する必要があり、さらに製造に時間とコストがかかるという問題があった。
後者の公知の外筒取付構造は、軸受箱710の端面714と固定ナット773の合わせ面が密着するように精度良く加工する必要があり、製造に時間とコストがかかるという問題があった。
また、外筒720の中間部に設けた給脂口721の向く角方向を正確に特定したい場合、組立時に給脂口721を正確な角方向に向けて固定した状態で固定ナット773を締め込む必要があり、組立に時間と手間がかかるとともに、締め込み時のバックラッシュや使用時の振動等によるネジの緩みで給脂口721の向く角方向が変化する虞があるという問題があった。
本発明は、前述したような従来技術の問題を解決するものであって、本発明が解決しようとする課題、すなわち、本発明の目的は、各構成部材を小型化し、製造・組立を容易とするとともに、外筒を特定の角方向に正確に固定し緩みを防止する外筒取付構造を提供することである。
本請求項1に係る発明は、回転駆動源の出力取出部に設けられ軸受を介して回転軸を保持する軸受箱と、該軸受箱から前記回転駆動源の外方に延びる前記回転軸を同軸に内包する外筒とを密着固定する外筒取付構造において、前記軸受箱が、外周面に前記外筒と螺合する雄ネジ部を有するボス部と、該ボス部の回転駆動源側に前記外筒の端部が突き当たる端面部を有し、前記外筒が、一方の端部の内周面に前記軸受箱のボス部に螺合する雌ネジ部を有し、前記軸受箱のボス部の端面側と前記外筒の端部側が、それぞれ雄ネジ欠落部と雌ネジ欠落部を有し、両欠落部により形成された空間に弾性シール部材が密着収容されていることにより、前記課題を解決するものである。
本請求項2に係る発明は、請求項1に記載された外筒取付構造の構成に加えて、前記外筒が、雌ネジ部の少なくとも1か所に内周と外周とを貫通する位置決め孔を有し、前記ボス部が、前記回転軸の軸線と直交する方向に位置決め穴を有していることにより、前記課題をさらに解決するものである。
本請求項3に係る発明は、請求項1または請求項2に記載された外筒取付構造の構成に加えて、前記弾性シール部材が、前記雄ネジ部及び雌ネジ部のネジ山の1ピッチ以上の回転軸方向の厚みを有し、前記雄ネジ欠落部と雌ネジ欠落部が、それぞれ前記雄ネジ部及び雌ネジ部のネジ山の1ピッチ以上の回転軸方向の長さを有していることにより、前記課題をさらに解決するものである。
本請求項4に係る発明は、請求項1乃至請求項3のいずれかに記載された外筒取付構造の構成に加えて、前記雌ネジ欠落部が、前記外筒の端部に外周側に広がるテーパ部を有することにより、前記課題をさらに解決するものである。
本請求項5に係る発明は、請求項1乃至請求項4のいずれかに記載された外筒取付構造の構成に加えて、前記回転軸が、螺合されるナットを往復動させる送りネジ軸であり、前記外筒が、他方の端部において前記ナットに接続された直動部材を軸方向に進退可能に支持するとともに、中間部に潤滑剤を供給する給脂口を有していることにより、前記課題をさらに解決するものである。
本請求項1に係る発明の外筒取付構造は、回転駆動源の出力取出部に設けられ軸受を介して回転軸を保持する軸受箱と、該軸受箱から回転駆動源の外方に延びる回転軸を同軸に内包する外筒とを密着固定する外筒取付構造において、軸受箱が、外周面に外筒と螺合する雄ネジ部を有するボス部と、該ボス部の回転駆動源側に外筒の端部が突き当たる端面部を有し、外筒が、一方の端部の内周面に軸受箱のボス部に螺合する雌ネジ部を有していることにより、簡単なネジ山加工のみで軸受箱と外筒を固定することができるため、構成部材を小型化することができ、製造・組立が容易となるとともに、軸受箱のボス部の端面側と外筒の端部側が、それぞれ雄ネジ欠落部と雌ネジ欠落部を有し、両欠落部により形成された空間に弾性シール部材が密着収容されていることにより、外筒端部が軸受箱の端面から一定範囲の位置であれば弾性シール部材により外筒内部を密封することができるため、各構成部材に高精度の加工を必要とせず、シール性を損なうことなく外筒を特定の角方向に固定することができる。
そして、本請求項2に係る発明の外筒取付構造は、請求項1に係る外筒取付構造が奏する効果に加えて、外筒が、雌ネジ部の少なくとも1か所に内周と外周とを貫通する位置決め孔を有し、ボス部が、回転軸の軸線と直交する方向に位置決め穴を有していることにより、ボルト等で外筒の位置決め孔とボス部の位置決め穴を貫通固定するだけで外筒の回転を固定することができるため、製造・組立が容易となるとともに、外筒を特定の角方向に正確に固定でき振動等で緩むことを防止することができる。
また、本請求項3に係る発明の外筒取付構造は、請求項1または請求項2に係る外筒取付構造が奏する効果に加えて、弾性シール部材が、雄ネジ部及び雌ネジ部のネジ山の1ピッチ以上の回転軸方向の厚みを有し、雄ネジ欠落部と雌ネジ欠落部が、それぞれ雄ネジ部及び雌ネジ部のネジ山の1ピッチ以上の回転軸方向の長さを有していることにより、弾性シール部材により外筒内部を密封することができる範囲を、外筒が1回転して螺進する以上の範囲とすることができるため、シール性を損なうことなく外筒をいかなる角方向にも固定することができる。
また、本請求項4に係る発明の外筒取付構造は、請求項1乃至請求項3のいずれかに係る外筒取付構造が奏する効果に加えて、雌ネジ欠落部が、外筒の端部に外周側に広がるテーパ部を有することにより、外筒端部が弾性シール部材に当接し変形を加えたときの当接面積が増加するため、シール性が向上するとともに、剪断力の集中を緩和して弾性シール部材の破損を防止することができる。
また、本請求項5に係る発明の外筒取付構造は、請求項1乃至請求項4のいずれか1つに係る外筒取付構造が奏する効果に加えて、回転軸が、螺合されるナットを往復動させる送りネジ軸であり、外筒が、他方の端部においてナットに接続された直動部材を軸方向に進退可能に支持するとともに、中間部に潤滑剤を供給する給脂口を有していることにより、直線作動機に適用した場合、小型で製造・組立が容易となるとともに、設置条件に応じて給脂口の方向を最適な方向に設定することができるため、汎用性の高い直線作動機とすることができる。
本発明の外筒取付構造は、回転駆動源の出力取出部に設けられ軸受を介して回転軸を保持する軸受箱と、該軸受箱から回転駆動源の外方に延びる回転軸を同軸に内包する外筒とを密着固定する外筒取付構造において、軸受箱が、外周面に外筒と螺合する雄ネジ部を有するボス部と、該ボス部の回転駆動源側に外筒の端部が突き当たる端面部を有し、外筒が、一方の端部の内周面に軸受箱のボス部に螺合する雌ネジ部を有していることにより、簡単なネジ山加工のみで軸受箱と外筒を固定することができるため、構成部材を小型化することができ、製造・組立が容易となるとともに、軸受箱のボス部の端面側と外筒の端部側が、それぞれ雄ネジ欠落部と雌ネジ欠落部を有し、両欠落部により形成された空間に弾性シール部材が密着収容され、各構成部材を小型化することができ、製造・組立を容易となるとともに、外筒を特定の角方向に正確に固定し緩みを防止することができるという効果を発揮するものであれば、その具体的な実施態様は如何なるものであっても何ら構わない。
すなわち、本発明の外筒取付構造は、回転駆動源の出力取出部に設けられ軸受を介して回転軸を保持する軸受箱と、該軸受箱から回転駆動源の外方に延びる回転軸を同軸に内包する外筒とを密着固定するものであれば、如何なる機器、装置、設備に適用されても良く、特に、ボールねじを用いた直線作動機のボールねじの軸受箱と外筒の取付構造に適用するのが好適である。
以下に、本発明の実施例である外筒取付構造について、図面に基づいて説明する。
図1は、本発明の一実施例である外筒取付構造を備えた直線作動機の側面図であり、図2は、本発明の一実施例である外筒取付構造を備えた直線作動機の正面図であり、図3は、本発明の一実施例である外筒取付構造の断面説明図であり、図4は、図3の一部拡大図であり、図5は、図3の他の状態での一部拡大図である。
本発明の一実施例である外筒取付構造を備えた直線作動機100は、例えば図1乃至図3に示すように、モータ101と減速機102からなる回転駆動源130と、該回転駆動源130に固定され回転軸131の軸受111を有する軸受箱110と、該軸受箱110に固定され前記回転軸131を内包する外筒120を有している。
回転軸131には直動部材133の端部に固定されたナット132が螺合されており、回転軸131の正逆回転により直動部材133が往復動する。
モータ101および外筒120は、減速機102に対して平行に同一方向に延びるように設けられており、直線作動機100は全体として直動部材133の作動方向の全長が短くなっている。
外筒120の軸方向中間部には、内部の回転軸131およびナット132にグリス等の潤滑剤を供給するための給脂口121が設けられ、該給脂口121は給脂口ボルト123により密封されており、図2に示すように直線作動機100が壁Wと床Gの直近に設置された場合、給脂口121が壁Wと反対側(図面左方向)に向けられることで、設置された状態で潤滑剤の補給等のメンテナンスが可能となっている。
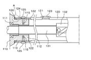
また、図3乃至図5に示すように、軸受箱110は、外周面に外筒120と螺合する雄ネジ部113を有するボス部112と、該ボス部112の減速機102側に外筒120の端部が突き当たる端面114を有しており、外筒120は、一方の端部の内周面に軸受箱110のボス部112の雄ネジ部113に螺合する雌ネジ部122を有している。
そして、外筒120の雌ネジ部122の少なくとも1か所に内周と外周とを貫通する位置決め孔124が設けられており、軸受箱110のボス部112には位置決め穴115が設けられており、位置決め孔124と位置決め穴115を位置決めボルト125によって固定することで外筒120を特定の角方向に固定可能に構成されている。
さらに、軸受箱110のボス部112の端面114側と外筒120の端部側とが、それぞれ雄ネジ欠落部116と雌ネジ欠落部127を有し、雄ネジ欠落部116と雌ネジ欠落部127により形成された空間にリング状の弾性シール部材126が密着収容されているとともに、外筒120の端部には外周側に広がるテーパ部128が設けられており、弾性シール部材126、雄ネジ欠落部116および雌ネジ欠落部127の回転軸方向の長さW1、W2、W3は、それぞれ雄ネジ部113および雌ネジ部のネジ山の1ピッチ以上の長さを有している。
次に、以上のように構成された本発明の一実施例である外筒取付構造の外筒120を取り付ける際の手順について説明する。
まず、軸受箱110の雄ネジ欠落部116にリング状の弾性シール部材126を装着した状態で外筒120の雌ネジ部122を軸受箱110のボス部112の雄ネジ部113に螺合する。
このとき、より密封性を高めるとともに固定後の緩みを防止するために、雌ネジ部122と雄ネジ部113に接着剤を適用しても良い。
図4に示すように、外筒120の先端と軸受箱110の端面114の間隔Pとなる位置で外筒120先端のテーパ部128が弾性シール部材126に当接した状態となり、さらに外筒120を螺進させると、弾性シール部材126が外筒120の雌ネジ欠落部127と軸受箱110の雄ネジ欠落部116に挟まれて圧縮され外筒120と軸受箱110は密着する。
図4に示す位置から、図5に示す外筒120の先端と軸受箱110の端面114が接触する位置までのいずれの位置でも、弾性シール部材126が外筒120の雌ネジ欠落部127と軸受箱110の雄ネジ欠落部116に挟まれて圧縮され外筒120と軸受箱110が密着するため、この間の外筒120の螺進により適宜の角方向で固定することができる。
図示した実施例では、間隔Pは、弾性シール部材126の回転軸方向の長さW1の約半分となるため、W1を雄ネジ部113および雌ネジ部のネジ山の2ピッチ程度の長さとすることで間隔Pを1ピッチ分確保できるため、外筒120が1ピッチ分螺進するいずれの位置で固定しても良く、外筒120の角方向を全周のいかなる方向にも設定できる。
そして、図3に示すように、外筒120の位置決め孔124と軸受箱110のボス部112の位置決め穴115を合わせて位置決めボルト125で固定することにより、固定後の緩みが防止される。
なお、位置決めボルト125は外筒120とボス部112の相対回転を阻止するものであり強固に締結される必要はないため、ボルトではなくピン状の部材としても良い。
また、外筒120に設けられた給脂口121と位置決め孔124および軸受箱110のボス部112の位置決め穴115の角方向をあらかじめ設定しておけば、図2に示すように直線作動機100が壁Wと床Gの直近に設置された状態で潤滑剤の補給等のメンテナンスのために給脂口121を特定の方向に向ける必要がある場合でも、外筒120を極めて容易に特定の角方向に正確に固定できる。
さらに、図5に示すように、外筒120の端部には外周側にθの角度で広がるテーパ部128が設けられているため、外筒120が図4に示す位置から図5に示す位置まで螺進しても当接面積が増加して剪断力が集中せず、弾性シール部材が破損することはない。
以上述べたように、本発明の外筒取付構造によれば、各構成部材を小型化することができ、製造・組立を容易となるとともに、外筒を特定の角方向に正確に固定し緩みを防止することができるなど、その効果は甚大である。
本発明の一実施例である外筒取付構造を備えた直線作動機の側面図。 本発明の一実施例である外筒取付構造を備えた直線作動機の正面図。 本発明の一実施例である外筒取付構造の断面説明図。 図3の一部拡大図。 図3の他の状態での一部拡大図。 従来の直線作動機の一部断面側面図。 従来の外筒取付構造の説明側面図。 従来の外筒取付構造の説明正面図。 従来の他の外筒取付構造の説明側面図。 従来の他の外筒取付構造の説明断面図。
符号の説明
100、500 ・・・直線作動機
101 ・・・モータ
102 ・・・減速機
110、 610、710 ・・・軸受箱
111、511 ・・・軸受
112、 712 ・・・ボス部
113、 713 ・・・雄ネジ部
114、 714 ・・・端面
115 ・・・位置決め穴
116 ・・・雄ネジ欠落部
661 ・・・フランジ
120、520、620、720 ・・・外筒
121、521、621、721 ・・・給脂口
122、 722 ・・・雌ネジ部
123、523、623、723 ・・・給脂口ボルト
124 ・・・位置決め孔
125 ・・・位置決めボルト
126 ・・・弾性シール部材
127 ・・・雌ネジ欠落部
128 ・・・テーパ部
671 ・・・フランジ
672 ・・・固定ボルト
773 ・・・固定ナット
774 ・・・雄ネジ部
775 ・・・雌ネジ部
130、530 ・・・回転駆動源
131、531 ・・・回転軸
132、532 ・・・ナット
133、533 ・・・直動部材

Claims (5)

  1. 回転駆動源の出力取出部に設けられ軸受を介して回転軸を保持する軸受箱と、該軸受箱から前記回転駆動源の外方に延びる前記回転軸を同軸に内包する外筒とを密着固定する外筒取付構造において、
    前記軸受箱が、外周面に前記外筒と螺合する雄ネジ部を有するボス部と、該ボス部の回転駆動源側に前記外筒の端部が突き当たる端面部を有し、
    前記外筒が、一方の端部の内周面に前記軸受箱のボス部に螺合する雌ネジ部を有し、
    前記軸受箱のボス部の端面側と前記外筒の端部側が、それぞれ雄ネジ欠落部と雌ネジ欠落部を有し、両欠落部により形成された空間に弾性シール部材が密着収容されていることを特徴とする外筒取付構造。
  2. 前記外筒が、雌ネジ部の少なくとも1か所に内周と外周とを貫通する位置決め孔を有し、
    前記ボス部が、前記回転軸の軸線と直交する方向に位置決め穴を有していることを特徴とする請求項1に記載の外筒取付構造。
  3. 前記弾性シール部材が、前記雄ネジ部及び雌ネジ部のネジ山の1ピッチ以上の回転軸方向の厚みを有し、
    前記雄ネジ欠落部と雌ネジ欠落部が、それぞれ前記雄ネジ部及び雌ネジ部のネジ山の1ピッチ以上の回転軸方向の長さを有していることを特徴とする請求項1または請求項2に記載の外筒取付構造。
  4. 前記雌ネジ欠落部が、前記外筒の端部に外周側に広がるテーパ部を有することを特徴とする請求項1乃至請求項3のいずれかに記載の外筒取付構造。
  5. 前記回転軸が、螺合されるナットを往復動させる送りネジ軸であり、
    前記外筒が、他方の端部において前記ナットに接続された直動部材を軸方向に進退可能に支持するとともに、中間部に潤滑剤を供給する給脂口を有していることを特徴とする請求項1乃至請求項4のいずれかに記載の外筒取付構造。
JP2008271039A 2008-10-21 2008-10-21 外筒取付構造 Active JP4748612B2 (ja)

Priority Applications (1)

Application Number Priority Date Filing Date Title
JP2008271039A JP4748612B2 (ja) 2008-10-21 2008-10-21 外筒取付構造

Applications Claiming Priority (1)

Application Number Priority Date Filing Date Title
JP2008271039A JP4748612B2 (ja) 2008-10-21 2008-10-21 外筒取付構造

Publications (2)

Publication Number Publication Date
JP2010101348A true JP2010101348A (ja) 2010-05-06
JP4748612B2 JP4748612B2 (ja) 2011-08-17

Family

ID=42292177

Family Applications (1)

Application Number Title Priority Date Filing Date
JP2008271039A Active JP4748612B2 (ja) 2008-10-21 2008-10-21 外筒取付構造

Country Status (1)

Country Link
JP (1) JP4748612B2 (ja)

Citations (5)

* Cited by examiner, † Cited by third party
Publication number Priority date Publication date Assignee Title
JPS5913182A (ja) * 1982-06-03 1984-01-23 ヨ−ゼフ・ガルトナ−・アンド・カンパニ− 溶接不要の導管接合装置
JPS6263452U (ja) * 1985-10-11 1987-04-20
JPS6338710A (ja) * 1986-07-31 1988-02-19 太陽鉄工株式会社 2部材相互の連結装置
JPH0828523A (ja) * 1994-07-18 1996-02-02 Nabco Ltd 長尺油圧シリンダのロッド連結装置
JP2005230287A (ja) * 2004-02-19 2005-09-02 Mizuno Corp 長さ調節機構および長さ調節機構を装着した杖

Patent Citations (5)

* Cited by examiner, † Cited by third party
Publication number Priority date Publication date Assignee Title
JPS5913182A (ja) * 1982-06-03 1984-01-23 ヨ−ゼフ・ガルトナ−・アンド・カンパニ− 溶接不要の導管接合装置
JPS6263452U (ja) * 1985-10-11 1987-04-20
JPS6338710A (ja) * 1986-07-31 1988-02-19 太陽鉄工株式会社 2部材相互の連結装置
JPH0828523A (ja) * 1994-07-18 1996-02-02 Nabco Ltd 長尺油圧シリンダのロッド連結装置
JP2005230287A (ja) * 2004-02-19 2005-09-02 Mizuno Corp 長さ調節機構および長さ調節機構を装着した杖

Also Published As

Publication number Publication date
JP4748612B2 (ja) 2011-08-17

Similar Documents

Publication Publication Date Title
US9644727B2 (en) Wave gear device and hollow rotating actuator
JP2017225255A (ja) ケーブルグランド
CN202224665U (zh) 机床的轴承预负载结构
JP3949123B2 (ja) 航空機用モジュール取付装置
JP4748612B2 (ja) 外筒取付構造
JP2010216610A (ja) ロボットのシャフトに対するフランジ取付構造
EP3124805A1 (en) Setscrew, affixation structure, affixation method, and sealing structure
JP2016050597A (ja) スタッドボルト及び部材結合構造
JP2013224710A (ja) モータと減速装置の連結構造
JP2017087374A (ja) ロボットのハンド接続構造
JP2010043690A (ja) 転がり軸受およびベアリングユニット
WO2019088217A1 (ja) インサートナット
CN105401729B (zh) 振动棒的机壳与圆头的连接结构
JP6088326B2 (ja) スタッドボルト締め付け用ソケット
JP2010019373A (ja) 分割型シール環
EP2868940A2 (en) Dowel element
JP2012026495A (ja) ドライブシャフトベアリングのハウジング装置
JP2007151361A (ja) モータ付直交軸減速機、直交軸減速機、及び、ロボットの関節構造
US10830332B2 (en) Small-size reduction gearbox
WO2008076011A1 (en) A spherical roller bearing with integrated locking device
US20090056485A1 (en) Method of Connecting and Fixing Ball Screw Shaft to Motor Shaft
KR20110005565U (ko) 리드 스크류 어셈블리
JP6500759B2 (ja) 圧入治具
CN115388083B (zh) 连杆装置
KR101738113B1 (ko) 마찰 체결도구

Legal Events

Date Code Title Description
A977 Report on retrieval

Free format text: JAPANESE INTERMEDIATE CODE: A971007

Effective date: 20101216

A131 Notification of reasons for refusal

Free format text: JAPANESE INTERMEDIATE CODE: A131

Effective date: 20101221

A521 Written amendment

Free format text: JAPANESE INTERMEDIATE CODE: A523

Effective date: 20110216

TRDD Decision of grant or rejection written
A01 Written decision to grant a patent or to grant a registration (utility model)

Free format text: JAPANESE INTERMEDIATE CODE: A01

Effective date: 20110511

A01 Written decision to grant a patent or to grant a registration (utility model)

Free format text: JAPANESE INTERMEDIATE CODE: A01

A61 First payment of annual fees (during grant procedure)

Free format text: JAPANESE INTERMEDIATE CODE: A61

Effective date: 20110511

R150 Certificate of patent or registration of utility model

Ref document number: 4748612

Country of ref document: JP

Free format text: JAPANESE INTERMEDIATE CODE: R150

Free format text: JAPANESE INTERMEDIATE CODE: R150

FPAY Renewal fee payment (event date is renewal date of database)

Free format text: PAYMENT UNTIL: 20140527

Year of fee payment: 3

S533 Written request for registration of change of name

Free format text: JAPANESE INTERMEDIATE CODE: R313533

R350 Written notification of registration of transfer

Free format text: JAPANESE INTERMEDIATE CODE: R350

S111 Request for change of ownership or part of ownership

Free format text: JAPANESE INTERMEDIATE CODE: R313111

R350 Written notification of registration of transfer

Free format text: JAPANESE INTERMEDIATE CODE: R350