JP2010096930A - 光走査装置、調整方法及び画像形成装置 - Google Patents
光走査装置、調整方法及び画像形成装置 Download PDFInfo
- Publication number
- JP2010096930A JP2010096930A JP2008266938A JP2008266938A JP2010096930A JP 2010096930 A JP2010096930 A JP 2010096930A JP 2008266938 A JP2008266938 A JP 2008266938A JP 2008266938 A JP2008266938 A JP 2008266938A JP 2010096930 A JP2010096930 A JP 2010096930A
- Authority
- JP
- Japan
- Prior art keywords
- optical
- lens
- scanning
- optical system
- light
- Prior art date
- Legal status (The legal status is an assumption and is not a legal conclusion. Google has not performed a legal analysis and makes no representation as to the accuracy of the status listed.)
- Granted
Links
Images
Classifications
-
- G—PHYSICS
- G02—OPTICS
- G02B—OPTICAL ELEMENTS, SYSTEMS OR APPARATUS
- G02B26/00—Optical devices or arrangements for the control of light using movable or deformable optical elements
- G02B26/08—Optical devices or arrangements for the control of light using movable or deformable optical elements for controlling the direction of light
- G02B26/10—Scanning systems
- G02B26/12—Scanning systems using multifaceted mirrors
- G02B26/123—Multibeam scanners, e.g. using multiple light sources or beam splitters
-
- G—PHYSICS
- G02—OPTICS
- G02B—OPTICAL ELEMENTS, SYSTEMS OR APPARATUS
- G02B26/00—Optical devices or arrangements for the control of light using movable or deformable optical elements
- G02B26/08—Optical devices or arrangements for the control of light using movable or deformable optical elements for controlling the direction of light
- G02B26/10—Scanning systems
- G02B26/12—Scanning systems using multifaceted mirrors
- G02B26/124—Details of the optical system between the light source and the polygonal mirror
Landscapes
- Physics & Mathematics (AREA)
- General Physics & Mathematics (AREA)
- Optics & Photonics (AREA)
- Facsimile Scanning Arrangements (AREA)
- Laser Beam Printer (AREA)
- Mechanical Optical Scanning Systems (AREA)
Abstract
【解決手段】複数の発光部が2次元配列された光源14からの光束の光路上に配置されたカップリング光学系15は、正のパワー有する第1のレンズ15aと、該第1のレンズ15aを介した光束が入射し、入射面及び射出面がいずれも凹面で負のパワーを有する第2のレンズ15bとを含んでいる。この場合には、入射面及び射出面のいずれかが平面の場合に比べて、第2のレンズ15bの成形性を向上させることができる。また、第2のレンズ15bにおける収差補正に対する設計自由度が高くなる。さらに、第2のレンズ15bの入射面及び射出面での反射光が光源へ戻るのを抑制することができる。
【選択図】図4
Description
(1)光源ユニットLUを、光源ユニット評価装置AD1(図8参照)に対して所定位置にセットする。
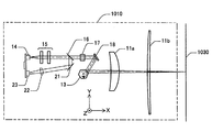
カップリング光学系15の変形例が図18に示されている。この場合も、第2のレンズ15bの射出面が特殊トロイダル面であり、その非球面係数が図19に示されている。
Claims (13)
- 光束により被走査面を主走査方向に走査する光走査装置であって、
複数の発光部が2次元配列された光源と;
正のパワーを有する第1光学素子と、該第1光学素子を介した光束が入射し、入射面及び射出面がいずれも凹面で、前記入射面の近軸曲率半径の絶対値が前記射出面の近軸曲率半径の絶対値よりも大きく、負のパワーを有する第2光学素子とを含み、前記光源からの光束をカップリングするカップリング光学系と;
前記カップリング光学系を介した光束を偏向する偏向器と:
前記偏向器で偏向された光束を前記被走査面上に集光する走査光学系と;を備える光走査装置。 - 前記第1光学素子と前記第2光学素子の間隔は、前記カップリング光学系及び前記走査光学系が含まれる光学系全体の副走査方向に関する横倍率が所望の値となるように調整されていることを特徴とする請求項1に記載の光走査装置。
- 前記第1光学素子の材質と前記第2光学素子の材質は互いに異なり、
前記カップリング光学系は、温度変化に起因する前記光学系全体の焦点位置の変化を抑制することを特徴とする請求項2に記載の光走査装置。 - 前記第1光学素子のパワーの絶対値は、前記第2光学素子のパワーの絶対値よりも大きいことを特徴とする請求項1〜3のいずれか一項に記載の光走査装置。
- 前記カップリング光学系と前記偏向器との間の光路上に配置され、第1の方向の開口幅が該第1の方向に直交する第2の方向の開口幅よりも大きい開口部を有する開口部材を更に備え、
前記第2光学素子は、射出面の断面形状が前記第1の方向に関して非円弧形状であることを特徴とする請求項1〜4のいずれか一項に記載の光走査装置。 - 前記第1の方向は、主走査方向と一致していることを特徴とする請求項5に記載の光走査装置。
- 前記開口部材における開口部の周囲で反射された光束を受光する受光素子を更に備えることを特徴とする請求項5又は6に記載の光走査装置。
- 前記光源と前記カップリング光学系は、一体化された保持部材に、互いに所定の位置関係で保持されていることを特徴とする請求項1〜7のいずれか一項に記載の光走査装置。
- 前記光源は、基板上に前記複数の発光部が形成された面発光レーザアレイを有することを特徴とする請求項1〜8のいずれか一項に記載の光走査装置。
- 請求項3に記載の光走査装置における光学系全体の副走査方向に対応する方向に関する横倍率及び焦点位置を調整する調整方法であって、
前記光源から複数の光束を射出し、前記光走査装置によって走査される被走査面に対応する評価像面上に照射する工程と;
前記評価像面上でのビームピッチが所望の値となるように、前記第1光学素子と前記第2光学素子の間隔を調整する工程と;
前記光源から複数の光束が前記評価像面上で集光するように、前記第1光学素子と前記第2光学素子の間隔を前記調整された間隔のままで、前記第1光学素子及び前記第2光学素子を光軸方向に移動する工程と;を含む調整方法。 - 請求項3に記載の光走査装置における光学系全体の副走査方向に対応する方向に関する横倍率及び焦点位置を調整する調整方法であって、
前記光源から複数の光束を射出し、前記光走査装置によって走査される被走査面に対応する評価像面上に照射する工程と;
前記光源から複数の光束が前記評価像面上で集光するように、前記第1光学素子を光軸方向に移動する工程と;
前記評価像面上でのビームピッチが所望の値となるように、前記第2光学素子を光軸方向に移動する工程と;を含む調整方法。 - 少なくとも1つの像担持体と;
前記少なくとも1つの像担持体に対して画像情報が含まれる光束を走査する少なくとも1つの請求項1〜9のいずれか一項に記載の光走査装置と;を備える画像形成装置。 - 前記画像情報は、多色の画像情報であることを特徴とする請求項12に記載の画像形成装置。
Priority Applications (2)
| Application Number | Priority Date | Filing Date | Title |
|---|---|---|---|
| JP2008266938A JP5316759B2 (ja) | 2008-10-16 | 2008-10-16 | 光走査装置、調整方法及び画像形成装置 |
| US12/575,954 US8085455B2 (en) | 2008-10-16 | 2009-10-08 | Optical scanning device, method of adjusting the same, and image forming apparatus |
Applications Claiming Priority (1)
| Application Number | Priority Date | Filing Date | Title |
|---|---|---|---|
| JP2008266938A JP5316759B2 (ja) | 2008-10-16 | 2008-10-16 | 光走査装置、調整方法及び画像形成装置 |
Publications (2)
| Publication Number | Publication Date |
|---|---|
| JP2010096930A true JP2010096930A (ja) | 2010-04-30 |
| JP5316759B2 JP5316759B2 (ja) | 2013-10-16 |
Family
ID=42108443
Family Applications (1)
| Application Number | Title | Priority Date | Filing Date |
|---|---|---|---|
| JP2008266938A Expired - Fee Related JP5316759B2 (ja) | 2008-10-16 | 2008-10-16 | 光走査装置、調整方法及び画像形成装置 |
Country Status (2)
| Country | Link |
|---|---|
| US (1) | US8085455B2 (ja) |
| JP (1) | JP5316759B2 (ja) |
Families Citing this family (5)
| Publication number | Priority date | Publication date | Assignee | Title |
|---|---|---|---|---|
| CN102033300A (zh) * | 2009-09-30 | 2011-04-27 | 鸿富锦精密工业(深圳)有限公司 | 全景透镜及使用该全景透镜的全景拍摄系统 |
| JP5691528B2 (ja) | 2011-01-07 | 2015-04-01 | 株式会社リコー | 光走査装置及び画像形成装置 |
| JP5896215B2 (ja) | 2012-01-24 | 2016-03-30 | 株式会社リコー | 光走査装置及び画像形成装置 |
| JP5837892B2 (ja) * | 2013-01-23 | 2015-12-24 | 東芝テック株式会社 | 結像素子アレイ及び画像形成装置 |
| JP6492966B2 (ja) | 2015-05-22 | 2019-04-03 | 株式会社リコー | 光源ユニット、画像表示装置 |
Citations (8)
| Publication number | Priority date | Publication date | Assignee | Title |
|---|---|---|---|---|
| JPH0519202A (ja) * | 1991-07-10 | 1993-01-29 | Hitachi Ltd | 光ビ−ム走査光学装置 |
| JP2001343605A (ja) * | 2000-05-31 | 2001-12-14 | Ricoh Co Ltd | 光書込装置 |
| JP2001350111A (ja) * | 2000-04-06 | 2001-12-21 | Ricoh Co Ltd | マルチビーム走査装置 |
| JP2002023084A (ja) * | 2000-07-03 | 2002-01-23 | Minolta Co Ltd | マルチ光源走査光学装置 |
| JP2002214556A (ja) * | 2001-01-19 | 2002-07-31 | Ricoh Co Ltd | 走査結像光学系・光走査装置および画像形成装置 |
| JP2003177295A (ja) * | 2001-12-10 | 2003-06-27 | Sony Corp | 温度補償機能を備えたレンズ系及び光学ヘッド装置 |
| JP2007298563A (ja) * | 2006-04-27 | 2007-11-15 | Ricoh Co Ltd | 光源システム、光走査装置、画像形成装置、光量制御方法、光走査方法、及び画像形成方法 |
| JP2008209675A (ja) * | 2007-02-27 | 2008-09-11 | Ricoh Co Ltd | 光走査装置及び画像形成装置 |
Family Cites Families (22)
| Publication number | Priority date | Publication date | Assignee | Title |
|---|---|---|---|---|
| US8213068B1 (en) * | 1994-09-06 | 2012-07-03 | Canon Kabushiki Kaisha | Scanning optical apparatus |
| JP3445050B2 (ja) | 1995-02-28 | 2003-09-08 | キヤノン株式会社 | 走査光学装置及びマルチビーム走査光学装置 |
| JP3303558B2 (ja) * | 1994-09-06 | 2002-07-22 | キヤノン株式会社 | 走査光学装置 |
| KR960032037A (ko) * | 1995-02-25 | 1996-09-17 | 김광호 | 광주사장치 |
| JP2005338865A (ja) | 1995-02-28 | 2005-12-08 | Canon Inc | 走査光学装置及びそれを有するレーザービームプリンタ |
| JP4208209B2 (ja) | 1998-06-22 | 2009-01-14 | フジノン株式会社 | コリメータレンズおよびこれを用いた光走査装置 |
| US6256133B1 (en) * | 1998-07-03 | 2001-07-03 | Ricoh Co., Ltd. | Optical scanning apparatus |
| JP3768734B2 (ja) | 1998-07-03 | 2006-04-19 | 株式会社リコー | 走査結像レンズ・光走査装置および画像形成装置 |
| JP2002287055A (ja) | 2001-03-26 | 2002-10-03 | Fuji Xerox Co Ltd | 光走査装置および画像形成装置 |
| US6829102B2 (en) * | 2002-03-20 | 2004-12-07 | Ricoh Company, Ltd. | Zoom lens, and camera and portable information terminal for utilizing zoom lens |
| JP4090291B2 (ja) * | 2002-06-26 | 2008-05-28 | 大日本スクリーン製造株式会社 | 光走査装置 |
| JP2004144947A (ja) * | 2002-10-23 | 2004-05-20 | Ricoh Co Ltd | ズームレンズ、カメラ、及び携帯情報端末装置 |
| JP4975983B2 (ja) * | 2005-06-29 | 2012-07-11 | 株式会社リコー | 光走査装置、マルチビーム光走査装置及び画像形成装置 |
| JP4616118B2 (ja) * | 2005-08-04 | 2011-01-19 | 株式会社リコー | 光走査装置及び画像形成装置 |
| JP4739996B2 (ja) * | 2006-03-14 | 2011-08-03 | 株式会社リコー | 光走査装置および画像形成装置 |
| US8233209B2 (en) * | 2007-01-31 | 2012-07-31 | Ricoh Company, Limited | Optical scanning device and image forming apparatus |
| JP5224161B2 (ja) * | 2007-04-24 | 2013-07-03 | 株式会社リコー | 光走査装置及び画像形成装置 |
| US7903135B2 (en) * | 2007-04-26 | 2011-03-08 | Ricoh Company, Ltd. | Optical scanning device and image forming apparatus for optimizing arrangement intervals in a main-scanning direction and a sub-scanning direction |
| US7738007B2 (en) * | 2007-09-04 | 2010-06-15 | Ricoh Company, Ltd. | Optical scanning device and method for adjusting errors |
| JP5267850B2 (ja) | 2007-09-04 | 2013-08-21 | 株式会社リコー | 光走査装置の生産方法 |
| JP5022253B2 (ja) * | 2008-01-31 | 2012-09-12 | 株式会社リコー | 光走査装置及び画像形成装置 |
| JP5112098B2 (ja) * | 2008-02-05 | 2013-01-09 | 株式会社リコー | 光走査装置及び画像形成装置 |
-
2008
- 2008-10-16 JP JP2008266938A patent/JP5316759B2/ja not_active Expired - Fee Related
-
2009
- 2009-10-08 US US12/575,954 patent/US8085455B2/en not_active Expired - Fee Related
Patent Citations (8)
| Publication number | Priority date | Publication date | Assignee | Title |
|---|---|---|---|---|
| JPH0519202A (ja) * | 1991-07-10 | 1993-01-29 | Hitachi Ltd | 光ビ−ム走査光学装置 |
| JP2001350111A (ja) * | 2000-04-06 | 2001-12-21 | Ricoh Co Ltd | マルチビーム走査装置 |
| JP2001343605A (ja) * | 2000-05-31 | 2001-12-14 | Ricoh Co Ltd | 光書込装置 |
| JP2002023084A (ja) * | 2000-07-03 | 2002-01-23 | Minolta Co Ltd | マルチ光源走査光学装置 |
| JP2002214556A (ja) * | 2001-01-19 | 2002-07-31 | Ricoh Co Ltd | 走査結像光学系・光走査装置および画像形成装置 |
| JP2003177295A (ja) * | 2001-12-10 | 2003-06-27 | Sony Corp | 温度補償機能を備えたレンズ系及び光学ヘッド装置 |
| JP2007298563A (ja) * | 2006-04-27 | 2007-11-15 | Ricoh Co Ltd | 光源システム、光走査装置、画像形成装置、光量制御方法、光走査方法、及び画像形成方法 |
| JP2008209675A (ja) * | 2007-02-27 | 2008-09-11 | Ricoh Co Ltd | 光走査装置及び画像形成装置 |
Also Published As
| Publication number | Publication date |
|---|---|
| US20100097679A1 (en) | 2010-04-22 |
| US8085455B2 (en) | 2011-12-27 |
| JP5316759B2 (ja) | 2013-10-16 |
Similar Documents
| Publication | Publication Date | Title |
|---|---|---|
| JP5112098B2 (ja) | 光走査装置及び画像形成装置 | |
| US7738007B2 (en) | Optical scanning device and method for adjusting errors | |
| US8134766B2 (en) | Optical scanning device and image forming apparatus | |
| JP4859132B2 (ja) | 光源装置、光走査装置及び画像形成装置 | |
| JP2009053379A (ja) | 光走査装置及び画像形成装置 | |
| JP2009053378A (ja) | 光走査装置及び画像形成装置 | |
| JP2010134430A (ja) | 走査光学装置及びそれを用いた画像形成装置 | |
| JP5022253B2 (ja) | 光走査装置及び画像形成装置 | |
| JP5316759B2 (ja) | 光走査装置、調整方法及び画像形成装置 | |
| JP5173879B2 (ja) | 光走査装置及びそれを用いた画像形成装置 | |
| JP5644513B2 (ja) | 光走査装置、及び画像形成装置 | |
| JP2012042733A (ja) | 光走査装置及び画像形成装置 | |
| EP2725407A1 (en) | Light scanning unit and image forming apparatus including the same | |
| JP4294913B2 (ja) | 光走査装置および画像形成装置 | |
| JP4979444B2 (ja) | 光走査装置及び画像形成装置 | |
| JP5267850B2 (ja) | 光走査装置の生産方法 | |
| JP2008216514A (ja) | 光走査装置及び画像形成装置 | |
| JP5751528B2 (ja) | 画像形成装置 | |
| JP2008052197A (ja) | 光走査装置及びそれを用いた画像形成装置 | |
| JP6304476B2 (ja) | 光走査装置及び画像形成装置 | |
| JP4800897B2 (ja) | 光走査装置及び画像形成装置 | |
| JP2010224197A (ja) | 光源装置、光走査装置及び画像形成装置 | |
| JP4891146B2 (ja) | 光走査装置及び画像形成装置 | |
| JP2013160819A (ja) | 光走査装置及び画像形成装置 | |
| JP6202940B2 (ja) | 光ビーム出射装置、光走査装置および画像形成装置 |
Legal Events
| Date | Code | Title | Description |
|---|---|---|---|
| A621 | Written request for application examination |
Free format text: JAPANESE INTERMEDIATE CODE: A621 Effective date: 20110812 |
|
| A977 | Report on retrieval |
Free format text: JAPANESE INTERMEDIATE CODE: A971007 Effective date: 20120823 |
|
| A131 | Notification of reasons for refusal |
Free format text: JAPANESE INTERMEDIATE CODE: A131 Effective date: 20120829 |
|
| A521 | Written amendment |
Free format text: JAPANESE INTERMEDIATE CODE: A523 Effective date: 20121019 |
|
| A131 | Notification of reasons for refusal |
Free format text: JAPANESE INTERMEDIATE CODE: A131 Effective date: 20130215 |
|
| A521 | Written amendment |
Free format text: JAPANESE INTERMEDIATE CODE: A523 Effective date: 20130402 |
|
| TRDD | Decision of grant or rejection written | ||
| A01 | Written decision to grant a patent or to grant a registration (utility model) |
Free format text: JAPANESE INTERMEDIATE CODE: A01 Effective date: 20130612 |
|
| A61 | First payment of annual fees (during grant procedure) |
Free format text: JAPANESE INTERMEDIATE CODE: A61 Effective date: 20130625 |
|
| R151 | Written notification of patent or utility model registration |
Ref document number: 5316759 Country of ref document: JP Free format text: JAPANESE INTERMEDIATE CODE: R151 |
|
| LAPS | Cancellation because of no payment of annual fees |
