JP2010095385A - 吸引式壜台、並びにこれを用いた容器搬送装置及び容器検査装置 - Google Patents

吸引式壜台、並びにこれを用いた容器搬送装置及び容器検査装置 Download PDF

Info

Publication number
JP2010095385A
JP2010095385A JP2008333686A JP2008333686A JP2010095385A JP 2010095385 A JP2010095385 A JP 2010095385A JP 2008333686 A JP2008333686 A JP 2008333686A JP 2008333686 A JP2008333686 A JP 2008333686A JP 2010095385 A JP2010095385 A JP 2010095385A
Authority
JP
Japan
Prior art keywords
suction
container
movable body
cup
decompression chamber
Prior art date
Legal status (The legal status is an assumption and is not a legal conclusion. Google has not performed a legal analysis and makes no representation as to the accuracy of the status listed.)
Granted
Application number
JP2008333686A
Other languages
English (en)
Other versions
JP5196174B2 (ja
Inventor
Seiji Nakajima
清治 中島
Shinya Mazaki
伸也 真崎
Keiichi Fujimoto
圭一 藤本
Current Assignee (The listed assignees may be inaccurate. Google has not performed a legal analysis and makes no representation or warranty as to the accuracy of the list.)
Omron Kirin Techno System Co Ltd
Original Assignee
Kirin Techno System Co Ltd
Priority date (The priority date is an assumption and is not a legal conclusion. Google has not performed a legal analysis and makes no representation as to the accuracy of the date listed.)
Filing date
Publication date
Application filed by Kirin Techno System Co Ltd filed Critical Kirin Techno System Co Ltd
Priority to JP2008333686A priority Critical patent/JP5196174B2/ja
Priority to PCT/JP2009/066126 priority patent/WO2010032735A1/ja
Priority to KR1020117007982A priority patent/KR101196621B1/ko
Priority to CN2009801365842A priority patent/CN102159475B/zh
Publication of JP2010095385A publication Critical patent/JP2010095385A/ja
Application granted granted Critical
Publication of JP5196174B2 publication Critical patent/JP5196174B2/ja
Active legal-status Critical Current
Anticipated expiration legal-status Critical

Links

Images

Classifications

    • BPERFORMING OPERATIONS; TRANSPORTING
    • B65CONVEYING; PACKING; STORING; HANDLING THIN OR FILAMENTARY MATERIAL
    • B65GTRANSPORT OR STORAGE DEVICES, e.g. CONVEYORS FOR LOADING OR TIPPING, SHOP CONVEYOR SYSTEMS OR PNEUMATIC TUBE CONVEYORS
    • B65G47/00Article or material-handling devices associated with conveyors; Methods employing such devices
    • B65G47/74Feeding, transfer, or discharging devices of particular kinds or types
    • B65G47/84Star-shaped wheels or devices having endless travelling belts or chains, the wheels or devices being equipped with article-engaging elements
    • B65G47/846Star-shaped wheels or wheels equipped with article-engaging elements
    • B65G47/848Star-shaped wheels or wheels equipped with article-engaging elements the article-engaging elements being suction or magnetic means
    • BPERFORMING OPERATIONS; TRANSPORTING
    • B65CONVEYING; PACKING; STORING; HANDLING THIN OR FILAMENTARY MATERIAL
    • B65GTRANSPORT OR STORAGE DEVICES, e.g. CONVEYORS FOR LOADING OR TIPPING, SHOP CONVEYOR SYSTEMS OR PNEUMATIC TUBE CONVEYORS
    • B65G47/00Article or material-handling devices associated with conveyors; Methods employing such devices
    • B65G47/74Feeding, transfer, or discharging devices of particular kinds or types
    • B65G47/80Turntables carrying articles or materials to be transferred, e.g. combined with ploughs or scrapers
    • BPERFORMING OPERATIONS; TRANSPORTING
    • B65CONVEYING; PACKING; STORING; HANDLING THIN OR FILAMENTARY MATERIAL
    • B65GTRANSPORT OR STORAGE DEVICES, e.g. CONVEYORS FOR LOADING OR TIPPING, SHOP CONVEYOR SYSTEMS OR PNEUMATIC TUBE CONVEYORS
    • B65G47/00Article or material-handling devices associated with conveyors; Methods employing such devices
    • B65G47/74Feeding, transfer, or discharging devices of particular kinds or types
    • B65G47/84Star-shaped wheels or devices having endless travelling belts or chains, the wheels or devices being equipped with article-engaging elements
    • B65G47/841Devices having endless travelling belts or chains equipped with article-engaging elements
    • B65G47/842Devices having endless travelling belts or chains equipped with article-engaging elements the article-engaging elements being grippers
    • GPHYSICS
    • G01MEASURING; TESTING
    • G01NINVESTIGATING OR ANALYSING MATERIALS BY DETERMINING THEIR CHEMICAL OR PHYSICAL PROPERTIES
    • G01N21/00Investigating or analysing materials by the use of optical means, i.e. using sub-millimetre waves, infrared, visible or ultraviolet light
    • G01N21/84Systems specially adapted for particular applications
    • G01N21/88Investigating the presence of flaws or contamination
    • G01N21/90Investigating the presence of flaws or contamination in a container or its contents
    • BPERFORMING OPERATIONS; TRANSPORTING
    • B65CONVEYING; PACKING; STORING; HANDLING THIN OR FILAMENTARY MATERIAL
    • B65GTRANSPORT OR STORAGE DEVICES, e.g. CONVEYORS FOR LOADING OR TIPPING, SHOP CONVEYOR SYSTEMS OR PNEUMATIC TUBE CONVEYORS
    • B65G2201/00Indexing codes relating to handling devices, e.g. conveyors, characterised by the type of product or load being conveyed or handled
    • B65G2201/02Articles
    • B65G2201/0235Containers
    • B65G2201/0244Bottles

Landscapes

  • Engineering & Computer Science (AREA)
  • Mechanical Engineering (AREA)
  • Analytical Chemistry (AREA)
  • Health & Medical Sciences (AREA)
  • Life Sciences & Earth Sciences (AREA)
  • Chemical & Material Sciences (AREA)
  • Physics & Mathematics (AREA)
  • Biochemistry (AREA)
  • General Health & Medical Sciences (AREA)
  • General Physics & Mathematics (AREA)
  • Immunology (AREA)
  • Pathology (AREA)
  • Specific Conveyance Elements (AREA)
  • Filling Of Jars Or Cans And Processes For Cleaning And Sealing Jars (AREA)
  • Hooks, Suction Cups, And Attachment By Adhesive Means (AREA)

Abstract

【課題】容器の底部の窪んだ中心部に吸着カップを十分に密着させて容器を確実に保持することが可能な吸引式壜台を提供する。
【解決手段】壜台本体21の収容室26aに可動体22を上下動自在に嵌め合わせ、その可動体22の上面側のカップ取付軸40をヘッド34の貫通孔34bに挿入し、カップ取付軸40には吸着カップ23を連結し、吸着カップ23をコイルばね24により下方に押し付ける。可動体22とヘッド34との間には上部減圧室37を設け、ベース32から案内軸25bを延ばして可動体22の凹部22aに挿入し、それらの間に下部減圧室35を設ける。カップ取付軸40の軸線CL上には、下部減圧室35を経由して吸着カップ23の内部に至る吸引路45を設け、その吸引路45を介して空気を吸引したときに、可動体22をコイルばね24の力に抗して上方へ移動させる。
【選択図】図4

Description

本発明は、容器の底部を吸引してその容器を保持する吸引式壜台、並びにこれを用いた容器搬送装置及び容器検査装置に関する。
所定の搬送経路に沿って容器を搬送しつつその容器を自転させ、自転している容器の外観を撮像して容器の外観の異常の有無を検査する検査装置が知られている。このような検査装置では、容器の外観を撮像する際に邪魔にならないように壜台の上に載置された容器の底部を保持してその容器を搬送することが望ましい。このように底部を保持して容器を搬送すべくスターホイール装置などの搬送装置に使用される壜台として、壜台の上端に吸着カップ(吸引カップや吸着パッドとも呼ばれる。)などの吸着部を設け、この吸着部に吸引力を作用させつつ吸着部を容器の底部に接触させてその底部を吸引保持する吸引式壜台が知られている。このような壜台として、容器の底面に刻印などの凸部が設けられた容器を吸引保持すべく尖端部の断面がV字形であり、そのV字形の外周部と内周部とを容器の底面に接触させる吸着カップを備えたものが知られている(例えば特許文献1参照)。
特開平9−2658号公報
従来の吸引式壜台では、吸着カップが壜台本体に対して一定の位置に固定されている。従って、容器の底部の窪み形状によっては、吸着カップと容器の底部との密着が不十分となり、容器の安定性が損なわれるおそれがある。底部外周に沿って凹凸が付されたいわゆるペタロイド形状の底部を有する容器に関しては、その凹凸部に吸着カップが接すると、凹凸部の隙間を介して吸着カップ内に空気が吸い込まれて十分な吸引力が得られず、容器の安定性が損なわれるおそれがある。
本発明は、容器の底部の窪んだ中心部に吸着カップを十分に密着させて容器を確実に保持することが可能な吸引式壜台、並びに容器搬送装置及び容器検査装置を提供することを目的とする。
本発明の吸引式壜台は、保持対象の容器(100)の底部外周(101a)を下方から支持する支持面(20a)を上端に有し、内部には、周壁(33)、上部隔壁(34)及び下部隔壁(32)にて囲まれた収容室(26a)を有する壜台本体(21)と、前記収容室の前記周壁に上下動自在に嵌め合わされ、上面側には、前記上部隔壁の中心部の貫通孔(34b)に挿入されるカップ取付軸(40)が設けられた可動体(22)と、前記可動体の上下方向への移動に伴って、前記支持面の中心部から上方に突出した吸着位置(図5又は図6)と、前記吸着位置よりも下方に後退した待機位置(図4)との間で移動できるようにして前記カップ取付軸と連結された吸着カップ(23)と、前記吸着カップを前記吸着位置から前記待機位置に移動させる力を発生するばね部材(24)と、を具備し、前記可動体と前記上部隔壁との間には、前記カップ取付軸を取り囲むようにして上部減圧室(37)が設けられ、前記可動体又は前記下部隔壁のいずれか一方には、前記カップ取付軸と同軸の案内軸(25b)が、他方には前記案内軸が嵌り合う凹部(22a)がそれぞれ設けられ、前記案内軸と前記凹部との間には下部減圧室(35)が設けられ、前記カップ取付軸の軸線(CL)上には、前記壜台本体の下面側から前記下部減圧室を経由して前記吸着カップの内部に至る吸引路(45)が設けられ、前記吸引路と前記上部減圧室とが接続され、前記吸引路を介して前記吸着カップの内部、前記上部減圧室及び前記下部減圧室から空気を吸引したときに、前記可動体を前記ばね部材の力に抗して上方へ移動させる駆動力が当該可動体に作用するように、前記下部減圧室の軸線と直交する断面の面積が前記上部減圧室の前記軸線と直交する断面の面積よりも小さく設定されていることにより、上述した課題を解決する。
本発明の吸引式壜台においては、吸引路を介して吸着カップから空気を吸引すると、上部減圧室の圧力が低下して可動体に上向きの吸引力が作用する。吸引路が下部減圧室を経由しているため、空気の吸引に伴って下部減圧室も減圧され、それに伴って可動体には下向きの吸引力も作用する。しかしながら、可動体をばね部材の力に抗して上方へ移動させる駆動力が当該可動体に作用するように、下部減圧室の断面積が上部減圧室のそれよりも小さく設定されているため、可動体はばね部材の力に抗して上方に移動する。それにより、可動体と連結された吸着カップが待機位置から吸着位置へと移動する。吸着位置では吸着カップが支持面よりも上方に突出するため、底部の中心部が窪んでいる形状の容器であっても、その外周を支持面で下方から支持しつつ、中心部に吸着カップを十分に密着させることができる。そのため、容器を確実に保持することができる。吸引を停止した場合には、吸着カップがばね部材の力で吸着位置よりも下方に後退した待機位置へと復帰する。従って、吸着カップを吸着位置に固定した場合と比較して、容器の支持面への搬入あるいは支持面からの搬出に際し吸着カップが邪魔になり難く、搬入搬出動作の円滑化を図ることができる。
しかも、本発明の吸引式壜台においては、下部隔壁又は可動体のいずれか一方に案内軸を、他方に凹部を設けてそれらを嵌め合わせることにより、可動体と下部隔壁との間に下部減圧室を形成し、その下部減圧室を経由して吸引路を設けている。従って、壜台本体の下面側から吸着カップの取付軸の軸線に沿って直線的に吸引路を延ばすことができる。それにより、吸引路のレイアウトを簡素化し、それにより壜台内部の構成の簡素化を図ることができる。
本発明の吸引式壜台の一形態において、前記可動体の下面側には、前記壜台本体の連絡孔(26b)を介して該壜台本体の外部に通じる大気開放室(32c)が前記案内軸を取り囲むように設けられてもよい。この場合には、上部減圧室から空気を吸引すると、上部減圧室と大気開放室との間の圧力差に応じた比較的大きな上向きの駆動力が可動体に作用する。従って、下部減圧室の減圧に伴って発生する下向きの吸引力の影響を小さく抑えて可動体を確実に上昇させることができる。
前記連絡孔は前記収容室から前記周壁の外周に通じるように設けられ、前記可動体には、前記連絡孔に対して上下動自在に挿入され、かつ外周側の端部が前記周壁よりも外側に突出する突起部(22e)が設けられ、前記周壁の外周には、前記突起部の上面側との接触部(38a、38b)を有する調整部材(38)が、前記接触部の上下方向の位置を変更できるように設けられ、前記接触部を最も下方に位置させたときに該接触部が前記連絡孔の上端よりも下方に位置していてもよい。この形態によれば、調整部材の接触部の位置を上下に変更することにより、可動体が上昇したときの停止位置を変化させることができる。これにより、保持対象の容器の底部中心部における窪み量の大小に対応させて吸着カップの吸着位置を上下方向に変化させることが可能である。
本発明の吸引式壜台の一形態において、前記下部隔壁の下端側には、前記案内軸と同軸でかつ前記下部隔壁の下方に突出する支持軸(25)が設けられ、前記案内軸は前記支持軸の一部として前記下部隔壁側に設けられ、前記吸引路は前記支持軸の内部を経由して前記壜台本体の下面側から前記下部減圧室に通じていてもよい。この形態によれば、壜台本体の下部隔壁を貫くようにして支持軸を収容室の内外に延ばし、その支持軸を軸線方向に貫く孔を形成しつつ、支持軸の収容室内への突出部分に可動体の凹部を嵌め合わせることにより、下部減圧室と、壜台本体の下面側からその下部減圧室に通じる吸引路の一部を設けることができる。支持軸の下方への突出部分は、壜台を支持するための手段として利用することができる。
さらに、前記支持軸には、前記壜台本体を該支持軸の軸線の回りに回転させる回転駆動力を伝達するための回転伝達部材(31)が設けられてもよい。これにより、支持軸を中心として壜台を外部からの回転駆動力で回転させることが可能である。
本発明の吸引式壜台の一形態においては、前記吸引路と前記上部減圧室とが前記カップ取付軸に設けられた接続路(48)を介して接続されてもよい。下部減圧室から可動体を貫いて吸着カップ内まで吸引路が延ばされているため、カップ取付軸の内部からそのカップ取付軸の外周まで接続路を設けることにより、上部減圧室を吸引路に接続することができる。
さらに、前記ばね部材が上下方向に圧縮された状態で前記上部減圧室内に配置されてもよい。上部減圧室は可動体と周壁と上部隔壁とに囲まれるため、その内部にばね部材を圧縮状態で配置すれば、圧縮に対する復元力で可動体に下方へのばね力を与えることができる。
上述した形態においては、案内軸が凹部に挿入されてそれらの間に下部減圧室が設けられる一方で、可動体の上面側の中心部にて吸着カップと可動体とが連結されるので、上部減圧室はそれらの連結部分の外周側に位置することになる。従って、可動体に作用する上向きの吸引力が下向きの吸引力とばね部材の力との合力よりも大きくなるように、上部減圧室側の吸引力作用面の面積を下部減圧室側の吸引力作用面の面積よりも容易に大きく設定することができる。しかも、可動体の上下に減圧室が存在しているので、下部減圧室を経由しつつ案内軸の軸線に沿って可動体を貫くように吸引路を設けることにより、ケース外から吸着カップに至るまでの吸引路のレイアウトが容易である。そのため、壜台の内部構造を簡素化することができる。
本発明の一形態において、前記壜台本体には、前記上部隔壁を上方から覆うキャップ(27)が設けられ、前記キャップの上面には前記支持面(20a)が設けられ、前記キャップの中心部には前記吸着カップが通過するカップ孔(27a)が設けられ、前記キャップの下面と前記上部隔壁との間には、前記カップ孔よりも外側の領域を一周するようにしてシールリング(50)が設けられてもよい。この形態によれば、可動体のカップ取付軸と上部隔壁の貫通孔との摺動部分に、空気が通過可能な隙間が存在する場合でも、上部隔壁とキャップとの間をシールリングで閉じることにより、カップ孔以外からの空気の侵入経路を閉じて上部減圧室への空気の吸い込みを抑え、それにより容器の吸引力を高めることができる。
本発明は、上述した吸引式壜台と、前記吸引式壜台を所定の搬送経路に沿って移動させる移動手段(14)と、を備えた容器搬送装置(10)として構成されてもよい。あるいは、その容器搬送装置と、該容器搬送装置の前記吸引式壜台に保持された容器を撮像する撮像手段(5)とを具備し、前記撮像手段が撮像した容器の画像に基づいて所定の検査を実施する容器検査装置(1)として構成されてもよい。
なお、以上の説明では本発明の理解を容易にするために添付図面の参照符号を括弧書きにて付記したが、それにより本発明が図示の形態に限定されるものではない。
以上に説明したように、本発明においては、吸着カップ内から吸引路を介して空気を吸引することにより、可動体が上方へ駆動されて吸着カップが支持面よりも上方に突出した吸着位置へと移動する。従って、底部の中心部が窪んでいる形状の容器であっても、その外周を支持面で下方から支持しつつ、中心部に吸着カップを十分に密着させることができる。そのため、容器を確実に保持することができる。吸引を停止した場合には、吸着カップがばね部材の力で吸着位置よりも下方に後退した待機位置へと復帰する。従って、吸着カップを吸着位置に固定した場合と比較して、容器の支持面への搬入あるいは支持面からの搬出に際し吸着カップが邪魔になり難く、搬入搬出動作の円滑化を図ることができる。しかも、壜台本体の下面側から吸着カップの取付軸の軸線に沿って直線的に吸引路を延ばすことができるので、吸引路のレイアウトを簡素化し、それにより壜台内部の構成の簡素化を図ることができる。
図1は、本発明の一形態に係る容器検査装置を示している。この容器検査装置1は、図2に一例を示した容器100に対して検査を行うものである。容器100は、PET製の容器いわゆるペットボトルであり、飲料などの内容物が充填されて密閉される周知のものである。図2に示したように容器100の底部101の外周部101aには、下方に突出する複数(例えば5個)の凸部102が設けられている。凸部102は、周方向に所定の間隔で設けられている。そのため、容器100の底部101は、外周部101aに対して中心部101bが凹み、かつ外周部101aに周方向に凹凸が交互に設けられた形状、いわゆるペタロイド形状に形成されている。
容器検査装置1は、この容器100を所定経路に沿って搬送しつつその搬送中の容器100に対して種々の検査を行うものである。検査としては、例えば容器100の外観の異常の有無を検査する外観検査が行われる。図1に示したように、容器検査装置1は、容器100を所定経路に沿って搬送させるために搬送方向上流側から順に、スクリュー式搬送装置2、第1スターホイール式搬送装置3、容器搬送装置としてのホイール式搬送装置10、及び第2スターホイール式搬送装置4を備えている。また、容器検査装置1は、搬送されている容器100の外観を撮像する撮像手段としての複数のカメラ5を備えている。第2スターホイール式搬送装置4から排出された容器100は、排出コンベア6にて下流の工程に搬送される。第1スターホイール式搬送装置3及び第2スターホイール式搬送装置4は、スターホイール3a、4aの外周に等間隔で設けられた複数のポケット(不図示)に容器100を取り込んで搬送する周知のものである。また、スクリュー式搬送装置2は、スクリュー2aによって容器100の間隔を下流の第1スターホイール式搬送装置3のポケット間のピッチに揃える周知のものである。そのため、これらの搬送装置2、3、4についての詳細な説明は省略する。また、容器検査装置1による検査は、複数のカメラ5で容器100を撮像し、得られた画像に基づいて容器100の外観の異常の有無といった所定の検査を実施する周知の検査でよい。従って、検査のための機構の詳細は説明を省略する。
図3は、ホイール式搬送装置10の断面を示した図である。ホイール式搬送装置10は、壜台20の上端の支持面20a上に載置された容器100を壜台20に保持させ、この壜台20に保持させた容器100を自転させつつ所定の搬送経路に沿って搬送するものである。ホイール式搬送装置10は、架台11に複数の軸受12を介して回転自在に支持される回転軸13と、回転軸13の上端に取り付けられて回転軸13と一体回転する移動手段としての円盤状のホイール14と、ホイール14の外周に周方向に等間隔で設けられる複数の壜台20とを備えている。回転軸13の下端にはギア15が一体回転するように設けられており、このギア15に不図示の駆動モータの回転が伝達されることにより回転軸13及びホイール14が回転駆動される。また、ホイール式搬送装置10は、壜台20による容器100の保持及びその保持の解除を切り替えるための切替弁16を備えている。切替弁16は、吸引手段としての吸引ポンプ17と壜台20との間の空気吸引経路の途中に設けられ、ホイール式搬送装置10で容器100を搬送すべき区間において壜台20に吸引力が作用するように吸引ポンプ17と壜台20との接続及び遮断を切り替える周知のものである。そのため、詳細な説明は省略する。
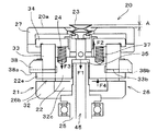
図4は、壜台20の軸線方向断面図である。壜台20は、壜台本体21と、可動体22と、吸着カップ23と、ばね部材としての複数のコイルばね24とを備えている。壜台本体21は、支持軸としての回転軸25と、その回転軸25に取り付けられるケース26と、ケース26の上方に配置されるキャップ27とを備えている。回転軸25はベアリング29を介してホルダ30に回転自在に支持されている。図3に示すように、ホルダ30は、ホイール14の壜台取付孔14aに嵌め合わされた状態でボルト等の固定部材(不図示)を用いてホイール14に固定されている。これにより、回転軸25はその軸線CLを上下方向に向けた状態でホイール14の外周に回転自在に支持されている。回転軸25の下端には、回転伝達部材としてのプーリ31が一体回転可能に取り付けられている。プーリ31には不図示のベルトが巻き掛けられている。そのベルトが走行することにより、プーリ31を介して回転軸25が軸線CLを中心として回転駆動される。
図4に戻って、回転軸25には、ベアリング29よりも上方に位置するようにしてフランジ25aが設けられている。フランジ25aの上方には案内軸25bが設けられている。ケース26は、カップ型のベース32と、そのベース32の上面32aに重ね合わされる円筒形状のケース本体33と、ケース本体33の上面33aに重ね合わされる概略円盤状のヘッド34とを備えている。ベース32、ケース本体33及びヘッド34は互いに同軸的に配置されてボルト等の固定部材(不図示)により一体的に接合されている。ベース32は、その下面側が回転軸25のフランジ25aに嵌め合わされた状態で回転軸25に同軸的に固定されている。これにより、ケース26は回転軸25の軸線CLを中心に回転軸25と一体回転可能である。
ケース本体33の内部には収容室26aが設けられている。収容室26aの下端はベース32で、上端はヘッド34でそれぞれ覆われている。これにより、ベース32は下部隔壁として、ケース本体33は周壁として、ヘッド34は上部隔壁としてそれぞれ機能する。回転軸25の案内軸25bは、ベース32の中心部を貫いて収容室26a内に突出する。可動体22は、収容室26a内に上下方向へ移動可能な状態で収容されている。可動体22には、その下面側に開口する凹部22aが設けられている。その凹部22a内に案内軸25bが挿入されている。それにより、案内軸25bの上端部と凹部22aの天井面22bとの間には下部減圧室35が形成されている。案内軸25bの外周面と凹部22aの内周面との間にはスリーブ36が設けられている。スリーブ36は凹部22aの内周面に圧入等の嵌め合い手段を用いて固定されている。スリーブ36が案内軸25bに沿って円滑に摺動できるように、スリーブ36と案内軸25bとの間には微小な隙間が存在する。その隙間を介してベース32の凹部32bと可動体22の下面との間に囲まれた空間32cから下部減圧室35に空気が漏れるが、その漏れ流量は下部減圧室35の減圧に支障のない程度に制限される。
一方、収容室26aの可動体22よりも上方のスペースがヘッド34で閉じられることにより、可動体22の上面22cとヘッド34の下面34aとの間には上部減圧室37が設けられている。その上部減圧室37にコイルばね24が収容されている。各コイルばね24の下端部は、可動体22の上面側に開口するばね受け穴22dに嵌め合わされている。各コイルばね24は、ヘッド34によって上下方向に圧縮された状態で上部減圧室37内に保持されている。各コイルばね24の圧縮に対する復元力により、可動体22には下方への押し込み力が作用している。可動体22の下端部には、外周に向かって複数の突起部22eが設けられている。ケース26のケース本体33の下端部には、突起部22eと同数の溝部33bが設けられている。それらの溝部33bとベース32の上面32aとによって収容室26aからケース本体33の外周に通じる連絡孔26bが形成されている。突起部22eは、連絡孔26bのそれぞれに対して上下方向に摺動自在に嵌め合わされている。突起部22eの外周側の端部はケース本体33の外周よりも突出する。可動体22は、コイルばね24の復元力によって突起部22eがベース32の上面32a(つまり、連絡孔26bの下端)に突き当たった位置(図4に示す位置)に押し付けられる。なお、可動体22の外周面とケース本体33の内周面との間にも、可動体22を円滑に摺動させるための微小な隙間が存在する。その隙間を介して連絡孔26bから上部減圧室37に空気が漏れるが、その漏れ流量は上部減圧室37の減圧に支障のない程度に制限される。
ケース本体33の外周には、調整部材としての調整リング38が取り付けられている。調整リング38は、ケース本体33に対して軸線CLの回りに回転可能かつ軸線方向には移動不能な状態でケース本体33に取り付けられている。調整リング38の下面38a側には、突起部22eを受け入れ可能な溝部38bが設けられている。調整リング38の下面38aは連絡孔26bの上端よりも下方に位置している。溝部38bの底(下方から見上げたときの上端面)は、ケース本体33の連絡孔26bの上端と上下方向に同一高さである。調整リング38をその下面38aが突起部22eと対向するように周方向に位置決めした状態で可動体22をコイルばね24の力に抗して上方へ移動させた場合には、突起部22eが調整リング38の下面38aと突き当たってそれ以上の可動体22の上昇が阻止される(図5参照)。一方、調整リング38をその溝部38bが突起部22eと対向するように周方向に位置決めした状態で可動体22をコイルばね24の力に抗して上方へ移動させた場合には、突起部22eがケース本体33の溝部33b及び調整リング38の溝部38bのそれぞれの底と突き当たってそれ以上の可動体22の上昇が阻止される(図6参照)。つまり、可動体22が上昇したときの停止位置は、調整リング38の周方向の位置に応じて二段階に変化する。従って、本形態では調整リング38の下面38a又は溝部38bの底が突起部22eに対する接触部として選択的に機能する。
図4に示すように、ヘッド34の外周はケース本体33よりも突出し、その突出部分にキャップ27が取り付けられている。キャップ27はヘッド34を上方から覆っている。キャップ27の上面は、軸線CLと直交する平坦面に形成されており、その上面が壜台20の支持面20aとして機能する。キャップ27の中心部にはカップ孔27aが貫通している。可動体22の上面22c側の中心部には、カップ取付軸40が一体に形成されている。カップ取付軸40と案内軸25bとは同軸である。ヘッド34の中心部には、そのヘッド34を軸線CLに沿って上下に貫く貫通孔34bが形成されている。カップ取付軸40は、その貫通孔34bにブッシュ41を介して摺動自在に嵌め合わされている。可動体22がその移動範囲の下端に位置するとき(図4の状態)、カップ取付軸40の上端部はブッシュ41の上面と略面一の位置にある。従って、上部減圧室37は、カップ取付軸40を取り囲むようにして、可動体22とヘッド34との間に形成される。吸着カップ23は、カップ孔27aに通されてカップ取付軸40の上端部に同軸的かつ着脱自在に取り付けられている。吸着カップ23は、内部の空気を吸引することにより吸着作用を生じる弾性体(一例としてゴム、エラストマー)製の部品である。吸着カップ23の上端の直径は、図2に示した容器100の底部101の窪み部分(中心部101bに相当する。)の直径RBよりも小さい。
可動体22が、ベース32に突き当たるまで下降している場合、吸着カップ23はその上端がキャップ27の支持面20aと同一高さ、又は支持面20aよりも下方に後退した位置にある。このときの吸着カップ23の位置が待機位置である。一方、可動体22がベース32から離れて上昇すると、吸着カップ23は支持面20aよりも上方に突出する。その突出したときの吸着カップ23の位置が吸着位置である。但し、可動体22が上昇したときの停止位置は図5及び図6に示すように二位置存在する。よって、吸着カップ23の吸着位置も二段階に変化する。言い換えれば、支持面20aからの吸着カップ23の突出量は、図5に示す小突出量Aと、図6に示す大突出量Bとの間で切り替え可能である。
吸着カップ23の内部から空気を吸引するため、壜台20には吸引路45が設けられている。吸引路45は、回転軸25の内部をその軸線CLに沿って貫通する第1通路46と、可動体22のカップ取付軸40の内部を軸線CLに沿って貫通する第2通路47とを備えている。第1通路46と第2通路47との間には下部減圧室35が位置する。それにより、下部減圧室35も吸引路45の一部として利用されている。これにより、吸引路45は、壜台本体21の下面側から下部減圧室35を経由して吸着カップ23の内部に至るようにカップ取付軸40の軸線CLに沿って延びている。可動体22には、カップ取付軸40を軸線CLと直交する方向に貫通する複数の接続路48が設けられている。それらの接続路48を介して第2通路47と上部減圧室37とが接続されている。従って、吸着カップ23の内部、下部減圧室35及び上部減圧室37は共通の吸引路45と接続されている。図3に示すように、第1通路46の下端には継手18が取り付けられている。継手18と切替弁16とはチューブ19を介して接続されている。切替弁16を介して吸引ポンプ17と吸引路45とを接続することにより、吸着カップ23の内部、下部減圧室35及び上部減圧室37のそれぞれから空気が吸引されてそれらの内圧が低下する。
図5に示したように、吸着カップ23等の内部から空気を吸引したとき、下部減圧室35の圧力低下に伴って可動体22には下向きの吸引力F1が作用する。一方、上部減圧室37の圧力低下に伴って可動体22には上向きの吸引力F2が作用する。減圧室35、37は共通の吸引路45に接続されているため、両室35、37の圧力は互いに等しい。そのため、可動体22に作用する吸引力の大小関係は、上部減圧室37の軸線CLと直交する断面の面積積と、下部減圧室35の軸線CLと直交する断面の面積との大小関係によって定まる。また、可動体22には、コイルばね24の押し込み力F3が下方に作用している。さらに、ベース32と可動体22との間の空間32cは連絡孔26bを介して壜台本体21の外部、より詳しくはケース本体33の外周に通じている。このため、空間32cは大気圧に保持されて大気開放室として機能する。それにより、可動体22には大気圧による押し上げ力F4が作用する。従って、下向きの力の合力(F1+F3)よりも上向きの合力(F2+F4)が大きくなるように下部減圧室35の断面積を上部減圧室37の断面積よりも小さく制限すれば、減圧に伴って可動体22には上向きの駆動力が作用することになる。このように断面積を設定することで、吸引路45からの空気の吸引に伴って可動体22を上昇させ、それにより吸着カップ23を待機位置から吸着位置へと移動させることができる。
吸着カップ23を支持面20aよりも突出した吸着位置へと移動させることにより、壜台20の支持面20aにて容器100の底部101の外周部101aを支持しつつ、その中心部101bに吸着カップ23を十分に密着させて容器100を確実に保持することができる。一方、容器100の吸着を必要としない場合には、切替弁16を介して吸引路45を大気中に開放することにより、減圧室35、37を大気圧まで昇圧させ、コイルばね24の力で吸着カップ23を待機位置へと戻せばよい。待機位置では吸着カップ23が支持面20aから突出しないので、壜台20に対して容器100を搬入し又は搬出する際に吸着カップ23が邪魔にならない利点がある。なお、厳密には吸着カップ23が容器100を吸着した場合、容器100が下方に引き寄せられ、その反力で吸着カップ23から可動体22のカップ取付軸40に上向きに引き込まれる。可動体22に作用する上向きの駆動力にはその反力も加味される。
本形態の壜台20においては、可動体22を挟んで上下に減圧室35、37を形成し、可動体22の両室35、37の断面積を差別化することにより、可動体22に上向きの駆動力を作用させて吸着カップ23を待機位置から吸着位置へと上昇させている。下部減圧室35を廃止して可動体22の下面側をその全面に亘って大気開放室とした場合には、その大気開放室を迂回するようにして吸着カップ23及び上部減圧室37に通じる吸引路を形成する必要があり、吸引路のレイアウトが複雑化する。例えば、ベース32からケース本体33を経由して上部減圧室37に至るように吸引路をレイアウトする必要が生じ、そのレイアウトが複雑化して壜台20の内部構造も複雑化する。これに対して、本形態の壜台20では、回転軸25から可動体22を経て吸着カップ23に至るまで、それらの軸線CLに沿って吸引路45を設けつつ、その吸引路45から上部減圧室37に向かって接続路48を設けるだけで足りる。従って、ケース本体33側に吸引路を引き回すといった迂回手段を講じる必要がない。よって、吸引路45のレイアウトが簡素化され、ひいては壜台20の内部構造が簡素化される。
本形態の壜台20によれば、調整リング38を周方向に操作することにより、吸着カップ23の支持面20aからの突出量を変化させることができる。そのため、容器100の底部101の中心部101bの窪み量に応じて吸着カップ23の上昇時の停止位置、すなわち吸着位置を切り替えて、底部101をより確実かつ安定して保持することができる。なお、上記では吸着位置を二段階に切り替え可能としたが、深さが異なる複数種類の溝部33bを設けることにより、吸着位置を三段階又はそれ以上に変化させることができる。あるいは、ケース本体33の外周に雄ねじ部を形成し、調整リング38の内周に雌ねじ部を形成してそれらを噛み合わせるようにすれば、調整リング38の下面38aの高さを連続的変化させて吸着位置を無段階に変化させることができる。
吸着カップ23を待機位置から吸着位置へと移動させる場合、吸着位置に近付くほどコイルばね24の圧縮量が増加してそれらの復元力が大きくなる。そのため、吸着カップ23が容器100の中心部101bに接近するに連れて吸着カップ23の上昇の勢いが弱められ、吸着カップ23が容器中心部101bに接する際の衝撃が緩和される。一方、吸着カップ23を吸着位置から待機位置に戻す際には、コイルばね24の復元力が最大の状態から吸着カップ23の下降が開始されるので、吸着カップ23の初期加速度が大きく、吸着カップ23による容器100の保持を迅速に解除することができる。
本発明は、上述した形態に限ることなく種々の形態にて実施することができる。例えば、上記の形態では、案内軸25bを下部隔壁としてのベース32側に、凹部22aを可動体22に設けているが、これらと逆に、可動体22の下面側から下方に向かって案内軸を突出させ、その案内軸が挿入される凹部をベース32に設けてそれらの間に下部減圧室を設けてもよい。カップ取付軸を可動体とは別部品として形成し、可動体の上面にカップ取付軸及び吸着カップを取り付けてもよい。ばね部材は上部減圧室内に限らず、可動体に下向きの力を付与できる限りにおいて適宜の位置に設けてよい。コイルばねに限らず、他の形態のばね、あるいは、ゴム、エラストマーといった弾性体をばね部材として利用してもよい。
上記の形態では、カップ取付軸40とブッシュ41との摺動部分に隙間が存在するため、その隙間から上部減圧室37に空気が吸い込まれる可能性がある。しかし、隙間量が微小であれば、上部減圧室37の減圧には支障がない。もっとも、容器100の吸引力を高めるためには、例えば図7に示したように、キャップ27の下面とヘッド34の上面との間に、カップ孔27aよりも外側の領域を一周するようにシールリング50を設けてキャップ27とヘッド34との間をシールしてもよい。そのシールリング50により、キャップ27とヘッド34との間の隙間から上部減圧室37に至る空気の侵入経路Cを閉じて上部減圧室37への空気の吸い込みを抑え、それにより、容器100の吸引力を高めることができる。なお、図7の形態では、ヘッド34の上面側に、カップ孔27aの内周と嵌合する円筒部34cが設けられ、その円筒部34cの外側にシールリング50が嵌め合わされている。また、ケース26には複数のプランジャ52と、それらのプランジャ52を上方に押し出すばね53とが設けられている。プランジャ52はヘッド34を貫いてキャップ27に押し付けられている。その押し付け力により、キャップ27の下部フランジ27bがヘッド34の外周に下方から押し付けられてキャップ27がヘッド34に拘束される。
待機位置における吸着カップの上端は、容器の円滑な搬入搬出動作の実現に支障がない限りにおいて、支持面よりも幾らか突出していてもよい。吸着位置における吸着カップの支持面からの突出量が一定で足りる場合、調整部材を利用した吸着位置の切り替え構造は省略可能である。可動体の下面側の大気開放室は、上部減圧室からの空気の吸引に伴って可動体を上昇させ得る限りにおいて、これを省略してもよい。すなわち、可動体の下面側において案内軸の周囲を外部に対して閉じた空間とした場合であっても、上部減圧室を減圧することによって可動体の上下の圧力に差を生じさせ、その圧力差を利用して可動体を上昇させ得る。本形態では、壜台を回転させるために壜台本体の下面側に支持軸としての回転軸を突出させているが、下部隔壁それ自体を支持できる限りにおいて、支持軸を壜台本体の下面側に突出させる構造を省略してもよい。さらに、本発明は壜台を回転させる構成に限定されることなく、壜台を回転させない場合でも適用可能である。本発明の吸引式壜台は、容器検査装置に組み込まれる容器搬送装置の一部として利用される形態に限らず、各種の装置において容器の底部を保持するための壜台として利用可能である。本発明において、保持対象の容器はペタロイド形状の底部を有するPETボトルに限らない。また、本発明において、「壜台」の概念は、「壜」と称呼される容器の保持に限定して使用される例に限らない。底部の中心部が窪んでいる容器であれば、ペタロイド形状の有無に関わりなく本発明の吸引式壜台にて保持することが可能である。
本発明の一形態に係る容器搬送装置が組み込まれた容器検査装置を示す図。 図1の容器検査装置で検査される容器の一例を示す図。 図1のホイール式搬送装置の断面を示す図。 本発明の一形態に係る壜台の軸線方向断面図。 吸引路から空気を吸引したときの状態を示す図。 図5よりも吸着カップの突出量を大きく設定して吸引路から空気を吸引したときの状態を示す図。 上部隔壁としてのヘッドとキャップとの間にシールリングを設けた形態を示す図。
符号の説明
1 容器検査装置
5 カメラ(撮像手段)
10 ホイール式搬送装置(容器搬送装置)
20 壜台
20a 支持面
21 壜台本体
22 可動体
22a 可動体の凹部
22c 可動体の上面
22e 可動体の突起部
23 吸着カップ
24 コイルばね(ばね部材)
25 回転軸(支持軸)
25b 案内軸
26 ケース
26a 収容室
26b 連絡孔
27 キャップ
27a カップ孔
31 プーリ(回転伝達部材)
32 ベース(下部隔壁)
32b ベースの凹部(大気開放室)
33 ケース本体(周壁)
34 ヘッド(上部隔壁)
34b ヘッドの貫通孔
35 下部減圧室
37 上部減圧室
38 調整リング(調整部材)
38a 調整リングの下面(接触部)
38b 溝部(接触部)
40 カップ取付軸
45 吸引路
48 接続路
50 シールリング
100 容器
101 容器の底部
101a 底部の外周部
101b 底部の中心部
CL 軸線

Claims (10)

  1. 保持対象の容器の底部外周を下方から支持する支持面を上端に有し、内部には、周壁、上部隔壁及び下部隔壁にて囲まれた収容室を有する壜台本体と、
    前記収容室の前記周壁に上下動自在に嵌め合わされ、上面側には、前記上部隔壁の中心部の貫通孔に挿入されるカップ取付軸が設けられた可動体と、
    前記可動体の上下方向への移動に伴って、前記支持面の中心部から上方に突出した吸着位置と、前記吸着位置よりも下方に後退した待機位置との間で移動できるようにして前記カップ取付軸と連結された吸着カップと、
    前記吸着カップを前記吸着位置から前記待機位置に移動させる力を発生するばね部材と、を具備し、
    前記可動体と前記上部隔壁との間には、前記カップ取付軸を取り囲むようにして上部減圧室が設けられ、
    前記可動体又は前記下部隔壁のいずれか一方には、前記カップ取付軸と同軸の案内軸が、他方には前記案内軸が嵌り合う凹部がそれぞれ設けられ、
    前記案内軸と前記凹部との間には下部減圧室が設けられ、
    前記カップ取付軸の軸線上には、前記壜台本体の下面側から前記下部減圧室を経由して前記吸着カップの内部に至る吸引路が設けられ、
    前記吸引路と前記上部減圧室とが接続され、
    前記吸引路を介して前記吸着カップの内部、前記上部減圧室及び前記下部減圧室から空気を吸引したときに、前記可動体を前記ばね部材の力に抗して上方へ移動させる駆動力が当該可動体に作用するように、前記下部減圧室の軸線と直交する断面の面積が前記上部減圧室の前記軸線と直交する断面の面積よりも小さく設定されている、ことを特徴とする吸引式壜台。
  2. 前記可動体の下面側には、前記壜台本体の連絡孔を介して該壜台本体の外部に通じる大気開放室が前記案内軸を取り囲むように設けられている請求項1に記載の吸引式壜台。
  3. 前記連絡孔は前記収容室から前記周壁の外周に通じるように設けられ、
    前記可動体には、前記連絡孔に対して上下動自在に挿入され、かつ外周側の端部が前記周壁よりも外側に突出する突起部が設けられ、
    前記周壁の外周には、前記突起部の上面側との接触部を有する調整部材が、前記接触部の上下方向の位置を変更できるように設けられ、
    前記接触部を最も下方に位置させたときに該接触部が前記連絡孔の上端よりも下方に位置している、ことを特徴とする請求項2に記載の吸引式壜台。
  4. 前記下部隔壁の下端側には、前記案内軸と同軸でかつ前記下部隔壁の下方に突出する支持軸が設けられ、前記案内軸は前記支持軸の一部として前記下部隔壁側に設けられ、前記吸引路は前記支持軸の内部を経由して前記壜台本体の下面側から前記下部減圧室に通じていることを特徴とする請求項1〜3のいずれか一項に記載の吸引式壜台。
  5. 前記支持軸には、前記壜台本体を該支持軸の軸線の回りに回転させる回転駆動力を伝達するための回転伝達部材が設けられていることを特徴とする請求項4に記載の吸引式壜台。
  6. 前記吸引路と前記上部減圧室とが前記カップ取付軸に設けられた接続路を介して接続されていることを特徴とする請求項1〜5のいずれか一項に記載の吸引式壜台。
  7. 前記ばね部材が上下方向に圧縮された状態で前記上部減圧室内に配置されていることを特徴とする請求項1〜6のいずれか一項に記載の吸引式壜台。
  8. 前記壜台本体には、前記上部隔壁を上方から覆うキャップが設けられ、前記キャップの上面には前記支持面が設けられ、前記キャップの中心部には前記吸着カップが通過するカップ孔が設けられ、前記キャップの下面と前記上部隔壁との間には、前記カップ孔よりも外側の領域を一周するようにしてシールリングが設けられている請求項1〜7のいずれか一項に記載の吸引式壜台。
  9. 請求項1〜8のいずれか一項に記載の吸引式壜台と、前記吸引式壜台を所定の搬送経路に沿って移動させる移動手段と、を備えたことを特徴とする容器搬送装置。
  10. 請求項9に記載の容器搬送装置と、該容器搬送装置の前記吸引式壜台に保持された容器を撮像する撮像手段とを具備し、前記撮像手段が撮像した容器の画像に基づいて所定の検査を実施することを特徴とする容器検査装置。
JP2008333686A 2008-09-18 2008-12-26 吸引式壜台、並びにこれを用いた容器搬送装置及び容器検査装置 Active JP5196174B2 (ja)

Priority Applications (4)

Application Number Priority Date Filing Date Title
JP2008333686A JP5196174B2 (ja) 2008-09-18 2008-12-26 吸引式壜台、並びにこれを用いた容器搬送装置及び容器検査装置
PCT/JP2009/066126 WO2010032735A1 (ja) 2008-09-18 2009-09-16 吸引式壜台、並びにこれを用いた容器搬送装置及び容器検査装置
KR1020117007982A KR101196621B1 (ko) 2008-09-18 2009-09-16 흡인식 보틀 테이블 및 이것을 사용한 용기 반송 장치 및 용기 검사 장치
CN2009801365842A CN102159475B (zh) 2008-09-18 2009-09-16 吸引式托瓶台、使用其的容器输送装置及容器检查装置

Applications Claiming Priority (3)

Application Number Priority Date Filing Date Title
JP2008239674 2008-09-18
JP2008239674 2008-09-18
JP2008333686A JP5196174B2 (ja) 2008-09-18 2008-12-26 吸引式壜台、並びにこれを用いた容器搬送装置及び容器検査装置

Publications (2)

Publication Number Publication Date
JP2010095385A true JP2010095385A (ja) 2010-04-30
JP5196174B2 JP5196174B2 (ja) 2013-05-15

Family

ID=42039559

Family Applications (1)

Application Number Title Priority Date Filing Date
JP2008333686A Active JP5196174B2 (ja) 2008-09-18 2008-12-26 吸引式壜台、並びにこれを用いた容器搬送装置及び容器検査装置

Country Status (4)

Country Link
JP (1) JP5196174B2 (ja)
KR (1) KR101196621B1 (ja)
CN (1) CN102159475B (ja)
WO (1) WO2010032735A1 (ja)

Cited By (1)

* Cited by examiner, † Cited by third party
Publication number Priority date Publication date Assignee Title
US20140202592A1 (en) * 2011-08-26 2014-07-24 Khs Gmbh Filling device

Families Citing this family (5)

* Cited by examiner, † Cited by third party
Publication number Priority date Publication date Assignee Title
EP3202692A4 (en) * 2014-09-30 2018-05-30 Toyo Seikan Co., Ltd. Conveyance device
EP3797883B1 (en) * 2019-09-27 2022-06-08 SCHOTT Schweiz AG Apparatus for inspecting a pharmaceutical container
EP3798621B1 (en) 2019-09-27 2022-11-23 SCHOTT Schweiz AG Apparatus for inspecting a pharmaceutical container
EP3855175B1 (en) 2020-01-23 2023-03-29 SCHOTT Pharma Schweiz AG Detection and characterization of defects in pharmaceutical cylindrical containers
CN121247707A (zh) * 2025-12-04 2026-01-02 广州隆宝科技技术有限公司 一种用于灌装机的瓶件输送装置

Citations (6)

* Cited by examiner, † Cited by third party
Publication number Priority date Publication date Assignee Title
JPS617523B2 (ja) * 1978-09-19 1986-03-07 Diesel Kiki Co
JPH10153201A (ja) * 1996-11-22 1998-06-09 Ckd Corp 流体圧シリンダ
JP2001002240A (ja) * 1999-06-22 2001-01-09 Kirin Techno-System Corp 壜の移送装置
JP2003206025A (ja) * 2002-01-11 2003-07-22 Kirin Techno-System Corp 容器のガイド機構及びこの機構を備えた容器搬送用ロータ
JP2004233129A (ja) * 2003-01-29 2004-08-19 Kooei:Kk 壜等の容器の側面検査装置
JP2005187183A (ja) * 2003-12-26 2005-07-14 Kirin Techno-System Corp 吸引式壜台及びその吸引ヘッド

Family Cites Families (2)

* Cited by examiner, † Cited by third party
Publication number Priority date Publication date Assignee Title
JP4241439B2 (ja) * 2003-06-18 2009-03-18 株式会社村田製作所 チップ型電子部品の取扱い装置
US6915894B2 (en) 2003-06-30 2005-07-12 Emhart Glass S.A. Container inspection machine

Patent Citations (6)

* Cited by examiner, † Cited by third party
Publication number Priority date Publication date Assignee Title
JPS617523B2 (ja) * 1978-09-19 1986-03-07 Diesel Kiki Co
JPH10153201A (ja) * 1996-11-22 1998-06-09 Ckd Corp 流体圧シリンダ
JP2001002240A (ja) * 1999-06-22 2001-01-09 Kirin Techno-System Corp 壜の移送装置
JP2003206025A (ja) * 2002-01-11 2003-07-22 Kirin Techno-System Corp 容器のガイド機構及びこの機構を備えた容器搬送用ロータ
JP2004233129A (ja) * 2003-01-29 2004-08-19 Kooei:Kk 壜等の容器の側面検査装置
JP2005187183A (ja) * 2003-12-26 2005-07-14 Kirin Techno-System Corp 吸引式壜台及びその吸引ヘッド

Cited By (2)

* Cited by examiner, † Cited by third party
Publication number Priority date Publication date Assignee Title
US20140202592A1 (en) * 2011-08-26 2014-07-24 Khs Gmbh Filling device
US10526182B2 (en) * 2011-08-26 2020-01-07 Khs Gmbh Filling device

Also Published As

Publication number Publication date
JP5196174B2 (ja) 2013-05-15
CN102159475B (zh) 2013-09-04
KR101196621B1 (ko) 2012-11-02
CN102159475A (zh) 2011-08-17
WO2010032735A1 (ja) 2010-03-25
KR20110051287A (ko) 2011-05-17

Similar Documents

Publication Publication Date Title
JP5196174B2 (ja) 吸引式壜台、並びにこれを用いた容器搬送装置及び容器検査装置
US7645185B2 (en) Substrate delivery mechanism
CN110815034A (zh) 基板的保持装置、吸附判定和释放方法、研磨装置和方法、除液方法、弹性膜及供气装置
JP5033147B2 (ja) 容器蓋体の結合方法
TWI809192B (zh) 環形框之保持機構
JP5272153B2 (ja) プリフォーム用吸着ヘッド、並びにこれを用いたプリフォーム搬送装置及びプリフォーム検査装置
JP2015040586A (ja) スプリット弁
JP5194227B2 (ja) プリフォーム用吸着ヘッド、及びこれを用いたプリフォーム搬送装置並びにプリフォーム検査装置
JP4050427B2 (ja) 倣い装置
JP5119395B2 (ja) 搬送装置及び検査装置
JP5194228B2 (ja) 吸引式壜台、及びこれを用いた容器搬送装置並びに容器検査装置
JP5401691B2 (ja) 容器搬送装置
JP6268634B2 (ja) 部品実装装置
JP2009161269A (ja) 吸引式壜台、及びこれを用いた容器搬送装置並びに容器検査装置
JP2011126697A (ja) 容器搬送装置
JPH0639768A (ja) 真空吸着装置
CN207645425U (zh) 一种活动式真空吸盘组件
JP2015067419A (ja) 吸着ヘッド、該吸着ヘッドを備えた容器搬送装置、および該容器搬送装置を備えた容器検査装置
KR102134126B1 (ko) 흡착 이송 장치 및 이를 포함하는 성형 시스템
JP4841270B2 (ja) 弁装置および流路制御システム
JP2005132618A (ja) スターホイール装置
JP2007015757A (ja) キャッピング装置
JP4722083B2 (ja) 軸受とこれを使用した実装機
JP2019089633A (ja) 気送子
JP2000128282A (ja) 真空吸着手段を有する物品処理装置

Legal Events

Date Code Title Description
A621 Written request for application examination

Free format text: JAPANESE INTERMEDIATE CODE: A621

Effective date: 20110812

TRDD Decision of grant or rejection written
A01 Written decision to grant a patent or to grant a registration (utility model)

Free format text: JAPANESE INTERMEDIATE CODE: A01

Effective date: 20121225

A61 First payment of annual fees (during grant procedure)

Free format text: JAPANESE INTERMEDIATE CODE: A61

Effective date: 20130122

FPAY Renewal fee payment (event date is renewal date of database)

Free format text: PAYMENT UNTIL: 20160215

Year of fee payment: 3

R150 Certificate of patent or registration of utility model

Ref document number: 5196174

Country of ref document: JP

Free format text: JAPANESE INTERMEDIATE CODE: R150

Free format text: JAPANESE INTERMEDIATE CODE: R150

R250 Receipt of annual fees

Free format text: JAPANESE INTERMEDIATE CODE: R250

R250 Receipt of annual fees

Free format text: JAPANESE INTERMEDIATE CODE: R250

R250 Receipt of annual fees

Free format text: JAPANESE INTERMEDIATE CODE: R250

R250 Receipt of annual fees

Free format text: JAPANESE INTERMEDIATE CODE: R250

R250 Receipt of annual fees

Free format text: JAPANESE INTERMEDIATE CODE: R250

R250 Receipt of annual fees

Free format text: JAPANESE INTERMEDIATE CODE: R250

R250 Receipt of annual fees

Free format text: JAPANESE INTERMEDIATE CODE: R250

R250 Receipt of annual fees

Free format text: JAPANESE INTERMEDIATE CODE: R250

R250 Receipt of annual fees

Free format text: JAPANESE INTERMEDIATE CODE: R250