JP2010095055A - 車両用動力伝達装置の制御装置 - Google Patents

車両用動力伝達装置の制御装置 Download PDF

Info

Publication number
JP2010095055A
JP2010095055A JP2008265650A JP2008265650A JP2010095055A JP 2010095055 A JP2010095055 A JP 2010095055A JP 2008265650 A JP2008265650 A JP 2008265650A JP 2008265650 A JP2008265650 A JP 2008265650A JP 2010095055 A JP2010095055 A JP 2010095055A
Authority
JP
Japan
Prior art keywords
engine
rotational speed
electric motor
power transmission
differential
Prior art date
Legal status (The legal status is an assumption and is not a legal conclusion. Google has not performed a legal analysis and makes no representation as to the accuracy of the status listed.)
Granted
Application number
JP2008265650A
Other languages
English (en)
Other versions
JP5293069B2 (ja
Inventor
Keita Imai
恵太 今井
Toru Matsubara
亨 松原
Atsushi Tabata
淳 田端
Tatsuya Imamura
達也 今村
Kenta Kumazaki
健太 熊▲崎▼
Current Assignee (The listed assignees may be inaccurate. Google has not performed a legal analysis and makes no representation or warranty as to the accuracy of the list.)
Toyota Motor Corp
Original Assignee
Toyota Motor Corp
Priority date (The priority date is an assumption and is not a legal conclusion. Google has not performed a legal analysis and makes no representation as to the accuracy of the date listed.)
Filing date
Publication date
Application filed by Toyota Motor Corp filed Critical Toyota Motor Corp
Priority to JP2008265650A priority Critical patent/JP5293069B2/ja
Publication of JP2010095055A publication Critical patent/JP2010095055A/ja
Application granted granted Critical
Publication of JP5293069B2 publication Critical patent/JP5293069B2/ja
Expired - Fee Related legal-status Critical Current
Anticipated expiration legal-status Critical

Links

Images

Classifications

    • YGENERAL TAGGING OF NEW TECHNOLOGICAL DEVELOPMENTS; GENERAL TAGGING OF CROSS-SECTIONAL TECHNOLOGIES SPANNING OVER SEVERAL SECTIONS OF THE IPC; TECHNICAL SUBJECTS COVERED BY FORMER USPC CROSS-REFERENCE ART COLLECTIONS [XRACs] AND DIGESTS
    • Y02TECHNOLOGIES OR APPLICATIONS FOR MITIGATION OR ADAPTATION AGAINST CLIMATE CHANGE
    • Y02TCLIMATE CHANGE MITIGATION TECHNOLOGIES RELATED TO TRANSPORTATION
    • Y02T10/00Road transport of goods or passengers
    • Y02T10/60Other road transportation technologies with climate change mitigation effect
    • Y02T10/62Hybrid vehicles

Landscapes

  • Hybrid Electric Vehicles (AREA)
  • Control Of Vehicle Engines Or Engines For Specific Uses (AREA)
  • Electric Propulsion And Braking For Vehicles (AREA)

Abstract

【課題】電気式差動部と動力伝達遮断手段を備える車両用動力伝達装置において、前記変速部の動力伝達遮断状態時の駆動源停止制御に際して、差動機構の回転要素の高回転化を防止することができる車両用動力伝達装置の制御装置を提供する。
【解決手段】自動変速部20が動力伝達遮断状態においてエンジン8を停止させる場合、第3電動機M3によってエンジン回転速度Nを低下させるエンジン停止手段92を含むため、第3電動機M3によるエンジン回転速度低下制御が実施される。これにより、第1電動機M1の負トルクの反力が差動部リングギヤR0に伝わりにくくなり、差動部リングギヤR0の回転速度すなわち第2電動機回転速度NM2の上昇を低減することができる。
【選択図】図6

Description

本発明は、電動機によって差動状態が制御される電気式差動部と、駆動源と駆動輪との間の動力伝達経路の一部を構成する動力伝達遮断手段とを備える車両用動力伝達装置に係り、特に、動力伝達遮断手段が動力伝達遮断状態となったときの駆動源停止制御に関するものである。
差動機構の回転要素に動力伝達可能に連結された第1電動機の運転状態が制御されることにより、入力軸回転速度と出力軸回転速度との差動状態が制御される電気式差動部と、その入力軸に連結された駆動源と、前記電気式差動部と駆動輪との間の動力伝達経路の一部を構成する変速部(動力伝達遮断手段)とを、備える車両用動力伝達装置が知られている。例えば、特許文献1に記載された車両用動力伝達装置がそれである。このようなハイブリッド形式の車両用動力伝達装置では差動機構が例えば遊星歯車装置で構成され、その差動機構の回転要素に第1電動機が動力伝達可能に連結されている。特許文献1の車両用動力伝達装置においては、駆動源を停止させるに際して、電気式差動部に設けられて差動状態を制限するロック機構(切換クラッチC0および切換ブレーキB0)を解放状態をすると共に、第1電動機を用いて駆動源回転速度を速やかに低下させることで、動力伝達系の共振が発生する駆動源回転速度領域を速やかに通過させている。
特開2006−46541号公報
ところで、特許文献1のような車両用動力伝達装置では、変速部(動力伝達遮断手段)がニュートラル状態(動力伝達遮断状態)にあるとき、変速部の入力軸に連結される差動機構の出力軸(特許文献1においてリングギヤに相当)が駆動輪と作動的に連結されないので、出力軸のイナーシャ(慣性力)が小さくなる。この状態で駆動源停止制御を実行させる場合、第1電動機が負の方向(逆転方向)のトルク(負トルク)を出力するに伴い、その勢いで差動機構の出力軸(リングギヤ)の回転速度が高回転化させられ、差動機構を支持する軸受やシール部品等の耐久性が低下する可能性があった。なお、上記課題は、差動部が動力伝達遮断手段を介して駆動輪に連結される構成の車両用動力伝達装置において生じる特有の課題であり未公知であったため、有効な解決方法が未だ見出されていなかった。
本発明は、以上の事情を背景として為されたものであり、その目的とするところは、電気式差動部と動力伝達遮断手段を備える車両用動力伝達装置において、前記動力伝達遮断手段の動力伝達遮断状態時の駆動源停止制御に際して、差動機構の回転要素の高回転化を防止することができる車両用動力伝達装置の制御装置を提供することにある。
上記目的を達成するための、請求項1にかかる発明の要旨とするところは、(a)差動機構の回転要素に動力伝達可能に連結された第1電動機の運転状態が制御されることにより、入力軸の回転速度と出力軸の回転速度との差動状態が制御される電気式差動部と、前記入力軸に連結された駆動源および駆動源連結電動機と、前記電気式差動部と駆動輪との間の動力伝達経路の一部を構成する動力伝達遮断手段とを、備える車両用動力伝達装置の制御装置において、(b)前記動力伝達遮断手段が動力伝達遮断状態であるときにおいて前記駆動源を停止させる場合、前記駆動源連結電動機によって駆動源回転速度を低下させる駆動源停止手段を含むことを特徴とする。
また、請求項2にかかる発明の要旨とするところは、請求項1の車両用動力伝達装置の制御装置において、前記駆動源連結電動機による駆動源回転速度低下は、前記出力軸の回転速度と前記駆動源回転速度との回転速度差が所定値以上のときに実施されることを特徴とする。
また、請求項3にかかる発明の要旨とするところは、請求項2の車両用動力伝達装置の制御装置において、前記所定値は、前記駆動源回転速度が高くなるに従って小さくされることを特徴とする。
また、請求項4にかかる発明の要旨とするところは、請求項1乃至3のいずれか1つの車両用動力伝達装置の制御装置において、前記駆動源連結電動機による駆動源回転速度低下中は、前記駆動源のフューエルカットが実施されることを特徴とする。
請求項1にかかる発明の車両用動力伝達装置の制御装置によれば、前記動力伝達遮断手段が動力伝達遮断状態であるときにおいて前記駆動源を停止させる場合、前記駆動源連結電動機によって駆動源回転速度を低下させる駆動源停止手段を含むため、駆動源連結電動機による駆動源回転速度低下制御が実施される。ここで、駆動源連結電動機による駆動源回転速度低下制御の実施は、駆動源イナーシャ(慣性力)を小さくすることと実質的に同等のこととなるため、第1電動機の負トルクの反力が差動機構の出力軸に伝わりにくくなり、出力軸回転速度の上昇を低減することができる。したがって、差動機構の出力軸の高回転化を防止することができる。
また、請求項2にかかる発明の車両用動力伝達装置の制御装置によれば、前記駆動源連結電動機による駆動源回転速度低下は、前記出力軸の回転速度と前記駆動源回転速度との回転速度差が所定値以上のときに実施されるため、差動機構の出力軸が高回転化される危険性が高いと判定されると、駆動源連結電動機による駆動源回転速度低下制御が実施され、差動機構の出力軸の高回転化を事前に防止することができる。
また、請求項3にかかる発明の車両用動力伝達装置の制御装置によれば、前記所定値は、前記駆動源回転速度が高くなるに従って小さくされる。駆動源回転速度が高い領域では、差動機構の出力軸回転速度も同様に高くなっており、出力軸回転速度が高回転される危険性も高くなる。したがって、駆動源回転速度が高い領域では、駆動源連結電動機による駆動源回転速度低下制御が速やかに実施されるように所定値を小さくすることで、出力軸の高回転化を効果的に防止することができる。
また、請求項4にかかる発明の車両用動力伝達装置の制御装置によれば、前記駆動源連結電動機による駆動源回転速度低下中は、前記駆動源のフューエルカットが実施されるため、駆動源回転速度を速やかに低下させることができる。
ここで、好適には、前記動力伝達遮断手段は、有段式の自動変速部である。このようにすれば、電気式差動部の伝達効率の変化に伴って駆動装置全体の伝達効率が変化させられたとしても、例えば伝達効率が向上する自動変速部の変速段を用いることが可能になる。
また、好適には、前記自動変速部は、複数組の遊星歯車装置の回転要素が摩擦係合装置によって選択的に連結されることにより複数のギヤ段(変速段)が択一的に達成される例えば前進4段、前進5段、前進6段、更にはそれ以上の変速段を有する等の種々の遊星歯車式多段変速機により構成される。この遊星歯車式多段変速機における摩擦係合装置としては、油圧アクチュエータによって係合させられる多板式、単板式のクラッチやブレーキ、或いはベルト式のブレーキ等の油圧式摩擦係合装置が広く用いられる。この油圧式摩擦係合装置を係合させるための作動油を供給するオイルポンプは、例えば走行用駆動力源により駆動されて作動油を吐出するものでも良いが、走行用駆動力源とは別に配設された専用の電動モータなどで駆動されるものでも良い。また、クラッチ或いはブレーキは、油圧式摩擦係合装置以外に電磁式係合装置例えば電磁クラッチや磁粉式クラッチ等であってもよい。
また、好適には、前記電気式差動部は、前記第1電動機の運転状態が制御されることにより電気的な無段変速機として作動する。このようにすれば、電気的な無段変速機として機能する電気式差動部を備えた実用的な駆動装置において、電気式差動部の伝達効率の変化に伴って駆動装置全体の伝達効率が変化させられたとしても、例えば伝達効率が向上する変速比を用いることが可能になる。また、電気式差動部から出力される駆動トルクを滑らかに変化させることが可能である。尚、電気式差動部は、その変速比を連続的に変化させて電気的な無段変速機として作動させる他に変速比を段階的に変化させて有段変速機として作動させることも可能である。
以下、本発明の実施例を図面を参照しつつ詳細に説明する。なお、以下の実施例において図は適宜簡略化或いは変形されており、各部の寸法比および形状等は必ずしも正確に描かれていない。
図1は、本発明の制御装置が適用される車両用動力伝達装置10(以下、動力伝達装置10と表す)を説明する骨子図であり、この動力伝達装置10はハイブリッド車両に好適に用いられる。図1において、動力伝達装置10は車体に取り付けられる非回転部材としてのトランスミッションケース12(以下、ケース12と表す)内において共通の軸心上に配設された入力回転部材としての入力軸14と、この入力軸14に直接に或いは図示しない脈動吸収ダンパー(振動減衰装置)などを介して間接に連結された無段変速部としての差動部11と、その差動部11と駆動輪34(図6参照)との間の動力伝達経路で伝達部材(伝動軸)18を介して直列に連結されている動力伝達部としての自動変速部20と、この自動変速部20に連結されている出力回転部材としての出力軸22とを直列に備えている。この動力伝達装置10は、例えば車両において縦置きされるFR(フロントエンジン・リヤドライブ)型車両に好適に用いられるものであり、入力軸14に直接に或いは図示しない脈動吸収ダンパーを介して直接的に連結された走行用の駆動源として例えばガソリンエンジンやディーゼルエンジン等の内燃機関であるエンジン8(本発明の駆動源に対応)と一対の駆動輪34との間に設けられて、エンジン8からの動力を動力伝達経路の一部を構成する差動歯車装置(終減速機)32(図6参照)及び一対の車軸等を順次介して一対の駆動輪34へ伝達する。
このように、本実施例の動力伝達装置10においてはエンジン8と差動部11とは直結されている。この直結にはトルクコンバータやフルードカップリング等の流体式伝動装置を介することなく連結されているということであり、例えば上記脈動吸収ダンパーなどを介する連結はこの直結に含まれる。なお、動力伝達装置10はその軸心に対して対称的に構成されているため、図1の骨子図においてはその下側が省略されている。以下の各実施例についても同様である。
本発明の電気式差動部に対応する差動部11は、動力分配機構16と、動力分配機構16に動力伝達可能に連結されて動力分配機構16の差動状態を制御するための差動用電動機として機能する第1電動機M1と、伝達部材18と一体的に回転するように作動的に連結されている第2電動機M2と、入力軸14を介しエンジン8に連結された駆動源連結電動機である第3電動機M3とを備えている。
本実施例の第1電動機M1、第2電動機M2、及び第3電動機M3は、何れも電力授受可能に構成されたものである。すなわち、電気エネルギから機械的な駆動力を発生させる発動機としての機能及び機械的な駆動力から電気エネルギを発生させる発電機としての機能を有する所謂モータジェネレータである。換言すれば、動力伝達装置10において、電動機Mは何れも主動力源であるエンジン8の代替として、或いはそのエンジン8と共に走行用の駆動力を発生させる動力源(副動力源)として機能し得る。また、他の動力源により発生させられた駆動力から回生により電気エネルギを発生させ、インバータ54(図6参照)を介して他の電動機Mに供給したり、その電気エネルギを蓄電装置56(図6参照)に蓄積する等の作動を行う。尚、第3電動機M3は、主動力源であるエンジン8の補機であり、例えばスタータとしてそのエンジン8の出力軸に直結される等して付属的に設けられたものである。
第1電動機M1及び第3電動機M3は反力を発生させるためのジェネレータ(発電)機能を少なくとも備え、第2電動機M2は走行用の駆動力源として駆動力を出力する走行用電動機として機能するためモータ(電動機)機能を少なくとも備える。また、好適には、第1電動機M1、第2電動機M2、及び第3電動機M3は、何れもその発電機としての発電量を連続的に変更可能に構成されたものである。また、第1電動機M1、第2電動機M2、及び第3電動機M3は、動力伝達装置10の筐体であるケース12内に備えられ、動力伝達装置10の作動流体である自動変速部20の作動油により冷却される。尚、本実施例では図1のように第3電動機M3はエンジン8に直結されているが、両者が同軸に配置される必要はなく両者の連結関係はこれに限定されるものではない。また、第3電動機M3はエンジン8に入力軸14を介して連結されているが、省スペース化のため第3電動機M3がエンジン8に付属し両者が一体的に構成されていてもよい。
動力分配機構16は、エンジン8に動力伝達可能に連結された差動機構であって、例えば「0.418」程度の所定のギヤ比ρ0を有するシングルピニオン型の差動部遊星歯車装置24を主体として構成されており、入力軸14に入力されたエンジン8の出力を機械的に分配する機械的機構である。この差動部遊星歯車装置24は、差動部サンギヤS0、差動部遊星歯車P0、その差動部遊星歯車P0を自転及び公転可能に支持する差動部キャリヤCA0、差動部遊星歯車P0を介して差動部サンギヤS0と噛み合う差動部リングギヤR0を回転要素(要素)として備えている。差動部サンギヤS0の歯数をZS0、差動部リングギヤR0の歯数をZR0とすると、上記ギヤ比ρ0はZS0/ZR0である。
この動力分配機構16においては、差動部キャリヤCA0は入力軸14すなわちエンジン8及び第3電動機M3に連結され、差動部サンギヤS0は第1電動機M1に連結され、差動部リングギヤR0は伝達部材18に連結されている。このように構成された動力分配機構16は、差動部遊星歯車装置24の3要素である差動部サンギヤS0、差動部キャリヤCA0、差動部リングギヤR0がそれぞれ相互に相対回転可能とされて差動作用が作動可能なすなわち差動作用が働く差動状態とされることから、エンジン8の出力が第1電動機M1と伝達部材18とに分配されると共に、分配されたエンジン8の出力の一部で第1電動機M1から発生させられた電気エネルギで蓄電されたり第2電動機M2が回転駆動されるので、差動部11(動力分配機構16)は電気的な差動装置として機能させられて例えば差動部11は所謂無段変速状態(電気的CVT状態)とされて、エンジン8の所定回転に拘わらず伝達部材18の回転が連続的に変化させられる。すなわち、差動部11はその変速比γ0(入力軸14の回転速度NIN/伝達部材18の回転速度N18)が最小値γ0min から最大値γ0max まで連続的に変化させられる電気的な無段変速機として機能する。このように、動力分配機構16(差動部11)に動力伝達可能に連結された第1電動機M1及び第2電動機M2の一方又は両方の運転状態(動作点)が制御されることにより、動力分配機構16の差動状態、すなわち入力軸14の回転速度と伝達部材18の回転速度の差動状態が制御される。
自動変速部20は、差動部11から駆動輪34への動力伝達経路の一部を構成する変速部であり、シングルピニオン型の第1遊星歯車装置26、シングルピニオン型の第2遊星歯車装置28、及びシングルピニオン型の第3遊星歯車装置30を備え、有段式の自動変速機として機能する遊星歯車式の多段変速機である。第1遊星歯車装置26は、第1サンギヤS1、第1遊星歯車P1、その第1遊星歯車P1を自転及び公転可能に支持する第1キャリヤCA1、第1遊星歯車P1を介して第1サンギヤS1と噛み合う第1リングギヤR1を備えており、例えば「0.562」程度の所定のギヤ比ρ1を有している。第2遊星歯車装置28は、第2サンギヤS2、第2遊星歯車P2、その第2遊星歯車P2を自転及び公転可能に支持する第2キャリヤCA2、第2遊星歯車P2を介して第2サンギヤS2と噛み合う第2リングギヤR2を備えており、例えば「0.425」程度の所定のギヤ比ρ2を有している。第3遊星歯車装置30は、第3サンギヤS3、第3遊星歯車P3、その第3遊星歯車P3を自転及び公転可能に支持する第3キャリヤCA3、第3遊星歯車P3を介して第3サンギヤS3と噛み合う第3リングギヤR3を備えており、例えば「0.421」程度の所定のギヤ比ρ3を有している。第1サンギヤS1の歯数をZS1、第1リングギヤR1の歯数をZR1、第2サンギヤS2の歯数をZS2、第2リングギヤR2の歯数をZR2、第3サンギヤS3の歯数をZS3、第3リングギヤR3の歯数をZR3とすると、上記ギヤ比ρ1はZS1/ZR1、上記ギヤ比ρ2はZS2/ZR2、上記ギヤ比ρ3はZS3/ZR3である。
自動変速部20では、第1サンギヤS1と第2サンギヤS2とが一体的に連結されて第2クラッチC2を介して伝達部材18に選択的に連結されると共に第1ブレーキB1を介してケース12に選択的に連結され、第1キャリヤCA1は第2ブレーキB2を介してケース12に選択的に連結され、第3リングギヤR3は第3ブレーキB3を介してケース12に選択的に連結され、第1リングギヤR1と第2キャリヤCA2と第3キャリヤCA3とが一体的に連結されて出力軸22に連結され、第2リングギヤR2と第3サンギヤS3とが一体的に連結されて第1クラッチC1を介して伝達部材18に選択的に連結されている。
このように、自動変速部20内と差動部11(伝達部材18)とは自動変速部20の変速段を成立させるために用いられる第1クラッチC1又は第2クラッチC2を介して選択的に連結されている。言い換えれば、第1クラッチC1及び第2クラッチC2は、動力分配機構16(差動部11)と駆動輪34との間の動力伝達経路の一部に設けられた動力伝達を選択的に遮断可能な係合装置であり、すなわち、その動力伝達経路の動力伝達を可能とする動力伝達可能状態と、その動力伝達経路の動力伝達を遮断する動力伝達遮断状態とに選択的に切り換える係合装置として機能している。つまり、第1クラッチC1及び第2クラッチC2の少なくとの一方が係合されることで上記動力伝達経路が動力伝達可能状態とされ、或いは第1クラッチC1及び第2クラッチC2が解放されることで上記動力伝達経路が動力伝達遮断状態とされる。上記より、自動変速部20が本発明の動力伝達遮断手段として機能するものである。
また、この自動変速部20は、解放側係合装置の解放と係合側係合装置の係合とによりクラッチツウクラッチ変速が実行されて各ギヤ段(変速段)が選択的に成立させられることにより、略等比的に変化する変速比γ(=伝達部材18の回転速度N18/出力軸22の回転速度NOUT)が各ギヤ段毎に得られる。例えば、図2の係合作動表に示されるように、第1クラッチC1及び第3ブレーキB3の係合により変速比γ1が最大値例えば「3.357」程度である第1速ギヤ段が成立させられ、第1クラッチC1及び第2ブレーキB2の係合により変速比γ2が第1速ギヤ段よりも小さい値例えば「2.180」程度である第2速ギヤ段が成立させられ、第1クラッチC1及び第1ブレーキB1の係合により変速比γ3が第2速ギヤ段よりも小さい値例えば「1.424」程度である第3速ギヤ段が成立させられ、第1クラッチC1及び第2クラッチC2の係合により変速比γ4が第3速ギヤ段よりも小さい値例えば「1.000」程度である第4速ギヤ段が成立させられる。また、第2クラッチC2及び第3ブレーキB3の係合により変速比γRが第1速ギヤ段と第2速ギヤ段との間の値例えば「3.209」程度である後進ギヤ段(後進変速段)が成立させられる。また、第1クラッチC1、第2クラッチC2、第1ブレーキB1、第2ブレーキB2、及び第3ブレーキB3の解放によりニュートラル「N」状態とされる。
前記第1クラッチC1、第2クラッチC2、第1ブレーキB1、第2ブレーキB2、及び第3ブレーキB3(以下、特に区別しない場合はクラッチC、ブレーキBと表す)は、従来の車両用自動変速機においてよく用いられている係合装置すなわち油圧式摩擦係合装置であって、互いに重ねられた複数枚の摩擦板が油圧アクチュエータにより押圧される湿式多板型や、回転するドラムの外周面に巻き付けられた1本又は2本のバンドの一端が油圧アクチュエータによって引き締められるバンドブレーキなどにより構成され、それが介挿されている両側の部材を選択的に連結するためのものである。
以上のように構成された動力伝達装置10において、無段変速機として機能する差動部11と自動変速部20とで全体として無段変速機が構成される。また、差動部11の変速比を一定となるように制御することにより、差動部11と自動変速部20とで有段変速機と同等の状態を構成することが可能とされる。
具体的には、差動部11が無段変速機として機能し、且つ差動部11に直列の自動変速部20が有段変速機として機能することにより、自動変速部20の少なくとも1つの変速段Mに対して自動変速部20に入力される回転速度すなわち伝達部材18の回転速度N18(以下、「伝達部材回転速度N18」と表す)が無段的に変化させられてその変速段Mにおいて無段的な変速比幅が得られる。従って、動力伝達装置10の総合変速比γT(=入力軸14の回転速度NIN/出力軸22の回転速度NOUT)が無段階に得られ、動力伝達装置10において無段変速機が構成される。この動力伝達装置10の総合変速比γTは、差動部11の変速比γ0と自動変速部20の変速比γとに基づいて形成される動力伝達装置10全体としてのトータル変速比γTである。
例えば、図2の係合作動表に示される自動変速部20の第1速ギヤ段乃至第4速ギヤ段や後進ギヤ段の各ギヤ段に対し伝達部材回転速度N18が無段的に変化させられて各ギヤ段は無段的な変速比幅が得られる。従って、その各ギヤ段の間が無段的に連続変化可能な変速比となって、動力伝達装置10全体としてのトータル変速比γTが無段階に得られる。
また、差動部11の変速比が一定となるように制御され、且つクラッチC及びブレーキBが選択的に係合作動させられて第1速ギヤ段乃至第4速ギヤ段の何れか或いは後進ギヤ段(後進変速段)が選択的に成立させられることにより、略等比的に変化する動力伝達装置10のトータル変速比γTが各ギヤ段毎に得られる。従って、動力伝達装置10において有段変速機と同等の状態が構成される。
例えば、差動部11の変速比γ0が「1」に固定されるように制御されると、図2の係合作動表に示されるように自動変速部20の第1速ギヤ段乃至第4速ギヤ段や後進ギヤ段の各ギヤ段に対応する動力伝達装置10のトータル変速比γTが各ギヤ段毎に得られる。また、自動変速部20の第4速ギヤ段において差動部11の変速比γ0が「1」より小さい値例えば0.7程度に固定されるように制御されると、第4速ギヤ段よりも小さい値例えば「0.7」程度であるトータル変速比γTが得られる。
図3は、差動部11と自動変速部20とから構成される動力伝達装置10において、ギヤ段毎に連結状態が異なる各回転要素の回転速度の相対関係を直線上で表すことができる共線図を示している。この図3の共線図は、各遊星歯車装置24、26、28、30のギヤ比ρの関係を示す横軸と、相対的回転速度を示す縦軸とから成る二次元座標であり、横線X1が回転速度零を示し、横線X2が回転速度「1.0」すなわち入力軸14に連結されたエンジン8の回転速度Nを示し、横線XGが伝達部材18の回転速度を示している。
また、差動部11を構成する動力分配機構16の3つの要素に対応する3本の縦線Y1、Y2、Y3は、左側から順に第2回転要素(第2要素)RE2に対応する差動部サンギヤS0、第1回転要素(第1要素)RE1に対応する差動部キャリヤCA0、第3回転要素(第3要素)RE3に対応する差動部リングギヤR0の相対回転速度を示すものであり、それらの間隔は差動部遊星歯車装置24のギヤ比ρ0に応じて定められている。さらに、自動変速部20の5本の縦線Y4、Y5、Y6、Y7、Y8は、左から順に、第4回転要素(第4要素)RE4に対応し且つ相互に連結された第1サンギヤS1及び第2サンギヤS2を、第5回転要素(第5要素)RE5に対応する第1キャリヤCA1を、第6回転要素(第6要素)RE6に対応する第3リングギヤR3を、第7回転要素(第7要素)RE7に対応し且つ相互に連結された第1リングギヤR1、第2キャリヤCA2、第3キャリヤCA3を、第8回転要素(第8要素)RE8に対応し且つ相互に連結された第2リングギヤR2、第3サンギヤS3をそれぞれ表し、それらの間隔は第1、第2、第3遊星歯車装置26、28、30のギヤ比ρ1、ρ2、ρ3に応じてそれぞれ定められている。共線図の縦軸間の関係においてサンギヤとキャリヤとの間が「1」に対応する間隔とされるとキャリヤとリングギヤとの間が遊星歯車装置のギヤ比ρに対応する間隔とされる。すなわち、差動部11では縦線Y1とY2との縦線間が「1」に対応する間隔に設定され、縦線Y2とY3との間隔はギヤ比ρ0に対応する間隔に設定される。また、自動変速部20では各第1、第2、第3遊星歯車装置26、28、30毎にそのサンギヤとキャリヤとの間が「1」に対応する間隔に設定され、キャリヤとリングギヤとの間がρに対応する間隔に設定される。
上記図3の共線図を用いて表現すれば、本実施例の動力伝達装置10は、動力分配機構16(差動部11)において、差動部遊星歯車装置24の第1回転要素RE1(差動部キャリヤCA0)が入力軸14すなわちエンジン8及び第3電動機M3に連結され、第2回転要素RE2が第1電動機M1に連結され、第3回転要素(差動部リングギヤR0)RE3が伝達部材18及び第2電動機M2に連結されて、入力軸14の回転を伝達部材18を介して自動変速部20へ伝達する(入力させる)ように構成されている。このとき、Y2とX2の交点を通る斜めの直線L0により差動部サンギヤS0の回転速度と差動部リングギヤR0の回転速度との関係が示される。
例えば、差動部11においては、第1回転要素RE1乃至第3回転要素RE3が相互に相対回転可能とされる差動状態とされており、直線L0と縦線Y3との交点で示される差動部リングギヤR0の回転速度が車速Vに拘束されて略一定である場合には、エンジン回転速度Nを制御することによって直線L0と縦線Y2との交点で示される差動部キャリヤCA0の回転速度が上昇或いは下降させられると、直線L0と縦線Y1との交点で示される差動部サンギヤS0の回転速度すなわち第1電動機M1の回転速度が上昇或いは下降させられる。
また、差動部11の変速比γ0が「1」に固定されるように第1電動機M1の回転速度を制御することによって差動部サンギヤS0の回転がエンジン回転速度Nと同じ回転とされると、直線L0は横線X2と一致させられ、エンジン回転速度Nと同じ回転で差動部リングギヤR0の回転速度すなわち伝達部材18が回転させられる。或いは、差動部11の変速比γ0が「1」より小さい値例えば0.7程度に固定されるように第1電動機M1の回転速度を制御することによって差動部サンギヤS0の回転が零とされると、エンジン回転速度Nよりも増速された回転で伝達部材回転速度N18が回転させられる。
また、自動変速部20において第4回転要素RE4は第2クラッチC2を介して伝達部材18に選択的に連結されると共に第1ブレーキB1を介してケース12に選択的に連結され、第5回転要素RE5は第2ブレーキB2を介してケース12に選択的に連結され、第6回転要素RE6は第3ブレーキB3を介してケース12に選択的に連結され、第7回転要素RE7は出力軸22に連結され、第8回転要素RE8は第1クラッチC1を介して伝達部材18に選択的に連結されている。
自動変速部20では、差動部11において出力回転部材である伝達部材18(第3回転要素RE3)の回転が第1クラッチC1が係合されることで第8回転要素RE8に入力されると、図3に示すように、第1クラッチC1と第3ブレーキB3とが係合させられることにより、第8回転要素RE8の回転速度を示す縦線Y8と横線XGとの交点と第6回転要素RE6の回転速度を示す縦線Y6と横線X1との交点とを通る斜めの直線L1と、出力軸22と連結された第7回転要素RE7の回転速度を示す縦線Y7との交点で第1速(1st)の出力軸22の回転速度が示される。同様に、第1クラッチC1と第2ブレーキB2とが係合させられることにより決まる斜めの直線L2と出力軸22と連結された第7回転要素RE7の回転速度を示す縦線Y7との交点で第2速(2nd)の出力軸22の回転速度が示され、第1クラッチC1と第1ブレーキB1とが係合させられることにより決まる斜めの直線L3と出力軸22と連結された第7回転要素RE7の回転速度を示す縦線Y7との交点で第3速(3rd)の出力軸22の回転速度が示され、第1クラッチC1と第2クラッチC2とが係合させられることにより決まる水平な直線L4と出力軸22と連結された第7回転要素RE7の回転速度を示す縦線Y7との交点で第4速(4th)の出力軸22の回転速度が示される。
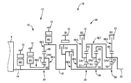
図4は、本実施例の動力伝達装置10を制御するための制御装置である電子制御装置80に入力される信号及びその電子制御装置80から出力される信号を例示している。この電子制御装置80は、CPU、ROM、RAM、及び入出力インターフェースなどから成る所謂マイクロコンピュータを含んで構成されており、RAMの一時記憶機能を利用しつつROMに予め記憶されたプログラムに従って信号処理を行うことによりエンジン8や各電動機Mに関するハイブリッド駆動制御、自動変速部20の変速制御等の各種制御を実行するものである。
電子制御装置80には、図4に示すような各センサやスイッチなどから、エンジン8の冷却流体の温度であるエンジン水温TEMPを表す信号、シフトレバー52(図5参照)のシフトポジションPSHや「M」ポジションにおける操作回数等を表す信号、エンジン8の回転速度であるエンジン回転速度Nを表す信号、Mモード(手動変速走行モード)を指令する信号、エアコンの作動を表す信号、出力軸22の回転速度NOUTに対応する車速V及び車両の進行方向を表す信号、自動変速部20の作動油温TOILを表す信号、サイドブレーキ操作を表す信号、フットブレーキ操作を表す信号、触媒温度を表す信号、運転者の出力要求量に対応するアクセルペダルの操作量であるアクセル開度Accを表す信号、カム角を表す信号、スノーモード設定を表す信号、車両の前後加速度Gを表す信号、オートクルーズ走行を表す信号、車両の重量(車重)を表す信号、各車輪の車輪速を表す信号、第1電動機M1の回転速度NM1(以下、「第1電動機回転速度NM1」と表す)及びその回転方向を表す信号、第2電動機M2の回転速度NM2(以下、「第2電動機回転速度NM2」と表す)及びその回転方向を表す信号、第3電動機M3の回転速度NM3(以下、「第3電動機回転速度NM3」と表す)及びその回転方向を表す信号、各電動機M1,M2,M3との間でインバータ54を介して充放電を行う蓄電装置56(図6参照)の充電容量(充電状態)SOCを表す信号などが、それぞれ供給される。
また、上記電子制御装置80からは、エンジン8の出力P(単位は例えば「kW」。以下、「エンジン出力P」と表す。)を制御するエンジン出力制御装置58(図6参照)への制御信号例えばエンジン8の吸気管60に備えられた電子スロットル弁62のスロットル弁開度θTHを操作するスロットルアクチュエータ64への駆動信号や燃料噴射装置66による吸気管60或いはエンジン8の筒内への燃料供給量を制御する燃料供給量信号や点火装置68によるエンジン8の点火時期を指令する点火信号、過給圧を調整するための過給圧調整信号、電動エアコンを作動させるための電動エアコン駆動信号、電動機M1、M2、及びM3の作動を指令する指令信号、シフトインジケータを作動させるためのシフトポジション(操作位置)表示信号、ギヤ比を表示させるためのギヤ比表示信号、スノーモードであることを表示させるためのスノーモード表示信号、制動時の車輪のスリップを防止するABSアクチュエータを作動させるためのABS作動信号、Mモードが選択されていることを表示させるMモード表示信号、差動部11や自動変速部20の油圧式摩擦係合装置の油圧アクチュエータを制御するために油圧制御回路70(図6参照)に含まれる電磁弁(リニアソレノイドバルブ)等を作動させるバルブ指令信号、この油圧制御回路70に設けられたレギュレータバルブ(調圧弁)によりライン油圧Pを調圧するための信号、そのライン油圧Pが調圧されるための元圧の油圧源である電動油圧ポンプを作動させるための駆動指令信号、電動ヒータを駆動するための信号、クルーズコントロール制御用コンピュータへの信号等が、それぞれ出力される。
図5は、複数種類のシフトポジションPSHを人為的操作により切り換える切換装置としてのシフト操作装置50の一例を示す図である。このシフト操作装置50は、例えば運転席の横に配設され、複数種類のシフトポジションPSHを選択するために操作されるシフトレバー52を備えている。
そのシフトレバー52は、動力伝達装置10内つまり自動変速部20内の動力伝達経路が遮断されたニュートラル状態すなわち中立状態とし且つ自動変速部20の出力軸22をロックするための駐車ポジション「P(パーキング)」、後進走行のための後進走行ポジション「R(リバース)」、動力伝達装置10内の動力伝達経路が遮断された中立状態とするための中立ポジション「N(ニュートラル)」、自動変速モードを成立させて差動部11の無段的な変速比幅と自動変速部20の第1速ギヤ段乃至第4速ギヤ段の範囲で自動変速制御される各ギヤ段とで得られる動力伝達装置10の変速可能なトータル変速比γTの変化範囲内で自動変速制御を実行させる前進自動変速走行ポジション「D(ドライブ)」、又は手動変速走行モード(手動モード)を成立させて自動変速部20における高速側の変速段を制限する所謂変速レンジを設定するための前進手動変速走行ポジション「M(マニュアル)」へ手動操作されるように設けられている。
上記シフトレバー52の各シフトポジションPSHへの手動操作に連動して図2の係合作動表に示す後進ギヤ段「R」、ニュートラル「N」、前進ギヤ段「D」における各変速段等が成立するように、例えば油圧制御回路70が電気的に切り換えられる。
上記「P」乃至「M」ポジションに示す各シフトポジションPSHにおいて、「P」ポジション及び「N」ポジションは、車両を走行させないときに選択される非走行ポジションであって、例えば図2の係合作動表に示されるように第1クラッチC1及び第2クラッチC2の何れもが解放されるような自動変速部20内の動力伝達経路が遮断された車両を駆動不能とする第1クラッチC1及び第2クラッチC2による動力伝達経路の動力伝達遮断状態へ切換えを選択するための非駆動ポジションである。また、「R」ポジション、「D」ポジション及び「M」ポジションは、車両を走行させるときに選択される走行ポジションであって、例えば図2の係合作動表に示されるように第1クラッチC1及び第2クラッチC2の少なくとも一方が係合されるような自動変速部20内の動力伝達経路が連結された車両を駆動可能とする第1クラッチC1及び/又は第2クラッチC2による動力伝達経路の動力伝達可能状態への切換えを選択するための駆動ポジションでもある。
具体的には、シフトレバー52が「P」ポジション或いは「N」ポジションから「R」ポジションへ手動操作されることで、第2クラッチC2が係合されて自動変速部20内の動力伝達経路が動力伝達遮断状態から動力伝達可能状態とされ、シフトレバー52が「N」ポジションから「D」ポジションへ手動操作されることで、少なくとも第1クラッチC1が係合されて自動変速部20内の動力伝達経路が動力伝達遮断状態から動力伝達可能状態とされる。また、シフトレバー52が「R」ポジションから「P」ポジション或いは「N」ポジションへ手動操作されることで、第2クラッチC2が解放されて自動変速部20内の動力伝達経路が動力伝達可能状態から動力伝達遮断状態とされ、シフトレバー52が「D」ポジションから「N」ポジションへ手動操作されることで、第1クラッチC1及び第2クラッチC2が解放されて自動変速部20内の動力伝達経路が動力伝達可能状態から動力伝達遮断状態とされる。
図6は、電子制御装置80による制御機能の要部を説明する機能ブロック線図である。図6において、有段変速制御手段82は、図7に示すような車速Vと自動変速部20の出力トルクTOUTとを変数として予め記憶されたアップシフト線(実線)及びダウンシフト線(一点鎖線)を有する関係(変速線図、変速マップ)から実際の車速V及びアクセル開度Acc等に対応する自動変速部20の要求出力トルクTOUTで示される車両状態に基づいて、自動変速部20の変速を実行すべきか否かを判断しすなわち自動変速部20の変速すべき変速段を判断し、その判断した変速段が得られるように自動変速部20の自動変速制御を実行する。
このとき、有段変速制御手段82は、例えば図2に示す係合表に従って変速段が達成されるように、自動変速部20の変速に関与する油圧式摩擦係合装置を係合及び/又は解放させる指令(変速出力指令、油圧指令)を、すなわち自動変速部20の変速に関与する解放側係合装置を解放すると共に係合側係合装置を係合することによりクラッチツウクラッチ変速を実行させる指令を油圧制御回路70へ出力する。油圧制御回路70は、その指令に従って、例えば解放側係合装置を解放すると共に係合側係合装置を係合して自動変速部20の変速が実行されるように、油圧制御回路70内のリニアソレノイドバルブを作動させてその変速に関与する油圧式摩擦係合装置の油圧アクチュエータを作動させる。
図7の変速線図において、アップシフト線(実線)はアップシフトが判断されるための変速線であり、ダウンシフト線(一点鎖線)はダウンシフトが判断されるための変速線である。また、この図7の変速線図における変速線は、例えば自動変速部20の要求出力トルクTOUTを示す横線上において実際の車速Vが線を横切ったか否か、また例えば車速Vを示す縦線上において自動変速部20の要求出力トルクTOUTが線を横切ったか否か、すなわち変速線上の変速を実行すべき値(変速点)を横切ったか否かを判断するためのものであり、この変速点の連なりとして予め記憶されている。
ハイブリッド制御手段84は、エンジン出力制御装置58を介してエンジン8の駆動を制御するエンジン駆動制御手段86と、インバータ54を介して第1電動機M1、第2電動機M2、及び第3電動機M3による駆動力源又は発電機としての作動を制御する電動機作動制御手段88とを含んでおり、それら制御機能によりエンジン8、第1電動機M1、第2電動機M2、及び第3電動機M3によるハイブリッド駆動制御を実行する。
また、ハイブリッド制御手段84は、エンジン8を効率のよい作動域で作動させる一方で、エンジン8と第2電動機M2との駆動力の配分や第1電動機M1の発電による反力を最適になるように変化させて差動部11の電気的な無段変速機としての変速比γ0を制御する。例えば、そのときの走行車速Vにおいて、運転者の出力要求量としてのアクセル開度Accや車速Vから車両の目標(要求)出力を算出し、その車両の目標出力と充電要求値から必要なトータル目標出力を算出し、そのトータル目標出力が得られるように伝達損失、補機負荷、第2電動機M2のアシストトルク等を考慮して目標エンジン出力(要求エンジン出力)PERを算出し、その目標エンジン出力PERが得られるエンジン回転速度Nとエンジン8の出力トルク(エンジントルク)Tとなるようにエンジン8を制御すると共に各電動機Mの出力乃至発電を制御する。
以上のように、動力伝達装置10全体としての変速比である総合変速比γTは、有段変速制御手段82によって制御される自動変速部20の変速比γと、ハイブリッド制御手段84によって制御される差動部11の変速比γ0とによって決定される。すなわち、ハイブリッド制御手段84及び有段変速制御手段82は、シフトポジションPSHに対応するシフトレンジの範囲内において、油圧制御回路70、エンジン出力制御装置58、第1電動機M1、第2電動機M2、及び第3電動機M3等を介して動力伝達装置10全体としての変速比である総合変速比γTを制御する変速制御手段として機能する。
例えば、ハイブリッド制御手段84は、動力性能や燃費向上などのために自動変速部20の変速段を考慮してエンジン8及び各電動機Mの制御を実行する。このようなハイブリッド制御では、エンジン8を効率のよい作動域で作動させるために定まるエンジン回転速度Nと車速V及び自動変速部20の変速段で定まる伝達部材18の回転速度とを整合させるために、差動部11が電気的な無段変速機として機能させられる。すなわち、ハイブリッド制御手段84は、エンジン回転速度NとエンジントルクTとで構成される二次元座標内において無段変速走行の時に運転性と燃費性とを両立するように予め実験的に求められた例えば図8の破線に示すようなエンジン8の動作曲線の一種である最適燃費率曲線(燃費マップ、関係)を予め記憶しており、その最適燃費率曲線にエンジン8の動作点(以下、「エンジン動作点」と表す)が沿わされつつエンジン8が作動させられるように、例えば目標出力(トータル目標出力、要求駆動力)を充足するために必要なエンジン出力Pを発生するためのエンジントルクTとエンジン回転速度Nとなるように、動力伝達装置10のトータル変速比γTの目標値を定め、その目標値が得られるように自動変速部20の変速段を考慮して差動部11の変速比γ0を制御し、トータル変速比γTをその変速可能な変化範囲内で制御する。ここで、上記エンジン動作点とは、エンジン回転速度N及びエンジントルクTなどで例示されるエンジン8の動作状態を示す状態量を座標軸とした二次元座標においてエンジン8の動作状態を示す動作点である。
このとき、ハイブリッド制御手段84は、例えば第1電動機M1により発電された電気エネルギをインバータ54を通して蓄電装置56や第2電動機M2へ供給したり、第3電動機M3により発電された電気エネルギをインバータ54を通して蓄電装置56や第1電動機M1乃至第2電動機M2へ供給したりするので、エンジン8の動力の主要部は機械的に伝達部材18へ伝達されるが、エンジン8の動力の一部は電動機Mの発電のために消費されてそこで電気エネルギに変換され、インバータ54を通してその電気エネルギが他の電動機Mへ供給され、電気エネルギによりその電動機Mから出力される駆動力が伝達部材18へ伝達される。この発電に係る電動機Mによる電気エネルギの発生から駆動に係る電動機Mで消費されるまでに関連する機器により、エンジン8の動力の一部が電気エネルギに変換され、その電気エネルギが機械的エネルギに変換されるまでの電気パスが構成される。
ここで、有段変速制御手段82により自動変速部20の変速制御が実行される場合には、その自動変速部20の変速比が段階的に変化させられることに伴ってその変速前後で動力伝達装置10のトータル変速比γTが段階的に変化させられる。このような制御では、トータル変速比γTを段階的に変化させることにより、すなわち変速比が連続的ではなく飛び飛びの値をとることにより、連続的なトータル変速比γTの変化に比較して速やかに駆動トルクを変化させることが可能となる。その反面、変速ショックが発生したり、最適燃費率曲線に沿うようにエンジン回転速度Nを制御できず燃費が悪化する可能性がある。そこで、ハイブリッド制御手段84は、そのトータル変速比γTの段階的変化が抑制されるように、自動変速部20の変速に同期してその自動変速部20の変速比の変化方向とは反対方向の変速比の変化となるように差動部11の変速を実行する。換言すれば、自動変速部20の変速前後で動力伝達装置10のトータル変速比γTが連続的に変化するように自動変速部20の変速制御に同期して差動部11の変速制御を実行する。例えば、自動変速部20の変速前後で過渡的に動力伝達装置10のトータル変速比γTが変化しないような所定のトータル変速比γTを形成するために自動変速部20の変速制御に同期して、その自動変速部20の変速比の段階的な変化に相当する変化分だけその変化方向とは反対方向に変速比を段階的に変化させるように差動部11の変速制御を実行する。
また、ハイブリッド制御手段84は、車両の停止中又は走行中に拘わらず、差動部11の電気的CVT機能によって第1電動機回転速度NM1及び/又は第2電動機回転速度NM2を制御してエンジン回転速度Nを略一定に維持したり任意の回転速度に回転制御する。言い換えれば、ハイブリッド制御手段84は、エンジン回転速度Nを略一定に維持したり任意の回転速度に制御しつつ第1電動機回転速度NM1及び/又は第2電動機回転速度NM2を任意の回転速度に回転制御することができる。
例えば、図3の共線図からもわかるようにハイブリッド制御手段84は車両走行中にエンジン回転速度Nを引き上げる場合には、車速V(駆動輪34)に拘束される第2電動機回転速度NM2を略一定に維持しつつ第1電動機回転速度NM1の引き上げを実行する。このときハイブリッド制御手段84は、第1電動機回転速度NM1の引き上げに替えて又はこれと並行して、第3電動機回転速度NM3の引き上げを実行してエンジン回転速度Nを引き上げてもよい。また、ハイブリッド制御手段84は自動変速部20の変速中にエンジン回転速度Nを略一定に維持する場合には、エンジン回転速度Nを略一定に維持しつつ自動変速部20の変速に伴う第2電動機回転速度NM2の変化とは反対方向に第1電動機回転速度NM1を変化させる。
また、ハイブリッド制御手段84(エンジン駆動制御手段86)は、スロットル制御のためにスロットルアクチュエータ64により電子スロットル弁62を開閉制御させる他、燃料噴射制御のために燃料噴射装置66による燃料噴射量や噴射時期を制御させ、点火時期制御のためにイグナイタ等の点火装置68による点火時期を制御させる指令を単独で或いは組み合わせてエンジン出力制御装置58に出力して、必要なエンジン出力Pを発生するようにエンジン8の出力制御を実行する。
例えば、ハイブリッド制御手段84は、基本的には図示しない予め記憶された関係からアクセル開度Accに基づいてスロットルアクチュエータ64を駆動し、アクセル開度Accが増加するほどスロットル弁開度θTHを増加させるようにスロットル制御を実行する。また、エンジン出力制御装置58は、ハイブリッド制御手段84による指令に従って、スロットル制御のためにスロットルアクチュエータ64により電子スロットル弁62を開閉制御する他、燃料噴射制御のために燃料噴射装置66による燃料噴射を制御し、点火時期制御のためにイグナイタ等の点火装置68による点火時期を制御するなどしてエンジントルク制御を実行する。
また、ハイブリッド制御手段84は、エンジン8の停止又はアイドル状態に拘わらず、差動部11の電気的CVT機能(差動作用)によって、例えば第2電動機M2を走行用の駆動力源とするモータ走行(EVモード走行)をさせることができる。例えば、図7に示すような車速Vと自動変速部20の出力トルクTOUTとを変数として予め記憶された、走行用の駆動力源をエンジン8と電動機Mとで切り換えるためのエンジン走行領域とモータ走行領域との境界線を有する関係(駆動力源切換線図、駆動力源マップ)から、実際の車速V及び自動変速部20の要求出力トルクTOUTで示される車両状態に基づいて、モータ走行領域とエンジン走行領域との何れであるかを判断してモータ走行或いはエンジン走行を実行する。図7の実線Aに示す駆動力源マップは、例えばその図7における実線及び一点鎖線に示す変速マップと共に予め記憶されたものである。この図7から明らかなように、ハイブリッド制御手段84によるモータ走行制御は、一般的にエンジン効率が高トルク域に比較して悪いとされる比較的低出力トルクTOUT域すなわち低エンジントルクT域、或いは車速Vの比較的低車速域すなわち低負荷域で実行される。
また、ハイブリッド制御手段84は、このモータ走行時には、停止しているエンジン8の引き摺りを抑制して燃費を向上させるために、第1電動機回転速度NM1を負の回転速度で制御して例えば第1電動機M1を無負荷状態とすることにより空転させて、差動部11の電気的CVT機能(差動作用)により必要に応じてエンジン回転速度Nを零乃至略零に維持する。また、ハイブリッド制御手段84は、エンジン8を走行用の駆動力源とするエンジン走行を行うエンジン走行領域であっても、前述した電気パスによる第1電動機M1や第3電動機M3からの電気エネルギ及び/又は蓄電装置56からの電気エネルギを第2電動機M2へ供給し、その第2電動機M2を駆動して駆動輪34にトルクを付与することにより、エンジン8の動力を補助するための所謂トルクアシストが可能である。よって、本実施例のエンジン走行にはエンジン8を走行用の駆動力源とする場合と、エンジン8及び第2電動機M2の両方を走行用の駆動力源とする場合とがある。そして、本実施例のモータ走行とはエンジン8を停止して第2電動機M2を走行用の駆動力源とする走行である。
また、ハイブリッド制御手段84は、第1電動機M1を無負荷状態として自由回転すなわち空転させることにより、差動部11がトルクの伝達を不能な状態すなわち差動部11内の動力伝達経路が遮断された状態と同等の状態であって、且つ差動部11からの出力が発生されない状態とすることが可能である。すなわち、ハイブリッド制御手段84は、第1電動機M1を無負荷状態とすることにより差動部11をその動力伝達経路が電気的に遮断される中立状態(ニュートラル状態)とすることが可能である。
また、ハイブリッド制御手段84は、アクセルオフの惰性走行時(コースト走行時)やフットブレーキによる制動時などには、燃費を向上(燃料消費率を低減)させるためにエンジン8を非駆動状態にして、駆動輪34から伝達される車両の運動エネルギを差動部11で電気エネルギに変換する回生制御を実行する。具体的には、駆動輪34からエンジン8側へ伝達される逆駆動力により第2電動機M2を回転駆動させて発電機として作動させ、その電気エネルギすなわち第2電動機発電電流をインバータ54を介して蓄電装置56へ充電する回生制御を実行する。すなわち、ハイブリッド制御手段84は上記回生制御を実行する回生制御手段として機能する。
また、ハイブリッド制御手段84は、エンジン走行とモータ走行とを切り換えるために、エンジン8の作動状態を運転状態と停止状態との間で切り換える、すなわちエンジン8の始動および停止を行うエンジン始動手段90およびエンジン停止手段92(本発明の駆動源停止手段に対応)とを備えている。このエンジン始動手段90およびエンジン停止手段92は、ハイブリッド制御手段52により例えば図7の駆動力源切換線図から車両状態に基づいてモータ走行とエンジン走行との切換えが判断された場合に、エンジン8の始動または停止を実行する。
例えば、エンジン始動手段90は、図7の実線Bの点a→点bに示すように、アクセルペダルが踏込操作されて要求出力トルクTOUTが大きくなり車両状態がモータ走行領域からエンジン走行領域へ変化した場合には、第1電動機M1に通電して第1電動機回転速度NM1を引き上げることで、すなわち第1電動機M1をスタータとして機能させることで、エンジン回転速度Nを引き上げ、所定のエンジン回転速度N’例えば自律回転可能なエンジン回転速度Nで点火装置68により点火させるようにエンジン8の始動を行って、ハイブリッド制御手段84によるモータ走行からエンジン走行へ切り換える。このとき、エンジン始動段90は、第1電動機回転速度NM1を速やかに引き上げることでエンジン回転速度Nを速やかに所定のエンジン回転速度N’まで引き上げてもよい。これにより、良く知られたアイドル回転速度NEIDL以下のエンジン回転速度領域における共振領域を速やかに回避できて始動時の振動が抑制される。
また、エンジン停止手段92は、例えば図7の実線Bの点b→点aに示すように、アクセルペダルが戻されて要求出力トルクTOUTが小さくなり車両状態がエンジン走行領域からモータ走行領域へ変化した場合には、燃料噴射装置66により燃料供給を停止させるように、すなわちフューエルカットによりエンジン8の停止を行って、ハイブリッド制御手段84によるエンジン走行からモータ走行へ切り換える。このとき、エンジン停止手段92は、第1電動機回転速度NM1を速やかに引き下げることでエンジン回転速度Nを速やかに零乃至略零まで引き下げてもよい。これにより、上記共振領域を速やかに回避できて停止時の振動が抑制される。或いは、エンジン停止手段92は、フューエルカットより先に、第1電動機回転速度NM1を引き下げてエンジン回転速度Nを引き下げ、所定のエンジン回転速度N’でフューエルカットするようにエンジン8の停止を行ってもよい。
ところで、シフト操作装置50のシフトレバー52が「P」ポジションまたは「N」ポジションにシフト操作された状態では、自動変速部20(動力伝達遮断手段)が動力伝達遮断状態となるため、動力分配機構16の出力部材(出力軸)として機能する差動部リングギヤR0(本発明の出力軸に対応)と駆動輪34との連結が遮断された状態となる。この状態で上記エンジン停止制御が実行されると、差動部リングギヤR0のイナーシャ(第2電動機M2のイナーシャを含む)がエンジン8が連結された差動部キャリヤCA0のイナーシャと比べても小さいので、第1電動機に負トルクを出力させて第1電動機回転速度NM1を低下させた際、その勢いで差動部リングギヤR0の回転速度が上昇させられて差動部リングギヤR0が高回転化させられる可能性があった。
上記を図9を用いて具体的に説明する。図9は、差動部11の各回転要素の回転状態を示す共線図であり、図3に対応するものである。ここで、図において左側に位置する縦線が第1電動機M1が連結された差動部サンギヤS0の回転状態を示しており、中央がエンジン8および第3電動機M3が連結された差動部キャリヤCA0の回転状態を示しており、右側に位置する縦線が第2電動機M2が連結された差動部リングギヤR0の回転状態を示している。例えば、エンジン停止制御前において、差動部11が実線Laに示す回転状態で回転中に、自動変速部20が動力伝達遮断状態(ニュートラル状態)でエンジン停止制御が開始されると、差動部リングギヤR0のイナーシャが小さい一方、差動部キャリヤCA0のイナーシャがエンジンイナーシャの影響で差動部リングギヤR0よりも大きくなるので、第1電動機M1から出力される負トルクの勢いで、破線Lbに示すように差動部リングギヤR0の回転速度が上昇させられる。
これに対して、エンジン停止手段92は、自動変速部20がニュートラル状態であるときにエンジン停止制御を実施する場合、エンジン8に連結された第3電動機M3によってエンジン回転速度Nを低下させることで、差動部リングギヤR0の高回転化を防止する。以下、上記制御について説明する。
図6に戻り、シフトポジション判定手段94は、図示しないシフトポジションセンサからのシフトレバー52のシフトポジションを表すシフトポジション信号PSHに基づいて現在のシフトポジションが非駆動ポジションである「N」ポジションまたは「P」ポジションにされているか、或いは、シフトポジションが「N」ポジションまたは「P」ポジションへ操作されたか否かを判定する。なお、シフトレバー52が「N」ポジション或いは「P」ポジションに位置されると、自動変速部20(動力伝達遮断手段)が動力伝達遮断状態(ニュートラル状態)となり、差動部11の差動部リングギヤR0と駆動輪38との動力伝達状態が遮断された状態となり、差動部リングギヤR0のイナーシャが小さくなる。
エンジン停止条件成立判定手段96は、シフトポジション判定手段94によって自動変速部20が動力伝達遮断状態(ニュートラル状態)であると判定されると、エンジン8への燃料供給を停止(フューエルカット)してエンジン8を停止させるための条件が成立したか否かを判定する。エンジン停止条件成立判定手段96は、例えば、車両走行中にシフトポジションPSHが「N」ポジションへシフト操作されたか否か、車両停止中(「P」または「N」ポジション中)にエンジン8による暖気が完了したか否か、車両停止中(「P」または「N」ポジション中)のエンジン8による蓄電装置56の充電が完了したか否か等に基づいて、エンジン8の作動停止条件が成立したか否かを判定する。ここで、車両走行中にシフトポジションPSHが「N」へシフト操作されると、エンジン8の動力は不要となるので、エンジン停止手段92の実施条件が成立する。また、暖気が完了したとき、並びに蓄電装置56の充電が完了したときも同様に、エンジン8の駆動力が不要となるので、エンジン停止手段92の実施条件が成立する。
エンジン停止手段92は、エンジン停止条件成立判定手段96によりエンジン8を停止するための条件が成立したと判定された場合には、燃料噴射装置66によるエンジン8への燃料供給を停止する指令すなわちフューエルカットを実行する指令をハイブリッド制御手段84(エンジン駆動制御手段86)を介してエンジン出力制御装置43に出力する。これと同時乃至略同時に、エンジン停止手段92は、第1電動機M1に予め設定された所定の負トルクを出力させることで、第1電動機回転速度NM1を速やかに引き下げてエンジン回転速度Nを速やかに零乃至略零まで引き下げる制御をハイブリッド制御手段84(電動機作動制御手段88)を介して開始する。
ここで、エンジン停止手段92は、自動変速部20がニュートラル状態での第1電動機M1によるエンジン停止制御の実施にあたって、エンジン8に連結された第3電動機M3によるエンジン回転速度低下を併せて実施する。この第3電動機M3によるエンジン回転速度低下制御は、回転速度差判定手段98の判定結果に基づいて適宜実施される。
回転速度差判定手段98は、第2電動機M2の回転速度NM2すなわち差動部リングギヤR0の回転速度(出力軸の回転速度)とエンジン回転速度N(駆動源回転速度)すなわち差動部キャリヤCA0の回転速度との回転速度差Nd(=第2電動機回転速度NM2−エンジン回転速度N)を算出し、その回転速度差Ndが所定値αを越えるか否かを判定する。差動部リングギヤR0の回転速度(第2電動機回転速度NM2)と差動部キャリヤCA0の回転速度(エンジン回転速度N)との回転速度差Ndが大きい場合、差動部リングギヤR0の回転速度(第2電動機回転速度NM2)が上昇していることとなり、第2電動機回転速度NM2が高回転される可能性が生じる。これに対して、回転速度差判定手段98は、回転速度差Ndを逐次算出し、回転速度差Ndが所定値αを越えるとき、本判定を肯定し、エンジン停止手段92に、第3電動機M3によるエンジン回転速度低下を実施する命令を出力する。
前記所定値αは予め実験や解析的に設定され、第2電動機回転速度NM2の高回転化を事前に抑制できるような値に設定される。また、上記所定値αは、エンジン回転速度Nの大きさに応じて変更される。図10は、所定値αとエンジン回転速度Nとの関係を示す図である。図10に示すようにエンジン回転速度Nが高くなるに従って、所定値αが小さくなるように設定されている。エンジン回転速度Nが高い状態で、且つ、回転速度差Ndが正の値を有する場合、第2電動機回転速度NM2がエンジン回転速度Nよりも高くなることから、第2電動機回転速度NM2も同様に高い回転速度となる。そこで、図10のように、エンジン回転速度Nが高くなるに従って、回転速度差Ndが許容される所定値αを小さくすることで、エンジン回転速度Nが高くなるとエンジン回転速度Nが低い状態よりも、第3電動機M3によるエンジン回転速度低下が速やかに実施されることとなる。一方、エンジン回転速度Nが低い領域では、第2電動機回転速度NM2が高回転化されにくいので、回転速度差Ndの許容される所定値αがエンジン回転速度Nの高い領域よりも大きくなっても構わない。なお、所定値αは、例えば図10に示すようなエンジン回転速度Nとの関係式や関係マップ等として記憶されている。
なお、回転速度差判定手段98は、第2電動機回転速度NM2とエンジン回転速度Nとの回転速度差Ndに基づいて第3電動機M3によるエンジン回転速度低下制御を実施するか否かを判定したが、それ以外にも、例えば第2電動機回転速度NM2が所定の回転速度を超えるか否か、或いは、第2電動機回転速度NM2の上昇率が所定の値を超えるか否か等に基づいて判定を実施することもできる。
回転速度差判定手段98が肯定されると、エンジン停止手段92は、第3電動機M3によるエンジン回転速度低下制御、具体的には、第3電動機M3から予め設定された制動トルク(負トルク)を出力することで、エンジン回転速度Nを低下させる制御を実施する。この第3電動機M3によるエンジン回転速度低下制御が実施されると、第3電動機M3の負トルクによって、エンジン8の有するエンジンイナーシャを低減することと実質的に同等となることから、第1電動機M1によるエンジン回転速度低下制御中の負トルクの反力が差動部リングギヤR0(第2電動機M2)側に伝わりにくくなり、第2電動機回転速度NM2の上昇が低減される。すなわち、エンジンイナーシャの低下に伴って、第1電動機M1によるエンジン停止制御が有効に機能することとなる。
エンジン停止判定手段100は、エンジン8が完全に停止したか否かを判定する。具体的には、例えばエンジン回転速度Nを検出し、その回転速度が零乃至略零となったか否かを判定する。そして、エンジン停止制御手段100によってエンジン8の停止が判定されると、エンジン停止手段92は、ハイブリッド制御手段84にエンジン回転速度低下制御を停止する命令を出力する。
図11は、電子制御装置80の制御作動の要部すなわち自動変速部20が動力伝達遮断状態でエンジン8を停止させるに際して、差動部11の出力軸に対応する差動部リングギヤR0の回転速度すなわち第2電動機回転速度NM2の高回転化を防止する制御作動を説明するためのフローチャートであり、例えば数msec乃至数十msec程度の極めて短いサイクルタイムで繰り返し実行されるものである。
先ず、シフトポジション判定手段94に対応するステップSA1(以下、ステップを省略)において、シフトレバー52のシフトポジションPSHが「N」ポジションまたは「P」ポジションか否か、すなわち差動部11の出力軸が駆動輪34に対して動力伝達遮断された状態(ニュートラル状態)か否かが判定される。SA1が否定されると、SA7においてその他の制御が実施され、本ルーチンは終了させられる。SA1が肯定されると、エンジン停止条件成立判定手段96に対応するSA2において、エンジン駆動状態からエンジン停止状態へ切り換えるエンジン停止条件が成立したか否かが判定される。SA2が否定されると、SA7においてその他の制御が実施され、本ルーチンは終了させられる。SA2が肯定されると、エンジン停止手段92に対応するSA3において、エンジン8の停止制御が開始される。具体的には、エンジン8の燃料噴射装置66からの燃料噴射を停止するフューエルカットが実施され、且つ、第1電動機M1の負トルク出力によるエンジン停止制御が実施される。そして、回転速度差判定手段98に対応するSA4において、差動部リングギヤR0の回転速度(第2電動機回転速度NM2)とエンジン回転速度Nとの回転速度差Ndが所定値αを越える状態か否かが判定される。SA4が否定されると、第2電動機回転速度NM2の高回転化が生じる可能性が低いものと判定されてSA6に進む。一方、SA5が肯定されると、エンジン停止手段92に対応するSA5において、第3電動機M3の制動トルクによるエンジン回転速度低下制御が実施される。そして、エンジン停止判定手段100に対応するSA6において、エンジン8が完全に停止したか否かが判定される。SA6が否定されると、SA3に戻り、エンジン8が完全に停止するまで、エンジン回転速度低下制御が継続される。そして、SA6が肯定されると、本ルーチンは終了させられる。
図12は、自動変速部20が動力伝達遮断状態においてエンジン8を停止させたときの制御状態を説明するタイムチャートであり、図11のフローチャートの制御作動に対応するものである。なお、図12は、例えば暖気が終了した場合や蓄電装置56の充電が終了した場合など、車両停止状態でエンジン8が停止させられる場合が一例として示されている。
t1時点において、エンジン停止制御が開始されると、第1電動機M1から予め設定された負トルクが出力されることで、第1電動機回転速度NM1が低下する。これに伴い、エンジン回転速度Nが漸減する一方、停止状態にあった差動部リングギヤR0(第2電動機M2)のイナーシャがエンジン8のエンジンイナーシャに比べて小さいことから、差動部リングギヤR0の回転速度(第2電動機回転速度NM2)が上昇させられる。すなわち、エンジンイナーシャは第2電動機M2のイナーシャよりも大きいので、第2電動機回転速度NM2の上昇率は、エンジン回転速度Nの低下率よりも大きくなる。なお、t1時点が図11のフローチャートにおいて、SA3までのステップに対応している。そして、第2電動機回転速度NM2が上昇し、t2時点において第2電動機回転速度NM2とエンジン回転速度Nとの回転速度差Nd(第2電動機回転速度NM2−エンジン回転速度N)が所定値αを越えると、第3電動機M3から予め設定された負トルクが出力されることによるエンジン回転速度低下制御が開始される。なお、t2時点が図11のフローチャートにおいて、SA4およびSA5が対応している。この第3電動機M3によるエンジン回転速度低下制御が実施されると、t2時点乃至t3時点において、実線に示すようにエンジン回転速度Nが第1電動機M1および第3電動機M3によって低下させられる。また、第3電動機M3によるエンジン回転速度低下制御は、負トルクの影響によってエンジンイナーシャを小さくすることと実質的に同等であるので、第1電動機M1の負トルクの反力が第2電動機M2側へ伝わりにくくなり、第2電動機回転速度NM2の上昇が抑制される。したがって、図12において第2電動機回転速度NM2が低下することとなる。そして、図11のステップSA6に対応するt3時点において、エンジン8の停止が判定されると、第1電動機M1および第3電動機M3によるエンジン回転速度低下制御が終了させられる。
なお、破線は、第3電動機M3によるエンジン回転速度低下制御を実施しない場合の制御状態を示している。上記制御を実施しない場合、差動部リングギヤR0および第2電動機M2のイナーシャがエンジンイナーシャよりも小さいので、t2時点乃至t3時点においても差動部リングギヤR0の回転速度(第2電動機回転速度NM2)が破線に示すように上昇し続けて高回転化されることとなる。また、第1電動機M1のトルクがエンジン8に十分に作用されないので、エンジン回転速度Nの回転速度変化も破線に示すように遅くなり、エンジン停止にかかる時間が長くなる。
上述のように、本実施例によれば、自動変速部20が動力伝達遮断状態であるときにおいてエンジン8を停止させる場合、第3電動機M3によってエンジン回転速度Nを低下させるエンジン停止手段92を含むため、第3電動機M3によるエンジン回転速度低下制御が実施される。ここで、第3電動機M3によるエンジン回転速度低下制御の実施は、エンジンイナーシャを小さくすることと実質的に同等のこととなるため、第1電動機M1の負トルクの反力が差動部リングギヤR0に伝わりにくくなり、差動部リングギヤR0の回転速度すなわち第2電動機回転速度NM2の上昇を低減することができる。したがって、差動部リングギヤR0および第2電動機M2の高回転化を防止することができる。
また、本実施例によれば、第3電動機M3によるエンジン回転速度低下は、第2電動機回転速度NM2とエンジン回転速度Nとの回転速度差Ndが所定値α以上のときに実施されるため、差動部リングギヤR0および第2電動機M2が高回転化される危険性が高いと判定されると、第3電動機M3によるエンジン回転速度低下制御が実施され、差動部リングギヤR0および第2電動機M2の高回転化を事前に防止することができる。
また、本実施例によれば、所定値αは、エンジン回転速度Nが高くなるに従って小さくされる。エンジン回転速度Nが高い領域では、第2電動機回転速度NM2も同様に高くなっており、差動部リングギヤR0および第2電動機M2が高回転される危険性も高くなる。したがって、エンジン回転速度Nが高い領域では、第3電動機M3によるエンジン回転速度低下制御が速やかに実施されるように所定値αを小さくすることで、差動部リングギヤR0および第2電動機M2の高回転化を効果的に防止することができる。
また、本実施例によれば、第3電動機M3によるエンジン回転速度低下中は、エンジン8のフューエルカットが実施されるため、エンジン回転速度Nを速やかに低下させることができる。
以上、本発明の実施例を図面に基づいて詳細に説明したが、本発明はその他の態様においても適用される。
例えば、前述の実施例では、第2電動機回転速度NM2とエンジン回転速度Nとの回転速度差Ndに基づいて、第3電動機M3によるエンジン回転速度低下制御を実施するか否かが判定されたが、その他にも例えば第2電動機回転速度NM2の絶対値や第2電動機回転速度NM2の変化率等に基づいて、第3電動機M3によるエンジン回転速度低下制御を実施するか否かを判定しても構わない。
また、前述の実施例では、所定値αはエンジン回転速度Nによって変更されているが、さらに、例えばエンジンオイル油温や蓄電装置56の充電容量など他のパラメータに応じて変更しても構わない。
また、前述の実施例では、第3電動機M3はエンジン8に直接的に連結されているが、例えば第3電動機M3とエンジン8との間に歯車減速機などが介装された構成であっても構わない。すなわち、第3電動機M3とエンジン8とが動力伝達可能な構成であれば本発明を適用することができる。
また、前述の実施例では、動力伝達経路を遮断する手段として自動変速部20が使用されているが、必ずしも上記のような変速部に限定されず、差動部11と駆動輪34との間の動力伝達経路を選択的に遮断可能な係合装置等であっても構わない。
また、前述の実施例では、第2電動機M2は、伝達部材18に直接連結されているが、第2電動機M2の連結位置はそれに限定されず、エンジン8又は伝達部材18から駆動輪34までの間の動力伝達経路に直接的或いは変速機、遊星歯車装置、係合装置等を介して間接的に連結されていてもよい。
また、前述の実施例では、第1電動機M1の運転状態が制御されることにより、差動部11はその変速比γ0が最小値γ0minから最大値γ0maxまで連続的に変化させられる電気的な無段変速機として機能するものであったが、たとえば差動部11の変速比γ0を連続的ではなく差動作用を利用して敢えて段階的に変化させるものであっても本発明は適用することができる。
また、前述の実施例において、差動部11は、動力分配機構16に設けられて差動作用を制限することにより少なくとも前進2段の有段変速機としても作動させられる差動制限装置を備えたものであってもよい。
また、前述の実施例の動力分配機構16では、差動部キャリヤCA0がエンジン8および第3電動機M3に連結され、差動部サンギヤS0が第1電動機M1に連結され、差動部リングギヤR0が伝達部材18に連結されていたが、それらの連結関係は、必ずしもそれに限定されるものではなく、エンジン8、第1電動機M1、伝達部材18は、差動部遊星歯車装置24の3要素CA0、S0、R0のうちのいずれと連結されていても差し支えない。
また、前述の実施例では、エンジン8は入力軸14と直結されていたが、たとえばギヤ、ベルト等を介して作動的に連結されておればよく、共通の軸心上に配置される必要もない。
また、前述の実施例では、第1電動機M1、第2電動機M2、第3電動機M3は、入力軸14に同心に配置されて第1電動機M1は差動部サンギヤS0に連結され、第2電動機M2は伝達部材18に連結され、第3電動機M3は差動部キャリヤCA0に連結されていたが、必ずしもそのように配置される必要はなく、たとえばギヤ、ベルト、減速機等を介して作動的に第1電動機M1は差動部サンギヤS0に連結され、第2電動機M2は伝達部材18に連結され、第3電動機M3は差動部リングギヤR0に連結されていてもよい。
また、前述の実施例では、第1クラッチC1や第2クラッチC2などの油圧式摩擦係合装置は、パウダー(磁紛)クラッチ、電磁クラッチ、噛合型のドグクラッチなどの磁紛式、電磁式、機械式係合装置から構成されていてもよい。たとえば電磁クラッチであるような場合には、油圧制御回路70は油路を切り換える弁装置ではなく電磁クラッチへの電気的な指令信号回路を切り換えるスイッチング装置や電磁切換装置等により構成される。
また、前述の実施例では、自動変速部20は伝達部材18を介して差動部11と直列に連結されていたが、入力軸14と平行にカウンタ軸が設けられてそのカウンタ軸上に同心に自動変速部20が配列されていてもよい。この場合には、差動部11と自動変速部20とは、たとえば伝達部材18としてカウンタギヤ対、スプロケットおよびチェーンで構成される1組の伝達部材などを介して動力伝達可能に連結される。
また、前述の実施例の差動機構として動力分配機構16は、たとえばエンジンによって回転駆動されるピニオンと、そのピニオンに噛み合う一対のかさ歯車が第1電動機M1および伝達部材18(第2電動機M2)に作動的に連結された差動歯車装置であってもよい。
また、前述の実施例ではエンジン8と差動部11とが直接連結されているが、必ずしも直接連結される必要はなく、エンジン8と差動部11との間にクラッチを介して連結されていてもよい。
また、前述の実施例では、差動部11と自動変速部20とが直列接続されたような構成となっているが、特にこのような構成に限定されず、変速機構10全体として電気式差動を行う機能と、変速機構10全体として電気式差動による変速とは異なる原理で変速を行う機能と、を備えた構成であれば本発明は適用可能であり、機械的に独立している必要はない。また、これらの配設位置や配設順序も特に限定されない。要するに、自動変速部20は、エンジン8から駆動輪34への動力伝達経路の一部を構成するように設けられておればよい。
また、前述の実施例の動力分配機構16は、1組の遊星歯車装置(差動部遊星歯車装置24)から構成されていたが2以上の遊星歯車装置から構成されていてもよい。また、差動部遊星歯車装置24はシングルピニオン型に限られたものではなくダブルピニオン型の遊星歯車装置であってもよい。また、このような2以上の遊星歯車装置から構成された場合においても、これらの遊星歯車装置の各回転要素にエンジン8、第1、第2、第3電動機M1、M2、M3、伝達部材18が動力伝達可能に連結され、さらに遊星歯車装置の各回転要素に接続されたクラッチCおよびブレーキBの制御により有段変速と無段変速とが切り換えられるような構成であっも構わない。
また、前述の実施例のシフト操作装置50は、複数種類のシフトポジションPSHを選択するために操作されるシフトレバー52を備えていたが、そのシフトレバー52に替えて、たとえば押しボタン式のスイッチやスライド式スイッチ等の複数種類のシフトポジションPSHを選択可能なスイッチ、或いは手動操作に因らず運転者の音声に反応して複数種類のシフトポジションPSHを切り換えられる装置や足の操作により複数種類のシフトポジションPSHが切り換えられる装置等であってもよい。また、シフトレバー52が「M」ポジションに操作されることにより、変速レンジが設定されるものであったが、ギヤ段が設定されることすなわち各変速レンジの最高速ギヤ段がギヤ段として設定されてもよい。この場合、自動変速部20ではギヤ段が切り換えられて変速が実行される。たとえば、シフトレバー52が「M」ポジションにおけるアップシフト位置「+」またはダウンシフト位置「−」へ手動操作されると、自動変速部20では第1速ギヤ段乃至第4速ギヤ段のいずれかがシフトレバー52の操作に応じて設定される。
また、前述の実施例の変速機構10において第1電動機M1と第2回転要素RE2とは直結されており、第2電動機M2と第3回転要素RE3とは直結されており、第3電動機M3と第1回転要素RE1とは連結されているが、第1電動機M1が第2回転要素RE2にクラッチ等の係合要素を介して連結され、第2電動機M2が第3回転要素RE3にクラッチ等の係合要素を介して連結され、第3電動機M3が第1回転要素RE1にクラッチ等の係合要素を介して連結されていてもよい。
また、前述の実施例において、第2電動機M2はエンジン8から駆動輪34までの動力伝達経路の一部を構成する伝達部材18に連結されているが、第2電動機M2がその動力伝達経路に連結されていることに加え、クラッチ等の係合要素を介して動力分配機構16にも連結可能とされており、第1電動機M1の代わりに第2電動機M2によって動力分配機構16の差動状態を制御可能とする変速機構10の構成であってもよい。
また、前述の実施例において自動変速部20は有段の自動変速機として機能する変速部であるが、無段のCVTであってもよいし、手動変速機として機能する変速部であってもよい。
なお、上述したのはあくまでも一実施形態であり、本発明は当業者の知識に基づいて種々の変更、改良を加えた態様で実施することができる。
本発明の制御装置が適用される車両用動力伝達装置の構成を説明する骨子図である。 図1の車両用動力伝達装置に備えられた自動変速部の変速作動とそれに用いられる油圧式摩擦係合装置の作動の組み合わせとの関係を説明する作動図表である。 図1の車両用動力伝達装置における各ギヤ段の相対回転速度を説明する共線図である。 図1の車両用動力伝達装置に設けられた電子制御装置の入出力信号を説明する図である。 シフトレバーを備えた複数種類のシフトポジションを選択するために操作されるシフト操作装置の一例である。 図4の電子制御装置による制御機能の要部を説明する機能ブロック線図である。 図1の車両用動力伝達装置において、車速と出力トルクとをパラメータとする同じ二次元座標に構成された、自動変速部の変速判断の基となる予め記憶された変速線図の一例と、エンジン走行とモータ走行とを切り換えるためのエンジン走行領域とモータ走行領域との境界線を有する予め記憶された駆動力源切換線図の一例とを示す図であって、それぞれの関係を示す図でもある。 図1のエンジンの最適燃費率曲線を表す図である。 差動部の各回転要素の回転状態を示す共線図であり、図3に対応するものである。 所定値とエンジン回転速度との関係を示す図である。 自動変速部が動力伝達遮断状態でエンジンを停止させるに際して、差動部リングギヤの回転速度および第2電動機回転速度NM2の高回転化を防止する制御作動を説明するためのフローチャートである。 自動変速部が動力伝達遮断状態においてエンジンを停止させたときの制御状態を説明するタイムチャートであり、図11のフローチャートの制御作動に対応するものである。
符号の説明
8:エンジン(駆動源)
10:車両用動力伝達装置
11:差動部(電気式差動部)
14:入力軸
16:動力分配機構(差動機構)
20:自動変速部(動力伝達遮断手段)
34:駆動輪
92:エンジン停止手段(駆動源停止手段)
M1:第1電動機
M3:第3電動機(駆動源連結電動機)
Nd:回転速度差
R0:差動部リングギヤ(出力軸)
α:所定値

Claims (4)

  1. 差動機構の回転要素に動力伝達可能に連結された第1電動機の運転状態が制御されることにより、入力軸の回転速度と出力軸の回転速度との差動状態が制御される電気式差動部と、前記入力軸に連結された駆動源および駆動源連結電動機と、前記電気式差動部と駆動輪との間の動力伝達経路の一部を構成する動力伝達遮断手段とを、備える車両用動力伝達装置の制御装置であって、
    前記動力伝達遮断手段が動力伝達遮断状態であるときにおいて前記駆動源を停止させる場合、前記駆動源連結電動機によって駆動源回転速度を低下させる駆動源停止手段を含むことを特徴とする車両用動力伝達装置の制御装置。
  2. 前記駆動源連結電動機による駆動源回転速度低下は、前記出力軸の回転速度と前記駆動源回転速度との回転速度差が所定値以上のときに実施されることを特徴とする請求項1の車両用動力伝達装置の制御装置。
  3. 前記所定値は、前記駆動源回転速度が高くなるに従って小さくされることを特徴とする請求項2の車両用動力伝達装置の制御装置。
  4. 前記駆動源連結電動機による駆動源回転速度低下中は、前記駆動源のフューエルカットが実施されることを特徴とする請求項1乃至3いずれか1つの車両用動力伝達装置の制御装置。
JP2008265650A 2008-10-14 2008-10-14 車両用動力伝達装置の制御装置 Expired - Fee Related JP5293069B2 (ja)

Priority Applications (1)

Application Number Priority Date Filing Date Title
JP2008265650A JP5293069B2 (ja) 2008-10-14 2008-10-14 車両用動力伝達装置の制御装置

Applications Claiming Priority (1)

Application Number Priority Date Filing Date Title
JP2008265650A JP5293069B2 (ja) 2008-10-14 2008-10-14 車両用動力伝達装置の制御装置

Publications (2)

Publication Number Publication Date
JP2010095055A true JP2010095055A (ja) 2010-04-30
JP5293069B2 JP5293069B2 (ja) 2013-09-18

Family

ID=42257056

Family Applications (1)

Application Number Title Priority Date Filing Date
JP2008265650A Expired - Fee Related JP5293069B2 (ja) 2008-10-14 2008-10-14 車両用動力伝達装置の制御装置

Country Status (1)

Country Link
JP (1) JP5293069B2 (ja)

Families Citing this family (1)

* Cited by examiner, † Cited by third party
Publication number Priority date Publication date Assignee Title
CA3122836C (en) 2017-01-20 2025-04-01 Polaris Industries Inc. SYSTEMS AND METHODS FOR DIAGNOSING CONTINUOUSLY VARIABLE TRANSMISSION (CVT)

Citations (5)

* Cited by examiner, † Cited by third party
Publication number Priority date Publication date Assignee Title
JP2004336983A (ja) * 2003-04-15 2004-11-25 Toyota Motor Corp 動力出力装置およびこれを搭載する自動車
JP2006046541A (ja) * 2004-08-05 2006-02-16 Toyota Motor Corp 車両用駆動装置の制御装置
JP2006187168A (ja) * 2004-12-28 2006-07-13 Toyota Motor Corp 動力出力装置およびこれを搭載する自動車並びに動力出力装置の制御方法
JP2007001491A (ja) * 2005-06-24 2007-01-11 Toyota Motor Corp 車両用駆動装置の制御装置
JP2008213824A (ja) * 2007-02-09 2008-09-18 Toyota Motor Corp 車両用駆動装置の制御装置

Patent Citations (5)

* Cited by examiner, † Cited by third party
Publication number Priority date Publication date Assignee Title
JP2004336983A (ja) * 2003-04-15 2004-11-25 Toyota Motor Corp 動力出力装置およびこれを搭載する自動車
JP2006046541A (ja) * 2004-08-05 2006-02-16 Toyota Motor Corp 車両用駆動装置の制御装置
JP2006187168A (ja) * 2004-12-28 2006-07-13 Toyota Motor Corp 動力出力装置およびこれを搭載する自動車並びに動力出力装置の制御方法
JP2007001491A (ja) * 2005-06-24 2007-01-11 Toyota Motor Corp 車両用駆動装置の制御装置
JP2008213824A (ja) * 2007-02-09 2008-09-18 Toyota Motor Corp 車両用駆動装置の制御装置

Also Published As

Publication number Publication date
JP5293069B2 (ja) 2013-09-18

Similar Documents

Publication Publication Date Title
JP4605256B2 (ja) 車両用動力伝達装置の制御装置
JP5018445B2 (ja) 車両用動力伝達装置の制御装置
JP2008207690A (ja) 車両用駆動装置の制御装置
JP4930261B2 (ja) 車両用動力伝達装置の制御装置
JP4858310B2 (ja) 車両用動力伝達装置の制御装置
JP2009012730A (ja) ハイブリッド車両用動力伝達装置のエンジン始動装置
JP2008105475A (ja) ハイブリッド車両のエンジン起動装置
JP2010070008A (ja) 車両用駆動装置の制御装置
JP2008290555A (ja) 車両用駆動装置の制御装置
JP5120202B2 (ja) 車両用動力伝達装置の制御装置
JP5445306B2 (ja) 車両用自動変速機の変速段設定方法
JP2010215040A (ja) 動力伝達装置の制御装置
JP2008296610A (ja) 車両用動力伝達装置の制御装置
JP2010143491A (ja) 車両用動力伝達装置の制御装置
JP5018452B2 (ja) 車両用動力伝達装置の制御装置
JP4992454B2 (ja) 車両用駆動装置の制御装置
JP2009280177A (ja) 車両用動力伝達装置の制御装置
JP5195376B2 (ja) 車両用駆動装置の制御装置
JP2011183990A (ja) 車両用動力伝達装置の制御装置
JP2009154723A (ja) 車両用動力伝達装置の制御装置
JP2008213686A (ja) 車両用駆動装置の制御装置
JP2010158966A (ja) 車両用動力伝達装置の制御装置
JP2010074886A (ja) 車両用動力伝達装置の制御装置
JP4853410B2 (ja) ハイブリッド車両用動力伝達装置の制御装置
JP5293069B2 (ja) 車両用動力伝達装置の制御装置

Legal Events

Date Code Title Description
A621 Written request for application examination

Free format text: JAPANESE INTERMEDIATE CODE: A621

Effective date: 20110217

A977 Report on retrieval

Free format text: JAPANESE INTERMEDIATE CODE: A971007

Effective date: 20120928

A131 Notification of reasons for refusal

Free format text: JAPANESE INTERMEDIATE CODE: A131

Effective date: 20121002

A521 Request for written amendment filed

Free format text: JAPANESE INTERMEDIATE CODE: A523

Effective date: 20121126

A131 Notification of reasons for refusal

Free format text: JAPANESE INTERMEDIATE CODE: A131

Effective date: 20130122

TRDD Decision of grant or rejection written
A01 Written decision to grant a patent or to grant a registration (utility model)

Free format text: JAPANESE INTERMEDIATE CODE: A01

Effective date: 20130514

A61 First payment of annual fees (during grant procedure)

Free format text: JAPANESE INTERMEDIATE CODE: A61

Effective date: 20130527

R151 Written notification of patent or utility model registration

Ref document number: 5293069

Country of ref document: JP

Free format text: JAPANESE INTERMEDIATE CODE: R151

LAPS Cancellation because of no payment of annual fees