JP2010092716A - 光源装置 - Google Patents

光源装置 Download PDF

Info

Publication number
JP2010092716A
JP2010092716A JP2008261534A JP2008261534A JP2010092716A JP 2010092716 A JP2010092716 A JP 2010092716A JP 2008261534 A JP2008261534 A JP 2008261534A JP 2008261534 A JP2008261534 A JP 2008261534A JP 2010092716 A JP2010092716 A JP 2010092716A
Authority
JP
Japan
Prior art keywords
electrode
lamp
tube
discharge
light source
Prior art date
Legal status (The legal status is an assumption and is not a legal conclusion. Google has not performed a legal analysis and makes no representation as to the accuracy of the status listed.)
Granted
Application number
JP2008261534A
Other languages
English (en)
Other versions
JP4572978B2 (ja
Inventor
Yosuke Kano
納 洋 介 加
Akira Ogawara
亮 大河原
Kooji Komata
俣 亘央二 古
Yosuke Ishikawa
川 洋 祐 石
Current Assignee (The listed assignees may be inaccurate. Google has not performed a legal analysis and makes no representation or warranty as to the accuracy of the list.)
Iwasaki Electric Co Ltd
Original Assignee
Iwasaki Electric Co Ltd
Priority date (The priority date is an assumption and is not a legal conclusion. Google has not performed a legal analysis and makes no representation as to the accuracy of the date listed.)
Filing date
Publication date
Application filed by Iwasaki Electric Co Ltd filed Critical Iwasaki Electric Co Ltd
Priority to JP2008261534A priority Critical patent/JP4572978B2/ja
Priority to EP09819022A priority patent/EP2333810B1/en
Priority to CN2009801399707A priority patent/CN102177569B/zh
Priority to PCT/JP2009/058057 priority patent/WO2010041484A1/ja
Priority to CA2734894A priority patent/CA2734894C/en
Priority to US13/120,300 priority patent/US8154182B2/en
Publication of JP2010092716A publication Critical patent/JP2010092716A/ja
Application granted granted Critical
Publication of JP4572978B2 publication Critical patent/JP4572978B2/ja
Active legal-status Critical Current
Anticipated expiration legal-status Critical

Links

Images

Classifications

    • HELECTRICITY
    • H01ELECTRIC ELEMENTS
    • H01JELECTRIC DISCHARGE TUBES OR DISCHARGE LAMPS
    • H01J61/00Gas-discharge or vapour-discharge lamps
    • H01J61/82Lamps with high-pressure unconstricted discharge having a cold pressure > 400 Torr
    • H01J61/822High-pressure mercury lamps
    • HELECTRICITY
    • H01ELECTRIC ELEMENTS
    • H01JELECTRIC DISCHARGE TUBES OR DISCHARGE LAMPS
    • H01J61/00Gas-discharge or vapour-discharge lamps
    • H01J61/02Details
    • H01J61/54Igniting arrangements, e.g. promoting ionisation for starting
    • H01J61/547Igniting arrangements, e.g. promoting ionisation for starting using an auxiliary electrode outside the vessel

Landscapes

  • Discharge Lamps And Accessories Thereof (AREA)
  • Vessels And Coating Films For Discharge Lamps (AREA)
  • Non-Portable Lighting Devices Or Systems Thereof (AREA)
  • Arrangement Of Elements, Cooling, Sealing, Or The Like Of Lighting Devices (AREA)

Abstract

【課題】製作コストが嵩まない簡易な構成の始動用光源によって、高圧放電ランプの消灯直後の熱間時でもその放電容器内に必要十分な量の紫外線を照射して当該ランプの始動性能を確実に高めることができる光源装置を提供する。
【解決手段】高圧放電ランプ1の点灯始動時にその始動性能を高める紫外線を放電容器5に向けて照射する始動用光源3が、ランプ1の点灯回路11に対して並列に接続された放電管18で成り、当該放電管18の外部電極20が、放電管18の外周部を凹面反射鏡2のボトム孔14に挿通されたランプ1の電極封着部9Lの端面と対向させるように保持してその端面から突出した電極リード8に固定する金属製のホルダH1で形成されている。
【選択図】図1

Description

本発明は、液晶プロジェクタなどに用いられる光源装置に関する。
小型で且つ投影画像が明るいことが要求されるデータプロジェクタやホームシアター用プロジェクタ等の液晶プロジェクタ及びDLPプロジェクタは、その光源装置として、小型で高輝度発光が得られるショートアークタイプの高圧水銀蒸気放電ランプが用いられているが、この種の高圧放電ランプは、概して冷間時(cold condition)の始動性能や熱間時(hot restrike)の再始動性能が良くないという問題があるため、その始動性能を高める手段を講ずる必要があるが、小型化されたランプの放電容器内にはその点灯始動時に電極間のアーク放電を促す始動用の補助電極等を設置し得るような余剰スペースは存しないので、高圧放電ランプの始動時のランプ電圧を高めに設定すると共に、高周波電圧、高周波パルス電圧等の始動用電圧を印加して電極間のアーク放電を促すようにしている。
しかし、高圧放電ランプの始動性能をより高めるために、電極間に印加する高周波パルスの電圧を高くすると、ランプの点灯回路を形成する配線間の絶縁距離を拡げて電圧のリークを防止しなければならないので、その点灯回路が大型化して液晶プロジェクタの小型化が図れないという問題が生ずるのみならず、液晶プロジェクタの電子回路等に誤動作を起させるノイズが発生するおそれがある。
そこで、図7に示す高圧放電ランプ51Aは、比較的低電圧の高周波パルスで点灯始動させるために、発光管52の外側に電極56、56間の放電を促進させるトリガ線/アンテナ線と称する金属線53を配している。つまり、ランプ51Aは、石英ガラス管で成る発光管52の放電容器54内に、一対のタングステン電極56、56が約1mm程度の短い電極間距離で互いに対向して配置されると共に、水銀と臭素等のハロゲンとアルゴンガス等の始動用ガスとが封入され、その放電容器54から発光管52の両端に至る部分をシュリンクシールにより気密に封止してその両端側に挿通された電極アセンブリ55の電極56と金属箔57と電極リード58とを封着した一対の電極封着部59R、59Lが形成され、当該各電極封着部59R、59Lの端面から突出した電極リード58、58を介して点灯回路に接続されるショートアークタイプの高圧水銀蒸気放電ランプであって、当該ランプの始動性能を高める金属線53は、その片端側53aが、発光管52の片方の電極封着部59Rの端面から突出した電極リード58に接続され、その他端側53bが、発光管52の他方の電極封着部59Lの外周部にループ状もしくはスパイラル状に巻回されている(特許文献1〜4参照)。
金属線53は、これを発光管52の表面に密着・近接させて配線すれば、ランプ51Aの始動性能がより高まるが、ランプ点灯時に約900℃〜1000℃前後の高温に熱せられて熱膨張による伸びを生じて発光管52の表面から離れてしまうため、熱間時の再始動性能が芳しくないという問題がある。また、金属線53は、熱膨張による伸びが生じることにより全体的に弛みや撓みが生ずるので、発光管52の表面から離れ易いうえに、一旦弛みや撓みを生じた金属線53は、ランプ消灯後に冷えて熱収縮しても、発光管52の表面に密着・近接させた当初の状態に復帰しないため、冷間時の始動性能も低下することとなる。
特開2004−335457号公報 特開平9−265947号公報 特開平8−87984号公報 再公表2004/90934号公報
次に、図8(a)に平面図を示し、同図(b)に部分拡大断面図を示す高圧放電ランプ51Bは、発光管52の両端側をシュリンクシールして電極封着部59R、59Lを形成する際に、片方の電極封着部59L内に金属箔57の一部が収容される空洞60を形成すると同時に、当該空洞60内に水銀蒸気を含むアルゴンガス等の希ガスを封入する加工を施して、その空洞60が形成された電極封着部59Lの外周部に、電極封着部59Rの端面から突出した電極リード58に片端側が接続された金属線53の他端側を巻回することにより、ランプの点灯始動時に、その金属線53と電極封着部59Lの空洞60内に収容された金属箔57との間に高周波パルス電圧が印加されて、空洞60内の水銀蒸気中でグロー放電が生じ、そのグロー放電で水銀が励起されて発生する紫外線により放電容器54内に封入された始動用ガスが励起されて電極56、56間のアーク放電が促される構成となっている(特許文献5参照)。
しかし、高圧放電ランプ51Bの製造過程で、発光管52の電極封着部59Lに空洞60を形成してその空洞60内に水銀蒸気を含んだ希ガスを封入する加工を施すのは、非常に面倒であるうえ、グロー放電によって必要量の紫外線を発生させるためには、空洞60内に封入する水銀の量や希ガスの容量・ガス圧等を適正に調整しなければならないので、その加工に手間取ってランプの生産性が著しく低下するおそれがある。また、発光管52の電極封着部59Lに空洞60を形成すると、その電極封着部59Lの機械的強度が低下して、発光管52の破裂を生ずるおそれもある。
また、一般に、高圧放電ランプの点灯中は、当該ランプを取り付けた凹面反射鏡内の雰囲気温度が平均300℃以上の高温となるため、その高温の影響で図8の高圧放電ランプ51Bは空洞60内の水銀蒸気圧が過度に上昇するので、ランプ消灯後も暫くの間は、金属箔57と金属線53との間に始動用の高周波パルス電圧が印加されても、空洞60内の水銀蒸気圧が高過ぎてグロー放電が生じず、凹面反射鏡内の雰囲気温度が平均100℃程度まで低下して漸くグロー放電を生じ得る状態となる。したがって、高圧放電ランプ51Bは、消灯直後に再点灯させる熱間時の再始動性能が良くないという欠点がある。
特表2003−526182号公報
次に、図9に示す光源装置は、図7の高圧放電ランプ51Aと略同様の基本構造を有する高圧放電ランプ51Cが、片方の電極封着部59Lを凹面反射鏡61の底部に開口するボトム孔62に挿通して当該反射鏡61と一体的に取り付けられると共に、当該ランプ51Cの点灯始動時にその始動性能を高める紫外線を放電容器54に向けて照射する始動用光源となるイグニションアンテナ63が、電極封着部59Lの外周部に添わせるように発光管52の光軸と平行に配設されている(特許文献6参照)。
イグニションアンテナ63は、図10(a)に示す拡大図および同図(b)に示すX−X断面図のとおり、電極封着部59Lに沿ってランプ51Cの放電容器54の近くまで延びた長い直管部分65aの先端に、電極封着部59Lの外周部に180℃巻き付けるように半円弧状に曲げられた曲管部分65bが設けられた石英ガラス管で成るアンテナ容器64内に、イオン化充填物(水銀とアルゴンガス)が充填されると共に、当該アンテナ容器64の直管部分65aの自由端側に金属箔(モリブデン箔)で成る電気的導体素子66が収容配設され、その直管部分65aの自由端側に、金属ブッシュで成る外部電極67が嵌め付けられた構成となっている。
そして、イグニションアンテナ63は、外部電極67の部分がセメント68で電極封着部59Lの外周部に固定され、その外部電極67が、電流供給導体69を介して、高圧放電ランプ51Cの点灯回路を形成する電流導体70R、70L間に接続された電圧変成手段71の出力部に接続されて、外部電極67とアンテナ容器64内の電気的導体素子66との間に高周波AC電圧あるいはパルス電圧等の始動用電圧が印加されることにより、その間に放電が生じて紫外線を発生し、この紫外線をアンテナ容器64の直管部分65aと曲管部分65bを通じてランプ51Cの放電容器54内に照射して、電極56、56間のアーク放電を促すようになっている。
しかし、直管部分65aと曲管部分65bが連なるアンテナ容器64を製作するのは面倒であり、その製作コストが嵩むという欠点がある。また、アンテナ容器64は、曲管部分65bが、ランプ点灯時に1000℃前後の高温となるランプ51Cの放電容器54に近接しているため、その高温の影響でランプ消灯直後は外部電極67と電気的導体素子66との間の放電が不安定となって、熱間時における再始動性能が芳しくないという問題があると同時に、アンテナ容器64が熱的損傷を受けて破損するおそれも大きい。
また、外部電極67と電気的導体素子66との間の放電によって発生した紫外線が、アンテナ容器64の長い直管部分65aと曲管部分65bを通じてランプ51Cの放電容器54内へと導かれる過程で、反射、屈折したり、アンテナ容器64内の充填物に吸収されて減衰するという不具合がある。また、アンテナ容器64の曲管部分65bが、ランプ51Cの放電容器54の片側に近接して配置されることにより、ランプ点灯時における温度分布が放電容器54の片側と反対側とで著しく異なって、ランプ寿命が損なわれるおそれがあると同時に、アンテナ容器64の曲管部分65bが、ランプ51Cの放電容器54から凹面反射鏡61の底部側に放射される光の一部を遮ってランプの光利用効率を低下させるという不具合もある。更に、イグニションアンテナ63を電極封着部59Lの外周部に固定するセメント68の経時劣化(熱劣化)によって、イグニションアンテナ63が電極封着部59Lの外周部から脱落するおそれもある。
特表2003−523055号公報
そこで本願出願人は、図11に示すように、高圧放電ランプ51Dの点灯始動時に紫外線を発生するグロー放電管80が、凹面反射鏡81の外部から当該反射鏡に設けられた冷却エアの通風孔82を通じてランプ51Dの放電容器54に紫外線を照射することができる位置に配設された光源装置を提案した(特許文献7参照)。
図11の光源装置は、図7の高圧放電ランプ51Aや図9の高圧放電ランプ51Cと同様の基本構造を有する高圧放電ランプ51Dが、片方の電極封着部59Lを凹面反射鏡81の底部に開口するボトム孔83に挿通して当該反射鏡81と一体的に取り付けられると共に、当該ランプ51Dの点灯始動時にその始動性能を高める紫外線を放電容器54に照射する始動用光源となるグロー放電管80が、反射鏡81の外部に配設されているので、当該放電管80は、ランプ点灯時に高温に熱せられてその内部の水銀蒸気圧が過度に上昇することがなく、ランプ消灯直後の熱間時においてもグロー放電を生じて紫外線を発生させることができる。
また、グロー放電管80は、石英ガラスで成るガラス封管84の内部に、水銀蒸気を含むアルゴンガス等の希ガスが封入されると共に、当該ガラス封管84の両端から突出する一対のリード線86、86を有した金属箔で成る内部電極85が収容配設され、そのガラス封管84の外周部に線径約0.2mmのクロミウム・アルミニウム鉄合金線89を巻き付けて形成されるコイル状の外部電極87が配設された簡易な構造となっているので、製作コストも嵩まないという利点がある。
そして、グロー放電管80の内部電極85と外部電極87が、夫々ランプ点灯回路の片極側88Rと他極側88Lに接続されて、その内部電極85と外部電極87との間に始動用の高周波パルス電圧が印加されることにより、放電管80の本体となるガラス封管84内の水銀蒸気中でグロー放電が生じて紫外線が発生し、その紫外線の一部が、反射鏡81に設けられた冷却エアの通風孔82を通じて反射鏡81の内部に配置されたランプ51Dの放電容器54に直接照射されるかあるいは反射鏡81の反射面で反射して照射されるようになっている。
しかしながら、放電管80の設置位置が反射鏡81の通風孔82から離れていると、その通風孔82を通じて反射鏡81内に照射される紫外線の量が少なくなって、ランプの始動性能が低下するという問題があり、また、放電管80を反射鏡81の通風孔82に近接させて設置すると、その放電管80で通風孔82が塞がれて冷却エアの流通が妨げられるため、ランプ52Dの冷却効果が低下するという問題がある。
また、放電管80は、その外周部に設けるコイル状外部電極87のコイルの巻き数が少ないと、紫外線の発生量が少ないので、ランプ51Dの放電容器54内に必要十分な紫外線を照射することができず、また、コイル状外部電極87のコイルの巻き数を多くすると、その外部電極87で紫外線が遮られて、ランプ51Dの放電容器54内に必要十分な紫外線を照射することができないという問題もある。
登録実用新案第3137961号公報
本発明は、製作コストが嵩まない簡易な構成の始動用光源によって、高圧放電ランプの放電容器内に必要十分な量の紫外線を効率良く照射することができると同時に、ランプ消灯直後の熱間時においても、その始動用光源が確実に作動して高圧放電ランプの始動性能を高めることができ、また、その始動用光源がランプ点灯時に生ずる高熱よって熱的損傷を受けるおそれもない光源装置を提供することを技術的課題としている。
上記課題を解決するために、本発明は、発光管の放電容器内に、一対の電極が対向して配置されると共に、少なくとも水銀と始動用ガスが封入され、当該放電容器から発光管の両端に至る部分を気密に封止して前記各電極を封着した一対の電極封着部が形成され、当該各電極封着部の端面から突出した電極リードを介して点灯回路に接続される高圧放電ランプと、当該ランプが前記電極封着部の片方を反射鏡底部に開口するボトム孔に挿通して取り付けられる凹面反射鏡と、前記ランプの点灯始動時にその始動性能を高める紫外線を前記放電容器に向けて照射する始動用光源とを備えた光源装置において、前記始動用光源が、前記ランプの点灯始動時に始動用電圧を前記電極間に印加する点灯回路に対して前記ランプと並列に接続されて、前記始動用電圧が外部電極と内部電極との間に印加されることにより紫外線を発生する放電管で形成され、当該放電管の外部電極が、当該放電管の外周部を前記片方の電極封着部の端面と対向させるように保持してその端面から突出した前記電極リードに固定する金属製のホルダで形成され、当該ホルダが、前記片方の電極封着部の端面と対面する前記外周部の表面を露呈させて当該外周部を保持するホルダ本体と、当該ホルダを前記電極リードに固定して電気的に接続するための端子とで形成されていることを特徴とする。
本発明によれば、高圧放電ランプの始動用光源となる放電管が、凹面反射鏡の底部に開口するボトム孔に挿通された高圧放電ランプの電極封着部の端面と対向する位置に配置されるので、その放電管は、ランプ点灯時に生ずる高熱の影響を受けて熱的損傷を生ずるおそれがないと同時に、ランプ消灯直後の熱間時においても安定した放電を生じて確実に紫外線を発生することができる。
また、放電管は、その外部電極となる金属製のホルダによって、当該放電管の外周部を高圧放電ランプの電極封着部の端面と対向させるように保持されると同時に、電極封着部の端面と対面する外周部の表面を露呈させるように保持されるので、発生した紫外線を高圧放電ランプの電極封着部の端面に確実に入射させて、当該電極封着部を通じてランプの放電容器内に効率良く照射することができ、また、放電管の外周部を保持する金属製のホルダで成る外部電極は、必要量の紫外線を生ずるに十分な電極面積を有するので、高圧放電ランプの始動性能を著しく向上させることができる。
本発明に係る光源装置の最良の実施形態は、石英ガラス管で成る発光管の放電容器内に、一対のタングステン電極が対向して配置されると共に、水銀と臭素等のハロゲンとアルゴンガス等の始動用ガスが封入され、当該放電容器から発光管の両端に至る部分をシュリンクシールにより気密に封止して前記各電極を封着した一対の電極封着部が形成され、当該各電極封着部の端面から突出したモリブデンワイヤで成る電極リードを介して点灯回路に接続される高圧放電ランプと、当該ランプが前記電極封着部の片方を反射鏡底部に開口するボトム孔に挿通して取り付けられる凹面反射鏡と、前記ランプの点灯始動時にその始動性能を高める紫外線を前記放電容器に向けて照射する始動用光源とを備えている。
始動用光源は、ランプの点灯始動時に始動用電圧を前記タングステン電極間に印加する点灯回路に対してランプと並列に接続されて、その始動用電圧が外部電極と内部電極との間に印加されることにより紫外線を発生する放電管で形成され、当該放電管の外部電極が、当該放電管の外周部を前記片方の電極封着部の端面と対向させるように保持してその端面から突出した前記電極リードに固定する金属製のホルダで形成され、当該ホルダが、前記片方の電極封着部の端面と対面する前記外周部の表面を露呈させて当該外周部を保持するホルダ本体と、当該ホルダを前記電極リードに固定して電気的に接続するための端子とで形成されている。
前記放電管は、その本体が石英ガラス製のガラス封管で形成され、当該ガラス封管の内部に、アルゴンガス等の希ガスが封入されると共に、モリブデン箔等の金属箔で成る内部電極が収容配設され、当該内部電極の片端に溶接されたリード線が前記ガラス封管の片端側から突出している。なお、放電管の封入物は、希ガスのみに限らず、水銀蒸気を含む希ガスであっても良い。
放電管の外部電極となる前記ホルダの本体は、放電管の外周部を掴んで保持する形状に曲げ加工されたバネ用ステンレス鋼板等の金属板で形成されている。なお、当該金属板は、前記片方の電極封着部の端面と対向する位置で前記放電管の外周部を掴んで保持する形状に曲げ加工されると共に、前記端面と対面する前記外周部の表面を露呈させる窓孔が形成されるか、あるいは、前記片方の前記電極封着部の端面と対向する位置でその端面と対面する前記放電管の外周部の表面を露呈させるように当該外周部を掴んで保持する形状に曲げ加工されている。
また、前記ホルダを前記電極リードに固定して電気的に接続するための端子は、ホルダ本体を形成する前記金属板の一部で形成されたタブ端子で成り、当該タブ端子が電極リードを把持するように折り曲げられて当該電極リードにスポット溶接されている。
図1は本発明に係る光源装置の一例を示す全体図、図2はその光源装置に用いる高圧放電ランプの始動用光源を示す斜視図、図3(a)および(b)は始動用光源となる放電管の外部電極を形成するホルダの構成とその取付状態を示す斜視図および側面図、図4(a)および(b)と図5(a)および(b)は夫々ホルダの変形例とその取付状態を示す斜視図および側面図、図6(a)および(b)は、ホルダの変形例とその取付状態を示す斜視図および一部切欠正面図である。
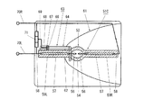
図1に示す光源装置は、高圧放電ランプ1と、当該ランプ1から放射される光を反射する凹面反射鏡2と、ランプ1の始動性能を高める紫外線を発生する始動用光源3とを備えており、ランプ1は、石英ガラスで成る発光管4の放電容器5内に、一対のタングステン電極6R、6Lが約1mm程度の短い極間距離で対向して配置されると共に、水銀と臭素等のハロゲンとアルゴンガス等の始動用ガスとが封入され、その放電容器5から発光管4の両端に至る部分を気密に封止して各電極6R、6Lとこれに接続されたモリブデン箔で成る金属箔7とモリブデンワイヤで成る電極リード8とを封着した一対の電極封着部9R、9Lが形成されている。そして、各電極封着部9R、9Lの端面10から突出した電極リード8、8が、ランプ電力を供給する点灯回路11の片極側12Rと他極側12Lに夫々接続されると共に、電極6R、6L間のアーク放電を促すトリガ線/アンテナ線となる金属線13が、その片端側を電極封着部9Rの端面10から突出した電極リード8に接続し、その他端側を電極封着部9Lの外周部にループ状に巻き付けるように配線されている。
凹面反射鏡2は、その底部に、高圧放電ランプ1の片方の電極封着部9Lを挿通させてセメント等で固定するボトム孔14が開口形成されると共に、その反射部に、高圧放電ランプ1の他方の電極封着部9Rから突出する電極リード8に接続されたニッケル線で成るリード線15を挿し通す配線孔16が穿設され、その反射部の背面に、配線孔16から引き出されたリード線15を固定する配線金具17が固着されている。
始動用光源3は、高圧放電ランプ1の点灯始動時にその始動用電圧を電極6R、6L間に印加する点灯回路11に対してランプ1と並列に接続されて、放電管18の内部電極19と外部電極20との間に始動用電圧が印加されることにより紫外線を発生する構成となっている。
放電管18は、その本体が、石英ガラス製のガラス封管21で形成され、当該ガラス封管21の内部に、アルゴンガス等の希ガスが充填されると共に、片端にリード線22が溶接されたモリブデン箔等の金属箔で成る内部電極19が収容配設されている。なお、ガラス封管22は、片端側をチップオフして封止し、他端側をピンチシールして当該ピンチシール部23に内部電極19とリード線22との溶接個所が封着されている。また、内部電極19は、ガラス封管21のピンチシール部23から突出したリード線22を介して点灯回路11の片極側(電極6R側)12Rに接続されている。
放電管18の外部電極20は、放電管18の外周部24を反射鏡2のボトム孔14に挿通されたランプ1の電極封着部9Lの端面10と対向させるように保持してその端面10から突出した電極リード8に固定する金属製のホルダH1で形成され、当該ホルダH1が、放電管18の外周部24を掴んで保持する形状に曲げ加工された厚さ0.2mmのバネ用ステンレス鋼板(SUS304−CSP)等の金属板で形成されたホルダ本体25と、これを電極封着部9Lの端面10から突出した電極リード8に固定して電気的に接続するための端子26とで形成されている。
ホルダH1の本体25を形成する金属板は、電極封着部9Lの端面10と対向する位置で放電管18の外周部24を覆うように掴んで保持する形状に曲げ加工されると共に、当該金属板に、電極封着部9Lの端面10と対面する外周部24の表面を露呈させる窓孔27が形成されている。また、その金属板の一部で固定用端子26となるタブ端子が形成され、当該タブ端子が図3(a)の鎖線図示の状態から実線図示の如く電極リード8を把持するように折り曲げられて当該電極リード8にスポット溶接されることにより、放電管18が剛直性を有するモリブデンワイヤで成る電極リード8に対して確りと固定されると同時に、金属製のホルダH1で成る外部電極20が、点灯回路11の他極側(電極6L側)12Lに対して電気的に接続されている。
しかして、高圧放電ランプ1の点灯始動時に、その点灯回路11から放電管18の内部電極19と外部電極20との間に始動用電圧が印加されて、放電管18の本体を成すガラス封管21内に封入された希ガス中でその希ガスを励起する放電が生じて紫外線が発生し、当該紫外線が、外部電極20を形成するホルダH1の本体25に形成された窓孔27から放射されてランプ1の電極封着部9Lの端面10に入射され、電極封着部9L内を透過・伝播して放電容器5内に照射されることにより、放電容器5内に封入した始動用ガスが励起されると共に、電極6R、6Lを形成するタングステンが放電開始に必要な初期電子を放出して高圧放電ランプ1の始動が促進される。
始動用光源3となる放電管18は、反射鏡2のボトム孔14に挿通されてその反射鏡2の外部に突出したランプの電極封着部9Lの端面10と対向する位置に配設されているので、ランプの点灯中に高温に熱せられることがないから、ランプ消灯直後の熱間時においても安定的に放電を生じて紫外線を発生することができる。また、放電管18の外部電極20は、内部電極19が収容された放電管18の外周部24を掴んで保持する形状に曲げ加工された金属板で成るホルダH1で形成されており、その電極面積が大きいので、ランプの始動性能を高めるために必要十分な量の紫外線を発生させることができる。また、放電管18は、その外周部24が電極封着部9Lの端面10と対向しているので、放電管18内で発生した紫外線を電極封着部9Lの端面10に効率良く入射させることができる。
また、放電管18は、簡易な構成であるから、その製作コストも嵩まない。また、放電管18の外周部24を保持するホルダH1は、ランプ1の電極リード8に溶接して固定されるので、当該電極リード8から脱落するおそれがないし、電極リード8は、剛直性を有するモリブデンワイヤで形成されているので、当該電極リード8が不如意に曲がってホルダH1に保持された放電管18の外周部24が電極封着部9Lの端面10と対向しなくなるというような不具合を生ずるおそれもない。
次に、図4に示す放電管18の外部電極20を形成するホルダH2は、そのホルダ本体25が、電極封着部9Lの端面10と対向する位置でその端面10と対面する放電管18の外周部24の表面を露呈させるように当該外周部24を掴んで保持する形状に曲げ加工されたバネ用ステンレス鋼板で成る金属板で形成され、当該金属板の一部によって、ホルダH2を電極リード8に固定して電気的に接続するための端子26とタブ端子が形成されている。すなわち、ホルダH2を形成する金属板は、電極封着部9Lの端面10と対面する放電管18の外周部24の表面を残して、その外周部24の周面を覆い隠す形状に曲げ加工されている。
これにより、放電管18の外周部24から電極封着部9Lの端面10に向って放射される紫外線がその端面10に直接入射されると同時に、放電管18の外周部24からホルダH2の本体25の内面に向かって放射される紫外線も当該ホルダ本体25の内面で反射されて電極封着部9Lの端面10に入射されるので、ランプ1の放電容器5内に照射される紫外線量が多くなって、ランプの始動性能が著しく向上する。
なお、図4のホルダH2も、タブ端子で成る端子26が、図4(a)の鎖線図示の状態から実線図示の如く電極リード8を把持するように折り曲げられて当該電極リード8に溶接されている。
次に、図5に示す放電管18の外部電極20を形成するホルダH3も、そのホルダ本体25が、放電管18の外周部24を掴んで保持する形状に曲げ加工された金属板で形成されているが、当該金属板は、電極封着部9Lの端面10と対向する位置に放電管18の外周部24の片端側を配置させるように当該外周部24の他端側を掴んで保持する形状となっている。また、ホルダH3も、その本体25を形成する金属板の一部で端子26となるタブ端子が形成されており、当該タブ端子26が、図5(a)の鎖線図示の状態から実線図示の如く電極リード8を把持するように折り曲げられて当該電極リード8にスポット溶接されている。また、図示は省略するが、放電管18の外周部24と当該外周部を保持するホルダH3の本体25との間に耐熱性接着剤が塗工されて、放電管18がホルダH3に固着されている。
次に、図6に示す放電管18の外部電極20も、その放電管18の外周部24を電極封着9Lの端面10と対向させるように保持してその端面10から突出した電極リード8に固定するホルダH4で形成されているが、当該ホルダH4は、電極封着9L部の端面10と対面する放電管18の外周部24の表面を露呈させた状態でその外周部24を保持するホルダ本体31となる太管部と、当該ホルダを電極リード8に固定して電気的に接続するための端子32となる細管部とが段部33を介して連なる段付き金属管で形成されている。
ホルダH4を形成する段付き金属管は、ホルダ本体31となる太管部に、その径方向に放電管18を刺し通して当該放電管18の外周部24の両端側を保持する一対の透孔34、34が穿設されると共に、端子32となる細管部が、その内部に電極リード8を挿し通して当該電極リード棒8にかしめ接合と溶接によって固定するスリーブ端子を形成している。
ホルダH4は、まず、図6(a)の如く、電極封着部9Lの端面10から突出する電極リード8をホルダ本体(太管部)31とスリーブ端子(細管部)32に挿し通し、次に、同図(b)の如く、ホルダ本体(太管部)31を電極封着部9Lの端部に被せた状態にして、スリーブ端子(細管部)32を電極リード8にかしめ接合すると共に溶接して固定されている。また、ホルダ本体31の透孔34、34に刺し通して保持された放電管18は、ホルダ本体31の透孔33、33から外部に出ている部分が耐熱性接着剤でホルダ本体31の外面に固定されている。
本発明は、液晶プロジェクタやDLPプロジェクタ等の光源装置に用いられる高圧放電ランプの始動性能向上に資するものである。
本発明に係る光源装置の一例を示す全体図 高圧放電ランプの始動用光源の一例を示す斜視図 始動用光源となる放電管の外部電極を形成するホルダの一例を示す図 放電管の外部電極を形成するホルダの変形例を示す図 放電管の外部電極を形成するホルダの変形例を示す図 放電管の外部電極を形成するホルダの変形例を示す図 高圧放電ランプの始動性能を高めるための従来技術を示す図 高圧放電ランプの始動性能を高めるための従来技術を示す図 高圧放電ランプの始動性能を高めるための従来技術を示す図 高圧放電ランプの始動性能を高めるための従来技術を示す図 高圧放電ランプの始動性能を高めるための従来技術を示す図
符号の説明
1・・・高圧放電ランプ
2・・・凹面反射鏡
3・・・始動用光源
4・・・発光管
5・・・放電容器
6R・・電極
6L・・電極
7・・・金属箔
8・・・電極リード
9R・・電極封着部
9L・・電極封着部
10・・・電極封着部の端面
11・・・点灯回路
14・・・凹面反射鏡のボトム孔
18・・・放電管
19・・・内部電極
20・・・外部電極
24・・・放電管の外周部
H1・・・ホルダ
H2・・・ホルダ
H3・・・ホルダ
25・・・ホルダ本体
26・・・端子(タブ端子)
27・・・窓孔
H4・・・ホルダ
31・・・ホルダ本体
32・・・端子(スリーブ端子)
33・・・段部
34・・・透孔

Claims (8)

  1. 発光管の放電容器内に、一対の電極が対向して配置されると共に、少なくとも水銀と始動用ガスが封入され、当該放電容器から発光管の両端に至る部分を気密に封止して前記各電極を封着した一対の電極封着部が形成され、当該各電極封着部の端面から突出した電極リードを介して点灯回路に接続される高圧放電ランプと、当該ランプが前記電極封着部の片方を反射鏡底部に開口するボトム孔に挿通して取り付けられる凹面反射鏡と、前記ランプの点灯始動時にその始動性能を高める紫外線を前記放電容器に向けて照射する始動用光源とを備えた光源装置において、前記始動用光源が、前記ランプの点灯始動時に始動用電圧を前記電極間に印加する点灯回路に対して前記ランプと並列に接続されて、前記始動用電圧が外部電極と内部電極との間に印加されることにより紫外線を発生する放電管で形成され、当該放電管の外部電極が、当該放電管の外周部を前記片方の電極封着部の端面と対向させるように保持してその端面から突出した前記電極リードに固定する金属製のホルダで形成され、当該ホルダが、前記片方の電極封着部の端面と対面する前記外周部の表面を露呈させて当該外周部を保持するホルダ本体と、当該ホルダを前記電極リードに固定して電気的に接続するための端子とで形成されていることを特徴とする光源装置。
  2. 前記ホルダ本体が、前記放電管の外周部を掴んで保持する形状に曲げ加工された金属板で形成されている請求項1記載の光源装置。
  3. 前記金属板が、前記片方の電極封着部の端面と対向する位置で前記放電管の外周部を掴んで保持する形状に曲げ加工されると共に、当該金属板に、前記端面と対面する前記外周部の表面を露呈させる窓孔が形成されている請求項2記載の光源装置。
  4. 前記金属板が、前記片方の電極封着部の端面と対向する位置でその端面と対面する前記放電管の外周部の表面を露呈させるように当該外周部を掴んで保持する形状に曲げ加工されている請求項2記載の光源装置。
  5. 前記金属板が、前記片方の電極封着部の端面と対向する位置に前記放電管の外周部の片端側を配置させるように当該外周部の他端側を掴んで保持する形状に曲げ加工されている請求項2記載の光源装置。
  6. 前記金属板の一部で前記端子となるタブ端子が形成されている請求項2、3、4又は5記載の光源装置。
  7. 前記ホルダが、前記ホルダ本体となる太管部と、前記端子となる細管部とが段部を介して連なる段付き金属管で形成され、前記太管部に、その径方向に前記放電管を刺し通して当該放電管の外周部の両端側を保持する一対の透孔が穿設され、前記細管部が、その内部に前記電極リードを挿通して当該電極リードに固定されるスリーブ端子を形成している請求項1記載の光源装置。
  8. 前記放電管の本体が、前記内部電極となる金属箔が収容配設されると共に、アルゴンガス等の希ガスが封入された石英ガラス製のガラス封管で形成されている請求項1、2、3、4、5、6又は7記載の光源装置。
JP2008261534A 2008-10-08 2008-10-08 光源装置 Active JP4572978B2 (ja)

Priority Applications (6)

Application Number Priority Date Filing Date Title
JP2008261534A JP4572978B2 (ja) 2008-10-08 2008-10-08 光源装置
EP09819022A EP2333810B1 (en) 2008-10-08 2009-04-23 Light source device
CN2009801399707A CN102177569B (zh) 2008-10-08 2009-04-23 光源装置
PCT/JP2009/058057 WO2010041484A1 (ja) 2008-10-08 2009-04-23 光源装置
CA2734894A CA2734894C (en) 2008-10-08 2009-04-23 Light source apparatus
US13/120,300 US8154182B2 (en) 2008-10-08 2009-04-23 Light source device

Applications Claiming Priority (1)

Application Number Priority Date Filing Date Title
JP2008261534A JP4572978B2 (ja) 2008-10-08 2008-10-08 光源装置

Publications (2)

Publication Number Publication Date
JP2010092716A true JP2010092716A (ja) 2010-04-22
JP4572978B2 JP4572978B2 (ja) 2010-11-04

Family

ID=42100443

Family Applications (1)

Application Number Title Priority Date Filing Date
JP2008261534A Active JP4572978B2 (ja) 2008-10-08 2008-10-08 光源装置

Country Status (6)

Country Link
US (1) US8154182B2 (ja)
EP (1) EP2333810B1 (ja)
JP (1) JP4572978B2 (ja)
CN (1) CN102177569B (ja)
CA (1) CA2734894C (ja)
WO (1) WO2010041484A1 (ja)

Cited By (1)

* Cited by examiner, † Cited by third party
Publication number Priority date Publication date Assignee Title
JP2013069609A (ja) * 2011-09-26 2013-04-18 Iwasaki Electric Co Ltd 外球保護構造を有する高輝度放電灯

Families Citing this family (4)

* Cited by examiner, † Cited by third party
Publication number Priority date Publication date Assignee Title
US8723418B2 (en) 2009-05-14 2014-05-13 Iwasaki Electric Co., Ltd. Light source device with starting aid
CA2772413A1 (en) 2009-08-28 2011-03-03 Iwasaki Electric Co., Ltd. Uv enhancer for discharge lamp and manufacturing method thereof
DE102010064040A1 (de) * 2010-12-23 2012-06-28 Osram Ag Hochdruckentladungslampe mit Zündhilfe
JP5069371B1 (ja) * 2011-12-16 2012-11-07 フェニックス電機株式会社 光源装置

Citations (3)

* Cited by examiner, † Cited by third party
Publication number Priority date Publication date Assignee Title
JP2002151006A (ja) * 2000-11-15 2002-05-24 Toshiba Lighting & Technology Corp 高圧放電ランプおよび照明装置
JP2008135194A (ja) * 2006-11-27 2008-06-12 Ushio Inc 光源装置
JP2009212041A (ja) * 2008-03-06 2009-09-17 Phoenix Denki Kk 補助光源およびその補助光源を備える光源装置

Family Cites Families (10)

* Cited by examiner, † Cited by third party
Publication number Priority date Publication date Assignee Title
JP3158891B2 (ja) 1994-09-14 2001-04-23 ウシオ電機株式会社 ショートアーク型混合金属蒸気放電灯
JP3189673B2 (ja) 1996-03-29 2001-07-16 ウシオ電機株式会社 メタルハライドランプ
WO2000077826A1 (en) 1999-06-16 2000-12-21 Koninklijke Philips Electronics N.V. High-pressure discharge lamp
WO2001059811A1 (en) 2000-02-11 2001-08-16 Koninklijke Philips Electronics N.V. Unit comprising a high-pressure discharge lamp and an ignition antenna
JP4134793B2 (ja) * 2002-08-20 2008-08-20 ウシオ電機株式会社 光源装置
JP2004179033A (ja) * 2002-11-28 2004-06-24 Car Mate Mfg Co Ltd ランプユニット
WO2004090934A1 (ja) 2003-04-09 2004-10-21 Matsushita Electric Industrial Co., Ltd. 高圧放電ランプ、高圧放電ランプの点灯方法及び点灯装置、高圧放電ランプ装置、並びにランプユニット、画像表示装置、ヘッドライト装置
JP4287780B2 (ja) 2003-04-16 2009-07-01 パナソニック株式会社 高圧放電ランプ
JP2008140614A (ja) * 2006-11-30 2008-06-19 Osram Melco Toshiba Lighting Kk 高圧金属蒸気放電ランプおよび照明器具
JP3137961U (ja) 2007-10-03 2007-12-13 岩崎電気株式会社 光源装置

Patent Citations (3)

* Cited by examiner, † Cited by third party
Publication number Priority date Publication date Assignee Title
JP2002151006A (ja) * 2000-11-15 2002-05-24 Toshiba Lighting & Technology Corp 高圧放電ランプおよび照明装置
JP2008135194A (ja) * 2006-11-27 2008-06-12 Ushio Inc 光源装置
JP2009212041A (ja) * 2008-03-06 2009-09-17 Phoenix Denki Kk 補助光源およびその補助光源を備える光源装置

Cited By (1)

* Cited by examiner, † Cited by third party
Publication number Priority date Publication date Assignee Title
JP2013069609A (ja) * 2011-09-26 2013-04-18 Iwasaki Electric Co Ltd 外球保護構造を有する高輝度放電灯

Also Published As

Publication number Publication date
EP2333810B1 (en) 2013-01-16
EP2333810A1 (en) 2011-06-15
JP4572978B2 (ja) 2010-11-04
EP2333810A4 (en) 2011-11-16
WO2010041484A1 (ja) 2010-04-15
CA2734894A1 (en) 2010-04-15
US20110204765A1 (en) 2011-08-25
CN102177569A (zh) 2011-09-07
US8154182B2 (en) 2012-04-10
CN102177569B (zh) 2012-07-04
CA2734894C (en) 2012-05-29

Similar Documents

Publication Publication Date Title
JP4760945B2 (ja) 光源装置
JP4572978B2 (ja) 光源装置
US8723418B2 (en) Light source device with starting aid
JP5069371B1 (ja) 光源装置
JP4752959B2 (ja) 光源装置
JP2008140614A (ja) 高圧金属蒸気放電ランプおよび照明器具
JP4743307B2 (ja) 光源装置
WO2011024547A1 (ja) 放電ランプ用uvエンハンサ及びその製造方法
JP3137961U (ja) 光源装置
JP4743308B2 (ja) 光源装置
JP2011154876A (ja) 高圧放電ランプおよび照明装置
JP2006236919A (ja) 高圧金属蒸気放電ランプおよび照明器具
JP2002100323A (ja) 高圧放電ランプおよび照明装置
JP4743315B2 (ja) 放電ランプ用uvエンハンサ
JP4743316B2 (ja) 放電ランプ用uvエンハンサの製造方法
US8508113B2 (en) Hybrid compact fluorescent lamp fixing method
JPH0992214A (ja) 高圧金属蒸気放電ランプおよびこの点灯装置ならびに照明装置
JP2013026069A (ja) 放電ランプおよび放電ランプ装置
US20120206030A1 (en) Hybrid compact fluorescent lamp fixing method
JP2001155879A (ja) 高圧放電ランプ、高圧放電ランプ点灯装置および照明装置

Legal Events

Date Code Title Description
A621 Written request for application examination

Free format text: JAPANESE INTERMEDIATE CODE: A621

Effective date: 20100622

A871 Explanation of circumstances concerning accelerated examination

Free format text: JAPANESE INTERMEDIATE CODE: A871

Effective date: 20100622

A975 Report on accelerated examination

Free format text: JAPANESE INTERMEDIATE CODE: A971005

Effective date: 20100708

TRDD Decision of grant or rejection written
A01 Written decision to grant a patent or to grant a registration (utility model)

Free format text: JAPANESE INTERMEDIATE CODE: A01

Effective date: 20100720

A01 Written decision to grant a patent or to grant a registration (utility model)

Free format text: JAPANESE INTERMEDIATE CODE: A01

A61 First payment of annual fees (during grant procedure)

Free format text: JAPANESE INTERMEDIATE CODE: A61

Effective date: 20100802

R150 Certificate of patent or registration of utility model

Ref document number: 4572978

Country of ref document: JP

Free format text: JAPANESE INTERMEDIATE CODE: R150

Free format text: JAPANESE INTERMEDIATE CODE: R150

FPAY Renewal fee payment (event date is renewal date of database)

Free format text: PAYMENT UNTIL: 20130827

Year of fee payment: 3

FPAY Renewal fee payment (event date is renewal date of database)

Free format text: PAYMENT UNTIL: 20140827

Year of fee payment: 4

S111 Request for change of ownership or part of ownership

Free format text: JAPANESE INTERMEDIATE CODE: R313113

S531 Written request for registration of change of domicile

Free format text: JAPANESE INTERMEDIATE CODE: R313531

R350 Written notification of registration of transfer

Free format text: JAPANESE INTERMEDIATE CODE: R350

S531 Written request for registration of change of domicile

Free format text: JAPANESE INTERMEDIATE CODE: R313531

R350 Written notification of registration of transfer

Free format text: JAPANESE INTERMEDIATE CODE: R350