JP2010091262A - 空気調和機 - Google Patents

空気調和機 Download PDF

Info

Publication number
JP2010091262A
JP2010091262A JP2009198393A JP2009198393A JP2010091262A JP 2010091262 A JP2010091262 A JP 2010091262A JP 2009198393 A JP2009198393 A JP 2009198393A JP 2009198393 A JP2009198393 A JP 2009198393A JP 2010091262 A JP2010091262 A JP 2010091262A
Authority
JP
Japan
Prior art keywords
air
compartment
electrostatic
indoor fan
flow path
Prior art date
Legal status (The legal status is an assumption and is not a legal conclusion. Google has not performed a legal analysis and makes no representation as to the accuracy of the status listed.)
Granted
Application number
JP2009198393A
Other languages
English (en)
Other versions
JP5405943B2 (ja
Inventor
Masatoshi Takahashi
正敏 高橋
Shigeto Yamaguchi
成人 山口
Masaharu Ebihara
正春 海老原
Daisuke Kawazoe
大輔 川添
Masaru Yonezawa
勝 米澤
Masahiro Baba
雅浩 馬場
Hideaki Nakagawa
英明 中川
Masahito Megata
雅人 目片
Hiroyuki Daimon
寛幸 大門
Atsushi Akiyama
淳 秋山
Current Assignee (The listed assignees may be inaccurate. Google has not performed a legal analysis and makes no representation or warranty as to the accuracy of the list.)
Panasonic Corp
Original Assignee
Panasonic Corp
Priority date (The priority date is an assumption and is not a legal conclusion. Google has not performed a legal analysis and makes no representation as to the accuracy of the date listed.)
Filing date
Publication date
Application filed by Panasonic Corp filed Critical Panasonic Corp
Priority to JP2009198393A priority Critical patent/JP5405943B2/ja
Priority to EP09812865.5A priority patent/EP2336665B1/en
Priority to CN200980131981.0A priority patent/CN102124275B/zh
Priority to PCT/JP2009/004387 priority patent/WO2010029716A1/ja
Publication of JP2010091262A publication Critical patent/JP2010091262A/ja
Application granted granted Critical
Publication of JP5405943B2 publication Critical patent/JP5405943B2/ja
Expired - Fee Related legal-status Critical Current
Anticipated expiration legal-status Critical

Links

Images

Classifications

    • AHUMAN NECESSITIES
    • A61MEDICAL OR VETERINARY SCIENCE; HYGIENE
    • A61LMETHODS OR APPARATUS FOR STERILISING MATERIALS OR OBJECTS IN GENERAL; DISINFECTION, STERILISATION OR DEODORISATION OF AIR; CHEMICAL ASPECTS OF BANDAGES, DRESSINGS, ABSORBENT PADS OR SURGICAL ARTICLES; MATERIALS FOR BANDAGES, DRESSINGS, ABSORBENT PADS OR SURGICAL ARTICLES
    • A61L9/00Disinfection, sterilisation or deodorisation of air
    • A61L9/14Disinfection, sterilisation or deodorisation of air using sprayed or atomised substances including air-liquid contact processes
    • FMECHANICAL ENGINEERING; LIGHTING; HEATING; WEAPONS; BLASTING
    • F24HEATING; RANGES; VENTILATING
    • F24FAIR-CONDITIONING; AIR-HUMIDIFICATION; VENTILATION; USE OF AIR CURRENTS FOR SCREENING
    • F24F1/00Room units for air-conditioning, e.g. separate or self-contained units or units receiving primary air from a central station
    • F24F1/0007Indoor units, e.g. fan coil units
    • F24F1/0043Indoor units, e.g. fan coil units characterised by mounting arrangements
    • F24F1/0057Indoor units, e.g. fan coil units characterised by mounting arrangements mounted in or on a wall
    • FMECHANICAL ENGINEERING; LIGHTING; HEATING; WEAPONS; BLASTING
    • F24HEATING; RANGES; VENTILATING
    • F24FAIR-CONDITIONING; AIR-HUMIDIFICATION; VENTILATION; USE OF AIR CURRENTS FOR SCREENING
    • F24F1/00Room units for air-conditioning, e.g. separate or self-contained units or units receiving primary air from a central station
    • F24F1/0007Indoor units, e.g. fan coil units
    • F24F1/0059Indoor units, e.g. fan coil units characterised by heat exchangers
    • FMECHANICAL ENGINEERING; LIGHTING; HEATING; WEAPONS; BLASTING
    • F24HEATING; RANGES; VENTILATING
    • F24FAIR-CONDITIONING; AIR-HUMIDIFICATION; VENTILATION; USE OF AIR CURRENTS FOR SCREENING
    • F24F1/00Room units for air-conditioning, e.g. separate or self-contained units or units receiving primary air from a central station
    • F24F1/0007Indoor units, e.g. fan coil units
    • F24F1/0071Indoor units, e.g. fan coil units with means for purifying supplied air
    • F24F1/0076Indoor units, e.g. fan coil units with means for purifying supplied air by electric means, e.g. ionisers or electrostatic separators
    • FMECHANICAL ENGINEERING; LIGHTING; HEATING; WEAPONS; BLASTING
    • F24HEATING; RANGES; VENTILATING
    • F24FAIR-CONDITIONING; AIR-HUMIDIFICATION; VENTILATION; USE OF AIR CURRENTS FOR SCREENING
    • F24F3/00Air-conditioning systems in which conditioned primary air is supplied from one or more central stations to distributing units in the rooms or spaces where it may receive secondary treatment; Apparatus specially designed for such systems
    • F24F3/12Air-conditioning systems in which conditioned primary air is supplied from one or more central stations to distributing units in the rooms or spaces where it may receive secondary treatment; Apparatus specially designed for such systems characterised by the treatment of the air otherwise than by heating and cooling
    • FMECHANICAL ENGINEERING; LIGHTING; HEATING; WEAPONS; BLASTING
    • F24HEATING; RANGES; VENTILATING
    • F24FAIR-CONDITIONING; AIR-HUMIDIFICATION; VENTILATION; USE OF AIR CURRENTS FOR SCREENING
    • F24F6/00Air-humidification, e.g. cooling by humidification
    • F24F6/12Air-humidification, e.g. cooling by humidification by forming water dispersions in the air
    • FMECHANICAL ENGINEERING; LIGHTING; HEATING; WEAPONS; BLASTING
    • F24HEATING; RANGES; VENTILATING
    • F24FAIR-CONDITIONING; AIR-HUMIDIFICATION; VENTILATION; USE OF AIR CURRENTS FOR SCREENING
    • F24F8/00Treatment, e.g. purification, of air supplied to human living or working spaces otherwise than by heating, cooling, humidifying or drying
    • F24F8/30Treatment, e.g. purification, of air supplied to human living or working spaces otherwise than by heating, cooling, humidifying or drying by ionisation
    • FMECHANICAL ENGINEERING; LIGHTING; HEATING; WEAPONS; BLASTING
    • F24HEATING; RANGES; VENTILATING
    • F24FAIR-CONDITIONING; AIR-HUMIDIFICATION; VENTILATION; USE OF AIR CURRENTS FOR SCREENING
    • F24F8/00Treatment, e.g. purification, of air supplied to human living or working spaces otherwise than by heating, cooling, humidifying or drying
    • F24F8/50Treatment, e.g. purification, of air supplied to human living or working spaces otherwise than by heating, cooling, humidifying or drying by odorisation
    • AHUMAN NECESSITIES
    • A61MEDICAL OR VETERINARY SCIENCE; HYGIENE
    • A61LMETHODS OR APPARATUS FOR STERILISING MATERIALS OR OBJECTS IN GENERAL; DISINFECTION, STERILISATION OR DEODORISATION OF AIR; CHEMICAL ASPECTS OF BANDAGES, DRESSINGS, ABSORBENT PADS OR SURGICAL ARTICLES; MATERIALS FOR BANDAGES, DRESSINGS, ABSORBENT PADS OR SURGICAL ARTICLES
    • A61L2209/00Aspects relating to disinfection, sterilisation or deodorisation of air
    • A61L2209/10Apparatus features
    • A61L2209/14Filtering means
    • AHUMAN NECESSITIES
    • A61MEDICAL OR VETERINARY SCIENCE; HYGIENE
    • A61LMETHODS OR APPARATUS FOR STERILISING MATERIALS OR OBJECTS IN GENERAL; DISINFECTION, STERILISATION OR DEODORISATION OF AIR; CHEMICAL ASPECTS OF BANDAGES, DRESSINGS, ABSORBENT PADS OR SURGICAL ARTICLES; MATERIALS FOR BANDAGES, DRESSINGS, ABSORBENT PADS OR SURGICAL ARTICLES
    • A61L2209/00Aspects relating to disinfection, sterilisation or deodorisation of air
    • A61L2209/10Apparatus features
    • A61L2209/16Connections to a HVAC unit
    • AHUMAN NECESSITIES
    • A61MEDICAL OR VETERINARY SCIENCE; HYGIENE
    • A61LMETHODS OR APPARATUS FOR STERILISING MATERIALS OR OBJECTS IN GENERAL; DISINFECTION, STERILISATION OR DEODORISATION OF AIR; CHEMICAL ASPECTS OF BANDAGES, DRESSINGS, ABSORBENT PADS OR SURGICAL ARTICLES; MATERIALS FOR BANDAGES, DRESSINGS, ABSORBENT PADS OR SURGICAL ARTICLES
    • A61L9/00Disinfection, sterilisation or deodorisation of air
    • A61L9/16Disinfection, sterilisation or deodorisation of air using physical phenomena
    • A61L9/22Ionisation
    • FMECHANICAL ENGINEERING; LIGHTING; HEATING; WEAPONS; BLASTING
    • F24HEATING; RANGES; VENTILATING
    • F24FAIR-CONDITIONING; AIR-HUMIDIFICATION; VENTILATION; USE OF AIR CURRENTS FOR SCREENING
    • F24F5/00Air-conditioning systems or apparatus not covered by F24F1/00 or F24F3/00, e.g. using solar heat or combined with household units such as an oven or water heater
    • F24F5/0042Air-conditioning systems or apparatus not covered by F24F1/00 or F24F3/00, e.g. using solar heat or combined with household units such as an oven or water heater characterised by the application of thermo-electric units or the Peltier effect

Landscapes

  • Engineering & Computer Science (AREA)
  • Chemical & Material Sciences (AREA)
  • Combustion & Propulsion (AREA)
  • Mechanical Engineering (AREA)
  • General Engineering & Computer Science (AREA)
  • Physics & Mathematics (AREA)
  • Thermal Sciences (AREA)
  • Health & Medical Sciences (AREA)
  • Animal Behavior & Ethology (AREA)
  • Life Sciences & Earth Sciences (AREA)
  • Epidemiology (AREA)
  • General Health & Medical Sciences (AREA)
  • Public Health (AREA)
  • Veterinary Medicine (AREA)
  • Dispersion Chemistry (AREA)
  • Devices For Blowing Cold Air, Devices For Blowing Warm Air, And Means For Preventing Water Condensation In Air Conditioning Units (AREA)
  • Air Filters, Heat-Exchange Apparatuses, And Housings Of Air-Conditioning Units (AREA)
  • Disinfection, Sterilisation Or Deodorisation Of Air (AREA)
  • Electrostatic Spraying Apparatus (AREA)
  • Electrostatic Separation (AREA)

Abstract

【課題】効率よくペルチェ素子を冷却して、静電ミストを確実に発生させることができる空気調和機を提供すること。
【解決手段】室内機の内部を隔壁46cによって熱交換器6および室内ファン8から区切った空間部22を設け、この空間部22に空気中の水分を結露させて高圧放電により静電ミストとして室内に放出する静電霧化装置18Aを配置し、静電霧化装置18Aのペルチェ素子36の熱を放熱するフィン28aはその空気流通用間隙が室内ファン8によって誘引される空気の流れにほぼ沿った方向になるように配置した。
【選択図】図14

Description

本発明は、室内空気を浄化する空気清浄機能を有する室内機を備えた空気調和機に関する。
従来の空気調和機には脱臭機能を備えたものがあり、例えば室内機の吸込口に設けた空気清浄用プレフィルタにより臭気成分を吸着したり、送風路の途中に設けた酸化分解機能を有する脱臭ユニットにより臭気成分を吸着している。
しかしながら、脱臭機能を有する空気調和機は、吸込口から吸い込まれた空気中に含まれる臭気成分を取り除いて脱臭するため、室内の空気中に含まれる臭気成分や、カーテンや壁等に付着した臭気成分を除去することはできなかった。
そこで、室内機の送風路に静電霧化装置を設け、静電霧化装置により発生した粒子径がナノメートルサイズの静電ミストを空気とともに室内に吹き出すことで、室内空気に含まれる臭気成分や、カーテンや壁等に付着した臭気成分を除去するようにした空気調和機も提案されている(例えば、特許文献1あるいは2参照)。
このような空気調和機においては、静電霧化装置は吸込口あるいは吹出口の近傍や、熱交換器あるいは室内ファンの下流側に配置されている。
特開2005−282873号公報 特開2006−234245号公報
しかしながら、上記各特許文献に記載されているものは、空気中の水分を結露させるためのペルチェ素子を送風路中の空気によって冷却する構成となっており、冷房運転時はともかく暖房運転時はペルチェ素子を冷却することができない。すなわち、実用化時に問題となるペルチェ素子の冷却について具体的な提案が見られなかった。
本発明は、従来技術の有するこのような問題点に鑑みてなされたものであり、効率よくペルチェ素子を冷却して、静電ミストを確実に発生させることができる空気調和機を提供することを目的としている。
上記目的を達成するために、本発明は、熱交換器と、熱交換器で熱交換された空気を搬送する室内ファンと、室内ファンから送風された空気を吹き出す吹出口とを有する室内機を備えた空気調和機であって、室内機の内部を、熱交換器と室内ファンが収容されるとともに室内ファンにより送風され吹出口から吹き出す空気が流れる主流路を形成する第1の区画室と第2の区画室に仕切る隔壁と、第2の区画室に収容され、空気中の水分を結露させて高圧放電により静電ミストとして室内に放出する静電霧化ユニットとを備え、静電霧化ユニットは、ペルチェ素子と、ペルチェ素子による冷却によって結露させた水を高圧放電により静電ミストとする放電電極と、ペルチェ素子の熱を放熱し空気流通用間隙をおいて位置する複数のフィンを有する放熱部とを備え、隔壁は第1の区画室と第2の区画室を連通する開口部を有し、室内ファンの作動で発生した主流路内の負圧により第2の区画室内の空気が隔壁の開口部を介して第1の区画室に誘引され、フィンの空気流通用間隙は、第2の区画室から第1の区画室に誘引される空気の流れにほぼ沿った方向に形成された構成としてあり、室内ファンの誘引作用によって静電霧化ユニットが設置された第2の区画室に空気の流れが生じ、この空気が各フィンの間隙に沿ってスムーズに流れるので、ペルチェ素子を効率よく冷却することができる。
本発明に係る空気調和機によれば、静電霧化ユニットのペルチェ素子を確実かつ効率よく冷却できるので、長時間にわたって確実かつ安定的に静電ミストを発生させ続けることができる。
一部を取り除いた状態を示す本発明に係る空気調和機の室内機の斜視図 図1の室内機の概略縦断面図 図1の室内機に設けられた静電霧化装置の斜視図 図1の室内機の枠体の一部と静電霧化装置を示す正面図 静電霧化装置の概略構成図 静電霧化装置のブロック図 室内機本体に対する静電霧化装置の取付状態を示す斜視図 室内機本体に対する静電霧化装置の取付状態を示す変形例の斜視図 静電霧化装置と換気ファンユニットとの位置関係を示す図1の室内機の側面図 図1の室内機に設けられたプレフィルタ自動清掃装置の斜視図 静電霧化装置の変形例を示す斜視図 図11の静電霧化装置と換気ファンユニットとの位置関係を示す図1の室内機の側面図 一部を取り除いた状態を示す図12の室内機の端部正面図 吸引装置に固定された静電霧化ユニットを台枠に取り付ける前の状態を示す斜視図 静電霧化ユニットを台枠に取り付ける前の状態を示す室内機の端部正面図 静電霧化ユニットを台枠に取り付ける前の状態を示す室内機の部分破断側面図
第1の発明は、熱交換器と、熱交換器で熱交換された空気を搬送する室内ファンと、室内ファンから送風された空気を吹き出す吹出口とを有する室内機を備えた空気調和機であって、室内機の内部を、熱交換器と室内ファンが収容されるとともに室内ファンにより送風され吹出口から吹き出す空気が流れる主流路を形成する第1の区画室と第2の区画室に仕切る隔壁と、第2の区画室に収容され、空気中の水分を結露させて高圧放電により静電ミストとして室内に放出する静電霧化ユニットとを備え、静電霧化ユニットは、ペルチェ素子と、ペルチェ素子による冷却によって結露させた水を高圧放電により静電ミストとする放電電極と、ペルチェ素子の熱を放熱し空気流通用間隙をおいて位置する複数のフィンを有する放熱部とを備え、隔壁は第1の区画室と第2の区画室を連通する開口部を有し、室内ファンの作動で発生した主流路内の負圧により第2の区画室内の空気が隔壁の開口部を介して第1の区画室に誘引され、フィンの空気流通用間隙は、第2の区画室から第1の区画室に誘引される空気の流れにほぼ沿った方向に形成された構成としてあり、室内ファンの誘引作用によって静電霧化ユニットが設置された第2の区画室に空気の流れが生じ、この空気が各フィンの間隙に沿ってスムーズに流れるので、ペルチェ素子を効率よく冷却することができ、静電ミストを確実かつ効率よく発生させ続けることができる。
第2の発明は、隔壁の開口部は吹出口の近傍に位置し、室内ファンの作動により主流路が第2の区画室に対し低圧となる負圧部となるようにしたので、第2の区画室で発生した静電ミストを吹出口から室内に確実に放出することができる。
第3の発明は、隔壁の開口部は室内ファンの上流側に位置し、室内ファンの作動により主流路が第2の区画室に対し低圧となる負圧部となるようにしたので、第2の区画室で発生した静電ミストを吹出口から室内に確実に放出することができる。
第4の発明は、放熱部のフィンがペルチェ素子と対向する中央部分の背丈が高く外側のフィンの背丈が低くなる構成としてあり、フィン背丈の寸法差分だけ中央部分よりのフィンは空気流通用間隙を上昇してくる空気以外の新鮮な空気によって冷却されるようになり、さらにペルチェ素子の冷却効果を高めて静電ミストの発生量を多くすることができる。
第5の発明は、室内機の一部に、室内機外に通じる開口を前記フィン間の空気流通用間隙とほぼ対向するように設けて、空気の流れが前記空気流通用間隙を通る構成としたので、より一段とペルチェ素子の冷却効果を高めて静電ミストの発生量を多くすることができる。
以下、本発明の実施の形態について、図面を参照しながら説明する。なお、この実施の形態によって本発明が限定されるものではない。
(実施の形態1)
空気調和機は、通常冷媒配管で互いに接続された室外機と室内機とで構成されており、図1及び図2は、本発明にかかる空気調和機の室内機を示している。
図1及び図2に示されるように、室内機は、本体2に室内空気を吸い込む吸込口として前面吸込口2a及び上面吸込口2bを有し、前面吸込口2aには開閉自在の可動前面パネル(以下、単に前面パネルという)4を有しており、空気調和機停止時は、前面パネル4は本体2に密着して前面吸込口2aを閉じているのに対し、空気調和機運転時は、前面パネル4は本体2から離反する方向に移動して前面吸込口2aを開放する。
本体2の内部には、前面吸込口2a及び上面吸込口2bの下流側に設けられ空気中に含まれる塵埃を除去するためのプレフィルタ5と、このプレフィルタ5の下流側に設けられ前面吸込口2a及び上面吸込口2bから吸い込まれた室内空気と熱交換するための熱交換器6と、熱交換器6で熱交換した空気を搬送するための送風ファン(以下、室内ファンと称す)8と、室内ファン8から送風された空気を室内に吹き出す吹出口10を開閉するとともに空気の吹き出し方向を上下に変更する上下羽根12と、空気の吹き出し方向を左右に変更する左右羽根14とを備えている。また、前面パネル4の上部は、その両端部に設けられた複数のアーム(図示せず)を介して本体2の上部に連結されており、複数のアームの一つに連結された駆動モータ(図示せず)を駆動制御することで、空気調和機運転時、前面パネル4は空気調和機停止時の位置(前面吸込口2aの閉塞位置)から前方に向かって移動する。上下羽根12も同様に、その両端部に設けられた複数のアーム(図示せず)を介して本体2の下部に連結されている。
また、室内機の一方の端部(室内機正面から見て左側端部で、後述する隔壁46cのバイパス流路22側)には、室内空気を換気するための換気ファンユニット16が設けられており、換気ファンユニット16の後方には、静電ミストを発生させて室内空気を浄化する空気清浄機能を有する静電霧化装置18が設けられている。
なお、図1は前面パネル4及び本体2を覆う本体カバー(図示せず)を取り除いた状態を示しており、図2は室内機本体2と静電霧化装置18との接続位置を明確にするために本体2の内部に収容されている静電霧化装置18を本体2とは分離した状態を示している。静電霧化装置18は実際には図3に示される形状を呈し、図1あるいは図4に示されるように、本体2の左側部に取り付けられている。
図2及び図4あるいは後で説明する図7に示されるように、室内機の内部は、後述する隔壁により第1の区画室と第2の区画室に仕切られており、第1の区画室には、熱交換器6、室内ファン8等が収容され、前面吸込口2a及び上面吸込口2bから熱交換器6、室内ファン8等を経由して吹出口10に連通する主流路20を形成している。一方、第2の区画室は、静電霧化装置18を収容する空間部22となっており、この空間部22は熱交換器6と室内ファン8とをバイパスするバイパス流路としての役割を持っていることから、空間部22を以下バイパス流路と称す。バイパス流路22の上流側に高電圧電源となる高電圧トランス24とバイパス送風ファン26が設けられ、バイパス流路22の下流側に静電霧化ユニット30の放熱を促進する放熱部28を有する静電霧化ユニット30とサイレンサ32が設けられている。したがって、上流側から順に高電圧トランス24、バイパス送風ファン26、放熱部28、静電霧化ユニット30、及びサイレンサ32が配置された状態で、バイパス流路22の一部を構成するケーシング34に収容されている。このようにケーシング34に収容することにより、組み立て性が向上し、ケーシング34で流路を形成するので、省スペース化を図るとともに、バイパス送風ファン26による空気の流れを、発熱部である高電圧トランス24や放熱部28に確実に当てて冷却することができるとともに、静電霧化ユニット30から発生した静電ミストを確実に空気調和機の吹出口10に導入することができ、発生した静電ミストを被空調室内に放出させることができる。
また、放熱部28は空気流通用間隙をおいて位置する複数のフィン28aを有し、フィン28aはその空気流通用間隙が空気の流れにほぼ沿った方向になるように配置している。したがって、空気流通用間隙を空気が効率よく流れ、ペルチェ素子36をより一層効率よく冷却することができる。
また、ケーシング34は、ケーシング34の内部を流れる空気流の方向が、主流路20を流れる空気流の方向に対して、室内機本体2の正面から見て平行になるように縦方向に配置されており、これにより室内機本体2の正面から見て換気ファンユニット16と重なる位置に隣接配置することができ、さらに省スペース化を達成している。
なお、高電圧トランス24は必ずしもケーシング34内に収容する必要はないが、バイパス流路の通風により冷却されるため、温度上昇の抑制あるいは省スペース化の点で、ケーシング34内に収容するのが好ましい。
ここで、静電霧化ユニット30について図5及び図6を参照しながら説明する。
図5に示されるように、静電霧化ユニット30は、放熱面36aと冷却面36bとを有する複数のペルチェ素子36と、放熱面36aに熱的に密着して接続された上述した放熱部28と、冷却面36bに電気絶縁材(図示せず)を介して熱的に密着して立設された放電電極38と、この放電電極38に対し所定距離だけ離隔して配置された対向電極40とで構成されている。
また、図6に示されるように、静電霧化装置18は、換気ファンユニット16の近傍に配置された制御部42(図1参照)を有し、この制御部42にペルチェ駆動電源44と高電圧トランス24は電気的に接続されており、ペルチェ素子36及び放電電極38はペルチェ駆動電源44及び高電圧トランス24にそれぞれ電気的に接続されている。
なお、静電霧化ユニット30として放電電極38から高電圧放電させて静電ミストを発生させるためには、対向電極40を設けなくても可能である。例えば、放電電極38に高電圧電源の一方の端子を接続し、他方の端子をフレーム接続するようにしておけば、フレーム接続された構造体の放電電極38に近接した部分と放電電極38との間で放電することとなる。そのような構成の場合には、そのフレーム接続された構造体を対向電極40と見なすことができる。
上記構成の静電霧化ユニット30において、制御部42によりペルチェ駆動電源44を制御してペルチェ素子36に電流を流すと、冷却面36bから放熱面36aに向かって熱が移動し、放電電極38の温度が低下することで放電電極38に結露する。さらに、制御部42により高電圧トランス24を制御して、結露水が付着した放電電極38に高電圧を印可すると、結露水に放電現象が発生して粒子径がナノメートルサイズの静電ミストが発生する。なお、本実施の形態においては、高電圧トランス24としてマイナス高電圧電源を用いているので、静電ミストは負に帯電している。
また、本実施の形態においては、図7に示されるように、主流路20は、本体2を構成する台枠46の後部壁46aと、この後部壁46aの両端部より前方に延びる両側壁(図7では左側壁のみ示す)46bと、台枠46の下方に形成されたリヤガイダ(送風ガイド)48の後部壁48aと、この後部壁48aの両端部より前方に延びる両側壁(図7では左側壁のみ示す)48bとで形成されており、台枠46の一方の側壁(左側壁)46bとリヤガイダ48の一方の側壁(左側壁)48bとでバイパス流路22を主流路20から分離する隔壁46cを構成している。すなわち、この隔壁46cは熱交換器6および室内ファン8とバイパス流路22に設けた静電霧化装置18との間を区切っている。そして、台枠46の一方の側壁46bにバイパス流路22のバイパス吸入口22aが形成される一方、リヤガイダ48の一方の側壁48bにバイパス流路22のバイパス吹出口22bが形成されている。
空気調和機の場合、冷房時においては、室内機の熱交換器6を通過した低温の空気は相対湿度が高く、静電霧化装置18において、水分を補給するためにペルチェ素子36を備えた場合に、ペルチェ素子36のピン状の放電電極38のみならずペルチェ素子36全体に結露が発生しやすくなる。一方、暖房時においては、熱交換器6を通過した高温の空気は相対湿度が低いため、ペルチェ素子36の放電電極38に結露しない可能性が極めて高い。
そこで上記構成のように、主流路20とバイパス流路22を隔壁46cで分離し、静電ミストを発生させる静電霧化装置18をバイパス流路22に設けたことにより、熱交換器6を通過せず温湿度調整がなされていない空気が静電霧化装置18に供給される。これにより、冷房時においては静電霧化ユニット30のペルチェ素子36全体に結露が発生することを有効に防止することで安全性が向上する。また、暖房時においては静電ミストを確実に発生させることができる。
バイパス流路22は、バイパス吸入管22cとケーシング34とバイパス吹出管22dから構成されており、台枠側壁46bに形成されたバイパス吸入口22aに一端が接続されたバイパス吸入管22cは左方(左側壁46bに略直交し、前面パネル4に略平行な方向)に延びて、その他端はケーシング34の一端に接続され、さらにケーシング34の他端に一端が接続されたバイパス吹出管22dは下方に延びて右方に折曲され、その他端はリヤガイダ48の一方の側壁48bのバイパス吹出口22bに接続されている。このようにバイパス流路22の一部をケーシング34で構成することで、省スペース化を達成することができるとともに、これらを一連に構成することでバイパス吹出管22dを介して静電霧化ユニット18から静電ミストを主流路20に向けて確実に誘引することができ、静電ミストを被空調室内に放出させることができる。
バイパス吸入口22aはプレフィルタ5と熱交換器6との間、すなわちプレフィルタ5の下流側で熱交換器6の上流側に位置しており、前面吸込口2a及び上面吸込口2bより吸い込まれた空気に含まれる塵埃はプレフィルタ5により有効に除去されるので、静電霧化装置18に塵埃が侵入することを抑制できる。これにより、静電霧化ユニット30に塵埃が堆積することを有効に防止でき、静電ミストを安定的に放出することができる。
このように本実施の形態においては、プレフィルタ5で静電霧化装置18と主流路20のプレフィルタを兼ねる構成となっているが、これによりメンテナンスはプレフィルタ5のみを清掃すればよく、それぞれ別に手入れをする必要がないので、手入れを簡略化することができる。さらには、後述するようなプレフィルタ自動清掃装置を備えた空気調和機においては、プレフィルタ5に特別の手入れは必要なく、メンテンナンスフリー化を実現することができる。
一方、バイパス吹出口22bは熱交換器6及び室内ファン8の下流側で吹出口10の近傍に位置しており、バイパス吹出口22bから吐出された静電ミストが主流路20の空気流に乗って拡散し部屋全体に充満するように構成されている。このようにバイパス吹出口22bを熱交換器6の下流側に配置したのは、熱交換器6の上流側に配置すると、熱交換器6は金属製のため、荷電粒子である静電ミストは熱交換器6にその大部分(約8〜9割以上)が吸収されるからである。また、バイパス吹出口22bを室内ファン8の下流側に配置したのは、室内ファン8の上流側に配置すると、室内ファン8の内部には乱流が存在し、室内ファン8の内部を通過する空気が室内ファン8の様々な部位に衝突する過程で静電ミストの一部(約5割程度)が吸収されるからである。
また、バイパス吹出口22bを設けたリヤガイダ48の一方の側壁48bの主流路20側は、室内ファン8により空気流に所定の速度が付与されることで、側壁48bの主流路20側とバイパス流路22側において圧力差が生じ、バイパス流路22に対し主流路20側が相対的に低圧となる負圧部となっており、バイパス流路22から主流路20に向かって空気が誘引される。したがって、バイパス送風ファン26は小容量のもので済み、場合によってはバイパス送風ファン26を設けなくてもよい。
さらに、バイパス吹出管22dは、主流路20との合流点(バイパス吹出口22b)において主流路20内の空気流に対し略直交する方向に指向するように隔壁46c(リヤガイダ48の側壁48b)に接続されている。これは、静電霧化ユニット30は、上述したように放電現象を利用して静電ミストを発生させていることから、必然的に放電音を伴い、放電音には指向性があるからである。したがって、バイパス流路22と主流路20の合流点(バイパス吹出口22b)において、バイパス流路22を前面パネル4に略平行に接続することで、室内機の前方あるいは斜め前方にいる人に対して、放電音が極力指向しないように構成して騒音を低減することができる。
また、図8に示されるように、バイパス吹出管22dを主流路20との合流点において隔壁46cに対し傾斜させ、主流路20内の空気流に対し上流側に指向するように接続すると、より一層放電音による騒音の低減に効果がある。
なお、バイパス吹出管22dの指向する方向が主流路20内の空気流の下流方向に指向して接続した場合においても、その延長線が吹出口10から外部に出ないようにしておけば、発生する放電音が吹出口10から直接外部に出る量が少なく、直接的に使用者の耳に入射することも少ないため、騒音低減効果を奏することができる。
以上説明したように、主流路20とバイパス流路22を隔壁46cで分離し、静電ミストを発生させる静電霧化装置18を熱交換器6をバイパスして主流路20に連通するバイパス流路22に設けたので、熱交換器6を通過せず温湿度調整がなされていない空気が静電霧化装置18に供給されるので、冷房時においては静電霧化ユニット30のペルチェ素子36全体に結露が発生することを有効に防止することで安全性が向上するとともに、暖房時においては静電ミストを確実に発生させることができ、空気調和機の運転モードに関わらず、すなわち、季節に関係なく静電ミストを安定的に発生させることができる。
次に、プレフィルタ5に付着した塵埃を吸引して除去する吸引装置を有するプレフィルタ自動清掃装置をさらに設けた空気調和機について説明する。図9を参照しながら換気ファンユニット16を説明すると、換気ファンユニット16は換気専用であっても、プレフィルタ自動清掃装置を有する室内機に設けられた吸引装置の給気用を兼ねるものであってもよい。図9に示される換気ファンユニット16は、隔壁46cのバイパス流路22側でプレフィルタ自動清掃装置の吸引装置58に組み込まれているが、プレフィルタ自動清掃装置は既に公知なので、図10を参照しながら簡単に説明する。プレフィルタ自動清掃装置の詳細な構造や運転方法については、特に限定されるものではない。
図10に示されるように、プレフィルタ自動清掃装置50は、プレフィルタ5の表面に沿って摺動自在の吸引ノズル52を備えており、吸引ノズル52はプレフィルタ5の上下端に設置された一対のガイドレール54により、プレフィルタ5と極めて狭い間隙を保って円滑に左右に移動することができ、プレフィルタ5に付着した塵埃は吸引ノズル52より吸引して除去される。また、吸引ノズル52には屈曲自在の吸引ダクト56の一端が連結され、吸引ダクト56の他端は吸引量可変の吸引装置58に連結されている。さらに、吸引装置58には排気ダクト60が連結され、室外へ導出されている。
また、吸引ノズル52の上下方向の周囲には吸引ノズル52に沿って摺動自在のベルト(図示せず)が巻回されており、吸引ノズル52のプレフィルタ5と対向する面には、プレフィルタ5の縦長さに略等しい長さのスリット状のノズル開口部が形成される一方、ベルトには、プレフィルタ5の縦長さの例えば1/4の長さのスリット状の吸引孔が形成されている。
上記構成のプレフィルタ自動清掃装置50は、必要に応じてプレフィルタ5の清掃範囲A,B,C,Dを順次清掃するが、範囲Aを吸引清掃する場合、ベルトを駆動してその吸引孔を範囲Aの位置に固定した状態で、吸引しながら吸引ノズル52をプレフィルタ5の右端から左端まで駆動することでプレフィルタ5の水平方向の範囲Aが吸引清掃される。
次に、ベルトを駆動してその吸引孔を範囲Bの位置に固定し、この状態で吸引しながら吸引ノズル52をプレフィルタ5の左端から右端まで駆動することで今度はプレフィルタ5の水平方向の範囲Bが吸引清掃される。同様に、プレフィルタ5の範囲C、Dも吸引清掃される。
プレフィルタ5に付着し、吸引ノズル52により吸引された塵埃は吸引ダクト56、吸引装置58、排気ダクト60を経由して室外へ排出される。
図9をさらに参照すると、吸引装置58の吸入路には開口部62が形成されるとともに、この開口部62を開閉するためのダンパ64が設けられており、換気ファンユニット16は、ダンパ64が開口部62を開いた時は換気用として、吸引清掃を行う場合はダンパ64により開口部62を閉じてベルトの吸引孔から塵埃を吸引する吸引用として使用される。すなわち、同じ吸引装置58を使用して吸引清掃機能と換気機能を実現させている。
なお、図9には排気ダクト60は図示されていないが、排気ダクト60は吸引装置58の排気口58aに接続されている。
図11はケーシング34を持たない静電霧化装置18Aを示しており、この静電霧化装置18Aは、図12及び図13に示されるように室内機本体2に組み込まれる。静電霧化装置18Aは室内機の正面又は上面から見て換気ファンユニット16と重なる位置に配設されるとともに、換気ファンユニット16の開口部62及びダンパ64の近傍で、換気ファンユニット16による吸引空気が流れる部分に配置されている。
さらに詳述すると、図11の静電霧化装置18Aは、放熱部28を有する静電霧化ユニット30とサイレンサ32が一体的に取り付けられ、放熱部28を除く静電霧化ユニット30部分とサイレンサ32はそれぞれのハウジング(ユニットハウジング66とサイレンサハウジング68)に収容され、サイレンサハウジング68の開口部68aにバイパス吹出管22dの一端が接続されて連通し、バイパス吹出管22dの他端が主流路20に接続されて連通している。また、放熱部28は空気流通用間隙をおいて位置する複数のフィン28aを有し、フィン28aはその空気流通用間隙が、バイパス流路22に対し主流路20側が相対的に低圧となる負圧によって誘引される空気の流れや換気ファンユニット16による吸引空気の流れにほぼ沿った方向になるように配置している。
この場合、隔壁46cにより主流路20から分離され、本体カバーの左側面との間に形成されて、換気ファンユニット16、静電霧化装置18A等が配設された収容部22eが前述したバイパス吸入管22cとケーシング34との代わりとなるとともに、バイパス吹出管22dまでも収容してバイパス流路22として構成することになる。
これにより、プレフィルタ5を介して本体2内に吸い込まれる空気は、プレフィルタ5の下流側のバイパス吸入口22aより収容部22eに吸い込まれ、その空気流の方向は、主流路20を流れる空気流の方向に対して、室内機本体2を正面から見て平行に収容部22e内を流れることになる。このように収容部22e内を流れた空気により放熱部28は冷却されるとともに、ユニットハウジング66に形成された開口部(図示せず)より静電霧化ユニット30に取り込まれる。
このように構成することで、室内機の正面又は上面から見て換気ファンユニット16と重なる換気ファンユニット16の周囲空間がバイパス流路22となり、換気ファンユニット16、静電霧化装置18A等の収容部22eを有効に活用して省スペース化を達成することができる。また、フィン28aはその空気流通用間隙が空気の流れにほぼ沿った方向になっているから空気流通用間隙を空気が効率よく流れ、ペルチェ素子36をより一層効率よく冷却することができる。
なお、この構成では、高電圧トランス24は換気ファンユニット16、静電霧化装置18A等の収容部22eにおける任意の部位に配置され、バイパス送風ファン26は設けられない。
また、このようにバイパス流路22を、主流路20を通過する空気流に対して、室内機本体2を正面から見て平行に空気流が流れるように構成することにより、上で詳述したように隔壁46cという簡略な構成で主流路20とバイパス流路22を分岐することができるため、容易にバイパス流路22が形成でき、部品点数を削減することができる。
さらに、本構成とすることで、静電霧化装置18Aのプレフィルタと主流路20のプレフィルタをプレフィルタ5で共有化することができる。
なお、換気ファンユニット16の後部にあたる台枠46の下部近傍において、室内機と室外機とを接続する配管(図示せず)を引き出せるように開口46d(図9参照)を形成してもよい。上述したバイパス吸入口22aは、収容部22eに空気を吸い込むために隔壁46c(台枠側壁46b)に形成された収容部22eにおける1つの開口であり、室内機の外部とはプレフィルタ5を通して連通していたが、台枠46の下部に形成された開口46dにおいては、収容部22eが室内機の外部と直接連通して周囲の空気を吸い込む開口となる。このような場合には、収容部22eはプレフィルタ5をもバイパスするバイパス流路となる。したがって、静電霧化装置18Aに吸い込まれる空気は開口46dから流入したものとなってプレフィルタ5を通過しないことになるので、必要に応じて別途静電霧化装置18A用のプレフィルタを設ければよい。また、開口46dを形成した構成でも室内機の正面又は上面から見て換気ファンユニット16と重なる位置に静電霧化装置18Aが配設されていることは変わらず、収容部22eを有効に活用して省スペース化を達成することができるのは同様である。
上述したように、バイパス吹出口22bの主流路20側は、室内ファン8により空気流に所定の速度が付与されることで圧力差が発生して誘引される負圧部となっているので、バイパス送風ファン26は設けなくても、バイパス吹出管22dを介してバイパス流路である収容部22eから主流路20に向かって誘引される空気により放熱部28は冷却され、静電霧化ユニット30により発生した静電ミストが主流路20に誘引され、被空調室内に放出させることができる。また、放熱部28は、開口部62及びダンパ64の近傍で、開口部62に吸い込まれる空気が流れる部分に配置したことから換気ファンユニット16による吸引空気によっても冷却される。
以上説明したように、上記構成によれば、主流路20とバイパス流路となる収容部22eとを隔壁46cで分離し、静電ミストを発生させる静電霧化装置18Aを収容部22eに設けたので、熱交換器6を通過せず温湿度調整がなされていない空気が静電霧化装置18Aに供給される。したがって、冷房時においては静電霧化ユニット30のペルチェ素子36全体に結露が発生することを有効に防止することで安全性が向上するとともに、暖房時においては静電ミストを確実に発生させることができ、空気調和機の運転モードに関わらず、すなわち、季節に関係なく静電ミストを安定的に発生させることができる。
(実施の形態2)
次に、図11に示される静電霧化装置18Aの放熱部28を冷却する方法として、他の方法について説明する。
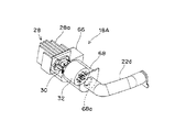
この静電霧化装置18Aのペルチェ素子36を冷却する放熱部28は、空気流通用間隙を設けた複数のフィン28aを有していて、フィン28aは、図11乃至図14に示されるように上下方向に延びるように配置してある。また、図14乃至図16に示されるように、収容部22eを構成する台枠46の後部壁46aのフィン28aと略対向する位置に、室内機外に通じる例えばスリット状の開口80が設けてある。
また、図14に示されるように、台枠46に吸引装置58を組み込んだ時に、吸引装置58と対向する隔壁46cに、バイパス流路22と主流路20とを連通する隙間(開口部)が設けられており、隔壁46cを構成する台枠46の一方の側壁(左側壁)46bとリヤガイダ48の一方の側壁(左側壁)48bとの間に若干の隙間が生じる場合もある。その結果、図16に示す熱交換器6の下方近傍で室内ファン8より上流において、室内ファン8の回転によって生じる負圧が作用してバイパス流路22内の空気を誘引するようになる。これによってバイパス流路22内に新たな空気の流れが生じ、静電霧化装置18Aを強制的に冷却することになる。
さらに、開口80はフィン28aの空気流通用間隙と略対向する台枠46の後部壁46aに設けてあるため、開口80から流入した室内機外の空気はそのままスムーズにフィン28a間の空気流通用間隙を通り、フィン28aを効率よく冷却する。よってフィン28aの放熱性能が向上し、ペルチェ素子36の冷却効果が向上する。
しかも、バイパス流路22から隔離されている室内ファン8がその吸引力によって誘引するバイパス流路22内の誘引気流は開口80からの流入を誘うが、本実施の形態においては熱交換器6の下方近傍の隙間と開口80との高さ位置が同等なため概略前向きの流れとなる。したがって、フィン28aはその空気流通用間隙が室内ファン8によって誘引される空気の流れにほぼ沿った方向になっているから、フィン28a間の空気流通用間隙を空気が効率よく流れ、ペルチェ素子36をより一層効率よく冷却することができる。
なお、熱交換器6の下方近傍の隙間と開口80との高さ位置に差があって上下方向の空気の流れが発生する場合においても、フィン28aを上下方向かつ前後方向に構成しておけば、空気の流れはスムーズにフィン28a間の空気流通用間隙を通り、フィン28aを効率よく冷却することができる。いずれにしても、空気の流れに沿って空気流通用間隙にスムーズに空気が流れ込むようにフィン28aの向きを構成すればよい。
さらに、図11あるいは図14に示されるように、放熱部28のフィン28aはペルチェ素子36と対向する中央部分の背丈が高く外側に行くほどフィン背丈が低くなる略山形状に形成してある。したがって、フィン背丈の寸法差分だけ中央部分よりのフィン28aは新鮮な空気が触れやすくなる分より効果的に放熱するようになり、さらにペルチェ素子36の冷却効果を高めることができる。
そしてこのような構成によりペルチェ素子36を効果的に冷却できるから、ペルチェ素子36への印加電圧を上げてより多くの結露水が得られるようにすることができ、静電ミストの発生量を多くすることができる。
本発明に係る空気調和機は、ペルチェ素子の冷却部を効果的に冷却でき静電ミストを確実に発生させることができるので、大量生産される一般家庭用の空気調和機として特に有用である。
2 室内機本体、 2a 前面吸込口、2b 上面吸込口、 4 前面パネル、
5 プレフィルタ、 6 熱交換器、 8 室内ファン、 10 吹出口、
12 上下羽根、 14 左右羽根、 16 換気ファンユニット、
18,18A 静電霧化装置、 20 主流路、 22 バイパス流路、
22a バイパス吸入口、 22b バイパス吹出口、 22c バイパス吸入管、
22d バイパス吹出管、 22e 収容部、 24 高電圧トランス、
26 バイパス送風ファン、 28 放熱部、 28a フィン、
30 静電霧化ユニット、 32 サイレンサ、 34 ケーシング、
36 ペルチェ素子、 36a 放熱面、 36b 冷却面、 38 放電電極、
40 対向電極、 42 制御部、 44 ペルチェ駆動電源、 46 台枠、
46a 後部壁、 46b 側壁、 46c 隔壁、 46d 開口、
48 リヤガイダ、 48a 後部壁、 48b 側壁、
50 プレフィルタ自動清掃装置、 52 吸引ノズル、 54 ガイドレール、
56 吸引ダクト、 58 吸引装置、 58a 排気口、 60 排気ダクト、
62 開口部、 64 ダンパ、 66 ユニットハウジング、
68 サイレンサハウジング、 68a 開口部、 80 開口。

Claims (5)

  1. 熱交換器と、該熱交換器で熱交換された空気を搬送する室内ファンと、該室内ファンから送風された空気を吹き出す吹出口とを有する室内機を備えた空気調和機であって、
    前記室内機の内部を、前記熱交換器と前記室内ファンが収容されるとともに前記室内ファンにより送風され前記吹出口から吹き出す空気が流れる主流路を形成する第1の区画室と第2の区画室に仕切る隔壁と、
    前記第2の区画室に収容され、空気中の水分を結露させて高圧放電により静電ミストとして室内に放出する静電霧化ユニットとを備え、
    該静電霧化ユニットは、ペルチェ素子と、ペルチェ素子による冷却によって結露させた水を高圧放電により静電ミストとする放電電極と、前記ペルチェ素子の熱を放熱し空気流通用間隙をおいて位置する複数のフィンを有する放熱部とを備え、
    前記隔壁は前記第1の区画室と前記第2の区画室を連通する開口部を有し、前記室内ファンの作動で発生した前記主流路内の負圧により前記第2の区画室内の空気が前記隔壁の開口部を介して前記第1の区画室に誘引され、前記フィンの前記空気流通用間隙は、前記第2の区画室から前記第1の区画室に誘引される空気の流れにほぼ沿った方向に形成されていることを特徴とする空気調和機。
  2. 前記隔壁の開口部は前記吹出口の近傍に位置し、前記室内ファンの作動により前記主流路が前記第2の区画室に対し低圧となる負圧部となるようにしたことを特徴とする請求項1記載の空気調和機。
  3. 前記隔壁の開口部は前記室内ファンの上流側に位置し、前記室内ファンの作動により前記主流路が前記第2の区画室に対し低圧となる負圧部となるようにしたことを特徴とする請求項1記載の空気調和機。
  4. 放熱部のフィンはペルチェ素子と対向する中央部分の背丈が高く外側のフィンの背丈が低くなる構成としたことを特徴とする請求項1〜3のうちいずれか1項記載の空気調和機。
  5. 前記室内機の一部に、室内機外に通じる開口を前記フィン間の空気流通用間隙とほぼ対向するように設けて、空気の流れが前記空気流通用間隙を通る構成としたことを特徴とする請求項1〜4のうちいずれか1項記載の空気調和機。
JP2009198393A 2008-09-12 2009-08-28 空気調和機 Expired - Fee Related JP5405943B2 (ja)

Priority Applications (4)

Application Number Priority Date Filing Date Title
JP2009198393A JP5405943B2 (ja) 2008-09-12 2009-08-28 空気調和機
EP09812865.5A EP2336665B1 (en) 2008-09-12 2009-09-04 Air conditioner
CN200980131981.0A CN102124275B (zh) 2008-09-12 2009-09-04 空调机
PCT/JP2009/004387 WO2010029716A1 (ja) 2008-09-12 2009-09-04 空気調和機

Applications Claiming Priority (3)

Application Number Priority Date Filing Date Title
JP2008234698 2008-09-12
JP2008234698 2008-09-12
JP2009198393A JP5405943B2 (ja) 2008-09-12 2009-08-28 空気調和機

Publications (2)

Publication Number Publication Date
JP2010091262A true JP2010091262A (ja) 2010-04-22
JP5405943B2 JP5405943B2 (ja) 2014-02-05

Family

ID=42004980

Family Applications (1)

Application Number Title Priority Date Filing Date
JP2009198393A Expired - Fee Related JP5405943B2 (ja) 2008-09-12 2009-08-28 空気調和機

Country Status (4)

Country Link
EP (1) EP2336665B1 (ja)
JP (1) JP5405943B2 (ja)
CN (1) CN102124275B (ja)
WO (1) WO2010029716A1 (ja)

Cited By (1)

* Cited by examiner, † Cited by third party
Publication number Priority date Publication date Assignee Title
US8015724B2 (en) * 2004-04-23 2011-09-13 Panasonic Electric Works Co., Ltd. Heating blower with electrostatic atomizing device

Families Citing this family (8)

* Cited by examiner, † Cited by third party
Publication number Priority date Publication date Assignee Title
US10980911B2 (en) 2016-01-21 2021-04-20 Global Plasma Solutions, Inc. Flexible ion generator device
US11695259B2 (en) 2016-08-08 2023-07-04 Global Plasma Solutions, Inc. Modular ion generator device
US11283245B2 (en) 2016-08-08 2022-03-22 Global Plasma Solutions, Inc. Modular ion generator device
CN107747760A (zh) * 2017-07-27 2018-03-02 青岛海尔空调器有限总公司 一种双贯流射流空调及空调室内机
KR20200133334A (ko) 2018-02-12 2020-11-27 글로벌 프라즈마 솔루션스, 인코포레이티드 셀프 클리닝 이온 발생기 장치
US11581709B2 (en) 2019-06-07 2023-02-14 Global Plasma Solutions, Inc. Self-cleaning ion generator device
WO2023034247A1 (en) 2021-08-30 2023-03-09 Global Plasma Solutions, Inc. Self-cleaning device for generating ions
WO2023185064A1 (zh) * 2022-03-30 2023-10-05 青岛海信日立空调系统有限公司 空调器、空调器的控制系统及控制方法

Citations (6)

* Cited by examiner, † Cited by third party
Publication number Priority date Publication date Assignee Title
JP2006029663A (ja) * 2004-07-15 2006-02-02 Matsushita Electric Ind Co Ltd 空気調和機
JP2008010820A (ja) * 2006-05-30 2008-01-17 Kyocera Corp ヒートシンク及び基地局装置
JP2008029973A (ja) * 2006-07-31 2008-02-14 Matsushita Electric Ind Co Ltd 加湿装置
JP2008133980A (ja) * 2006-11-27 2008-06-12 Matsushita Electric Works Ltd 空気清浄機能付き空気調和機
JP2008177314A (ja) * 2007-01-18 2008-07-31 Yaskawa Electric Corp モータ制御装置
JP2008190811A (ja) * 2007-02-07 2008-08-21 Hitachi Appliances Inc 空気調和機

Family Cites Families (3)

* Cited by examiner, † Cited by third party
Publication number Priority date Publication date Assignee Title
JP4096905B2 (ja) 2004-03-26 2008-06-04 松下電工株式会社 空気調和機
JP4701746B2 (ja) 2005-02-23 2011-06-15 パナソニック電工株式会社 空気清浄機能付き空気調和機
JP2008190813A (ja) * 2007-02-07 2008-08-21 Hitachi Appliances Inc 静電霧化装置を搭載した空気調和機

Patent Citations (6)

* Cited by examiner, † Cited by third party
Publication number Priority date Publication date Assignee Title
JP2006029663A (ja) * 2004-07-15 2006-02-02 Matsushita Electric Ind Co Ltd 空気調和機
JP2008010820A (ja) * 2006-05-30 2008-01-17 Kyocera Corp ヒートシンク及び基地局装置
JP2008029973A (ja) * 2006-07-31 2008-02-14 Matsushita Electric Ind Co Ltd 加湿装置
JP2008133980A (ja) * 2006-11-27 2008-06-12 Matsushita Electric Works Ltd 空気清浄機能付き空気調和機
JP2008177314A (ja) * 2007-01-18 2008-07-31 Yaskawa Electric Corp モータ制御装置
JP2008190811A (ja) * 2007-02-07 2008-08-21 Hitachi Appliances Inc 空気調和機

Cited By (1)

* Cited by examiner, † Cited by third party
Publication number Priority date Publication date Assignee Title
US8015724B2 (en) * 2004-04-23 2011-09-13 Panasonic Electric Works Co., Ltd. Heating blower with electrostatic atomizing device

Also Published As

Publication number Publication date
WO2010029716A1 (ja) 2010-03-18
EP2336665A1 (en) 2011-06-22
CN102124275B (zh) 2014-06-18
EP2336665B1 (en) 2018-05-16
JP5405943B2 (ja) 2014-02-05
CN102124275A (zh) 2011-07-13
EP2336665A4 (en) 2014-05-14

Similar Documents

Publication Publication Date Title
JP5405943B2 (ja) 空気調和機
JP4399469B2 (ja) 空気調和機
JP4168085B1 (ja) 空気調和機
WO2009113244A1 (ja) 空気調和機
JP5189381B2 (ja) 空気調和機
JP2009216286A (ja) 空気調和機
JP5180615B2 (ja) 空気調和機
JP5060349B2 (ja) 空気調和機
WO2010029713A1 (ja) 空気調和機
CN102138044B (zh) 空调机
JP2009216312A (ja) 空気調和機
JP5109889B2 (ja) 空気調和機
JP2009198108A (ja) 空気調和機
JP2010164251A (ja) 空気調和機
JP5120168B2 (ja) 空気調和機
JP5186241B2 (ja) 空気調和機
JP2009204230A (ja) 空気調和機
JP5526508B2 (ja) 空気調和機
JP2014020578A (ja) 空気調和機
JP2009216313A (ja) 空気調和機
JP4985567B2 (ja) 空気調和機
JP4867953B2 (ja) 空気調和機
JP2009210227A (ja) 空気調和機
JP2014020577A (ja) 空気調和機

Legal Events

Date Code Title Description
A621 Written request for application examination

Free format text: JAPANESE INTERMEDIATE CODE: A621

Effective date: 20120327

A131 Notification of reasons for refusal

Free format text: JAPANESE INTERMEDIATE CODE: A131

Effective date: 20130423

A521 Request for written amendment filed

Free format text: JAPANESE INTERMEDIATE CODE: A523

Effective date: 20130618

TRDD Decision of grant or rejection written
A01 Written decision to grant a patent or to grant a registration (utility model)

Free format text: JAPANESE INTERMEDIATE CODE: A01

Effective date: 20131029

A61 First payment of annual fees (during grant procedure)

Free format text: JAPANESE INTERMEDIATE CODE: A61

Effective date: 20131031

R150 Certificate of patent or registration of utility model

Ref document number: 5405943

Country of ref document: JP

Free format text: JAPANESE INTERMEDIATE CODE: R150

LAPS Cancellation because of no payment of annual fees