JP2010090650A - 折板パネル構造および建築構造物 - Google Patents

折板パネル構造および建築構造物 Download PDF

Info

Publication number
JP2010090650A
JP2010090650A JP2008263555A JP2008263555A JP2010090650A JP 2010090650 A JP2010090650 A JP 2010090650A JP 2008263555 A JP2008263555 A JP 2008263555A JP 2008263555 A JP2008263555 A JP 2008263555A JP 2010090650 A JP2010090650 A JP 2010090650A
Authority
JP
Japan
Prior art keywords
folded plate
panel structure
peak
folded
cross
Prior art date
Legal status (The legal status is an assumption and is not a legal conclusion. Google has not performed a legal analysis and makes no representation as to the accuracy of the status listed.)
Granted
Application number
JP2008263555A
Other languages
English (en)
Other versions
JP5176855B2 (ja
Inventor
Nobutaka Shimizu
信孝 清水
Current Assignee (The listed assignees may be inaccurate. Google has not performed a legal analysis and makes no representation or warranty as to the accuracy of the list.)
Nippon Steel Corp
Original Assignee
Nippon Steel Corp
Priority date (The priority date is an assumption and is not a legal conclusion. Google has not performed a legal analysis and makes no representation as to the accuracy of the date listed.)
Filing date
Publication date
Application filed by Nippon Steel Corp filed Critical Nippon Steel Corp
Priority to JP2008263555A priority Critical patent/JP5176855B2/ja
Publication of JP2010090650A publication Critical patent/JP2010090650A/ja
Application granted granted Critical
Publication of JP5176855B2 publication Critical patent/JP5176855B2/ja
Active legal-status Critical Current
Anticipated expiration legal-status Critical

Links

Images

Landscapes

  • Panels For Use In Building Construction (AREA)

Abstract

【課題】急激な荷重低下や、繰返し力に対するスリップ性状のない、安定したエネルギー吸収性能を示す折板パネル構造を提供する。
【解決手段】山部31と谷部32とが所定間隔で屈曲形成された折板3に枠材を接合した折板パネル構造において、折板3は、谷部32を介して枠材2に接合され、折板パネル構造に対して面内せん断力が負荷された場合に、山部31を山部軸方向と略直交方向に歪ませることにより、面内せん断力に対してエネルギー吸収させる。このとき、山部31の断面が、略長方形状で構成されていてもよい。
【選択図】図1

Description

本発明は、デッキプレートやサイディング等に代表される、断面凹凸状に屈曲形成された折板に枠材を接合した、壁、屋根、床等を構成する建築構造用の折板パネル構造、ならびにこれを用いた建築構造物に関する。
従来から、デッキプレートやサイディングをはじめとする波板や折板は、柱・梁・母屋・胴縁などの枠材に接合され、自重や積雪や積載物等による鉛直荷重、風圧力など、板面に対して直交するような面外荷重に抵抗する構造材として利用されている。
一方、近年では、特許文献1、2、非特許文献1、2にみられるように、波板や折板を枠材に接合した折板パネル構造を、面内せん断力に抵抗させ、耐震壁や耐震屋根のような構造材として利用する技術も提案されている。
特開2006−037586号公報 特開2006−037628号公報 財団法人 日本建築総合試験所 「建築技術性能証明評価概要報告書」 GBRC性能証明第06−20号、2007年 Hesham S. Essa, Robert Tremblay, and Colin A. Rogers "Behavior of Roof Deck Diaphragms under Quasistatic Cyclic Loading",1666/JOURNAL OF STRUCTURAL ENGINEERING ASCE / DECEMBER 2003
しかしながら、これら特許文献1、2並びに非特許文献1の開示技術では、折板パネルを面内せん断力に対するエネルギー吸収構造として利用する上で、パネルを構成する板要素のほぼ全面をせん断降伏させることでエネルギー吸収しているため、せん断降伏した後の板要素の剛性低下に起因しパネルの全体座屈が誘起される傾向にあり、比較的小さな変形域で急激に荷重が低下し、十分な変形性能を確保し難いという課題がある。
また、非特許文献2の開示技術では、折板パネルを面内せん断力に対するエネルギー吸収構造として利用する上で、パネル周囲と枠材を接合する接合部で、折板を局所的に破壊させることでエネルギー吸収している。このため、変形性能を確保できるものの、繰返し力を受けると、接合部の局所破壊部分に滑り挙動が発生し、結果的にパネル構造全体としてスリップ性状を示すことになる。その結果、繰り返し力を受けた場合におけるせん断力−せん断変形の関係において履歴曲線で囲まれる面積が狭小化してしまい、エネルギー吸収性能が低下するという課題がある。
そこで本発明は、上述した課題に鑑みて案出されたものであり、その目的とするところは、急激な荷重低下や、繰返し力に対するスリップ性状のない、安定したエネルギー吸収性能を示す折板パネル構造ならびにこれを用いた建築構造物を提供することにある。
請求項1に記載の折板パネル構造は、山部と谷部とが所定間隔で屈曲形成された折板に枠材を接合した折板パネル構造において、上記折板は、上記谷部を介して上記枠材に接合され、上記折板パネル構造に対して面内せん断力が負荷された場合に、上記山部を山部軸方向と略直交方向に歪ませることにより、上記面内せん断力に対してエネルギー吸収させることを特徴とする。
請求項2に記載の折板パネル構造は、上記山部の断面が、略長方形状で構成されていることを特徴とする。
請求項3に記載の折板パネル構造は、上記山部の断面が、下底の辺長に対する上低の辺長の比が0.6以上、1.0未満である略台形状で構成されていることを特徴とする。
請求項4に記載の折板パネル構造は、請求項1〜3のうち何れか1項記載の折板パネル構造において、上記山部の断面が、上記山部軸方向の両端部から、上記山部軸方向の中央部にかけて、断面寸法を漸減させたことを特徴とする。
請求項5に記載の折板パネル構造は、請求項1〜4のうち何れか1項記載の折板パネル構造において、少なくとも上記山部軸方向の端部において、上記谷部および上記山部を形成する面のうち少なくとも1面に、リブが形成されていることを特徴とする。
請求項6に記載の折板パネル構造は、請求項1〜5のうち何れか1項記載の折板パネル構造において、少なくとも上記山部軸方向の端部において、上記山部の内側には、粘弾塑性体が設置されたことを特徴とする。
請求項7に記載の建築構造物は、請求項1〜6のうち何れか1項記載の折板パネル構造を壁パネルに用いたことを特徴とする。
請求項8に記載の建築構造物は、請求項1〜6のうち何れか1項記載の折板パネル構造を屋根パネルに用いたことを特徴とする。
請求項9に記載の建築構造物は、請求項1〜6のうち何れか1項記載の折板パネル構造を床パネルに用いたことを特徴とする。
上述した構成からなる本発明によれば、折板パネル構造に対して面内せん断力が負荷された場合に、山部を山部軸方向と略直交方向に歪ませることにより、折板を構成する板要素の主に曲げ変形による弾塑性歪みエネルギー、および、折板の山部の内側に設置された粘弾塑性体の粘弾塑性歪みエネルギーにより、負荷される面内せん断力に対してエネルギー吸収させることができる。
これにより、板要素をせん断降伏させる場合の急激な荷重低下、パネル周囲の枠材との接合部を局所破壊させる場合のスリップ性状、を起こすことなく、安定したエネルギー吸収性能を発揮する折板パネル構造ならびにこれを用いた建築構造物を提供することが可能となる。
以下、本発明を実施するための最良の形態として、山部と谷部とが屈曲形成された折板に枠材を接合した折板パネル構造について、図面を参照しながら詳細に説明をする。
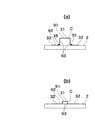
本発明を適用した折板パネル構造は、壁、屋根、床等を構成する建築構造物等に適用される。この折板パネル構造1は、例えば、図1(a)に示すように、壁、屋根、床等の一部を構成する枠材2と、この枠材2に接合された折板3とを備えている。
枠材2は、溝形等の薄板軽量形鋼、軽量形鋼、H形鋼、角形鋼管、円形鋼管、鋼板、木材、鉄筋コンクリート、鉄骨鉄筋コンクリート等で構成される、柱、梁、母屋、胴縁、せ
ん断力伝達部材等の枠材である。なお、図1において、枠材2は、略矩形状として図示している。
図1(b)は、この図1(a)におけるA−A´断面を示している。折板3は、山部31と谷部32とが所定間隔で屈曲形成されている。即ち、この折板パネル構造1は、水平な上フランジ91および下フランジ92と、この上フランジ91および下フランジ92の間に形成されているウェブ93とが形成されるように折板を折り曲げることにより、上述した山部31と谷部32とが形成される。ちなみに、この折板3は、鋼板をロール成形やプレス成形などにより折り曲げ加工することにより作製される。
谷部32は、枠材2に接合されている。この谷部32における枠材2への接合は、例えばドリルねじ、ボルト、ビス、鋲、リベット、スポット溶接、連続溶接、接着等を利用して行われるが、図1においては、ドリルねじ35を利用した例を示している。ここで、谷部32を形成する下フランジ92はその幅方向両端の近傍において枠材2に接合されており、谷部32の枠材2からの浮き上がりが防止されている。
本発明の技術的特徴の一つとしては、谷部32のみ、すなわち下フランジ92を枠材2に接合し固定することで、山部31を形成する上フランジ91およびウェブ93を山部軸方向と略直交する両矢印B-B´方向に可動としていることである。
ここで、本発明を適用した折板パネル構造1の動作およびエネルギー吸収の機構について説明をする。図2(a)は、図1(a)に示すように、地震等によって面内せん断力Qが折板パネル構造1に負荷された場合において、図1の点線で囲まれる領域Dにおける折板3および枠材2の拡大平面図である。また図2(b)は、図2におけるE−E´断面図を、更に図2(c)は、図2(a)におけるF−F´断面図を示している。
この折板3における領域Dについて着目した場合、面内せん断力Qが図2(a)に示す矢印Qの向き、すなわちE−E´断面側でB方向、F−F´断面側でB´方向に負荷された場合、山部31は、E−E´断面側でB´方向、F−F´断面側でB方向に、それぞれ逆向きに倒れ込むように、山部31の軸方向と略直交方向に歪む変形を起こす。これとは逆に、面内せん断力QがE−E´断面側でB´方向、F−F´断面側でB方向に負荷された場合には、山部31は、E−E´断面側でB方向、F−F´断面側でB´方向に倒れ込む。
このように山部31が歪む変形状態にある場合、折板3を構成する板要素には面外方向への曲げ変形が生じる。この曲げ変形は、屈曲形成された折板3の稜線部、さらにその稜線部においては山部31の軸方向の端部に向かうほど大きくなる傾向にある。山部31の歪み変形の進展に伴い、上述した板要素の曲げ変形が大きくなる領域から板要素が曲げ降伏していき、これにより弾塑性的なエネルギー吸収性能を発揮する。
なお、地震力等の繰返し力に対しては、山部31はB方向およびB´方向に交互に歪み、それに応じて上述した板要素の曲げ変形が大きくなる領域で、正負交互の曲げ変形による曲げ降伏が起こり、繰返し力に対するエネルギー吸収性能を発揮し、折板パネル構造1は作用する面内せん断力Qに対して、安定した履歴性能を発揮することができる。
本発明において、山部31の断面Cの形状は、略長方形状で構成されている。山部31の断面Cを略長方形状とした場合、面内せん断力Qが作用すると、断面Cは長方形から平行四辺形状に円滑に変形するため、山部31を山部軸方向に対して直交方向に歪ませることが可能となり、歪みエネルギー吸収を効果的に実現することが可能となる。
仮にこの山部31の断面Cを略三角形状とした場合、三角形トラスが形成されるのと同等の作用が生じ、面内せん断力Qが作用しても断面Cはほとんど歪むことがないまま、トラスの圧縮力負担側で座屈が発生してしまうため、山部31の断面が歪むことによるエネルギー吸収はほとんど期待することができない。
なお、本発明において、ドリルネジ35の本数や径等、すなわち折板3と枠材2の接合部の強度については、面内せん断力Qが生じたときに、折板パネル構造1がエネルギー吸収する際の荷重域において、接合部が折板3よりも先行降伏しないように設計することで、接合部の局所破壊に伴うスリップ性状を回避することができる。また、同様に、折板パネル構造1がエネルギー吸収する際の荷重域において、折板パネルの全体座屈、局部座屈、せん断降伏、の各モードで先行降伏しないように、本発明の範囲内で、パネル形状を設計しておけば、座屈等に伴う急激な荷重低下や変形性能の低下を回避することができる。
図3は、本発明を適用した折板パネル構造1において、山部31の断面Cの形状が略台形状となるように構成した例を示しており、図3(a)は、その平面図を、図3(b)は、G−G´断面図である。山部31の断面Cについて、上底の辺長をt11とし、下底の辺長をt12としたとき、t11/t12が0.6以上、1.0未満としている。t11/t12が0.6未満では、山部31の断面Cを略三角形状にしたのと同等の作用が生じ、山部31を歪ませることができず、歪みエネルギーの吸収を十分に行うことができないためである。
このように山部31の断面Cの形状が略台形状となるように構成し、しかもt11/t12を0.6以上とすることにより、後述するように、面内せん断力Qに対し、山部31を山部直交方向に歪ませることが可能となり、歪みエネルギー吸収を実現することが可能となる。断面Cを台形とする場合は、長方形の場合に比べて、断面が歪み難くなり変形性能が低下する傾向にあるが、剛性と耐力を向上できるという特性を得ることができる。
折板パネル構造1においては、折板3の谷部32および山部31を形成する上フランジ91、下フランジ92、ウェブ93のうち少なくとも1面に、図4(a),(b)に示すようにリブ25が形成されていてもよい。リブ25は、例えば、プレス成形等により、山部軸方向と略直交する方向に配されている。リブ25を設けることにより、山部31が歪む変形に伴い、谷部32および山部31を形成する面に局所的に作用する曲げ、せん断、圧縮に対する局部的な座屈抵抗を向上させることができ、折板パネル構造1のエネルギー吸収性能を更に向上させることが可能となる。なお、リブ25の本数やサイズ、径や長さ、形状、向き、配置する領域範囲は、谷部32および山部31を形成する面に対する局所的な作用力(曲げ、せん断、圧縮)に応じて、適宜設計すれば良い。
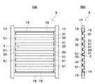
図5、6は、山部31について、山部軸方向の両端部から、山部軸方向の中央部にかけて、断面寸法を漸減させた例を示している。図5(a)は、かかる実施形態における山部31および谷部32の平面図を、また図5(b)は、その側断面図を示している。また図6(a)は、図5中I−I´断面図を、更に図6(b)は、図5中J−J´断面図を示している。なお、このような形状からなる山部31並びに谷部32は、プレス加工等により成形することができる。
図2に示すように、面内せん断力Qが負荷された場合に、山部軸方向と略直交方向へ山部31が倒れ込む変形量は、山部軸方向の両端部の領域21において最も大きく、山部軸方向の中央部の領域22近傍に近づくにつれ小さくなり、山部31が倒れ込む変形の向きが逆転する山部軸方向の中央部において変形はほとんど生じないこととなる。
山部軸方向の全長にわたって山部の断面寸法を均一とした場合において、山部31が倒
れ込む変形量が大きな山部軸方向の両端部では、折板3を構成する板要素の面外曲げによる歪み(特に屈曲形成された稜線部近傍の曲率)も大きく、稜線部近傍の曲げ降伏が進展する。しかし、山部軸方向の中央部に近づくにつれ、山部31が倒れ込む変形量は小さくなり、折板を構成する板要素の面外曲げによる歪み(特に屈曲形成された稜線部近傍の曲率)も漸減していき、稜線部近傍の曲げ降伏の進展の程度も漸減していく傾向にある。すなわち、エネルギー吸収に寄与するのは、主に山部軸方向の両端部の領域となる傾向にある。
これに対し、山部軸方向の両端部から、山部軸方向の中央部にかけて、断面寸法を漸減させた場合においては、山部軸方向の中央部に近づくのに伴う山部31が倒れ込む変形量の減少にあわせ、山部31の高さおよび幅(いずれか一方でも良い)の寸法も低減させているので、山部軸方向の中央部に近づいても、折板を構成する板要素の面外曲げによる歪み(特に屈曲形成された稜線部近傍の曲率)を進展させることができる。これにより、山部軸方向の両端部の領域のみならず、中央部に近づいた領域もエネルギー吸収に寄与させることととなり、結果的に、折板パネル構造1としてのエネルギー吸収効率を高めることができる。
また、断面寸法を漸減させることで、山部31が倒れ込む変形に対する剛性と耐力を向上させることができるので、折板パネル構造1としての剛性と耐力も高めることができる。
図7は、薄板軽量形鋼を枠材に用いた壁パネルを想定したものであり、折板パネル構造1における折板3の枠材2に対するより具体的な取付け例を示している。この枠材2は、フランジ11a、11bとウェブ12とからなるリップ付溝形鋼で構成される枠材2aと、フランジ13a、13bとウェブ14とからなる溝形鋼で構成される枠材2bにより構成される。枠材2aは、折板3の山部軸方向と直交方向となるように、また枠材2bは、折板3の山部軸方向と平行となるように、折板3の周囲に配置されている。枠材2aには、柱としての鉛直荷重支持の機能を持たせることもでき、設計によっては、リップ付溝形鋼を複数本組み合わせたもの等を利用することもできる。枠材2a、2bからなる枠材2に対して、折板3は、枠材2aにおけるフランジ11aの外側に取り付けられる。このときも同様に折板3における谷部32の両端近傍がフランジ11aに対して例えばドリルねじ等により接合され、山部31の上端は可動な状態とされている。すなわち、この図7に示す取付け例では、折板3を枠材2の外側に取り付ける形態を示している
図8の取付け例では、フランジ11a、11bとウェブ12とからなる溝形鋼で構成される枠材2aと、フランジ13a、13bとウェブ14とからなる溝形鋼で構成される枠材2bにより構成される枠体に折板3を接合する例を示している。ここでは、枠材2a、2bからなる枠材2に対して、折板3は、谷部32をフランジ11bの内側に取り付けられる。すなわち、この図8に示す取付け例では、折板3を枠材2の内側に取り付ける形態を示している。折板3を枠材2の内側に収めることで、壁パネルとしての厚みを抑えることができる。
この図7、8の形態においても、山部31は可動であり、山部軸方向と略直交方向に歪むことで、面内せん断力に対するエネルギー吸収の効果を奏することは勿論である。
図9は、立設された柱17間において梁18が架設されてなる建築構造物5に折板3を設ける構成を示している。柱17にはプレート20が、また梁18にはプレート19が取り付けられている。プレート19、20は、それぞれ鋼板等が適用され、柱17や梁18から折板3にせん断力を伝達する部材として機能する。折板3は、その谷部32のみがプレート19、20に接合されている。この谷部32とプレート19、20との接合は溶接
等により行われ、接合部51が谷部32において形成される。プレート19、20は、それぞれ柱17、梁18の構造種別(鉄骨造、木造、鉄筋コンクリート造、鉄骨鉄筋コンクリート造 等)に応じて、溶接、ボルト、スタッド等の手段により、柱17、梁18に取り付けられる。
図10は、立設された柱17間において梁18が架設されてなる建築構造物5に折板3を設ける他の例を示している。梁18間には形鋼61が架け渡されている。また、この梁18に沿って形鋼62が取り付けられてなり、形鋼62の両端は、形鋼61に接合されている。折板3は、その谷部32のみが形鋼61、62に接合されている。この谷部32と形鋼61、62との接合は、溶接等により行われ、接合部51がこの谷部32において形成される。形鋼61、62は、それぞれ柱17、梁18の構造種別(鉄骨造、木造、鉄筋コンクリート造、鉄骨鉄筋コンクリート造 等)に応じて、溶接、ボルト、スタッド等の手段により、柱17、梁18に取り付けられる。なお、形鋼61、62としては、H形鋼以外のその他の断面形状の形鋼であってもよい。
この図9、10の形態においても、山部31は可動であり、山部軸方向と略直交方向に歪むことで、面内せん断力に対するエネルギー吸収の効果を奏することは勿論である。
なお、図7〜10の実施例において、折板3は一体成形されたものとして示しているが、例えば、山部軸方向と直交方向において、複数に分割されたものでも良い。分割された折板間の継ぎ目、また、山部軸方向と直交方向の縁と枠材との取り合い部については、互いに接合することを基本とするが、接合しない仕様とすることもできる。
また、図11は、山部31の内側に、粘弾塑性体65を設置した例である。粘弾塑性体65を設置することにより、風圧等による僅かな揺れに対してもエネルギー吸収性能を発揮することが可能となる。また地震等の大きな揺れに対しては、この粘弾塑性体65の粘弾塑性変形でエネルギー吸収するとともに、上述した山部31の歪みによるエネルギー吸収を発揮させることが可能となる。このため、粘弾塑性体65を山部31の内側に設置することにより、負荷される面内せん断力Qの大小を問わず、エネルギー吸収性能を確保することができる。
以下、上述した本発明に係る折板パネル構造について、面内せん断力Qの負荷に対するエネルギー吸収性能を実験検証した結果について、説明をする。
図12には、山部31の断面形状を略長方形状とした折板パネル構造120の例を示す。この例では、図12(b)に示すように、山部31の幅を40mm(t11=t12=40mm)、高さHを20mmとしている。折板3の板厚は0.55mm、素材降伏点は341Mpaである。折板3の枠材2に対する接合方法としては、谷部32に接合金物121を当接させ、ボルト122に張力導入して摩擦接合として固定した。
図13には、山部31の断面形状を略台形状とした折板パネル構造130の例を示す。この例では、図13(b)に示すように、上底の辺長t11=25mm、下底の辺長t12=40mm、山部31の高さHを20mmとしている。折板3の板厚、素材降伏点、枠材2との接合については、図12の例と同様である。
折板パネル構造120、130それぞれの性能確認に向けた実験を行い、ここでは、面内せん断力Q(kN)を繰り返し負荷した際のせん断変形角γ(rad)を測定した。
図14は、断面を略長方形状とした折板パネル構造120の実験結果であり、面内せん
断力Qとせん断変形角γとの関係を示している。図示するようにγ=0.125の変形領域まで紡錘形状の安定した履歴性状を示している。その後は、板要素の局所的な座屈発生に伴い、若干の荷重低下とスリップ性状を示している。
図15は、断面を略台形状とした折板パネル構造130の実験結果であり、面内せん断力Qとせん断変形角γとの関係を示している。図示するようにγ=0.1程度の変形領域まで紡錘形状の安定した履歴性状を示している。その後は、板要素の局所的な座屈発生に伴い、若干の荷重低下とスリップ性状を示している。図14の略長方形状の断面のものと比べると、安定した履歴性状を確保できる変形領域は若干狭まるものの、初期剛性と耐力については向上していることが分かる。
なお、図14の断面を略長方形状とした場合、また、図15の断面を略台形状とした場合ともに、山部軸方向の端部近傍で、板要素の局所的な座屈が発生することで、若干の荷重低下とスリップ性状を示しているが、図4に示すようなリブの設置により局所座屈を抑制することで、荷重低下とスリップ性状のない安定した履歴性状となる変形領域を拡大することができる。
また、略台形状の上底の辺長t11と下底の辺長t12の比率に対する数値限定についても、図12〜13に示す実験実施例と同様の検討に基づくものである。板厚が0.4mm、素材降伏点が286Mpaの折板を用い、高さHを20mm、下底の辺長t12を40mmの一定値とし、上底の辺長t11を、40mm、25mm、15mm、0mmと変化(t11/t12を1.0から0まで変化)させた場合の実験結果を図16に示す。ここから、山部の断面が歪まないt11=0mmの三角形状の断面では初期剛性と耐力が高いものの、弾性的な挙動から急激に荷重低下するため、変形性能が確保できないことが分かる。これに対し、上底の辺長t11を大きくするにつれ、最大耐力点の変形値が大きくなるととともに、荷重低下を起こすまでの変形性能が向上することが分かる。また、最大耐力点からの荷重低下の程度も、上底の辺長t11を大きくするにつれ、徐々に緩やかになっている。上底の辺長t11と下底の辺長t12の比率に対する数値限定「t11/t12が0.6以上、1.0未満」は、t11=25mm(t11/t12≒0.6)において、荷重低下を起こすまでに、建築構造物における変形制限のクライテリアの一つであるγ=0.005程度の変形性能を確保するという実験結果を踏まえて定めたものである。
なお、本発明の実施例では、建築構造物の壁パネルを対象に例示したが、屋根パネル、床パネルに適用する場合も、本発明に含まれる。
その他、本発明を実施するための構成、方法などは、以上の記載で開示されているが、本発明は、これに限定されるものではない。すなわち、本発明は、主に特定の実施形態に関して特に図示され、かつ説明されているが、本発明の技術的思想および目的の範囲から逸脱することなく、以上述べた実施形態に対し、形状、材質、数量、その他の詳細な構成において、当業者が様々な変形を加えることができるものである。
従って、上記に開示した形状、材質などを限定した記載は、本発明の理解を容易にするために例示的に記載したものであり、本発明を限定するものではないから、それらの形状、材質などの限定の一部もしくは全部の限定を外した部材の名称での記載は、本発明に含まれるものである。
本発明を適用した折板パネル構造の構成を示す図である。 図1の点線で囲まれる領域Dにおける折板の拡大平面図である。 本発明を適用した折板パネル構造における、山部の断面Cの形状が台形となるように構成した例を示す図である。 谷部および山部の面にリブを形成させた例を示す図である。 山部軸方向の両端部から山部軸方向の中央部にかけて、山部の断面寸法を漸減させた例を示す図である。 (a)は、図5中I−I´断面図、(b)は、図5中J−J´断面図である。 本発明を適用した折板パネル構造における折板の枠材に対する取付け例を示す図である。 本発明を適用した折板パネル構造における折板の枠材に対する取付け例を示す図である。 本発明を適用した折板パネル構造における折板の枠材に対する取付け例を示す図である 本発明を適用した折板パネル構造における折板の枠材に対する取付け例を示す図である 山部の内側に粘弾塑性体を設置した例を示す図である。 山部における断面の形状を略長方形状とした折板パネル構造の実験例を示す図である。 山部における断面の形状を略台形状とした折板パネル構造の実験例を示す図である。 山部における断面の形状を略長方形状とした折板パネル構造の実験結果を示す図である。 山部における断面の形状を略台形状とした折板パネル構造の実験結果を示す図である。 山部における上低の辺長と下底の辺長の比率を変化させた場合の折板パネル構造の実験結果を示す図である。
符号の説明
1 折板パネル構造
2 枠材
3 折板
5 建築構造物
17 柱
18 梁
19、20 プレート
21 端部
22 中央部
25 リブ
31 山部
32 谷部
35 ドリルねじ
51 接合部
61、62 形鋼
65 粘弾塑性体
91 上フランジ
92 下フランジ
93 ウェブ

Claims (9)

  1. 山部と谷部とが所定間隔で屈曲形成された折板に枠材を接合した折板パネル構造において、
    上記折板は、上記谷部を介して上記枠材に接合され、
    上記折板パネル構造に対して面内せん断力が負荷された場合に、上記山部を山部軸方向と略直交方向に歪ませることにより、上記面内せん断力に対してエネルギー吸収させること
    を特徴とする折板パネル構造。
  2. 上記山部の断面が、略長方形状で構成されていること
    を特徴とする請求項1に記載の折板パネル構造。
  3. 上記山部の断面が、下底の辺長に対する上低の辺長の比が0.6以上、1.0未満である略台形状で構成されていること
    を特徴とする請求項1に記載の折板パネル構造。
  4. 上記山部の断面が、上記山部軸方向の両端部から、上記山部軸方向の中央部にかけて、断面寸法を漸減させたことを特徴とする請求項1〜3のうち何れか1項記載の折板パネル構造。
  5. 少なくとも上記山部軸方向の端部において、上記谷部および上記山部を形成する面のうち少なくとも1面に、リブが形成されていること
    を特徴とする請求項1〜4のうち何れか1項記載の折板パネル構造。
  6. 少なくとも上記山部軸方向の端部において、上記山部の内側には、粘弾塑性体が設置されたこと
    を特徴とする請求項1〜5のうち何れか1項記載の折板パネル構造。
  7. 請求項1〜6のうち何れか1項記載の折板パネル構造を壁パネルに用いたことを特徴とする建築構造物。
  8. 請求項1〜6のうち何れか1項記載の折板パネル構造を屋根パネルに用いたことを特徴とする建築構造物。
  9. 請求項1〜6のうち何れか1項記載の折板パネル構造を床パネルに用いたことを特徴とする建築構造物。
JP2008263555A 2008-10-10 2008-10-10 折板パネル構造および建築構造物 Active JP5176855B2 (ja)

Priority Applications (1)

Application Number Priority Date Filing Date Title
JP2008263555A JP5176855B2 (ja) 2008-10-10 2008-10-10 折板パネル構造および建築構造物

Applications Claiming Priority (1)

Application Number Priority Date Filing Date Title
JP2008263555A JP5176855B2 (ja) 2008-10-10 2008-10-10 折板パネル構造および建築構造物

Publications (2)

Publication Number Publication Date
JP2010090650A true JP2010090650A (ja) 2010-04-22
JP5176855B2 JP5176855B2 (ja) 2013-04-03

Family

ID=42253623

Family Applications (1)

Application Number Title Priority Date Filing Date
JP2008263555A Active JP5176855B2 (ja) 2008-10-10 2008-10-10 折板パネル構造および建築構造物

Country Status (1)

Country Link
JP (1) JP5176855B2 (ja)

Cited By (7)

* Cited by examiner, † Cited by third party
Publication number Priority date Publication date Assignee Title
JP2011252295A (ja) * 2010-06-01 2011-12-15 Suzuki Laboratory Of Material And Structure Co Ltd 角管補強による箱状金属壁板
WO2014118966A1 (ja) * 2013-02-01 2014-08-07 大和ハウス工業株式会社 波型鋼板使用の耐力壁
JP2015117535A (ja) * 2013-12-19 2015-06-25 大和ハウス工業株式会社 耐力壁
JP2016151110A (ja) * 2015-02-17 2016-08-22 新日鐵住金株式会社 せん断パネル
JP2016156249A (ja) * 2015-02-26 2016-09-01 日鐵住金建材株式会社 脚部接合構造
US20160281359A1 (en) * 2014-03-25 2016-09-29 Steven B. Tipping Wall sheathing with passive energy dissipation
JP2017057558A (ja) * 2015-09-14 2017-03-23 新日鐵住金株式会社 せん断パネル

Citations (5)

* Cited by examiner, † Cited by third party
Publication number Priority date Publication date Assignee Title
JPH11247351A (ja) * 1998-03-03 1999-09-14 Nippon Light Metal Co Ltd 構造物のアルミ製骨材及びパネル
JP2002097748A (ja) * 2000-09-21 2002-04-05 Kawatetsu Galvanizing Co Ltd 建築用折板およびその製造方法
JP2006336378A (ja) * 2005-06-03 2006-12-14 Takenaka Komuten Co Ltd 耐震壁
JP2007303269A (ja) * 2006-04-11 2007-11-22 Nippon Steel Corp 壁パネル
JP2008007960A (ja) * 2006-06-27 2008-01-17 Nippon Steel Corp 建築構造用折板材

Patent Citations (5)

* Cited by examiner, † Cited by third party
Publication number Priority date Publication date Assignee Title
JPH11247351A (ja) * 1998-03-03 1999-09-14 Nippon Light Metal Co Ltd 構造物のアルミ製骨材及びパネル
JP2002097748A (ja) * 2000-09-21 2002-04-05 Kawatetsu Galvanizing Co Ltd 建築用折板およびその製造方法
JP2006336378A (ja) * 2005-06-03 2006-12-14 Takenaka Komuten Co Ltd 耐震壁
JP2007303269A (ja) * 2006-04-11 2007-11-22 Nippon Steel Corp 壁パネル
JP2008007960A (ja) * 2006-06-27 2008-01-17 Nippon Steel Corp 建築構造用折板材

Cited By (9)

* Cited by examiner, † Cited by third party
Publication number Priority date Publication date Assignee Title
JP2011252295A (ja) * 2010-06-01 2011-12-15 Suzuki Laboratory Of Material And Structure Co Ltd 角管補強による箱状金属壁板
WO2014118966A1 (ja) * 2013-02-01 2014-08-07 大和ハウス工業株式会社 波型鋼板使用の耐力壁
JP2015117535A (ja) * 2013-12-19 2015-06-25 大和ハウス工業株式会社 耐力壁
US20160281359A1 (en) * 2014-03-25 2016-09-29 Steven B. Tipping Wall sheathing with passive energy dissipation
US9828770B2 (en) * 2014-03-25 2017-11-28 Steven B. Tipping Wall sheathing with passive energy dissipation
US10392799B2 (en) 2014-03-25 2019-08-27 Zeniada Lu Loyola Tipping Wall sheathing with passive energy dissipation
JP2016151110A (ja) * 2015-02-17 2016-08-22 新日鐵住金株式会社 せん断パネル
JP2016156249A (ja) * 2015-02-26 2016-09-01 日鐵住金建材株式会社 脚部接合構造
JP2017057558A (ja) * 2015-09-14 2017-03-23 新日鐵住金株式会社 せん断パネル

Also Published As

Publication number Publication date
JP5176855B2 (ja) 2013-04-03

Similar Documents

Publication Publication Date Title
JP5176855B2 (ja) 折板パネル構造および建築構造物
CN101925713B (zh) 接合金属器件及具备该接合金属器件的建筑物
JP5726590B2 (ja) 鉄筋コンクリート製の梁又は柱の接合構造
JP5336145B2 (ja) 制震構造、及び制震構造を有する建物
US20120017523A1 (en) Metal joint, damping structure, and architectural construction
KR101051058B1 (ko) 건축물용 댐핑 시스템
JP2009047193A (ja) ダンパー装置および構造物
JP4879723B2 (ja) 座屈拘束ブレース
JP4395419B2 (ja) 制震間柱
JP4842755B2 (ja) 超高強度鋼で製作された波形鋼板を用いた耐震壁
JP4758146B2 (ja) 連層耐震壁
JP5422891B2 (ja) 折板パネル構造
JP4411444B2 (ja) 構造物へのせん断パネル型ダンパー取付け構造
US11162253B2 (en) Laminate cell construction system
JP5095492B2 (ja) 波形鋼板耐震壁
JP6635607B2 (ja) エネルギー吸収機構及び木造建物
KR102074039B1 (ko) 파형 웨브가 구성된 강재댐퍼와 강재댐퍼를 포함한 프레임형 제진장치 및 이를 이용한 구조물 내진보강방법
JP6505377B2 (ja) 斜材・変形吸収デバイス付き耐力壁
JP5176905B2 (ja) 折板パネル構造および建築構造物
JP7230630B2 (ja) 溶接継手
JP2008196163A (ja) 制震間柱
JP5423193B2 (ja) 折板パネル構造
JP2007191988A (ja) 対震ブレース
TWI408272B (zh) 低摩擦阻力消能結構桿件、其應用之消能減震方法、其應用之消能減震結構
JP2011149153A (ja) 制振構造物

Legal Events

Date Code Title Description
A621 Written request for application examination

Free format text: JAPANESE INTERMEDIATE CODE: A621

Effective date: 20110215

A977 Report on retrieval

Free format text: JAPANESE INTERMEDIATE CODE: A971007

Effective date: 20120803

A131 Notification of reasons for refusal

Free format text: JAPANESE INTERMEDIATE CODE: A131

Effective date: 20120814

RD04 Notification of resignation of power of attorney

Free format text: JAPANESE INTERMEDIATE CODE: A7424

Effective date: 20120828

A521 Written amendment

Free format text: JAPANESE INTERMEDIATE CODE: A523

Effective date: 20121015

TRDD Decision of grant or rejection written
A01 Written decision to grant a patent or to grant a registration (utility model)

Free format text: JAPANESE INTERMEDIATE CODE: A01

Effective date: 20121211

A61 First payment of annual fees (during grant procedure)

Free format text: JAPANESE INTERMEDIATE CODE: A61

Effective date: 20121224

R151 Written notification of patent or utility model registration

Ref document number: 5176855

Country of ref document: JP

Free format text: JAPANESE INTERMEDIATE CODE: R151

FPAY Renewal fee payment (event date is renewal date of database)

Free format text: PAYMENT UNTIL: 20160118

Year of fee payment: 3

S533 Written request for registration of change of name

Free format text: JAPANESE INTERMEDIATE CODE: R313533

R350 Written notification of registration of transfer

Free format text: JAPANESE INTERMEDIATE CODE: R350