JP2010090579A - 電気機器収納用箱 - Google Patents

電気機器収納用箱 Download PDF

Info

Publication number
JP2010090579A
JP2010090579A JP2008260346A JP2008260346A JP2010090579A JP 2010090579 A JP2010090579 A JP 2010090579A JP 2008260346 A JP2008260346 A JP 2008260346A JP 2008260346 A JP2008260346 A JP 2008260346A JP 2010090579 A JP2010090579 A JP 2010090579A
Authority
JP
Japan
Prior art keywords
latch device
door
cylinder lock
lock
locked
Prior art date
Legal status (The legal status is an assumption and is not a legal conclusion. Google has not performed a legal analysis and makes no representation as to the accuracy of the status listed.)
Granted
Application number
JP2008260346A
Other languages
English (en)
Other versions
JP5268547B2 (ja
Inventor
Tadayoshi Nakamura
忠芳 中村
Hidetake Yamazawa
英丈 山澤
Current Assignee (The listed assignees may be inaccurate. Google has not performed a legal analysis and makes no representation or warranty as to the accuracy of the list.)
Nitto Kogyo Corp
Original Assignee
Nitto Kogyo Corp
Priority date (The priority date is an assumption and is not a legal conclusion. Google has not performed a legal analysis and makes no representation as to the accuracy of the date listed.)
Filing date
Publication date
Application filed by Nitto Kogyo Corp filed Critical Nitto Kogyo Corp
Priority to JP2008260346A priority Critical patent/JP5268547B2/ja
Publication of JP2010090579A publication Critical patent/JP2010090579A/ja
Application granted granted Critical
Publication of JP5268547B2 publication Critical patent/JP5268547B2/ja
Active legal-status Critical Current
Anticipated expiration legal-status Critical

Links

Images

Landscapes

  • Lock And Its Accessories (AREA)
  • Casings For Electric Apparatus (AREA)

Abstract

【課題】ラッチ装置をコンパクト化することができ、しかもラッチ装置の製作コストが安価な電気機器収納用箱を提供する。
【解決手段】扉11を閉じると係止片が箱本体1側の係合金具に係止して鎖錠され、扉11を開く際にはレバー操作により鎖錠を解除するラッチ装置13を備えた電気機器収納用箱である。ラッチ装置13が扉11の側板部12に取付けられたものであり、かつラッチ装置13をロックするシリンダ錠18を、ラッチ装置13の長手方向の隣接位置に、扉正面向きに備えている。シリンダ錠18を回転させるとロックプレートが突出し、ラッチ装置13のレバーの側部に係合してレバーを鎖錠位置でロックする。
【選択図】図3

Description

本発明は、ラッチ装置により鎖錠される構造の電気機器収納用箱に関するものである。
配電盤、分電盤、通信機器用ラック等の電気機器収納用箱は、箱本体の前面に扉を設けたものが普通であり、その鎖錠装置としてラッチ装置が広く用いられている。ラッチ装置は、扉を開く際にはレバー操作を必要とするが、扉を閉じるときにはレバー操作は不要であり、単に扉を箱本体に押し付けるだけで、常に係合方向に付勢されている係止片が動作して鎖錠が行われるものである。
また例えば特許文献1に示されるように、ラッチ装置にはシリンダ錠を組み合わせ、鍵によってシリンダを回転させることによってレバーをロックし、鍵を持たない者が扉を開くことができないようにするのが普通である。
シリンダ錠の取付け構造は次の2種類に大別される。ひとつは、図1に示すようにシリンダ錠1に止め金2を突設し、シリンダ錠1の回転に応じて止め金2を相手部材3の係合溝4等に係合させ、その動きをロックする構造である。
この構造はシリンダ錠1とともに止め金2を回転させる必要があるので、シリンダ錠1の外周に余分のスペースを形成しなければならない。またシリンダ錠1を収納する本体5に外周壁6を形成しなければならない。このために全体が大型化するという問題があった。
また、本体5のシリンダ錠1の組み込み穴部にシリンダ錠1の抜け止め片(ストッパプレート)が入り込む鍔部を形成するため切削作業が必要となったり、組み込み穴部を貫通孔とすれば金型形成上、鍔部の形成は無理なくできるが、最終的に本体5の裏面開口を塞がねばならず、部品点数が増えた、取付け作業が煩雑化するという問題があった。
シリンダ錠の取付け構造の他のひとつは、図2に示すようにシリンダ錠1の下端部にスライド可能なロックプレート7を設け、シリンダ錠1を回転させることによってロックプレート7を突出させて相手部材と係合させ、その動きをロックする構造である。
この構造はシリンダ錠1の下端部にはスペースが必要であるが、シリンダ錠1の外周部には余分なスペースを必要としないので、全体としてコンパクトな構造とすることができる。しかし本体5を鋳造する際に、ロックプレート7のスライド溝の部分は左右両側から金型を引抜く構造としなければならず、複雑な構造の金型が必要となって製作コストが高くなるという問題があった。
特開2005−2698号公報
従って本発明の目的は上記した従来の問題点を解決し、ラッチ装置をコンパクト化することができ、しかもラッチ装置の製作コストが安価な電気機器収納用箱を提供することである。
上記の課題を解決するためになされた本発明は、扉を閉じると係止片が箱本体側の係合金具に係止して鎖錠され、扉を開く際にはレバー操作により鎖錠を解除するラッチ装置を備えた電気機器収納用箱において、該ラッチ装置は扉の側板部に取付けられたものであり、かつラッチ装置をロックするシリンダ錠を、ラッチ装置の長手方向の隣接位置に、扉正面向きに備えたものであることを特徴とするものである。
なお請求項2に記載のように、ラッチ装置の本体の扉取付面側に、シリンダ錠のロックプレートがスライド可能な穴部を設けた構造とすることが好ましく、さらに請求項3に記載のように、ラッチ装置の本体の扉取付面側に、シリンダ錠の抜け止め用及び回転規制用の穴部を設けることが好ましい。
また請求項4に記載のように、シリンダ錠のロックプレートを、ラッチ装置のレバーの側部に係合させてロックする構造とすることが好ましい。また請求項5に記載のように、ラッチ装置の本体の扉取付面側に、シリンダ錠のロックプレートがスライド可能な穴部を覆う穴塞ぎ部材を設けることが好ましい。
本発明によれば、ラッチ装置の小型化を図ることができ、製作用の金型構造も簡素化することができる。またラッチ装置が扉の側板部に取付けられているにもかかわらず、シリンダ錠を扉正面向きに配置したので、扉のロック操作やアンロック操作を行い易い利点がある。
以下に図面を参照しつつ、本発明の好ましい実施形態を説明する。
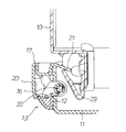
図3は実施形態の電気機器収納用箱の外観斜視図、図4はラッチ装置の斜視図、図5はその分解斜視図、図6と図7は断面図である。
図3に示すように、本発明の電気機器収納用箱は箱本体10と、その前面に蝶番によって支持された扉11とからなり、扉11の側板部12にラッチ装置13が取り付けられている。
図4、図5に示すように、このラッチ装置13は鋳造された縦長の本体14と、本体14の腕部15にピン16によって枢着されたレバー17と、シリンダ錠18とを備えている。本体14はその長手方向の端部にシリンダ錠収納穴19を備え、その内部にシリンダ錠18が扉11の正面向きに収納されている。このシリンダ錠収納穴19付近の部分の構造については後述する。
レバー17は表面側の操作部20と、裏面側の係止片21とを一体に備えたものであり、ピン16の周囲に配置されたバネ22によって常に係止方向に弾発され、図6に示すように箱本体10に突設された係合金具23と係合するようになっている。係止金具23は傾斜面を備えているので、扉11を閉じると係止片21が傾斜面によってガイドされて箱本体10側の係合金具23に係止して図6の鎖錠状態となる。扉11を開く際には図7のようにレバー17を手前側に操作して係止片21を回転させ、鎖錠を解除する。このようなラッチ装置13の動作は一般のラッチ装置と同様である。
次に、図8と図9を参照しつつ、シリンダ錠18とシリンダ錠収納穴19について説明する。
図8に示すように、シリンダ錠18は円柱状のロータ24と、その側面に形成されたスリットを出入りするタンブラー25及びストッパプレート26を主要部品としている。タンブラー25は鍵を挿入するとロータ24の内部に収納されるが、ストッパプレート26は抜け止め用の部材であるから、鍵を挿入しても突出したままである。
本発明ではシリンダ錠18のロータ24が本体14のシリンダ錠収納穴19内に収納される。図9に示すようにシリンダ錠収納穴19の周壁には突出したタンブラー25の先端を収納するスロット27が180°回転位置に形成されている。これは施錠位置および開錠位置に対応する。
ロータ24の底面には偏心位置に突起28が設けられている。またロータ24の底面側には、ロックプレート30が設けられている。ロックプレート30はシリンダ錠収納穴19の下部に形成された穴部31内に収納されている。突起28はロックプレート30の長円形の孔31に嵌合されており、シリンダ錠18に鍵を挿入してロータ24を回転させることによって、ロックプレート30は直線部32,33に沿って直線的にスライドする。
ここでロックプレート30の直線部32は穴部31の側壁34に接触し、ロックプレート30の直線部33は扉11の側板部12に接触して直線方向のガイドがなされる。そしてロックプレート30がシリンダ錠18から離れる方向にスライドすると、図10に示すようにロックプレート30の先端部がラッチ装置13のレバー17の側部の切欠き35に係合し、レバー17を動かないようにロックする。この構造によって、扉11を閉じた状態で確実にロックすることができる。
なお、シリンダ錠18のストッパプレート26はロータ24から常時突出している。このため、図11に示すようにシリンダ錠収納穴19の下部に形成された別の穴部36にストッパプレート26を挿入しておけば、シリンダ錠18の抜け止めとなる。またこの穴部36を図9のAーA断面図の形状としておけば、ロータ24の回転に伴ってストッパプレート26が内壁37に当たることによって、ロータ24の回転角度の規制が可能となる。
本発明ではこれらの穴部31、36が本体14の側面38に開口している。このため、本体14の鋳造時に穴部成形用の金型を片側から引抜く構造とすればよく、複雑な構造の金型を必要とせず、製作コストを引き下げることができる利点がある。
なお、上記したようにロックプレート30を扉11の側板部12に接触させてスライドさせると、扉11の側板部12に疵が付いたり錆の発生につながることが懸念される。しかし図12に示すように本体14の側面または扉11の側板部12にロックプレート39がスライドする部分を覆う穴塞ぎ部材40を設けておくことにより、この懸念を解消することができる。
穴塞ぎ部材40としては粘着テープを用いることができる。粘着テープは表面に対して垂直方向には強い接着力を発揮するが、表面と平行な方向の剪断力には弱いという特性があるため、粘着面がロックプレート30に面していてもロックプレート30の作動に支障が生ずることはない。
以上に説明したように、本発明によればラッチ装置13の長手方向の側方にシリンダ錠18を配置したので、小型化を図ることができ、またその金型構造も簡素化することができる。またラッチ装置13が扉11の側板部に取付けられているにもかかわらず、シリンダ錠18を扉正面向きに配置したので、扉11のロック操作やアンロック操作を行い易い利点がある。
従来例を示す斜視図である。 他の従来例を示す斜視図である。 実施形態の電気機器収納用箱を示す外観斜視図である。 実施形態のラッチ装置の斜視図である。 実施形態のラッチ装置の分解斜視図である。 実施形態のラッチ装置の鎖錠状態を示す断面図である。 実施形態のラッチ装置の開錠状態を示す断面図である。 要部を説明するシリンダ錠の斜視図、本体の正面図、側面図及び断面図である。 要部の分解斜視図である。 実施形態のラッチ装置のロック状態を示す斜視図である。 シリンダ錠の抜け止めの様子を示すラッチ装置の背面図である。 穴塞ぎ部材を貼り付けた状態を示すラッチ装置の背面斜視図である。
符号の説明
1 シリンダ錠
2 止め金
3 相手部材
4 係合溝
5 本体
6 外周壁
7 ロックプレート
10 箱本体
11 扉
12 側板部
13 ラッチ装置
14 本体
15 腕部
16 ピン
17 レバー
18 シリンダ錠
19 シリンダ錠収納穴
20 操作部
21 係止片
22 バネ
23 係合金具
24 ロータ
25 タンブラー
26 ストッパプレート
27 スロット
28 突起
30 ロックプレート
31 穴部
32 直線部
33 直線部
34 側壁
35 切欠き
36 穴部
37 内壁
38 本体の側面
40 穴塞ぎ部材

Claims (5)

  1. 扉を閉じると係止片が箱本体側の係合金具に係止して鎖錠され、扉を開く際にはレバー操作により鎖錠を解除するラッチ装置を備えた電気機器収納用箱において、該ラッチ装置は扉の側板部に取付けられたものであり、かつラッチ装置をロックするシリンダ錠を、ラッチ装置の長手方向の隣接位置に、扉正面向きに備えたものであることを特徴とする電気機器収納用箱。
  2. ラッチ装置の本体の扉取付面側に、シリンダ錠のロックプレートがスライド可能な穴部を設けたことを特徴とする請求項1記載の電気機器収納用箱。
  3. ラッチ装置の本体の扉取付面側に、シリンダ錠の抜け止め用及び回転規制用の穴部を設けたことを特徴とする請求項2記載の電気機器収納用箱。
  4. シリンダ錠のロックプレートを、ラッチ装置のレバーの側部に係合させてロックする構造としたことを特徴とする請求項2記載の電気機器収納用箱。
  5. ラッチ装置の本体の扉取付面側に、シリンダ錠のロックプレートがスライド可能な穴部を覆う穴塞ぎ部材を設けたことを特徴とする請求項2記載の電気機器収納用箱。
JP2008260346A 2008-10-07 2008-10-07 電気機器収納用箱 Active JP5268547B2 (ja)

Priority Applications (1)

Application Number Priority Date Filing Date Title
JP2008260346A JP5268547B2 (ja) 2008-10-07 2008-10-07 電気機器収納用箱

Applications Claiming Priority (1)

Application Number Priority Date Filing Date Title
JP2008260346A JP5268547B2 (ja) 2008-10-07 2008-10-07 電気機器収納用箱

Publications (2)

Publication Number Publication Date
JP2010090579A true JP2010090579A (ja) 2010-04-22
JP5268547B2 JP5268547B2 (ja) 2013-08-21

Family

ID=42253555

Family Applications (1)

Application Number Title Priority Date Filing Date
JP2008260346A Active JP5268547B2 (ja) 2008-10-07 2008-10-07 電気機器収納用箱

Country Status (1)

Country Link
JP (1) JP5268547B2 (ja)

Cited By (1)

* Cited by examiner, † Cited by third party
Publication number Priority date Publication date Assignee Title
JP2013115082A (ja) * 2011-11-25 2013-06-10 Nitto Kogyo Co Ltd 電気機器収納用筐体の支持体

Citations (2)

* Cited by examiner, † Cited by third party
Publication number Priority date Publication date Assignee Title
JPH0624171U (ja) * 1992-08-31 1994-03-29 加藤発条株式会社 リッドのロック装置
JP2008121208A (ja) * 2006-11-09 2008-05-29 Nitto Electric Works Ltd 電気電子機器収納用キャビネットの扉係止装置

Patent Citations (2)

* Cited by examiner, † Cited by third party
Publication number Priority date Publication date Assignee Title
JPH0624171U (ja) * 1992-08-31 1994-03-29 加藤発条株式会社 リッドのロック装置
JP2008121208A (ja) * 2006-11-09 2008-05-29 Nitto Electric Works Ltd 電気電子機器収納用キャビネットの扉係止装置

Cited By (1)

* Cited by examiner, † Cited by third party
Publication number Priority date Publication date Assignee Title
JP2013115082A (ja) * 2011-11-25 2013-06-10 Nitto Kogyo Co Ltd 電気機器収納用筐体の支持体

Also Published As

Publication number Publication date
JP5268547B2 (ja) 2013-08-21

Similar Documents

Publication Publication Date Title
US7832240B2 (en) Lid lock device
CN103703200A (zh) 开闭部件的锁止装置
TWI391273B (zh) 圓筒鎖保護裝置(一)
JP5164592B2 (ja) 開閉ロック装置
JP5268547B2 (ja) 電気機器収納用箱
JP4173400B2 (ja) 開閉部材のロック装置
JP4418020B1 (ja) ロック装置
JP7055405B2 (ja) 隠蔽扉錠及び隠蔽扉
JP7057136B2 (ja) 宅配ボックス用ラッチ錠
JP2001311330A (ja) 磁石利用のロック装置
JP3763898B2 (ja) ロック装置
JP2013231332A (ja) 把手装置
JP4127712B2 (ja) 扉用ロックハンドル装置
JP4228921B2 (ja) ラッチ錠
JP2004211369A (ja) クレセント
JP6148047B2 (ja) 車両用ロックユニット
CN115341814B (zh) 磁性扣合装置
CN101040092B (zh) 加锁装置
JP4958266B2 (ja) 電気電子機器収納用キャビネットの扉係止装置
JP4698369B2 (ja) ラッチ錠
KR100623160B1 (ko) 디지털 도어록
JP4865486B2 (ja) 自動車のドアハンドル装置
WO2012020639A1 (ja) 施錠具
JP5965710B2 (ja) 車両のドアハンドル装置
JP6418389B2 (ja) ラッチ受

Legal Events

Date Code Title Description
A621 Written request for application examination

Free format text: JAPANESE INTERMEDIATE CODE: A621

Effective date: 20110824

A977 Report on retrieval

Free format text: JAPANESE INTERMEDIATE CODE: A971007

Effective date: 20121031

A131 Notification of reasons for refusal

Free format text: JAPANESE INTERMEDIATE CODE: A131

Effective date: 20121106

A521 Written amendment

Free format text: JAPANESE INTERMEDIATE CODE: A523

Effective date: 20121218

TRDD Decision of grant or rejection written
A01 Written decision to grant a patent or to grant a registration (utility model)

Free format text: JAPANESE INTERMEDIATE CODE: A01

Effective date: 20130507

A61 First payment of annual fees (during grant procedure)

Free format text: JAPANESE INTERMEDIATE CODE: A61

Effective date: 20130507

R150 Certificate of patent or registration of utility model

Ref document number: 5268547

Country of ref document: JP

Free format text: JAPANESE INTERMEDIATE CODE: R150

Free format text: JAPANESE INTERMEDIATE CODE: R150