JP2010089608A - エアバッグ用ガスガイドおよびエアバッグシステム - Google Patents
エアバッグ用ガスガイドおよびエアバッグシステム Download PDFInfo
- Publication number
- JP2010089608A JP2010089608A JP2008260804A JP2008260804A JP2010089608A JP 2010089608 A JP2010089608 A JP 2010089608A JP 2008260804 A JP2008260804 A JP 2008260804A JP 2008260804 A JP2008260804 A JP 2008260804A JP 2010089608 A JP2010089608 A JP 2010089608A
- Authority
- JP
- Japan
- Prior art keywords
- gas
- airbag
- gas guide
- guide
- generator
- Prior art date
- Legal status (The legal status is an assumption and is not a legal conclusion. Google has not performed a legal analysis and makes no representation as to the accuracy of the status listed.)
- Granted
Links
- 239000000463 material Substances 0.000 claims description 12
- 239000011347 resin Substances 0.000 claims description 12
- 229920005989 resin Polymers 0.000 claims description 12
- 229910052751 metal Inorganic materials 0.000 claims description 11
- 239000002184 metal Substances 0.000 claims description 11
- 230000002093 peripheral effect Effects 0.000 claims description 9
- 230000005484 gravity Effects 0.000 claims description 7
- 230000002708 enhancing effect Effects 0.000 claims description 2
- 238000012360 testing method Methods 0.000 description 11
- XEEYBQQBJWHFJM-UHFFFAOYSA-N Iron Chemical compound [Fe] XEEYBQQBJWHFJM-UHFFFAOYSA-N 0.000 description 8
- 230000000052 comparative effect Effects 0.000 description 7
- 230000001965 increasing effect Effects 0.000 description 7
- 239000004744 fabric Substances 0.000 description 5
- 238000009958 sewing Methods 0.000 description 5
- 229920002302 Nylon 6,6 Polymers 0.000 description 4
- 229910052742 iron Inorganic materials 0.000 description 3
- 239000000126 substance Substances 0.000 description 3
- 238000009941 weaving Methods 0.000 description 3
- 238000010586 diagram Methods 0.000 description 2
- 239000000835 fiber Substances 0.000 description 2
- 239000003365 glass fiber Substances 0.000 description 2
- 238000003780 insertion Methods 0.000 description 2
- 230000037431 insertion Effects 0.000 description 2
- 229910000838 Al alloy Inorganic materials 0.000 description 1
- 229920000049 Carbon (fiber) Polymers 0.000 description 1
- 239000004593 Epoxy Substances 0.000 description 1
- 229910000640 Fe alloy Inorganic materials 0.000 description 1
- 229920006065 Leona® Polymers 0.000 description 1
- 239000004696 Poly ether ether ketone Substances 0.000 description 1
- 239000004917 carbon fiber Substances 0.000 description 1
- 229920002678 cellulose Polymers 0.000 description 1
- 239000001913 cellulose Substances 0.000 description 1
- 239000003795 chemical substances by application Substances 0.000 description 1
- 239000011248 coating agent Substances 0.000 description 1
- 239000002131 composite material Substances 0.000 description 1
- 239000000805 composite resin Substances 0.000 description 1
- 238000012790 confirmation Methods 0.000 description 1
- 238000011981 development test Methods 0.000 description 1
- 239000006185 dispersion Substances 0.000 description 1
- 230000000694 effects Effects 0.000 description 1
- 238000001125 extrusion Methods 0.000 description 1
- 239000000446 fuel Substances 0.000 description 1
- 238000001746 injection moulding Methods 0.000 description 1
- 230000010354 integration Effects 0.000 description 1
- VNWKTOKETHGBQD-UHFFFAOYSA-N methane Chemical compound C VNWKTOKETHGBQD-UHFFFAOYSA-N 0.000 description 1
- 238000000034 method Methods 0.000 description 1
- 238000000465 moulding Methods 0.000 description 1
- 239000002121 nanofiber Substances 0.000 description 1
- 229920002647 polyamide Polymers 0.000 description 1
- 229920002530 polyetherether ketone Polymers 0.000 description 1
- 230000001681 protective effect Effects 0.000 description 1
- 230000003014 reinforcing effect Effects 0.000 description 1
- 239000013585 weight reducing agent Substances 0.000 description 1
- 239000002759 woven fabric Substances 0.000 description 1
Images
Landscapes
- Air Bags (AREA)
Abstract
【解決手段】 エアバッグとガス発生装置の間を連結してガス発生装置で発生するガスをエアバッグに案内するガイドであって、所望の長さを持つガス案内路を備えるとともに、その一端には軸方向に向けて開いているエアバッグへのガス供給孔、他端にはガス発生装置への接合部を備え、前記ガス案内路の長さと前記ガス供給孔の孔面積の大きさとで前記エアバッグに供給するガスの流量を制御することにより、エアバッグ内部におけるガスの均一分散性を高めることを特徴とする。
【選択図】 図2
Description
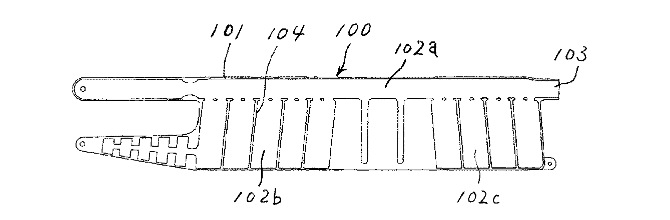
袋体101の内部には、インフレータと称されるガス発生装置(図6では図示省略)で発生させたガスがガス受入れ口103を通じて吹き込まれる。
エアバッグシステムにおいては、衝突時の乗員の頭部を保護することの必要から、袋体101内に吹き込まれたガスが短時間に内部空間102a,102b,102cの全体に充満して膨張部を一気に膨張させることが求められる。そのため、ガス発生装置で発生させた高圧のガスをエアバッグ100の袋体101内に一気に吹き込ませて、袋体101を膨張させるようにしているが、ガス発生装置から吹き込まれたガスが、まず、袋体101の図6で見て右側の内部空間102c内を充満させたあと、引き続き、左側の内部空間102cを充満し始めるため、袋体全体の膨張が一気に起きないばかりでなく、局所的な内圧上昇を招き、袋体101の右側部分で破損が起きやすいと言う問題があった。袋体101の外周や内部には、縫製加工または製織加工による接合部が形成されているが、上記袋体の破損は、ガス発生装置近くの、すなわち、袋体101の右側部分の外周接合部や内側接合部で特に起き易かった。
このため、エアバッグの基布に使用する繊維の繊度は、基布の破断強度を高くする都合上、470デシテックス以上が一般的となっている。
(1)エアバッグとガス発生装置の間を連結してガス発生装置で発生するガスをエアバッグに案内するガイドであって、所望の長さを持つガス案内路を備えるとともに、その一端には軸方向に向けて開いているエアバッグへのガス供給孔、他端にはガス発生装置への接合部を備え、前記ガス通案内路の長さと前記ガス供給孔の孔面積の大きさとで前記エアバッグに供給するガスの流量を制御することにより、エアバッグ内部におけるガスの均一分散性を高めることを特徴とする、エアバッグ用ガスガイド。
(2)前記ガス供給孔の孔面積が12mm2以上、114mm2以下である、エアバッグ用ガスガイド。
(3)前記ガス案内路の長さが30mm以上である、エアバッグ用ガスガイド。
(4)前記ガス案内路の内周面に長さ方向の螺旋状もしくは直線状のリブが形成されている、エアバッグ用ガスガイド。
(5)金属よりも比重の小さい材料を用いて形成されている、エアバッグ用ガスガイド。
(6)金属よりも比重の小さい材料が、樹脂である、エアバッグ用ガスガイド。
(7)エアバッグとガス発生装置を備えるエアバッグシステムにおいて、エアバッグとガス発生装置の間を上記(1)から(6)までのいずれかに記載のガスガイドで連結することを特徴とする、エアバッグシステム。
(8)前記エアバッグが470デシテックス未満の糸を使用して製織されたエアバッグである、エアバッグシステム。
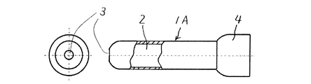
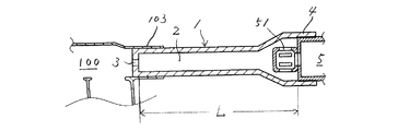
図1は、本発明にかかるガスガイドの第1の実施例を示し、この図はガスガイド1をガス発生装置5に取り付けている状態を示している。図2は、上記第1の実施例にかかるガスガイド1でガス発生装置5とエアバッグ100を連結した状態を示している。
ガス案内路2の内周面は円形状その他任意の断面形状を採ることができる。そして、その断面形状の大きさはガス案内路2の全長に亘って均一であることもできるが、テーパ状のように変化していっても良い。さらに、ガス案内路2の内周面が軸方向に向かって緩やかに湾曲する凹凸面などの変化を持っていても良い。図2では、ガス供給孔3は、図に示すように、ガス案内路2にはその内周面に広い断面積を持たせておいてその一端でこの断面積を絞るようにし、その絞り部の中央部を開口して形成しているが、ガス供給孔3の形成方法はこの形態に限らない。
本発明のガスガイドにおいては、ガス通案内路2の長さLとガス供給孔3の孔面積の大きさSとでエアバッグ100に供給するガスの流量を制御することにより、エアバッグ100の内部におけるガスの均一分散性を高めている。
このため、このガスガイド1を用いたエアバッグシステムにおいては、470デシテックス未満の糸を使用して製織されたエアバッグであっても、これを破裂させることなく、その展開(膨張)を可能とするものである。
ガスガイド1に備えられるガス案内路2は、1本でも良いが、複数本からなるものであっても良い。
図2において、番号51で示す部分はガス発生装置5のガス発生口である。
本発明によれば、ガス発生装置5で発生したガスは、ガスガイド1の内部に流入し、ガスガイド1の軸方向に整流され、ガス供給孔3からエアバッグ100の内部へ導かれる。この際、ガスガイド1におけるガス案内路2の長さLとガス供給孔3の大きさ(孔面積)でエアバッグ100内に流入するガスの質量流量を変化させることができる。
Autoliv社製コールドガスタイプインフレータ(23.8lタンク圧試験において最大圧力220kPa)にガスガイドのガス受入れ側端を取り付けて、当該ガスガイドのガス供給側端をエアバッグのインフレータ挿入口に取り付けた後、室温でエアバッグの展開試験(膨張試験)を行い、エアバッグの損傷の有無を観察した。
ガラス繊維強化ナイロン66(旭化成ケミカルズ社製、レオナ、90G60)の棒材を切削加工し、図3のようなガスガイド1Aを作製した。ガスガイド1Aは、右側端部は拡径してガス発生装置の接合部4となり、左側端部は縮径してガス供給孔3を持つようになっている。すなわち、ガスガイド1Aは、その全長にわたり肉厚は3.0mmで、ガス発生装置側の最大内径は26.5mm、ガス案内路2の断面は円形、ガス案内路2における両端を除く部分の内径は18mmである。ガスガイド1A全体の長さは144mm、ガス供給孔の壁厚とガス発生装置接合部の長さが合計20mmであるので、ガス案内路2の長さLは124mmであり、ガス供給孔は、内径9mmの円孔であるので、その孔面積は64mm2である。
実施例1と同一の方法で図4に示す形状のガスガイド1Bを作製した。ガスガイド1Bは、ガイドの全長を図3のものの2倍とし、ガス供給孔の孔面積を約半分に小さくしたほかは図3のものと構造は同じである。図4では、図示面積を小さくしたため、ガス発生装置の接合部4の外径が小さくなって見えている。したがって、ガスガイド1Bは、その全長にわたり肉厚は3.0mmで、ガス発生装置側の最大内径は26.5mm、ガス案内路2の断面は円形、ガス案内路2における両端を除く部分の内径は18mmである。ガスガイド1B全体の長さは288mm、ガス案内路2の長さLは268mmであり、ガス供給孔は、内径6.3mmの円孔であるので、その孔面積は31mm2である。
肉厚1.2mm、内径26.5mm、長さ350mmの鉄のパイプを用いて図5に示すガスガイド1Cとした。ガスガイド1Cは、パイプからなるので、その全長にわたり均一な断面を有する。ガスガイド1Cにおけるガス発生口接合部4を除いた部分の全体の長さ(ガス案内路2の長さ)Lは333mmである。パイプの内径が26.5mmであるので、ガス供給孔3の内径は552mm2となる。
前記ガスガイドは、前記エアバッグに取り付けて前記展開試験を実施した。試験結果を表1に示す。
[比較例2]
比較例1において、鉄パイプを内径13mmの細いものにしガス供給孔の孔面積を133mm2と狭くしたほかは比較例1と同様にした。試験結果を表1に示す。
[比較例3]
実施例1において、ガスガイド1Aの全長を短くしガス案内路の長さLを20mmに縮めたほかは実施例1と同様にした。試験結果を表1に示す。
なお、実施例1のように、ガスの分散性を高めた内部断面形状のエアバッグを用いると、ガスガイドのガス供給孔を大きくすることができ、エアバッグの展開(膨張)速度が速くなり、また、ガスガイドの長さを短くすることもできるため、エアバッグシステム全体を軽量化できるというより好ましい効果も得られる。
2 ガス案内路
3 ガス供給孔
4 ガスガイドにおけるガス発生装置との接合部
5 ガス発生装置
100 エアバッグ
101 エアバッグの袋体
102a 袋体の中央部分の内部空間
102b 袋体の図6で見て左側部分の内部空間
102c 袋体の図6で見て右側部分の内部空間
103 エアバッグのガス受入れ口
Claims (8)
- エアバッグとガス発生装置の間を連結してガス発生装置で発生するガスをエアバッグに案内するガイドであって、所望の長さを持つガス案内路を備えるとともに、その一端には軸方向に向けて開いているエアバッグへのガス供給孔、他端にはガス発生装置への接合部を備え、前記ガス案内路の長さと前記ガス供給孔の孔面積の大きさとで前記エアバッグに供給するガスの流量を制御することにより、エアバッグ内部におけるガスの均一分散性を高めることを特徴とする、エアバッグ用ガスガイド。
- 前記ガス供給孔の孔面積が12mm2以上、114mm2以下である、請求項1に記載のエアバッグ用ガスガイド。
- 前記ガス案内路の長さが30mm以上である、請求項1または2に記載のエアバッグ用ガスガイド。
- 前記ガス案内路の内周面に長さ方向の螺旋状もしくは直線状のリブが形成されている、請求項1から3までのいずれかに記載のエアバッグ用ガスガイド。
- 金属よりも比重の小さい材料を用いて形成されている、請求項1から4までのいずれかに記載のエアバッグ用ガスガイド。
- 金属よりも比重の小さい材料が、樹脂である、請求項5に記載のエアバッグ用ガスガイド。
- エアバッグとガス発生装置を備えるエアバッグシステムにおいて、エアバッグとガス発生装置の間を請求項1から6までのいずれかに記載のガスガイドで連結することを特徴とする、エアバッグシステム。
- 前記エアバッグが470デシテックス未満の糸を使用して製織されたエアバッグである、請求項7に記載のエアバッグシステム。
Priority Applications (1)
| Application Number | Priority Date | Filing Date | Title |
|---|---|---|---|
| JP2008260804A JP5349886B2 (ja) | 2008-10-07 | 2008-10-07 | エアバッグ用ガスガイドおよびエアバッグシステム |
Applications Claiming Priority (1)
| Application Number | Priority Date | Filing Date | Title |
|---|---|---|---|
| JP2008260804A JP5349886B2 (ja) | 2008-10-07 | 2008-10-07 | エアバッグ用ガスガイドおよびエアバッグシステム |
Publications (2)
| Publication Number | Publication Date |
|---|---|
| JP2010089608A true JP2010089608A (ja) | 2010-04-22 |
| JP5349886B2 JP5349886B2 (ja) | 2013-11-20 |
Family
ID=42252759
Family Applications (1)
| Application Number | Title | Priority Date | Filing Date |
|---|---|---|---|
| JP2008260804A Expired - Fee Related JP5349886B2 (ja) | 2008-10-07 | 2008-10-07 | エアバッグ用ガスガイドおよびエアバッグシステム |
Country Status (1)
| Country | Link |
|---|---|
| JP (1) | JP5349886B2 (ja) |
Citations (11)
| Publication number | Priority date | Publication date | Assignee | Title |
|---|---|---|---|---|
| WO1999011493A1 (de) * | 1997-09-02 | 1999-03-11 | Autoliv Development Ab | Gassackanordnung mit einem teilausströmbereiche aufweisenden gasleitgehäuse |
| JP2001138855A (ja) * | 1999-11-12 | 2001-05-22 | Takata Corp | バッグ用インフレータ |
| JP2002037012A (ja) * | 2000-07-31 | 2002-02-06 | Toyoda Gosei Co Ltd | エアバッグ装置 |
| JP2002249013A (ja) * | 2001-02-23 | 2002-09-03 | Nippon Plast Co Ltd | エアバッグ装置 |
| JP2002302008A (ja) * | 2001-02-05 | 2002-10-15 | Toyota Motor Corp | 頭部保護エアバッグ装置 |
| JP2002321587A (ja) * | 2001-04-27 | 2002-11-05 | Toyota Motor Corp | 頭部保護エアバッグ装置 |
| JP2003063348A (ja) * | 2001-08-22 | 2003-03-05 | Toyota Motor Corp | エアバッグ装置のディフューザ構造 |
| JP2003160017A (ja) * | 2001-11-22 | 2003-06-03 | Toyoda Gosei Co Ltd | エアバッグ装置 |
| JP2007210370A (ja) * | 2006-02-07 | 2007-08-23 | Autoliv Development Ab | カーテンエアバッグのモジュール構造 |
| JP2007269184A (ja) * | 2006-03-31 | 2007-10-18 | Seiren Co Ltd | エアバッグ用基布およびその製造方法ならびに該基布を用いてなるエアバッグ |
| JP2008080909A (ja) * | 2006-09-27 | 2008-04-10 | Sanoh Industrial Co Ltd | エアバッグ用インフレータ及びエアバッグ用インフレータのガイドパイプ |
-
2008
- 2008-10-07 JP JP2008260804A patent/JP5349886B2/ja not_active Expired - Fee Related
Patent Citations (11)
| Publication number | Priority date | Publication date | Assignee | Title |
|---|---|---|---|---|
| WO1999011493A1 (de) * | 1997-09-02 | 1999-03-11 | Autoliv Development Ab | Gassackanordnung mit einem teilausströmbereiche aufweisenden gasleitgehäuse |
| JP2001138855A (ja) * | 1999-11-12 | 2001-05-22 | Takata Corp | バッグ用インフレータ |
| JP2002037012A (ja) * | 2000-07-31 | 2002-02-06 | Toyoda Gosei Co Ltd | エアバッグ装置 |
| JP2002302008A (ja) * | 2001-02-05 | 2002-10-15 | Toyota Motor Corp | 頭部保護エアバッグ装置 |
| JP2002249013A (ja) * | 2001-02-23 | 2002-09-03 | Nippon Plast Co Ltd | エアバッグ装置 |
| JP2002321587A (ja) * | 2001-04-27 | 2002-11-05 | Toyota Motor Corp | 頭部保護エアバッグ装置 |
| JP2003063348A (ja) * | 2001-08-22 | 2003-03-05 | Toyota Motor Corp | エアバッグ装置のディフューザ構造 |
| JP2003160017A (ja) * | 2001-11-22 | 2003-06-03 | Toyoda Gosei Co Ltd | エアバッグ装置 |
| JP2007210370A (ja) * | 2006-02-07 | 2007-08-23 | Autoliv Development Ab | カーテンエアバッグのモジュール構造 |
| JP2007269184A (ja) * | 2006-03-31 | 2007-10-18 | Seiren Co Ltd | エアバッグ用基布およびその製造方法ならびに該基布を用いてなるエアバッグ |
| JP2008080909A (ja) * | 2006-09-27 | 2008-04-10 | Sanoh Industrial Co Ltd | エアバッグ用インフレータ及びエアバッグ用インフレータのガイドパイプ |
Also Published As
| Publication number | Publication date |
|---|---|
| JP5349886B2 (ja) | 2013-11-20 |
Similar Documents
| Publication | Publication Date | Title |
|---|---|---|
| US7926838B2 (en) | Side impact protection airbag system | |
| JP5003631B2 (ja) | 側突用エアバッグ装置 | |
| JP5070084B2 (ja) | 側突用エアバッグ装置 | |
| JP5273016B2 (ja) | エアバッグ装置のガス分配構造 | |
| CN102245446A (zh) | 车辆座椅和侧气囊装置 | |
| JP2010163142A (ja) | サイドエアバッグ及びサイドエアバッグ装置 | |
| JP2001106006A (ja) | ガスバッグ保護装置 | |
| JP6422911B2 (ja) | サイドエアバッグ装置 | |
| JP2006142861A (ja) | エアバッグ装置 | |
| JP2004276899A (ja) | 膨張拘束モジュール | |
| JP2009120114A (ja) | 助手席用エアバッグ装置 | |
| JP5163476B2 (ja) | サイドエアバッグ装置 | |
| JP4898826B2 (ja) | エアバッグ装置 | |
| JP5349886B2 (ja) | エアバッグ用ガスガイドおよびエアバッグシステム | |
| JP2006117109A (ja) | エアバッグ装置 | |
| US20130055942A1 (en) | Method of manufacturing cushion for front passenger seat air bag device | |
| JP6177760B2 (ja) | カーテンエアバッグ装置 | |
| JP2011131644A (ja) | エアバッグ装置 | |
| JP5553017B2 (ja) | シートベルト装置 | |
| JP2006016707A (ja) | エアバッグ用基布およびエアバッグならびにその製造方法 | |
| JP5505279B2 (ja) | エアバッグ装置 | |
| JP4192821B2 (ja) | 頭部保護エアバッグ | |
| WO2010082386A1 (ja) | エアバッグ及びエアバッグ装置 | |
| JP5157981B2 (ja) | エアバッグ装置 | |
| JP5399873B2 (ja) | エアバッグ |
Legal Events
| Date | Code | Title | Description |
|---|---|---|---|
| A621 | Written request for application examination |
Free format text: JAPANESE INTERMEDIATE CODE: A621 Effective date: 20110903 |
|
| A977 | Report on retrieval |
Free format text: JAPANESE INTERMEDIATE CODE: A971007 Effective date: 20120719 |
|
| A131 | Notification of reasons for refusal |
Free format text: JAPANESE INTERMEDIATE CODE: A131 Effective date: 20121211 |
|
| A521 | Request for written amendment filed |
Free format text: JAPANESE INTERMEDIATE CODE: A523 Effective date: 20130208 |
|
| TRDD | Decision of grant or rejection written | ||
| A01 | Written decision to grant a patent or to grant a registration (utility model) |
Free format text: JAPANESE INTERMEDIATE CODE: A01 Effective date: 20130808 |
|
| A61 | First payment of annual fees (during grant procedure) |
Free format text: JAPANESE INTERMEDIATE CODE: A61 Effective date: 20130821 |
|
| R150 | Certificate of patent or registration of utility model |
Ref document number: 5349886 Country of ref document: JP Free format text: JAPANESE INTERMEDIATE CODE: R150 Free format text: JAPANESE INTERMEDIATE CODE: R150 |
|
| R250 | Receipt of annual fees |
Free format text: JAPANESE INTERMEDIATE CODE: R250 |
|
| RD02 | Notification of acceptance of power of attorney |
Free format text: JAPANESE INTERMEDIATE CODE: R3D02 |
|
| S531 | Written request for registration of change of domicile |
Free format text: JAPANESE INTERMEDIATE CODE: R313531 |
|
| R350 | Written notification of registration of transfer |
Free format text: JAPANESE INTERMEDIATE CODE: R350 |
|
| R250 | Receipt of annual fees |
Free format text: JAPANESE INTERMEDIATE CODE: R250 |
|
| R250 | Receipt of annual fees |
Free format text: JAPANESE INTERMEDIATE CODE: R250 |
|
| R250 | Receipt of annual fees |
Free format text: JAPANESE INTERMEDIATE CODE: R250 |
|
| R250 | Receipt of annual fees |
Free format text: JAPANESE INTERMEDIATE CODE: R250 |
|
| R250 | Receipt of annual fees |
Free format text: JAPANESE INTERMEDIATE CODE: R250 |
|
| LAPS | Cancellation because of no payment of annual fees |
