JP2010087853A - アンテナ - Google Patents

アンテナ Download PDF

Info

Publication number
JP2010087853A
JP2010087853A JP2008254911A JP2008254911A JP2010087853A JP 2010087853 A JP2010087853 A JP 2010087853A JP 2008254911 A JP2008254911 A JP 2008254911A JP 2008254911 A JP2008254911 A JP 2008254911A JP 2010087853 A JP2010087853 A JP 2010087853A
Authority
JP
Japan
Prior art keywords
ground plate
specific direction
feeding point
width
antenna
Prior art date
Legal status (The legal status is an assumption and is not a legal conclusion. Google has not performed a legal analysis and makes no representation as to the accuracy of the status listed.)
Granted
Application number
JP2008254911A
Other languages
English (en)
Other versions
JP5133186B2 (ja
Inventor
Hirotaka Furuya
洋高 古屋
Yasushi Kan
寧 官
Current Assignee (The listed assignees may be inaccurate. Google has not performed a legal analysis and makes no representation or warranty as to the accuracy of the list.)
Fujikura Ltd
Original Assignee
Fujikura Ltd
Priority date (The priority date is an assumption and is not a legal conclusion. Google has not performed a legal analysis and makes no representation as to the accuracy of the date listed.)
Filing date
Publication date
Application filed by Fujikura Ltd filed Critical Fujikura Ltd
Priority to JP2008254911A priority Critical patent/JP5133186B2/ja
Publication of JP2010087853A publication Critical patent/JP2010087853A/ja
Application granted granted Critical
Publication of JP5133186B2 publication Critical patent/JP5133186B2/ja
Expired - Fee Related legal-status Critical Current
Anticipated expiration legal-status Critical

Links

Images

Landscapes

  • Waveguide Aerials (AREA)

Abstract

【課題】本発明は、デジタル家電への搭載が容易な平面アンテナにおいて、低VSWR(Voltage Standing Wave Ratio)で広帯域幅とすることを目的とする。
【解決手段】本発明に係るアンテナは、外縁の少なくとも一部に略直線状の平坦部11aを有するグランド板11と、平坦部11aに接続され、高周波電力が給電される給電点13と、コの字型に1回折り返され、給電点13からの給電をコの字型の下底部12aから受ける放射素子12と、を備え、コの字型の下底部12aは、平坦部11aと略平行に配置され、給電点13は、平坦部11aに平行な特定方向におけるグランド板11の中心51から当該特定方向におけるグランド板11の幅Wの10%未満の位置に配置され、コの字型の上底部12cにおける開放された端部12dから給電点13までの特定方向における距離がグランド板11の幅Wの30%未満であることを特徴とする。
【選択図】図1

Description

本発明は、携帯電話や無線LANなどに用いられるマルチバンド対応のアンテナに関し、特にデジタル家電に搭載される小型化可能な平面アンテナに関する。
マルチバンド対応のアンテナとして、従来より、グランド板上に平行にワイヤを配置したアンテナや、実装基板上に放射素子を実装するアンテナが提案されている(例えば、特許文献1及び2参照。)。
特開2007−49249号公報 特開2006−217026号公報
しかし、グランド板上にワイヤを平行に設置した場合、3次元構造となるので、体積を生じてしまう。また、実装基板に放射素子を実装する場合、大きなグランド板を必要とすることが多い。そのため、従来のマルチバンド対応のアンテナでは、デジタル家電への搭載が困難だった。
そこで、本発明は、デジタル家電への搭載が容易な平面アンテナにおいて、低VSWR(Voltage Standing Wave Ratio)で広帯域幅とすることを目的とする。
コの字型に折り返された放射素子を備え、当該放射素子の開放された端部と給電位置をアンテナの中心付近に配置したときに、小型の平面アンテナであっても低VSWRかつ広帯域幅となることを、発明者らは実験により発見した。
具体的には、本発明に係るアンテナは、外縁の少なくとも一部に略直線状の平坦部を有するグランド板と、前記平坦部に接続され、高周波電力が給電される給電点と、コの字型に1回折り返され、前記給電点からの給電を前記コの字型の下底部から受ける放射素子と、を備え、前記コの字型の下底部は、前記平坦部と略平行に配置され、前記給電点は、前記平坦部に平行な特定方向における前記グランド板の中心から当該特定方向における前記グランド板の幅の10%未満の位置に配置され、前記コの字型の上底部における開放された端部から前記給電点までの前記特定方向における距離が前記グランド板の幅の30%未満であることを特徴とする。
本発明に係るアンテナでは、前記給電点は、前記グランド板の前記特定方向における中心に配置されていることが好ましい。
給電位置が中心のときにアンテナの入力特性が最良となる。したがって、本発明により、アンテナの入力特性を最良にすることができる。
本発明に係るアンテナでは、前記グランド板は、前記平坦部を一辺とする方形であり、前記コの字型の下底部の前記特定方向における幅は、前記グランド板の前記特定方向における幅と等しく、前記コの字型の下底部における開放された端部は、前記平坦部の一端に接続され、前記コの字型の折り返し部は、前記平坦部の他端で折り返され、前記グランド板、前記給電点及び前記放射素子は、同一平面上に一体形成されていることが好ましい。
本発明により、アンテナの入力特性を良好にすることができる。
本発明に係るアンテナでは、前記特定方向における前記グランド板の幅は、13mmであり、前記コの字型の上底部の開放された端部から前記給電点までの前記特定方向における距離は3.5mmであり、前記コの字型の上底部の開放された端部から前記折り返し部までの距離は、10mmであることが好ましい。
実験において、コの字型の上底部の開放された端部から折り返し部までの距離が10mmのときに、アンテナの入力特性が最良となった。したがって、本発明により、アンテナの入力特性を最良にすることができる。
本発明によれば、デジタル家電への搭載が容易な平面アンテナにおいて、低VSWRで広帯域幅とすることができる。
添付の図面を参照して本発明の実施の形態を説明する。以下に説明する実施の形態は本発明の構成の例であり、本発明は、以下の実施の形態に制限されるものではない。
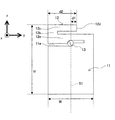
図1は、本実施形態に係るアンテナの構成概略図である。本実施形態に係るアンテナは、グランド板11と、放射素子12と、給電点13と、を備える。
グランド板11、給電点13及び放射素子12は、同一平面上に一体形成されていることが好ましい。例えば、ベース基材にはポリイミド基材を用い、その上に銅箔にてグランド板11及び放射素子12を形成する。
放射素子12は、コの字型に1回折り返され、グランド板11から近い方から順に下底部12a、折り返し部12b、上底部12cを備える。グランド板11は、外縁の少なくとも一部に略直線状の平坦部11aを有する。コの字型の下底部12aは、平坦部11aと略平行に配置される。放射素子12は、給電点13からの給電をコの字型の下底部12aから受ける。平坦部11aに平行な方向が特定方向であり、図1ではy軸方向が特定方向となっている。
給電点13は、平坦部11aに接続され、高周波電力が給電される。給電は、直接給電若しくは同軸ケーブルを介して行う。給電点13は、中心51からグランド板11の幅Wの10%未満の位置に配置される。中心51は、グランド板11の特定方向における中心である。グランド板11の幅Wは、グランド板11の特定方向における幅である。特に、給電点13は、グランド板11の特定方向における中心51に配置されていることが好ましい。給電位置をグランド板11の中心51にすることで、高い共振周波数において帯域幅を広げることができる。
距離d1は、幅Wの30%未満である。距離d1の値を変えると、アンテナの共振周波数が変化する。ここで、距離d1は、コの字型の上底部12cにおける開放された端部12dから給電点13までの特定方向における距離である。幅Wは、グランド板11の特定方向における幅である。例えば、幅Wが13mmであれば、距離d1は3.9mmとなる。このときの上底部12cの開放された端部12dから折り返し部12bまでの距離d2は、2.6mm超10.4mm未満である。特に、距離d1を3.5mmとし、距離d2を10mmとすることが好ましい。
本実施形態に係るアンテナは、デジタル家電への実装を容易にするため、y軸方向の幅W、z軸方向の幅Hの方形であることが好ましい。この場合、グランド板11は、平坦部11aを一辺とする方形である。下底部12aの特定方向における幅はグランド板11の幅Wと等しく、下底部12aにおける開放された端部は、平坦部11aの一端に接続されている。折り返し部12bは、平坦部11aの他端で折り返されている。
距離d1とアンテナの特性の関係を評価した。図2は、本実施例に係るアンテナの構成概略図である。y軸方向が特定方向となっている。給電点13をグランド板11の中心51に配置し、幅Wを13mm、z軸方向の幅Hを19mmとした。この条件下で、距離d2を変化させ、そのときのアンテナの入力特性を測定した。
図3に、本実施例におけるアンテナの入力特性を示す。左から順に、距離d2が、13mm、10mm、6.5mm、4mm、0mmのときを示す。距離d2が4.5mm以上13mm以下のとき、4.3〜6GHzのいずれかの周波数でVSWR≦2となった。また、距離d2が0mmと4mmの間でアンテナの容量が急激に不足し、距離d2が10mmと13mmの間でアンテナの帯域幅が急激に狭くなっている。この結果より、距離d1が幅W=13mmの30%未満となるときに、アンテナの入力特性が好ましい範囲にあることが分かった。
給電点13の位置とアンテナの特性の関係を評価した。図4は、本実施例に係るアンテナの構成概略図である。y軸方向が特定方向となっている。幅Wを13mm、距離d2を6.5mm、z軸方向の幅Hを19mmとした。この条件下で、グランド板11の端からの距離fを変化させ、そのときのアンテナの入力特性を測定した。
図5に、本実施例におけるアンテナの入力特性を示す。左から順に、距離fが、8.5mm、7.5mm、6.5mm、5.5mm、4.5mmのときを示す。距離fが6.5mm以上7.5mm以下のとき、5GHzの周波数付近でVSWR≦2となった。また、距離fが5.5mmのときにアンテナの容量が不足し、距離fが8.5mmのときにアンテナの帯域幅が急激に狭くなっている。この結果より、給電点の位置が、グランド板11の中心51から特定方向におけるグランド板11の幅W=18mmの10%未満となるときに、アンテナの入力特性が好ましい範囲にあることが分かった。
アンテナの指向性を検証した。図6は、本実施例に係るアンテナの構成概略図である。y軸方向が特定方向となっている。給電点13を特定方向におけるグランド板11の中心に配置し、幅Wを13mm、距離d2を8mm、z軸方向の幅Hを19mmとした。給電点13への給電には、100mmの同軸ケーブル(φ1.13mm)を用いた。
図7は、本実施例に係るアンテナの特性であり、(a)は入力特性、(b)は5.2GHzにおける指向性を示す。図7(a)に示すように、無線LANの使用周波数帯である4.9GHz以上5.725GHz以下の帯域にてVSWR≦2となった。また、図7(b)に示すように、水平面内での放射指向性を示すE_θは無指向となっており、最大で1dBi程度の利得が出ている。
本発明は、無線LAN対応5GHz用アンテナに利用することができる。特に、テレビ、ノートパソコンなどのデジタル家電に搭載されるアンテナに利用することができる。
本実施形態に係るアンテナの構成概略図である。 実施例1に係るアンテナの構成概略図である。 実施例1におけるアンテナの入力特性を示す。 実施例2に係るアンテナの構成概略図である。 実施例2におけるアンテナの入力特性を示す。 実施例3に係るアンテナの構成概略図である。 実施例3に係るアンテナの特性であり、(a)は入力特性、(b)は5.2GHzにおける指向性を示す。
符号の説明
11 グランド板
11a 平坦部
12 放射素子
12a コの字型の下底部
12b コの字型の折り返し部
12c コの字型の上底部
12d コの字型の上底部における開放された端部
13 給電点
51 グランド板の中心

Claims (4)

  1. 外縁の少なくとも一部に略直線状の平坦部を有するグランド板と、
    前記平坦部に接続され、高周波電力が給電される給電点と、
    コの字型に1回折り返され、前記給電点からの給電を前記コの字型の下底部から受ける放射素子と、を備え、
    前記コの字型の下底部は、前記平坦部と略平行に配置され、
    前記給電点は、前記平坦部に平行な特定方向における前記グランド板の中心から当該特定方向における前記グランド板の幅の10%未満の位置に配置され、
    前記コの字型の上底部における開放された端部から前記給電点までの前記特定方向における距離が前記グランド板の幅の30%未満であることを特徴とするアンテナ。
  2. 前記給電点は、前記グランド板の前記特定方向における中心に配置されていることを特徴とする請求項1に記載のアンテナ。
  3. 前記グランド板は、前記平坦部を一辺とする方形であり、
    前記コの字型の下底部の前記特定方向における幅は、前記グランド板の前記特定方向における幅と等しく、
    前記コの字型の下底部における開放された端部は、前記平坦部の一端に接続され、
    前記コの字型の折り返し部は、前記平坦部の他端で折り返され、
    前記グランド板、前記給電点及び前記放射素子は、同一平面上に一体形成されていることを特徴とする請求項1又は2に記載のアンテナ。
  4. 前記グランド板の前記特定方向における幅は13mmであり、
    前記コの字型の上底部の開放された端部から前記給電点までの前記特定方向における距離は3.5mmであり、
    前記コの字型の上底部の開放された端部から前記折り返し部までの距離は10mmであることを特徴とする請求項1から3のいずれかに記載のアンテナ。
JP2008254911A 2008-09-30 2008-09-30 アンテナ Expired - Fee Related JP5133186B2 (ja)

Priority Applications (1)

Application Number Priority Date Filing Date Title
JP2008254911A JP5133186B2 (ja) 2008-09-30 2008-09-30 アンテナ

Applications Claiming Priority (1)

Application Number Priority Date Filing Date Title
JP2008254911A JP5133186B2 (ja) 2008-09-30 2008-09-30 アンテナ

Publications (2)

Publication Number Publication Date
JP2010087853A true JP2010087853A (ja) 2010-04-15
JP5133186B2 JP5133186B2 (ja) 2013-01-30

Family

ID=42251351

Family Applications (1)

Application Number Title Priority Date Filing Date
JP2008254911A Expired - Fee Related JP5133186B2 (ja) 2008-09-30 2008-09-30 アンテナ

Country Status (1)

Country Link
JP (1) JP5133186B2 (ja)

Citations (5)

* Cited by examiner, † Cited by third party
Publication number Priority date Publication date Assignee Title
JP2002009539A (ja) * 2000-05-08 2002-01-11 Alcatel 移動電話のための統合アンテナ
JP2004128740A (ja) * 2002-09-30 2004-04-22 Nissei Electric Co Ltd 放射電極エレメント、および該エレメントで構成される多周波アンテナ
JP2004328704A (ja) * 2002-11-27 2004-11-18 Taiyo Yuden Co Ltd アンテナ及びアンテナ用誘電体基板
WO2008099444A1 (ja) * 2007-02-01 2008-08-21 Fujitsu Microelectronics Limited アンテナ
JP2008193299A (ja) * 2007-02-02 2008-08-21 Iida:Kk 逆f型アンテナ

Patent Citations (5)

* Cited by examiner, † Cited by third party
Publication number Priority date Publication date Assignee Title
JP2002009539A (ja) * 2000-05-08 2002-01-11 Alcatel 移動電話のための統合アンテナ
JP2004128740A (ja) * 2002-09-30 2004-04-22 Nissei Electric Co Ltd 放射電極エレメント、および該エレメントで構成される多周波アンテナ
JP2004328704A (ja) * 2002-11-27 2004-11-18 Taiyo Yuden Co Ltd アンテナ及びアンテナ用誘電体基板
WO2008099444A1 (ja) * 2007-02-01 2008-08-21 Fujitsu Microelectronics Limited アンテナ
JP2008193299A (ja) * 2007-02-02 2008-08-21 Iida:Kk 逆f型アンテナ

Also Published As

Publication number Publication date
JP5133186B2 (ja) 2013-01-30

Similar Documents

Publication Publication Date Title
TWI489690B (zh) 具有經改善隔絕的多頻帶平面倒f型之天線及系統
JP5777885B2 (ja) 多重帯域内蔵型アンテナ
US10431875B2 (en) Communication device
US8373598B2 (en) Antenna device and dual-band antenna
US8593354B2 (en) Multi-band antenna
KR20130046494A (ko) 평면형 역 에프 안테나용 방사체 및 이를 이용한 안테나
CN102396110A (zh) 具有端点短路的辐射体的使用耦合匹配的宽带天线
JP5742426B2 (ja) 板状逆fアンテナ
JP2004088198A (ja) モノポールアンテナ装置およびこれを用いた通信システム
JP4548281B2 (ja) 広帯域アンテナ
US8760357B2 (en) Wideband single resonance antenna
CN201008021Y (zh) 平面天线
US20120162023A1 (en) Multi-band antenna
JP2007020093A (ja) アンテナ装置および携帯無線機
EP1947737A1 (en) Omni-directional high gain dipole antenna
JP2010074489A (ja) アンテナ装置
JP2010050548A (ja) アンテナ装置
JP5133186B2 (ja) アンテナ
US20100117907A1 (en) Dual-band antenna
KR101218718B1 (ko) 안테나 장치 및 이동통신 단말기
KR100581712B1 (ko) 이동통신단말기용 링형 안테나 구조
US7053855B2 (en) Structure of 3D inverted F-antenna
JP4637638B2 (ja) 多周波用アンテナ
CN107293843B (zh) Wifi天线装置
US20200303818A1 (en) Wideband antenna

Legal Events

Date Code Title Description
A621 Written request for application examination

Free format text: JAPANESE INTERMEDIATE CODE: A621

Effective date: 20110610

A977 Report on retrieval

Free format text: JAPANESE INTERMEDIATE CODE: A971007

Effective date: 20120711

A131 Notification of reasons for refusal

Free format text: JAPANESE INTERMEDIATE CODE: A131

Effective date: 20120717

A521 Written amendment

Free format text: JAPANESE INTERMEDIATE CODE: A523

Effective date: 20120918

TRDD Decision of grant or rejection written
A01 Written decision to grant a patent or to grant a registration (utility model)

Free format text: JAPANESE INTERMEDIATE CODE: A01

Effective date: 20121009

A01 Written decision to grant a patent or to grant a registration (utility model)

Free format text: JAPANESE INTERMEDIATE CODE: A01

A61 First payment of annual fees (during grant procedure)

Free format text: JAPANESE INTERMEDIATE CODE: A61

Effective date: 20121107

FPAY Renewal fee payment (event date is renewal date of database)

Free format text: PAYMENT UNTIL: 20151116

Year of fee payment: 3

R150 Certificate of patent or registration of utility model

Free format text: JAPANESE INTERMEDIATE CODE: R150

R250 Receipt of annual fees

Free format text: JAPANESE INTERMEDIATE CODE: R250

R250 Receipt of annual fees

Free format text: JAPANESE INTERMEDIATE CODE: R250

R250 Receipt of annual fees

Free format text: JAPANESE INTERMEDIATE CODE: R250

LAPS Cancellation because of no payment of annual fees