JP2004088198A - モノポールアンテナ装置およびこれを用いた通信システム - Google Patents
モノポールアンテナ装置およびこれを用いた通信システム Download PDFInfo
- Publication number
- JP2004088198A JP2004088198A JP2002243060A JP2002243060A JP2004088198A JP 2004088198 A JP2004088198 A JP 2004088198A JP 2002243060 A JP2002243060 A JP 2002243060A JP 2002243060 A JP2002243060 A JP 2002243060A JP 2004088198 A JP2004088198 A JP 2004088198A
- Authority
- JP
- Japan
- Prior art keywords
- conductor
- antenna device
- monopole antenna
- electrode
- wavelength
- Prior art date
- Legal status (The legal status is an assumption and is not a legal conclusion. Google has not performed a legal analysis and makes no representation as to the accuracy of the status listed.)
- Withdrawn
Links
Images
Landscapes
- Aerials With Secondary Devices (AREA)
- Details Of Aerials (AREA)
Abstract
【課題】低背時に入力インピーダンスが整合するモノポールアンテナ装置を提供すること。
【解決手段】従来の技術と比べて異なるのは、直径0.01波長以上の給電素子31および直径0.01波長以上の短絡導体32を用いることで給電点でのインピーダンスマッチングを可能とした点である。短絡導体32の半径ρ2を増加すれば入力インピーダンスZが増加し、給電素子31の半径ρ1を増加すれば入力インピーダンスZが減少する。これを利用して入力インピーダンスを制御する。さらに給電素子31の直径が大きい方がQが低くなり広帯域なアンテナを提供することができる。
【選択図】 図1
【解決手段】従来の技術と比べて異なるのは、直径0.01波長以上の給電素子31および直径0.01波長以上の短絡導体32を用いることで給電点でのインピーダンスマッチングを可能とした点である。短絡導体32の半径ρ2を増加すれば入力インピーダンスZが増加し、給電素子31の半径ρ1を増加すれば入力インピーダンスZが減少する。これを利用して入力インピーダンスを制御する。さらに給電素子31の直径が大きい方がQが低くなり広帯域なアンテナを提供することができる。
【選択図】 図1
Description
【0001】
【発明の属する技術分野】
本発明は、移動体無線装置に用いられるモノポールアンテナ装置およびアンテナシステムに関する。特に、車載用として車両内に置かれるモノポールアンテナ装置およびアンテナシステムに関する。
【0002】
【従来の技術】
車載用のアンテナとしてモノポールアンテナ装置は一般的なアンテナである。モノポールアンテナ装置は線状のアンテナで、高さは1/4波長または3/4波長となることが多い。携帯電話機に用いられる900MHzの周波数の場合、1/4波長は83mm、3/4波長で249mmになり、車両のルーフ上または車両内に置かれるアンテナ装置としてサイズが問題になる。
【0003】
ここで、モノポールアンテナを低背化したものとしてトップローディング型モノポールアンテナがある(例えば、非特許文献1参照)。従来のトップローディング型モノポールアンテナの構造を図20に示す。図20(a)は斜視図、(b)はYZ面に直交して見た平面図である。このトップローディング型モノポールアンテナはトップローディング形状の電極(以下、トップロード電極)11と、トップロード電極11に対向して設けられる地板導体14と地板導体14上の給電点と上記トップロード電極11を電気的に接続する給電素子12からなる。上記トップロード電極11と地板導体14とを電気的に接続する短絡導体13はインピーダンスマッチングを良くするために必要に応じて設けられる。ここで、給電点15に給電用同軸ケーブルの中心導体16が接続され、給電用同軸ケーブルの地板導体17は地板導体14に接続される。ここで、給電素子12と短絡導体13は一般的に900MHzの共振周波数を持つアンテナであれば直径1mm程度の導電体(銅など)の導線が用いられる。
【0004】
この従来例のトップローディング型モノポールアンテナは給電素子12の上部に円形平板形状のトップロード電極11を給電素子12と接続して構成したものである。円形平板形状の電極11を用いることで、周波数900MHzであれば1/4波長で83mmの高さが必要であったモノポールアンテナ装置の高さを30〜40mmに低背化できる。
【0005】
さらに複数の共振周波数を有するアンテナとして、トップローディング型モノポールアンテナを用いた2共振アンテナの構造が提案されている(例えば、特許文献1参照)。このアンテナの構成を図21に示す。これはトップローディング形状の電極11の周囲に輪状素子21を配置し、輪状素子21とトップローディング形状の電極11は、コイルおよびコンデンサで形成される反共振回路22を用いて接続する。共振周波数をそれぞれ第1の周波数、第2の周波数とすると、第1の周波数はトップロード電極11と給電素子12により励振される周波数で、第2の周波数は輪状素子21もトップローディング負荷として加わり輪状素子21とトップロード電極11と給電素子12から励振される周波数である。反共振回路22は第1の周波数に対する反共振回路で、第1の周波数においては輪状素子21が接続していない状態と等価にするための機能を持つ。
【0006】
【発明が解決しようとする課題】
次に、従来例に関わる問題点であり、本発明が解決しようとする課題について説明する。
【0007】
第1の課題は、低背時にインピーダンスの整合が困難になるという問題である。
【0008】
アンテナの低背化により、トップロード電極11と地板導体14との間隔が小さくなる。
【0009】
一般に地板導体14を用いたアンテナでは地板導体14が存在することで、地板導体14を挟んで対称に、トップロード電極11上を流れる、地板導体14と平行な電流に対しては、地板導体14から等距離離れて逆向きの電流が存在することと等価になる。これをイメージ電流という。
【0010】
間隔が小さいと、トップロード電極による放射電界はイメージ電流による放射電界に打ち消され小さくなる。これは給電点15の電圧が低くなることを意味している。アンテナに流れる電流は低背化する前と比べ大きく変化しないため、電圧の低下に伴い、入力インピーダンスが低下するのである。
【0011】
第2の課題は、低背時に帯域が狭くなるという課題である。アンテナを使用する通信システムにより使用される帯域は決まっており、そのため、低くする高さにも制限がある。
【0012】
第3の課題は、複数の異なる周波数で共振させることである。近年、移動体通信においては多くの周波数が用いられている。従来の技術に関しての項で例としてあげた900MHzは一般にPDC800MHz帯といわれる周波数(810〜960MHz)を想定している。携帯電話においては上記の800MHz帯以外に1.5GHz帯も使用しており、本発明の使用用途として車載の携帯電話用アンテナを想定しているので、両方の周波数をカバーする必要がある。しかしながら、トップローディングモノポールアンテナを用いた多周波への対応は一般的には行われておらず、従来例で示した構成においても、より簡便に量産するためには反共振回路を使用しない構成が望まれる。
【0013】
第4の課題は小形化する課題である。車内設置するアンテナとしては特に小形形状が望ましい。通常のトップロード型モノポールアンテナは上述のようにアンテナを低背化するとトップロード電極11が大きくなり、地板導体14の必要な大きさも増大する。車内では十分な地板の大きさがとれないことが多いので、アンテナを低背にする高さも制限がある。従来のトップロード型モノポールアンテナでは地板導体14の大きさの制約から共振周波数が900MHzのトップローディングモノポールアンテナにおいてはアンテナ高が30〜40mmと高くなり不向きであった。
【0014】
【課題を解決するための手段】
本発明のアンテナ装置は上記課題を解決するために、地板導体と、上記地板導体と対向して設けられトップローディング部を構成する電極と、給電点と上記電極とを接続する給電素子と、上記電極と上記地板導体とを接続するための短絡導体を備えたトップローディング型モノポールアンテナ装置であって、上記線状素子は断面の外周長が0.03波長以上である構成とする。
【0015】
また、地板導体と、上記地板導体と対向して設けられトップローディング部を構成する電極と、給電点と上記電極とを接続する給電素子と、上記電極と上記接続導体とを接続するための短絡導体を備えたトップローディング型モノポールアンテナ装置であって、上記短絡導体は断面の外周長が0.03波長以上であること構成とする。
【0016】
さらに、地板導体と、上記地板導体と対向して設けられトップローディング部を構成する電極と、給電点と上記電極とを接続する給電素子と、上記電極と上記接続導体とを接続するための短絡導体を備えたトップローディング型モノポールアンテナ装置であって、上記給電素子および上記短絡導体は断面の外周長が0.03波長以上である構成とする。
【0017】
ここで、上記トップローディング部を構成する電極は折り曲げ部を有しても良い。
【0018】
さらに、上記トップローディング部を有する電極は方形であっても良い。
【0019】
また、上記給電点に対して、上記地板導体上に設けた整合回路を介して接続してもよい。
【0020】
また、上記地板導体は円形平板形状であっても良い。
【0021】
また、上記給電導体の両端の間に位置する中間位置と、上記地板導体とを接続するための短絡制御導体をさらに備えても良い。
【0022】
また、本発明のアンテナ装置は、地板導体と、上記地板導体と対向して設けられトップローディング部を構成する電極と、給電点と上記電極とを接続する給電素子と、一端が上記地板導体に接続する第1の導体板を備えたトップローディング型モノポールアンテナ装置であって、第1の導体板は、上記線状素子および上記短絡導体に対し平行な部分を有する構成とする。
【0023】
ここで、第1の導体板は前記第1の導体板の共振周波数の波長に対し巾0.01波長以上であっても良い。
【0024】
また、第1の導体板と前記給電導体の間隔は記第1の導体板の共振周波数の波長に対し0.01波長以内であってもよい。
【0025】
さらに第1の導体板は前記アンテナ装置の動作中心周波数における1/4波長の長さであっても良い。
【0026】
また、一端が上記地板導体に接続する第1の導体板であって、第1の導体板は、上記線状素子および上記短絡導体に対し平行であって、上記電極に対して平行に併設することを特徴する第1の導体板を備えても良い。
【0027】
ここで、第1の導体板は前記第1の導体板の共振周波数の波長に対し巾0.01波長以上であっても良い。
【0028】
さらに、第1の導体板と前記給電導体の間隔は前記第1の導体板の共振周波数の波長に対し0.01波長以内であってもよい。
【0029】
また、第1の導体板は前記アンテナ装置の動作中心周波数における1/4波長の長さであっても良い。
【0030】
さらに、本発明のアンテナ装置は、地板導体と、上記地板導体と対向して設けられトップローディング部を構成する電極と、給電点と上記電極とを接続する給電素子と、上記地板導体および上記電極と平行な第2の導体板を備えた構成とする。
【0031】
ここで、第2の導体板は前記アンテナ装置の動作中心周波数における1/2波長の長さであっても良い。
【0032】
さらに、第2の導体板は上記地板導体および上記電極と平行でも良い。
【0033】
また、第2の導体板は前記アンテナ装置の動作中心周波数における1/2波長の長さであっても良い。
【0034】
また、本発明の通信システムは、車両内部に設置された受信機と、車両ルーフまたはトランクルーフ上に設置され、かつ上記の受信機に接続された本発明のモノポールアンテナ装置を用いた構成とする。
【0035】
さらに、車両内部に設置された受信機と、上記車両内部に設置され、かつ上記の受信機に接続された本発明のモノポールアンテナ装置を用いた構成とする。
【0036】
ここで、上記モノポールアンテナ装置を、上記車両のフロントウインドまたはリアウインド近傍に設置するときにそれぞれ、上記モノポールアンテナの短絡導体と上記給電素子を結ぶ方向と直交する方向に、上記フロントウインドまたは上記リアウインドが位置するように上記モノポールアンテナ装置を設置しても良い。
【0037】
また、上記車両内に凹部を形成し、上記凹部内に上記モノポールアンテナ装置を設置し、上記凹部の開口部をレドームにより覆っても良い。
【0038】
【発明の実施の形態】
以下、図面を参照して本発明に関わる実施の形態について説明する。なお、図面においては、同様の部分については同一の符号を付している。
【0039】
(実施の形態1)
まず、図1から図5を用いて、本発明のアンテナ装置の動作原理を説明する。
【0040】
図1に本発明のトップローディング型モノポールアンテナ装置の構成を示す。従来の技術と比べて異なるのは、直径0.01波長以上の給電素子31および直径0.01波長以上の短絡導体32を用いることで給電点でのインピーダンスマッチングを可能とした点である。この給電素子、短絡導体の直径は従来の技術で900MHzの共振周波数であれば1mmの直径の導体を用いていたことと比較すると、外観の面では直径3mm以上の太い導線を用いている点で異なる。また、直径0.01波長以上の給電素子31および直径0.01波長以上の短絡導体32を用いるということは、すなわち断面の周囲長がそれぞれ0.03波長以上となることを意味する。
【0041】
ここで、インピーダンスマッチングの原理を説明する。図2に示すのはトップローディング型モノポールアンテナに流れる電流の概念図である。本発明のアンテナの電流は放射に関係する不平衡伝送系と、放射には関係せずアンテナのインピーダンスのみに関係する平衡伝送系に分けて解析できる。
【0042】
図3に不平衡伝送系と平衡伝送系を分けて示し説明する。
【0043】
さらに、図3(a)のaa’からアンテナをみたインピーダンスをZuとし、図3(b)のbb’からアンテナを見たインピーダンスをZbとすると、
【0044】
【数1】
【0045】
【数2】
【0046】
の関係がある。
【0047】
さらに、次の連立方程式が図3において成立する。
【0048】
【数3】
【0049】
【数4】
【0050】
【数5】
【0051】
【数6】
【0052】
よって、本発明のアンテナの給電点15におけるインピーダンスZは
【0053】
【数7】
【0054】
で表せる。
【0055】
これは、本発明のアンテナの入力インピーダンスZはνiの関数であることを示している。
【0056】
電流分配率νiは給電素子31の半径ρ1、短絡導体32の半径ρ2、給電素子31と短絡導体32の中心距離sが決まれば、次式で求まる。
【0057】
【数8】
【0058】
これから、ρ1、ρ2の経を制御することで入力インピーダンスZが制御できることがわかる。(8)式は短絡導体32の半径ρ2を増加すれば入力インピーダンスZが増加し、給電素子31の半径ρ1を増加すれば入力インピーダンスZが減少することを意味する。
【0059】
図4に給電素子31の直径を変化したとき、図5に短絡導体32の直径を変化したときの本発明のアンテナの入力インピーダンスの変化を示しこれを確かめる。
【0060】
図4(a)の左の図に示すのはスミスチャートと呼ぶインピーダンスの変化を示すための図である。スミスチャートの中心を通る線A−A’をスミスチャートの円弧が横切る位置Bが入力インピーダンスを表している。線A−A’においてインピーダンスはA側が低くA’側が高い。中心位置が整合している点である。ここで図4(b)、(c)と給電素子31の直径を大きくすると入力インピーダンスは低くなっている。また、図4(b)である給電素子31の直径3mmでほぼ整合しており、給電素子31の直径を変化させることで入力インピーダンスを整合できることがわかる。また、図5において短絡導体32の直径を変化させたときのインピーダンス変化からわかるように、短絡導体32の直径を大きくすることで、入力インピーダンスは高くなる。短絡導体32の直径だけを変化させても入力インピーダンスは整合できる。この結果は(8)式の結果と良く合っており、入力インピーダンスの課題に対しては給電素子31または短絡導体32の直径を変化させることで解決できたことがわかる。
【0061】
帯域幅に関しては、給電素子31の直径と短絡導体32の直径を適切に選択することで広げることが出来る。図4(a)、(b)、(c)は上述のように給電素子31の直径を変化させた時のインピーダンスの変化で、右側の図から帯域幅の拡大がわかる。これを以下に説明する。図4(a)の右側に示した図は給電素子31の直径を変化したときのVSWRの変化を示す図である。この図の横軸は周波数、縦軸はVSWRである。図中にC−C’で示す横線がVSWR=3の線で、VSWR=3以下をこのアンテナの使用可能な帯域と定義する。給電素子31の直径が1mmの図4(a)においてはVSWR=3を下回る帯域幅は80MHzで、給電素子31の直径が3mmの図4(b)では150MHz、給電素子31の直径が3mmの図4(b)では190MHzとなり、給電素子31の直径が大きくなるほど帯域が増加することがわかる。ただし、上述したように給電素子31の直径を大きくすると入力インピーダンスが低下するので、短絡導体32を適切な太さにして入力インピーダンスを整合させる必要がある。すなわち給電素子31と短絡導体32の直径を900MHzであればともに3mm以上つまり0.01波長以上の直径とすることで広帯域化が出来ることがわかる。
【0062】
図8は、本発明の第1の実施例に関わるトップローディング型モノポールアンテナ装置の構成を示す斜視図である。この第1の実施の形態のトップローディング型モノポールアンテナ装置は1点目のインピーダンスの整合に関する課題および2点目の帯域に関する課題に対する解決手段を提供するものである。
【0063】
図8に図示される第1の実施例に関わるアンテナは以下の点で従来のアンテナ形状と異なることを特徴としている。
【0064】
(1)線状素子の断面の周囲長が0.03波長となる。具体的には共振周波数900MHzのアンテナに対しては直径が約3mm以上の導体あるいは中空導体で線状素子が構成される。
【0065】
(2)短絡導体の断面の周囲長が0.03波長となる。具体的には共振周波数900MHzのアンテナに対しては直径が約3mm以上の導体あるいは中空導体で線状素子が構成される。
【0066】
図8に示すように本発明のトップローディング型モノポールアンテナ装置は、トップローディングのための円形平板形状の電極と電極と対向して設けられ平板形状の地板導体と給電点と電極とを電気的に接続する断面の周囲長が0.03波長以上の給電素子31と、電極と地板導体とを電気的に接続する断面の周囲長が0.03波長以上の短絡導体32から構成される。ここで、給電点には給電用同軸ケーブルの中心導体が接続され、給電用同軸ケーブルの地板導体は本発明のアンテナ装置の地板導体に接続される。
【0067】
本実施の形態において、電極の半径は1/4波長ないし1/6波長となる。また、地板導体の半径は好ましくは1/2波長以上に設定される。さらに当該アンテナの高さは、実施の形態においては1/8波長ないし1/10波長である。なお、本実施の形態およびそれ以降で説明する実施の形態および変形例において、1波長は当該アンテナが動作する動作中心周波数に対応する長さである。
【0068】
(実施の形態2)
図9は本発明の第2の実施の形態に関わるトップローディング型モノポールアンテナの構成を示す斜視図である。図9に示す実施例は折り曲げられたトップロード電極91、給電素子31、短絡導体32、地板導体14から構成される。本実施例に関わるトップローディング型モノポールアンテナ装置は、第1の実施の形態のアンテナ装置と比較し、トップローディング電極部が折り曲げ部を有する点で異なる。
【0069】
図9のようにトップローディング部が折り曲げられることで、電極の上部から見たときの投影面積を小さくできる。さらに、トップローディング電極91の表面積においても折り曲げ部を有することで、折り曲げられた先端部と地板電極間に生じる容量性のリアクタンス成分が大きくなり、表面積が小さくなり、小型化に寄与する。
【0070】
(実施の形態3)
図10は本発明の第3の実施の形態にかかわるトップローディング型モノポールアンテナの構成を示す斜視図である。図10に示す実施例はトップロード電極91、給電素子31、短絡導体32、円形地板導体101から構成される。本実施例にかかわるトップローディング型モノポールアンテナ装置は第1の実施の形態のアンテナと比較し、地板導体が円形形状をしている点で異なる。このように円形の形状とすることで本実施例のトップローディング型モノポールアンテナを設置する際に設置方向を自由に回転することが可能となる。
【0071】
(実施の形態4)
図11は本発明の第4の実施の形態にかかわるトップローディング型モノポールアンテナの構成を示す斜視図である。図11に示す実施例はトップロード電極91、給電素子31、短絡導体32、地板導体14、給電素子13の一部と地板導体14を接続するインピーダンス調整用タップ111から構成される。本実施例にかかわるトップローディング型モノポールアンテナは、地板と給電素子を接続するインピーダンス調整用タップ111を有する点で第1の実施の形態と異なる。この導線によって給電点での電流量を調整することが出来る。入力インピーダンスは給電点での電圧と電流により決まるので、インピーダンス調整用タップ111を用いることで入力インピーダンスを微調整することが可能となる。
【0072】
(実施の形態5)
図6および図7および図12から図15は本発明によるモノポールアンテナの第5の実施の形態に関係する図を示すものである。図6および図7を用いて、無給電素子をもちいて複数の周波数で共振させる動作原理について説明する。図6のように片側を短絡した無給電素子を併設すると、前記無給電素子の長さが約1/4波長に相当する任意の周波数で前記無給電素子を共振させることが出来る。図7は給電素子31と片側短絡無給電素子81との間隔を変えたときの、入力インピーダンスの変化を示す図である。右側の図がVSWRと周波数の関係を示す図で、C−C’に示すVSWR=3の線を高い周波数で下回る部分F2が片側短絡無給電素子により生じた共振である。図7(a)は給電素子31と片側短絡無給電素子の間隔が1.0mmのときのVSWR変化を示しているが、一方図7(b)の給電素子31と片側短絡無給電素子の間隔が1.5mmのときのVSWR変化では共振周波数F2の時のVSWRの値は高くなり、図7(c)ではさらに高くなっている。このことから、無給電素子は給電素子との間隔が小さいほど放射電力が大きくなることがわかる。つまり、1.5GHzで2mm以下つまり0.1波長以下に給電素子31と片側短絡無給電素子の間隔を近づけることによって、2周波で共振するアンテナを実現し課題を解決できることがわかった。
【0073】
図12に示す実施例はトップロード電極11、給電素子31、短絡導体32、地板導体14、折り曲げ形状の片側短絡1/4波長無給電素子121から構成される。
【0074】
第1の実施の形態との違いは、折り曲げ形状の片側短絡1/4波長無給電素子121を有することである。この折り曲げ形状の片側短絡1/4波長無給電素子121は課題を解決する手段の項で前述したように給電素子31およびトップロード電極11からの誘導電流によりアンテナとして機能する。折り曲げ形状の片側短絡1/4波長無給電素子121の共振の中心周波数は任意に設定することが出来る。この時の折り曲げ形状の片側短絡1/4波長無給電素子121の長さは所望の共振の中心周波数の波長に対して1/4波長となることが望ましい。
【0075】
折り曲げ形状の片側短絡1/4波長無給電素子121の巾を変化させたときのインピーダンス変化を図13に示す。図13(a)が巾3mm、(b)が巾5mm、(c)が巾7mmの場合である。VSWRと周波数の関係を見ると、VSWR=3の位置を無給電素子による共振周波数F2で下回る部分は(a)の巾3mmでは下がりきらず(b)の巾5mm以降で生じることがわかる。(a)の場合を境界線と考えて、折り曲げ形状の片側短絡1/4波長無給電素子121は1.5GHz帯において巾3mm以上つまり0.15波長以上であればよいことがわかった。
【0076】
折り曲げ形状の片側短絡1/4波長無給電素子121は図12に示すように複数回折り曲げられた形状でも良いし、図6の61にしめすように1度だけ折り曲げられた形状でも良い。
【0077】
図14に示すのは、本実施例の異なる構成である。ここでは、折り曲げ形状の片側短絡1/4波長無給電素子121ではなく、両側開放の1/2波長無給電素子141である。この両側開放の1/2波長無給電素子141においても、トップロード電極11からの誘導電流によりアンテナとして機能する。この両側開放の1/2波長無給電素子141の長さは1/2波長となるのが望ましい。なぜなら、両方の端部が開放されているため両端での電流がゼロとなり、両側開放の1/2波長無給電素子141の中央の電流が最大となる。これは1/2波長の時に共振となる条件だからである。
【0078】
さらに図15に折り曲げ形状の片側短絡1/4波長無給電素子121を用い、折り曲げたトップロード電極とした構成として示した。図15の形状とすることで、小型で2つの周波数に共振を有するモノポールアンテナを実現できる。
【0079】
ここでは、給電素子31、短絡導体32として、断面の外周長が0.03波長以上の場合について説明したが、断面の外周長が0.03波長以下の場合においても同様の効果が得られる。
【0080】
さらに、短絡導体32がない場合においても折り曲げ形状の片側短絡1/4波長無給電素子121または両側開放の1/2波長無給電素子141を設けることで2周波化が図れる。
【0081】
さらに、折り曲げ形状の片側短絡1/4波長無給電素子121または両側開放の1/2波長無給電素子141を複数設置することで、2周波数以上、たとえば3周波数、4周波数に適合するダイポールアンテナ装置を提供することができる。
【0082】
(実施の形態6)
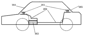
車内設置に関しては、小型のアンテナ形状とすることで解決する。本発明のアンテナは900MHzの共振周波数で、高さ20mm、巾30mm、奥行き30mmの大きさで実現できる。従来技術においては同じ共振周波数において高さ40mm、巾、奥行きは60mm程度の大きさであった。小型化することでアンテナ下方に必要となる地板導体の寸法を小さくすることができ、それにより地板導体の面積の小さい車内においても設置することが出来る。図16、17は本発明によるモノポールアンテナの第6の実施の形態に関係する図を示すものである。図16に示すのは車内における本発明のアンテナ161の設置方法である。本発明のアンテナは車内のリアウインドー165側に設置する。この時、無線装置163は車内に置き、無線装置163と本発明のアンテナ161は接続ケーブル162で接続する。本発明のアンテナ161は短絡導体32を有している。図17に本発明のアンテナの水平面の指向性を示す。この図17に示すように、短絡導体32と給電素子31を結んだ線と直交する方向に感度が高くなるので、この方向がリアウインドー165側になるように位置させることで車両の前後方向の感度が高くなる。
【0083】
本発明のアンテナは従来のトップロード型モノポールアンテナに比べトップロード電極11が小さくなるため地板導体14の必要となる大きさも小さくできる。それにより、車内設置に適している。車内に置くことで接続ケーブル162も短くでき、接続ケーブル162による車両ノイズ混入の確率を抑えさらに信号の劣化も抑えることが出来る。
【0084】
さらに、本発明のアンテナ161はフロントウインドー164側に位置しても良い。
【0085】
(実施の形態7)
図17は本発明によるモノポールアンテナの第7の実施の形態に関係する図を示すものである。図17に示すのは本発明のアンテナ161を車内に2つ配置するときの設置方法である。本発明の実施例6と異なり、2つのアンテナを設置する時には、1つはフロントウインドー164寄りに設置し、他方はリアウインドー165寄りに設置する。車両両サイド方向へも本発明のアンテナ161が2つあることで高い指向性が得られるので、車両に対し全方向に高い指向性を得ることが出来る。
【0086】
ここで、フロントウインドー164方向およびリアウインドー165方向に各2つずつのアンテナを設置した場合は、同じウインドー側にあるアンテナ間の距離の差によって、ダイバーシチー効果が得られ、より安定した感度が期待できる。
【0087】
(実施の形態8)
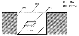
図18は本発明によるモノポールアンテナの第8の実施の形態に関係する図を示すものである。図19に示すのは本発明のアンテナ161を車内あるいは車外に設置するときに目立たなく設置するための設置方法である。本発明のアンテナ161を窪み191内に設置し、レドーム192を被せる。レドーム192は導電体以外の材料で作成する。
【0088】
【発明の効果】
これまで、述べたように本発明によれば、低背形状で整合が可能なモノポールアンテナを提供できる。
【0089】
さらに本発明によれば、トップロード部の電極が小さなモノポールアンテナを提供できる。
【0090】
さらに本発明によれば、広帯域な低背形状のモノポールアンテナを提供できる。
【0091】
さらに本発明によれば、車内設置が可能なモノポールアンテナを提供できる。
【0092】
さらに本発明によれば、目立たず設置可能なモノポールアンテナを提供できる。
【0093】
以上のことから、 本発明によって低背形状で車内置きに適したモノポールアンテナを提供でき、車両の方向によらず高い感度を得ることが出来る。
【図面の簡単な説明】
【図1】本発明のアンテナの構成を示す図
【図2】本発明のアンテナの電流の概念図
【図3】本発明のアンテナの電流を平衡系と不平衡系に分けた概念図
【図4】給電素子の直径を変化したときのインピーダンスの変化を示す図
【図5】短絡導体の直径を変化したときのインピーダンス変化を示す図
【図6】本発明の2共振アンテナの構成図
【図7】給電素子と片側短絡無給電素子の間隔を変えたときの入力インピーダンスの変化を示す図
【図8】本発明の第1の実施の形態のモノポールアンテナの斜視図
【図9】本発明の第2の実施の形態のモノポールアンテナの斜視図
【図10】本発明の第3の実施の形態のモノポールアンテナの斜視図
【図11】本発明の第4の実施の形態のモノポールアンテナの斜視図
【図12】本発明の第5の実施の形態のモノポールアンテナの斜視図
【図13】片側短絡無給電素子の巾を変えたときの入力インピーダンスの変化を示す図
【図14】本発明の第5の実施の形態のモノポールアンテナの斜視図
【図15】本発明の第5の実施の形態のモノポールアンテナの斜視図
【図16】本発明の第6の実施の形態の通信システムの構成を示す図
【図17】本発明の第7の実施の形態のアンテナの水平面指向性を示す図
【図18】本発明の第8の実施の形態の通信システムの構成を示す図
【図19】本発明の第8の実施の形態の通信システムの構成を示す図
【図20】従来のトップロード型モノポールアンテナを示す図
【図21】従来の2共振トップロード型モノポールアンテナを示す図
【符号の説明】
11 トップロード電極
12 給電素子
13 短絡導体
14 地板導体
15 給電点
16 同軸ケーブル中心導体
17 同軸ケーブル地板導体
21 輪状素子
22 反共振回路
31 直径0.01波長以上の給電素子
32 直径0.01波長以上の短絡導体
61 片側短絡1/4波長無給電素子
81 方形のトップロード電極
91 折り曲げ形状のトップロード電極
101 円形地板導体
111 インピーダンス調整用タップ
121 折り曲げ形状の片側短絡1/4波長無給電素子
141 両側開放の1/2波長無給電素子
161 本発明のアンテナ
162 接続ケーブル
163 無線装置
164 フロントウインドー
165 リアウインドー
191 窪み
192 レドーム
【発明の属する技術分野】
本発明は、移動体無線装置に用いられるモノポールアンテナ装置およびアンテナシステムに関する。特に、車載用として車両内に置かれるモノポールアンテナ装置およびアンテナシステムに関する。
【0002】
【従来の技術】
車載用のアンテナとしてモノポールアンテナ装置は一般的なアンテナである。モノポールアンテナ装置は線状のアンテナで、高さは1/4波長または3/4波長となることが多い。携帯電話機に用いられる900MHzの周波数の場合、1/4波長は83mm、3/4波長で249mmになり、車両のルーフ上または車両内に置かれるアンテナ装置としてサイズが問題になる。
【0003】
ここで、モノポールアンテナを低背化したものとしてトップローディング型モノポールアンテナがある(例えば、非特許文献1参照)。従来のトップローディング型モノポールアンテナの構造を図20に示す。図20(a)は斜視図、(b)はYZ面に直交して見た平面図である。このトップローディング型モノポールアンテナはトップローディング形状の電極(以下、トップロード電極)11と、トップロード電極11に対向して設けられる地板導体14と地板導体14上の給電点と上記トップロード電極11を電気的に接続する給電素子12からなる。上記トップロード電極11と地板導体14とを電気的に接続する短絡導体13はインピーダンスマッチングを良くするために必要に応じて設けられる。ここで、給電点15に給電用同軸ケーブルの中心導体16が接続され、給電用同軸ケーブルの地板導体17は地板導体14に接続される。ここで、給電素子12と短絡導体13は一般的に900MHzの共振周波数を持つアンテナであれば直径1mm程度の導電体(銅など)の導線が用いられる。
【0004】
この従来例のトップローディング型モノポールアンテナは給電素子12の上部に円形平板形状のトップロード電極11を給電素子12と接続して構成したものである。円形平板形状の電極11を用いることで、周波数900MHzであれば1/4波長で83mmの高さが必要であったモノポールアンテナ装置の高さを30〜40mmに低背化できる。
【0005】
さらに複数の共振周波数を有するアンテナとして、トップローディング型モノポールアンテナを用いた2共振アンテナの構造が提案されている(例えば、特許文献1参照)。このアンテナの構成を図21に示す。これはトップローディング形状の電極11の周囲に輪状素子21を配置し、輪状素子21とトップローディング形状の電極11は、コイルおよびコンデンサで形成される反共振回路22を用いて接続する。共振周波数をそれぞれ第1の周波数、第2の周波数とすると、第1の周波数はトップロード電極11と給電素子12により励振される周波数で、第2の周波数は輪状素子21もトップローディング負荷として加わり輪状素子21とトップロード電極11と給電素子12から励振される周波数である。反共振回路22は第1の周波数に対する反共振回路で、第1の周波数においては輪状素子21が接続していない状態と等価にするための機能を持つ。
【0006】
【発明が解決しようとする課題】
次に、従来例に関わる問題点であり、本発明が解決しようとする課題について説明する。
【0007】
第1の課題は、低背時にインピーダンスの整合が困難になるという問題である。
【0008】
アンテナの低背化により、トップロード電極11と地板導体14との間隔が小さくなる。
【0009】
一般に地板導体14を用いたアンテナでは地板導体14が存在することで、地板導体14を挟んで対称に、トップロード電極11上を流れる、地板導体14と平行な電流に対しては、地板導体14から等距離離れて逆向きの電流が存在することと等価になる。これをイメージ電流という。
【0010】
間隔が小さいと、トップロード電極による放射電界はイメージ電流による放射電界に打ち消され小さくなる。これは給電点15の電圧が低くなることを意味している。アンテナに流れる電流は低背化する前と比べ大きく変化しないため、電圧の低下に伴い、入力インピーダンスが低下するのである。
【0011】
第2の課題は、低背時に帯域が狭くなるという課題である。アンテナを使用する通信システムにより使用される帯域は決まっており、そのため、低くする高さにも制限がある。
【0012】
第3の課題は、複数の異なる周波数で共振させることである。近年、移動体通信においては多くの周波数が用いられている。従来の技術に関しての項で例としてあげた900MHzは一般にPDC800MHz帯といわれる周波数(810〜960MHz)を想定している。携帯電話においては上記の800MHz帯以外に1.5GHz帯も使用しており、本発明の使用用途として車載の携帯電話用アンテナを想定しているので、両方の周波数をカバーする必要がある。しかしながら、トップローディングモノポールアンテナを用いた多周波への対応は一般的には行われておらず、従来例で示した構成においても、より簡便に量産するためには反共振回路を使用しない構成が望まれる。
【0013】
第4の課題は小形化する課題である。車内設置するアンテナとしては特に小形形状が望ましい。通常のトップロード型モノポールアンテナは上述のようにアンテナを低背化するとトップロード電極11が大きくなり、地板導体14の必要な大きさも増大する。車内では十分な地板の大きさがとれないことが多いので、アンテナを低背にする高さも制限がある。従来のトップロード型モノポールアンテナでは地板導体14の大きさの制約から共振周波数が900MHzのトップローディングモノポールアンテナにおいてはアンテナ高が30〜40mmと高くなり不向きであった。
【0014】
【課題を解決するための手段】
本発明のアンテナ装置は上記課題を解決するために、地板導体と、上記地板導体と対向して設けられトップローディング部を構成する電極と、給電点と上記電極とを接続する給電素子と、上記電極と上記地板導体とを接続するための短絡導体を備えたトップローディング型モノポールアンテナ装置であって、上記線状素子は断面の外周長が0.03波長以上である構成とする。
【0015】
また、地板導体と、上記地板導体と対向して設けられトップローディング部を構成する電極と、給電点と上記電極とを接続する給電素子と、上記電極と上記接続導体とを接続するための短絡導体を備えたトップローディング型モノポールアンテナ装置であって、上記短絡導体は断面の外周長が0.03波長以上であること構成とする。
【0016】
さらに、地板導体と、上記地板導体と対向して設けられトップローディング部を構成する電極と、給電点と上記電極とを接続する給電素子と、上記電極と上記接続導体とを接続するための短絡導体を備えたトップローディング型モノポールアンテナ装置であって、上記給電素子および上記短絡導体は断面の外周長が0.03波長以上である構成とする。
【0017】
ここで、上記トップローディング部を構成する電極は折り曲げ部を有しても良い。
【0018】
さらに、上記トップローディング部を有する電極は方形であっても良い。
【0019】
また、上記給電点に対して、上記地板導体上に設けた整合回路を介して接続してもよい。
【0020】
また、上記地板導体は円形平板形状であっても良い。
【0021】
また、上記給電導体の両端の間に位置する中間位置と、上記地板導体とを接続するための短絡制御導体をさらに備えても良い。
【0022】
また、本発明のアンテナ装置は、地板導体と、上記地板導体と対向して設けられトップローディング部を構成する電極と、給電点と上記電極とを接続する給電素子と、一端が上記地板導体に接続する第1の導体板を備えたトップローディング型モノポールアンテナ装置であって、第1の導体板は、上記線状素子および上記短絡導体に対し平行な部分を有する構成とする。
【0023】
ここで、第1の導体板は前記第1の導体板の共振周波数の波長に対し巾0.01波長以上であっても良い。
【0024】
また、第1の導体板と前記給電導体の間隔は記第1の導体板の共振周波数の波長に対し0.01波長以内であってもよい。
【0025】
さらに第1の導体板は前記アンテナ装置の動作中心周波数における1/4波長の長さであっても良い。
【0026】
また、一端が上記地板導体に接続する第1の導体板であって、第1の導体板は、上記線状素子および上記短絡導体に対し平行であって、上記電極に対して平行に併設することを特徴する第1の導体板を備えても良い。
【0027】
ここで、第1の導体板は前記第1の導体板の共振周波数の波長に対し巾0.01波長以上であっても良い。
【0028】
さらに、第1の導体板と前記給電導体の間隔は前記第1の導体板の共振周波数の波長に対し0.01波長以内であってもよい。
【0029】
また、第1の導体板は前記アンテナ装置の動作中心周波数における1/4波長の長さであっても良い。
【0030】
さらに、本発明のアンテナ装置は、地板導体と、上記地板導体と対向して設けられトップローディング部を構成する電極と、給電点と上記電極とを接続する給電素子と、上記地板導体および上記電極と平行な第2の導体板を備えた構成とする。
【0031】
ここで、第2の導体板は前記アンテナ装置の動作中心周波数における1/2波長の長さであっても良い。
【0032】
さらに、第2の導体板は上記地板導体および上記電極と平行でも良い。
【0033】
また、第2の導体板は前記アンテナ装置の動作中心周波数における1/2波長の長さであっても良い。
【0034】
また、本発明の通信システムは、車両内部に設置された受信機と、車両ルーフまたはトランクルーフ上に設置され、かつ上記の受信機に接続された本発明のモノポールアンテナ装置を用いた構成とする。
【0035】
さらに、車両内部に設置された受信機と、上記車両内部に設置され、かつ上記の受信機に接続された本発明のモノポールアンテナ装置を用いた構成とする。
【0036】
ここで、上記モノポールアンテナ装置を、上記車両のフロントウインドまたはリアウインド近傍に設置するときにそれぞれ、上記モノポールアンテナの短絡導体と上記給電素子を結ぶ方向と直交する方向に、上記フロントウインドまたは上記リアウインドが位置するように上記モノポールアンテナ装置を設置しても良い。
【0037】
また、上記車両内に凹部を形成し、上記凹部内に上記モノポールアンテナ装置を設置し、上記凹部の開口部をレドームにより覆っても良い。
【0038】
【発明の実施の形態】
以下、図面を参照して本発明に関わる実施の形態について説明する。なお、図面においては、同様の部分については同一の符号を付している。
【0039】
(実施の形態1)
まず、図1から図5を用いて、本発明のアンテナ装置の動作原理を説明する。
【0040】
図1に本発明のトップローディング型モノポールアンテナ装置の構成を示す。従来の技術と比べて異なるのは、直径0.01波長以上の給電素子31および直径0.01波長以上の短絡導体32を用いることで給電点でのインピーダンスマッチングを可能とした点である。この給電素子、短絡導体の直径は従来の技術で900MHzの共振周波数であれば1mmの直径の導体を用いていたことと比較すると、外観の面では直径3mm以上の太い導線を用いている点で異なる。また、直径0.01波長以上の給電素子31および直径0.01波長以上の短絡導体32を用いるということは、すなわち断面の周囲長がそれぞれ0.03波長以上となることを意味する。
【0041】
ここで、インピーダンスマッチングの原理を説明する。図2に示すのはトップローディング型モノポールアンテナに流れる電流の概念図である。本発明のアンテナの電流は放射に関係する不平衡伝送系と、放射には関係せずアンテナのインピーダンスのみに関係する平衡伝送系に分けて解析できる。
【0042】
図3に不平衡伝送系と平衡伝送系を分けて示し説明する。
【0043】
さらに、図3(a)のaa’からアンテナをみたインピーダンスをZuとし、図3(b)のbb’からアンテナを見たインピーダンスをZbとすると、
【0044】
【数1】
【0045】
【数2】
【0046】
の関係がある。
【0047】
さらに、次の連立方程式が図3において成立する。
【0048】
【数3】
【0049】
【数4】
【0050】
【数5】
【0051】
【数6】
【0052】
よって、本発明のアンテナの給電点15におけるインピーダンスZは
【0053】
【数7】
【0054】
で表せる。
【0055】
これは、本発明のアンテナの入力インピーダンスZはνiの関数であることを示している。
【0056】
電流分配率νiは給電素子31の半径ρ1、短絡導体32の半径ρ2、給電素子31と短絡導体32の中心距離sが決まれば、次式で求まる。
【0057】
【数8】
【0058】
これから、ρ1、ρ2の経を制御することで入力インピーダンスZが制御できることがわかる。(8)式は短絡導体32の半径ρ2を増加すれば入力インピーダンスZが増加し、給電素子31の半径ρ1を増加すれば入力インピーダンスZが減少することを意味する。
【0059】
図4に給電素子31の直径を変化したとき、図5に短絡導体32の直径を変化したときの本発明のアンテナの入力インピーダンスの変化を示しこれを確かめる。
【0060】
図4(a)の左の図に示すのはスミスチャートと呼ぶインピーダンスの変化を示すための図である。スミスチャートの中心を通る線A−A’をスミスチャートの円弧が横切る位置Bが入力インピーダンスを表している。線A−A’においてインピーダンスはA側が低くA’側が高い。中心位置が整合している点である。ここで図4(b)、(c)と給電素子31の直径を大きくすると入力インピーダンスは低くなっている。また、図4(b)である給電素子31の直径3mmでほぼ整合しており、給電素子31の直径を変化させることで入力インピーダンスを整合できることがわかる。また、図5において短絡導体32の直径を変化させたときのインピーダンス変化からわかるように、短絡導体32の直径を大きくすることで、入力インピーダンスは高くなる。短絡導体32の直径だけを変化させても入力インピーダンスは整合できる。この結果は(8)式の結果と良く合っており、入力インピーダンスの課題に対しては給電素子31または短絡導体32の直径を変化させることで解決できたことがわかる。
【0061】
帯域幅に関しては、給電素子31の直径と短絡導体32の直径を適切に選択することで広げることが出来る。図4(a)、(b)、(c)は上述のように給電素子31の直径を変化させた時のインピーダンスの変化で、右側の図から帯域幅の拡大がわかる。これを以下に説明する。図4(a)の右側に示した図は給電素子31の直径を変化したときのVSWRの変化を示す図である。この図の横軸は周波数、縦軸はVSWRである。図中にC−C’で示す横線がVSWR=3の線で、VSWR=3以下をこのアンテナの使用可能な帯域と定義する。給電素子31の直径が1mmの図4(a)においてはVSWR=3を下回る帯域幅は80MHzで、給電素子31の直径が3mmの図4(b)では150MHz、給電素子31の直径が3mmの図4(b)では190MHzとなり、給電素子31の直径が大きくなるほど帯域が増加することがわかる。ただし、上述したように給電素子31の直径を大きくすると入力インピーダンスが低下するので、短絡導体32を適切な太さにして入力インピーダンスを整合させる必要がある。すなわち給電素子31と短絡導体32の直径を900MHzであればともに3mm以上つまり0.01波長以上の直径とすることで広帯域化が出来ることがわかる。
【0062】
図8は、本発明の第1の実施例に関わるトップローディング型モノポールアンテナ装置の構成を示す斜視図である。この第1の実施の形態のトップローディング型モノポールアンテナ装置は1点目のインピーダンスの整合に関する課題および2点目の帯域に関する課題に対する解決手段を提供するものである。
【0063】
図8に図示される第1の実施例に関わるアンテナは以下の点で従来のアンテナ形状と異なることを特徴としている。
【0064】
(1)線状素子の断面の周囲長が0.03波長となる。具体的には共振周波数900MHzのアンテナに対しては直径が約3mm以上の導体あるいは中空導体で線状素子が構成される。
【0065】
(2)短絡導体の断面の周囲長が0.03波長となる。具体的には共振周波数900MHzのアンテナに対しては直径が約3mm以上の導体あるいは中空導体で線状素子が構成される。
【0066】
図8に示すように本発明のトップローディング型モノポールアンテナ装置は、トップローディングのための円形平板形状の電極と電極と対向して設けられ平板形状の地板導体と給電点と電極とを電気的に接続する断面の周囲長が0.03波長以上の給電素子31と、電極と地板導体とを電気的に接続する断面の周囲長が0.03波長以上の短絡導体32から構成される。ここで、給電点には給電用同軸ケーブルの中心導体が接続され、給電用同軸ケーブルの地板導体は本発明のアンテナ装置の地板導体に接続される。
【0067】
本実施の形態において、電極の半径は1/4波長ないし1/6波長となる。また、地板導体の半径は好ましくは1/2波長以上に設定される。さらに当該アンテナの高さは、実施の形態においては1/8波長ないし1/10波長である。なお、本実施の形態およびそれ以降で説明する実施の形態および変形例において、1波長は当該アンテナが動作する動作中心周波数に対応する長さである。
【0068】
(実施の形態2)
図9は本発明の第2の実施の形態に関わるトップローディング型モノポールアンテナの構成を示す斜視図である。図9に示す実施例は折り曲げられたトップロード電極91、給電素子31、短絡導体32、地板導体14から構成される。本実施例に関わるトップローディング型モノポールアンテナ装置は、第1の実施の形態のアンテナ装置と比較し、トップローディング電極部が折り曲げ部を有する点で異なる。
【0069】
図9のようにトップローディング部が折り曲げられることで、電極の上部から見たときの投影面積を小さくできる。さらに、トップローディング電極91の表面積においても折り曲げ部を有することで、折り曲げられた先端部と地板電極間に生じる容量性のリアクタンス成分が大きくなり、表面積が小さくなり、小型化に寄与する。
【0070】
(実施の形態3)
図10は本発明の第3の実施の形態にかかわるトップローディング型モノポールアンテナの構成を示す斜視図である。図10に示す実施例はトップロード電極91、給電素子31、短絡導体32、円形地板導体101から構成される。本実施例にかかわるトップローディング型モノポールアンテナ装置は第1の実施の形態のアンテナと比較し、地板導体が円形形状をしている点で異なる。このように円形の形状とすることで本実施例のトップローディング型モノポールアンテナを設置する際に設置方向を自由に回転することが可能となる。
【0071】
(実施の形態4)
図11は本発明の第4の実施の形態にかかわるトップローディング型モノポールアンテナの構成を示す斜視図である。図11に示す実施例はトップロード電極91、給電素子31、短絡導体32、地板導体14、給電素子13の一部と地板導体14を接続するインピーダンス調整用タップ111から構成される。本実施例にかかわるトップローディング型モノポールアンテナは、地板と給電素子を接続するインピーダンス調整用タップ111を有する点で第1の実施の形態と異なる。この導線によって給電点での電流量を調整することが出来る。入力インピーダンスは給電点での電圧と電流により決まるので、インピーダンス調整用タップ111を用いることで入力インピーダンスを微調整することが可能となる。
【0072】
(実施の形態5)
図6および図7および図12から図15は本発明によるモノポールアンテナの第5の実施の形態に関係する図を示すものである。図6および図7を用いて、無給電素子をもちいて複数の周波数で共振させる動作原理について説明する。図6のように片側を短絡した無給電素子を併設すると、前記無給電素子の長さが約1/4波長に相当する任意の周波数で前記無給電素子を共振させることが出来る。図7は給電素子31と片側短絡無給電素子81との間隔を変えたときの、入力インピーダンスの変化を示す図である。右側の図がVSWRと周波数の関係を示す図で、C−C’に示すVSWR=3の線を高い周波数で下回る部分F2が片側短絡無給電素子により生じた共振である。図7(a)は給電素子31と片側短絡無給電素子の間隔が1.0mmのときのVSWR変化を示しているが、一方図7(b)の給電素子31と片側短絡無給電素子の間隔が1.5mmのときのVSWR変化では共振周波数F2の時のVSWRの値は高くなり、図7(c)ではさらに高くなっている。このことから、無給電素子は給電素子との間隔が小さいほど放射電力が大きくなることがわかる。つまり、1.5GHzで2mm以下つまり0.1波長以下に給電素子31と片側短絡無給電素子の間隔を近づけることによって、2周波で共振するアンテナを実現し課題を解決できることがわかった。
【0073】
図12に示す実施例はトップロード電極11、給電素子31、短絡導体32、地板導体14、折り曲げ形状の片側短絡1/4波長無給電素子121から構成される。
【0074】
第1の実施の形態との違いは、折り曲げ形状の片側短絡1/4波長無給電素子121を有することである。この折り曲げ形状の片側短絡1/4波長無給電素子121は課題を解決する手段の項で前述したように給電素子31およびトップロード電極11からの誘導電流によりアンテナとして機能する。折り曲げ形状の片側短絡1/4波長無給電素子121の共振の中心周波数は任意に設定することが出来る。この時の折り曲げ形状の片側短絡1/4波長無給電素子121の長さは所望の共振の中心周波数の波長に対して1/4波長となることが望ましい。
【0075】
折り曲げ形状の片側短絡1/4波長無給電素子121の巾を変化させたときのインピーダンス変化を図13に示す。図13(a)が巾3mm、(b)が巾5mm、(c)が巾7mmの場合である。VSWRと周波数の関係を見ると、VSWR=3の位置を無給電素子による共振周波数F2で下回る部分は(a)の巾3mmでは下がりきらず(b)の巾5mm以降で生じることがわかる。(a)の場合を境界線と考えて、折り曲げ形状の片側短絡1/4波長無給電素子121は1.5GHz帯において巾3mm以上つまり0.15波長以上であればよいことがわかった。
【0076】
折り曲げ形状の片側短絡1/4波長無給電素子121は図12に示すように複数回折り曲げられた形状でも良いし、図6の61にしめすように1度だけ折り曲げられた形状でも良い。
【0077】
図14に示すのは、本実施例の異なる構成である。ここでは、折り曲げ形状の片側短絡1/4波長無給電素子121ではなく、両側開放の1/2波長無給電素子141である。この両側開放の1/2波長無給電素子141においても、トップロード電極11からの誘導電流によりアンテナとして機能する。この両側開放の1/2波長無給電素子141の長さは1/2波長となるのが望ましい。なぜなら、両方の端部が開放されているため両端での電流がゼロとなり、両側開放の1/2波長無給電素子141の中央の電流が最大となる。これは1/2波長の時に共振となる条件だからである。
【0078】
さらに図15に折り曲げ形状の片側短絡1/4波長無給電素子121を用い、折り曲げたトップロード電極とした構成として示した。図15の形状とすることで、小型で2つの周波数に共振を有するモノポールアンテナを実現できる。
【0079】
ここでは、給電素子31、短絡導体32として、断面の外周長が0.03波長以上の場合について説明したが、断面の外周長が0.03波長以下の場合においても同様の効果が得られる。
【0080】
さらに、短絡導体32がない場合においても折り曲げ形状の片側短絡1/4波長無給電素子121または両側開放の1/2波長無給電素子141を設けることで2周波化が図れる。
【0081】
さらに、折り曲げ形状の片側短絡1/4波長無給電素子121または両側開放の1/2波長無給電素子141を複数設置することで、2周波数以上、たとえば3周波数、4周波数に適合するダイポールアンテナ装置を提供することができる。
【0082】
(実施の形態6)
車内設置に関しては、小型のアンテナ形状とすることで解決する。本発明のアンテナは900MHzの共振周波数で、高さ20mm、巾30mm、奥行き30mmの大きさで実現できる。従来技術においては同じ共振周波数において高さ40mm、巾、奥行きは60mm程度の大きさであった。小型化することでアンテナ下方に必要となる地板導体の寸法を小さくすることができ、それにより地板導体の面積の小さい車内においても設置することが出来る。図16、17は本発明によるモノポールアンテナの第6の実施の形態に関係する図を示すものである。図16に示すのは車内における本発明のアンテナ161の設置方法である。本発明のアンテナは車内のリアウインドー165側に設置する。この時、無線装置163は車内に置き、無線装置163と本発明のアンテナ161は接続ケーブル162で接続する。本発明のアンテナ161は短絡導体32を有している。図17に本発明のアンテナの水平面の指向性を示す。この図17に示すように、短絡導体32と給電素子31を結んだ線と直交する方向に感度が高くなるので、この方向がリアウインドー165側になるように位置させることで車両の前後方向の感度が高くなる。
【0083】
本発明のアンテナは従来のトップロード型モノポールアンテナに比べトップロード電極11が小さくなるため地板導体14の必要となる大きさも小さくできる。それにより、車内設置に適している。車内に置くことで接続ケーブル162も短くでき、接続ケーブル162による車両ノイズ混入の確率を抑えさらに信号の劣化も抑えることが出来る。
【0084】
さらに、本発明のアンテナ161はフロントウインドー164側に位置しても良い。
【0085】
(実施の形態7)
図17は本発明によるモノポールアンテナの第7の実施の形態に関係する図を示すものである。図17に示すのは本発明のアンテナ161を車内に2つ配置するときの設置方法である。本発明の実施例6と異なり、2つのアンテナを設置する時には、1つはフロントウインドー164寄りに設置し、他方はリアウインドー165寄りに設置する。車両両サイド方向へも本発明のアンテナ161が2つあることで高い指向性が得られるので、車両に対し全方向に高い指向性を得ることが出来る。
【0086】
ここで、フロントウインドー164方向およびリアウインドー165方向に各2つずつのアンテナを設置した場合は、同じウインドー側にあるアンテナ間の距離の差によって、ダイバーシチー効果が得られ、より安定した感度が期待できる。
【0087】
(実施の形態8)
図18は本発明によるモノポールアンテナの第8の実施の形態に関係する図を示すものである。図19に示すのは本発明のアンテナ161を車内あるいは車外に設置するときに目立たなく設置するための設置方法である。本発明のアンテナ161を窪み191内に設置し、レドーム192を被せる。レドーム192は導電体以外の材料で作成する。
【0088】
【発明の効果】
これまで、述べたように本発明によれば、低背形状で整合が可能なモノポールアンテナを提供できる。
【0089】
さらに本発明によれば、トップロード部の電極が小さなモノポールアンテナを提供できる。
【0090】
さらに本発明によれば、広帯域な低背形状のモノポールアンテナを提供できる。
【0091】
さらに本発明によれば、車内設置が可能なモノポールアンテナを提供できる。
【0092】
さらに本発明によれば、目立たず設置可能なモノポールアンテナを提供できる。
【0093】
以上のことから、 本発明によって低背形状で車内置きに適したモノポールアンテナを提供でき、車両の方向によらず高い感度を得ることが出来る。
【図面の簡単な説明】
【図1】本発明のアンテナの構成を示す図
【図2】本発明のアンテナの電流の概念図
【図3】本発明のアンテナの電流を平衡系と不平衡系に分けた概念図
【図4】給電素子の直径を変化したときのインピーダンスの変化を示す図
【図5】短絡導体の直径を変化したときのインピーダンス変化を示す図
【図6】本発明の2共振アンテナの構成図
【図7】給電素子と片側短絡無給電素子の間隔を変えたときの入力インピーダンスの変化を示す図
【図8】本発明の第1の実施の形態のモノポールアンテナの斜視図
【図9】本発明の第2の実施の形態のモノポールアンテナの斜視図
【図10】本発明の第3の実施の形態のモノポールアンテナの斜視図
【図11】本発明の第4の実施の形態のモノポールアンテナの斜視図
【図12】本発明の第5の実施の形態のモノポールアンテナの斜視図
【図13】片側短絡無給電素子の巾を変えたときの入力インピーダンスの変化を示す図
【図14】本発明の第5の実施の形態のモノポールアンテナの斜視図
【図15】本発明の第5の実施の形態のモノポールアンテナの斜視図
【図16】本発明の第6の実施の形態の通信システムの構成を示す図
【図17】本発明の第7の実施の形態のアンテナの水平面指向性を示す図
【図18】本発明の第8の実施の形態の通信システムの構成を示す図
【図19】本発明の第8の実施の形態の通信システムの構成を示す図
【図20】従来のトップロード型モノポールアンテナを示す図
【図21】従来の2共振トップロード型モノポールアンテナを示す図
【符号の説明】
11 トップロード電極
12 給電素子
13 短絡導体
14 地板導体
15 給電点
16 同軸ケーブル中心導体
17 同軸ケーブル地板導体
21 輪状素子
22 反共振回路
31 直径0.01波長以上の給電素子
32 直径0.01波長以上の短絡導体
61 片側短絡1/4波長無給電素子
81 方形のトップロード電極
91 折り曲げ形状のトップロード電極
101 円形地板導体
111 インピーダンス調整用タップ
121 折り曲げ形状の片側短絡1/4波長無給電素子
141 両側開放の1/2波長無給電素子
161 本発明のアンテナ
162 接続ケーブル
163 無線装置
164 フロントウインドー
165 リアウインドー
191 窪み
192 レドーム
Claims (24)
- 地板導体と、上記地板導体と対向して設けられトップローディング部を構成する電極と、給電点と上記電極とを接続する給電素子と、上記電極と上記地板導体とを接続するための短絡導体を備えたトップローディング型モノポールアンテナ装置において、上記線状素子は断面の外周長が0.03波長以上であることを特徴とするモノポールアンテナ装置。
- 地板導体と、上記地板導体と対向して設けられトップローディング部を構成する電極と、給電点と上記電極とを接続する給電素子と、上記電極と上記接続導体とを接続するための短絡導体を備えたトップローディング型モノポールアンテナ装置において、上記短絡導体は断面の外周長が0.03波長以上であることを特徴とするモノポールアンテナ装置。
- 地板導体と、上記地板導体と対向して設けられトップローディング部を構成する電極と、給電点と上記電極とを接続する給電素子と、上記電極と上記接続導体とを接続するための短絡導体を備えたトップローディング型モノポールアンテナ装置において、上記給電素子および上記短絡導体は断面の外周長が0.03波長以上であることを特徴とするモノポールアンテナ装置。
- 上記トップローディング部を構成する電極は折り曲げ部を有することを特徴とする請求項1から3のいずれかに記載のモノポールアンテナ装置。
- 上記トップローディング部を有する電極は方形であることを特徴とする請求項1から3のいずれかに記載のモノポールアンテナ装置。
- 上記給電点に対して、上記地板導体上に設けた整合回路を介して接続することを特徴とする請求項1から5のいずれかに記載のモノポールアンテナ装置。
- 上記地板導体は円形平板形状であることを特徴とする請求項1から6のいずれかに記載のモノポールアンテナ装置。
- 上記給電導体の両端の間に位置する中間位置と、上記地板導体とを接続するための短絡制御導体をさらに備えたことを特徴とする請求項1から7のいずれかに記載のモノポールアンテナ装置。
- 地板導体と、上記地板導体と対向して設けられトップローディング部を構成する電極と、給電点と上記電極とを接続する給電素子と、一端が上記地板導体に接続する第1の導体板を備えたトップローディング型モノポールアンテナ装置であって、第1の導体板は、上記線状素子および上記短絡導体に対し平行な部分を有することを特徴するモノポールアンテナ装置。
- 地板導体と、上記地板導体と対向して設けられトップローディング部を構成する電極と、給電点と上記電極とを接続する給電素子と、上記地板導体および上記電極と平行な第2の導体板を備えたトップローディング型モノポールアンテナ装置。
- 第1の導体板は前記第1の導体板の共振周波数の波長に対し巾0.01波長以上であることを特徴とする請求項9記載のモノポールアンテナ装置。
- 第1の導体板と前記給電導体の間隔は記第1の導体板の共振周波数の波長に対し0.01波長以内であることを特徴とする請求項9記載のモノポールアンテナ装置。
- 第1の導体板は前記アンテナ装置の動作中心周波数における1/4波長の長さであることを特徴とする請求項9記載のモノポールアンテナ装置。
- 第2の導体板は前記アンテナ装置の動作中心周波数における1/2波長の長さであることを特徴とする請求項10記載のモノポールアンテナ装置。
- 一端が上記地板導体に接続する第1の導体板であって、第1の導体板は、上記線状素子および上記短絡導体に対し平行であって、上記電極に対して平行に併設することを特徴する第1の導体板を備えた請求項1から8のいずれかに記載のモノポールアンテナ装置。
- 上記地板導体および上記電極と平行な第2の導体板を備えることを特徴とする請求項1から8のいずれかに記載のモノポールアンテナ装置。
- 第1の導体板は前記第1の導体板の共振周波数の波長に対し巾0.01波長以上であることを特徴とする請求項15記載のモノポールアンテナ装置。
- 第1の導体板と前記給電導体の間隔は記第1の導体板の共振周波数の波長に対し0.01波長以内であることを特徴とする請求項15記載のモノポールアンテナ装置。
- 第1の導体板は前記アンテナ装置の動作中心周波数における1/4波長の長さであることを特徴とする請求項15記載のモノポールアンテナ装置。
- 第2の導体板は前記アンテナ装置の動作中心周波数における1/2波長の長さであることを特徴とする請求項16記載のモノポールアンテナ装置。
- 車両内部に設置された受信機と、車両ルーフまたはトランクルーフ上に設置され、かつ上記の受信機に接続された請求項1から20のいずれかに記載のモノポールアンテナ装置を用いた通信システム。
- 車両内部に設置された受信機と、上記車両内部に設置され、かつ上記の受信機に接続された請求項1から20のいずれかに記載のモノポールアンテナ装置を用いた通信システム。
- 上記モノポールアンテナ装置を、上記車両のフロントウインドまたはリアウインド近傍に設置するときにそれぞれ、上記モノポールアンテナの短絡導体と上記給電素子を結ぶ方向と直交する方向に、上記フロントウインドまたは上記リアウインドが位置するように上記モノポールアンテナ装置を設置したことを特徴とする請求項22記載の通信システム。
- 上記車両内に凹部を形成し、上記凹部内に上記モノポールアンテナ装置を設置し、上記凹部の開口部をレドームにより覆うことを特徴とする請求項20から23のいずれかに記載の通信システム。
Priority Applications (1)
| Application Number | Priority Date | Filing Date | Title |
|---|---|---|---|
| JP2002243060A JP2004088198A (ja) | 2002-08-23 | 2002-08-23 | モノポールアンテナ装置およびこれを用いた通信システム |
Applications Claiming Priority (1)
| Application Number | Priority Date | Filing Date | Title |
|---|---|---|---|
| JP2002243060A JP2004088198A (ja) | 2002-08-23 | 2002-08-23 | モノポールアンテナ装置およびこれを用いた通信システム |
Publications (1)
| Publication Number | Publication Date |
|---|---|
| JP2004088198A true JP2004088198A (ja) | 2004-03-18 |
Family
ID=32051918
Family Applications (1)
| Application Number | Title | Priority Date | Filing Date |
|---|---|---|---|
| JP2002243060A Withdrawn JP2004088198A (ja) | 2002-08-23 | 2002-08-23 | モノポールアンテナ装置およびこれを用いた通信システム |
Country Status (1)
| Country | Link |
|---|---|
| JP (1) | JP2004088198A (ja) |
Cited By (17)
| Publication number | Priority date | Publication date | Assignee | Title |
|---|---|---|---|---|
| JP2005295188A (ja) * | 2004-03-31 | 2005-10-20 | Sony Corp | マルチビームアンテナ |
| JP2006109372A (ja) * | 2004-10-08 | 2006-04-20 | Ricoh Co Ltd | 指向性制御マイクロストリップアンテナ |
| CN1870350B (zh) * | 2005-05-27 | 2010-08-18 | 广州市赛乐通信科技有限公司 | 一种宽频带对称振子天线 |
| JP2011120107A (ja) * | 2009-12-04 | 2011-06-16 | Samsung Electronics Co Ltd | アンテナ装置 |
| JP2011166416A (ja) * | 2010-02-09 | 2011-08-25 | Toyota Central R&D Labs Inc | アンテナ装置 |
| JP2013055407A (ja) * | 2011-09-01 | 2013-03-21 | Mitsubishi Electric Corp | アンテナ装置 |
| JP2015537427A (ja) * | 2012-10-10 | 2015-12-24 | デジタル バリアーズ サービシズ リミテッド | 無人地上センサ用のアンテナ |
| JP2016001791A (ja) * | 2014-06-11 | 2016-01-07 | 株式会社デンソー | アンテナ装置 |
| JP2017022518A (ja) * | 2015-07-09 | 2017-01-26 | 太平洋工業株式会社 | アンテナマッチング回路 |
| KR20180046090A (ko) * | 2016-10-27 | 2018-05-08 | 충남대학교산학협력단 | 지뢰 장착용 미앤더 탑로딩 안테나 |
| WO2018180839A1 (ja) * | 2017-03-29 | 2018-10-04 | 株式会社ヨコオ | アンテナ装置 |
| CN109860976A (zh) * | 2019-02-26 | 2019-06-07 | 深圳市卓睿通信技术有限公司 | 一种基于差分谐振器馈电的宽带贴片天线 |
| WO2022024966A1 (ja) * | 2020-07-27 | 2022-02-03 | 株式会社ヨコオ | 車載用アンテナ装置 |
| CN115067897A (zh) * | 2021-03-16 | 2022-09-20 | 佳能医疗系统株式会社 | 生物体信息监视装置以及磁共振成像装置 |
| CN115764275A (zh) * | 2022-11-22 | 2023-03-07 | 北京京东方技术开发有限公司 | 一种天线、天线阵列及电子设备 |
| US20230187827A1 (en) * | 2020-04-06 | 2023-06-15 | Huawei Technologies Co., Ltd. | Dual Mode Antenna Arrangement |
| JP2023109611A (ja) * | 2022-01-27 | 2023-08-08 | 株式会社Soken | アンテナ装置 |
-
2002
- 2002-08-23 JP JP2002243060A patent/JP2004088198A/ja not_active Withdrawn
Cited By (30)
| Publication number | Priority date | Publication date | Assignee | Title |
|---|---|---|---|---|
| JP2005295188A (ja) * | 2004-03-31 | 2005-10-20 | Sony Corp | マルチビームアンテナ |
| JP2006109372A (ja) * | 2004-10-08 | 2006-04-20 | Ricoh Co Ltd | 指向性制御マイクロストリップアンテナ |
| CN1870350B (zh) * | 2005-05-27 | 2010-08-18 | 广州市赛乐通信科技有限公司 | 一种宽频带对称振子天线 |
| JP2011120107A (ja) * | 2009-12-04 | 2011-06-16 | Samsung Electronics Co Ltd | アンテナ装置 |
| JP2011166416A (ja) * | 2010-02-09 | 2011-08-25 | Toyota Central R&D Labs Inc | アンテナ装置 |
| JP2013055407A (ja) * | 2011-09-01 | 2013-03-21 | Mitsubishi Electric Corp | アンテナ装置 |
| JP2015537427A (ja) * | 2012-10-10 | 2015-12-24 | デジタル バリアーズ サービシズ リミテッド | 無人地上センサ用のアンテナ |
| JP2016001791A (ja) * | 2014-06-11 | 2016-01-07 | 株式会社デンソー | アンテナ装置 |
| JP2017022518A (ja) * | 2015-07-09 | 2017-01-26 | 太平洋工業株式会社 | アンテナマッチング回路 |
| KR20180046090A (ko) * | 2016-10-27 | 2018-05-08 | 충남대학교산학협력단 | 지뢰 장착용 미앤더 탑로딩 안테나 |
| KR101869285B1 (ko) * | 2016-10-27 | 2018-06-20 | 충남대학교 산학협력단 | 지뢰 장착용 미앤더 탑로딩 안테나 |
| WO2018180839A1 (ja) * | 2017-03-29 | 2018-10-04 | 株式会社ヨコオ | アンテナ装置 |
| JP7771321B2 (ja) | 2017-03-29 | 2025-11-17 | 株式会社ヨコオ | アンテナ装置 |
| CN110495052A (zh) * | 2017-03-29 | 2019-11-22 | 株式会社友华 | 天线装置 |
| US11502409B2 (en) | 2017-03-29 | 2022-11-15 | Yokowo Co., Ltd. | Antenna device |
| US12191577B2 (en) | 2017-03-29 | 2025-01-07 | Yokowo Co., Ltd. | Antenna device |
| JP2024174097A (ja) * | 2017-03-29 | 2024-12-13 | 株式会社ヨコオ | アンテナ装置 |
| CN110495052B (zh) * | 2017-03-29 | 2023-02-17 | 株式会社友华 | 天线装置 |
| CN109860976B (zh) * | 2019-02-26 | 2021-05-07 | 深圳市卓睿通信技术有限公司 | 一种基于差分谐振器馈电的宽带贴片天线 |
| CN109860976A (zh) * | 2019-02-26 | 2019-06-07 | 深圳市卓睿通信技术有限公司 | 一种基于差分谐振器馈电的宽带贴片天线 |
| US20230187827A1 (en) * | 2020-04-06 | 2023-06-15 | Huawei Technologies Co., Ltd. | Dual Mode Antenna Arrangement |
| US12334648B2 (en) * | 2020-04-06 | 2025-06-17 | Huawei Technologies Co., Ltd. | Dual mode antenna arrangement |
| JPWO2022024966A1 (ja) * | 2020-07-27 | 2022-02-03 | ||
| WO2022024966A1 (ja) * | 2020-07-27 | 2022-02-03 | 株式会社ヨコオ | 車載用アンテナ装置 |
| JP7611922B2 (ja) | 2020-07-27 | 2025-01-10 | 株式会社ヨコオ | 車載用アンテナ装置 |
| US12294144B2 (en) | 2020-07-27 | 2025-05-06 | Yokowo Co., Ltd. | Antenna device for vehicle |
| CN115067897A (zh) * | 2021-03-16 | 2022-09-20 | 佳能医疗系统株式会社 | 生物体信息监视装置以及磁共振成像装置 |
| JP2023109611A (ja) * | 2022-01-27 | 2023-08-08 | 株式会社Soken | アンテナ装置 |
| JP7673655B2 (ja) | 2022-01-27 | 2025-05-09 | 株式会社Soken | アンテナ装置 |
| CN115764275A (zh) * | 2022-11-22 | 2023-03-07 | 北京京东方技术开发有限公司 | 一种天线、天线阵列及电子设备 |
Similar Documents
| Publication | Publication Date | Title |
|---|---|---|
| JP4372156B2 (ja) | アンテナ装置およびそのアンテナ装置を用いた無線端末 | |
| US7339528B2 (en) | Antenna for mobile communication terminals | |
| US11522278B2 (en) | Antenna device, window glass for vehicle, and window glass structure | |
| US8618993B2 (en) | Loop antenna | |
| US6917341B2 (en) | Top-loading monopole antenna apparatus with short-circuit conductor connected between top-loading electrode and grounding conductor | |
| CN103081220B (zh) | 天线装置及无线通信机 | |
| JP2004088198A (ja) | モノポールアンテナ装置およびこれを用いた通信システム | |
| US20100013730A1 (en) | Antenna arrangement | |
| JP2002043826A (ja) | アンテナ装置 | |
| JP2002524954A (ja) | 円偏波された誘電体共振器アンテナ | |
| US20040201524A1 (en) | Patch antenna apparatus preferable for receiving ground wave and signal wave from low elevation angle satellite | |
| US7830329B2 (en) | Composite antenna and portable terminal using same | |
| WO2016030038A2 (en) | Decoupled antennas for wireless communication | |
| JP2004072731A (ja) | モノポールアンテナ装置、通信システム及び移動体通信システム | |
| JPH08204431A (ja) | 多共振アンテナ装置 | |
| US8665169B2 (en) | Monopole antenna | |
| JP2005167619A (ja) | アンテナ装置 | |
| KR101049724B1 (ko) | 독립 조절이 가능하고 절곡부를 가지는 다중 대역 안테나 | |
| JP4112136B2 (ja) | 多周波共用アンテナ | |
| US9054426B2 (en) | Radio apparatus and antenna device | |
| JP2003168916A (ja) | アンテナ装置 | |
| JP2003338783A (ja) | アンテナ装置 | |
| US8648754B2 (en) | Multi-resonant broadband antenna | |
| JPWO2010150543A1 (ja) | 携帯無線端末 | |
| EP1527498B1 (en) | Integrated loop antenna for vehicular applications |
Legal Events
| Date | Code | Title | Description |
|---|---|---|---|
| A621 | Written request for application examination |
Free format text: JAPANESE INTERMEDIATE CODE: A621 Effective date: 20050603 |
|
| RD01 | Notification of change of attorney |
Free format text: JAPANESE INTERMEDIATE CODE: A7421 Effective date: 20050713 |
|
| A761 | Written withdrawal of application |
Free format text: JAPANESE INTERMEDIATE CODE: A761 Effective date: 20060711 |
