JP2010086591A - 磁気ディスクの製造方法 - Google Patents
磁気ディスクの製造方法 Download PDFInfo
- Publication number
- JP2010086591A JP2010086591A JP2008253081A JP2008253081A JP2010086591A JP 2010086591 A JP2010086591 A JP 2010086591A JP 2008253081 A JP2008253081 A JP 2008253081A JP 2008253081 A JP2008253081 A JP 2008253081A JP 2010086591 A JP2010086591 A JP 2010086591A
- Authority
- JP
- Japan
- Prior art keywords
- magnetic disk
- magnetic
- head
- magnetic head
- disk
- Prior art date
- Legal status (The legal status is an assumption and is not a legal conclusion. Google has not performed a legal analysis and makes no representation as to the accuracy of the status listed.)
- Granted
Links
- 238000004519 manufacturing process Methods 0.000 title claims abstract description 18
- 238000000034 method Methods 0.000 title abstract description 23
- 239000000314 lubricant Substances 0.000 claims abstract description 43
- 238000005259 measurement Methods 0.000 claims abstract description 32
- 238000011156 evaluation Methods 0.000 claims description 12
- 238000000926 separation method Methods 0.000 claims description 10
- 238000005461 lubrication Methods 0.000 claims description 3
- 230000003247 decreasing effect Effects 0.000 claims description 2
- 238000012360 testing method Methods 0.000 abstract description 28
- 230000002596 correlated effect Effects 0.000 abstract description 3
- 239000010410 layer Substances 0.000 description 36
- 230000001050 lubricating effect Effects 0.000 description 14
- 239000011241 protective layer Substances 0.000 description 10
- 239000000758 substrate Substances 0.000 description 10
- 238000012546 transfer Methods 0.000 description 9
- 230000005499 meniscus Effects 0.000 description 6
- 239000010702 perfluoropolyether Substances 0.000 description 6
- 238000004833 X-ray photoelectron spectroscopy Methods 0.000 description 4
- 238000010586 diagram Methods 0.000 description 4
- 238000005229 chemical vapour deposition Methods 0.000 description 3
- 239000011521 glass Substances 0.000 description 3
- 238000007689 inspection Methods 0.000 description 3
- 238000012986 modification Methods 0.000 description 3
- 230000004048 modification Effects 0.000 description 3
- OKTJSMMVPCPJKN-UHFFFAOYSA-N Carbon Chemical compound [C] OKTJSMMVPCPJKN-UHFFFAOYSA-N 0.000 description 2
- 229910052799 carbon Inorganic materials 0.000 description 2
- 238000003618 dip coating Methods 0.000 description 2
- 230000000694 effects Effects 0.000 description 2
- 238000011835 investigation Methods 0.000 description 2
- 239000007788 liquid Substances 0.000 description 2
- 239000000463 material Substances 0.000 description 2
- 230000003287 optical effect Effects 0.000 description 2
- 230000003595 spectral effect Effects 0.000 description 2
- 230000003746 surface roughness Effects 0.000 description 2
- 238000011179 visual inspection Methods 0.000 description 2
- 239000004721 Polyphenylene oxide Substances 0.000 description 1
- XUIMIQQOPSSXEZ-UHFFFAOYSA-N Silicon Chemical compound [Si] XUIMIQQOPSSXEZ-UHFFFAOYSA-N 0.000 description 1
- XAGFODPZIPBFFR-UHFFFAOYSA-N aluminium Chemical compound [Al] XAGFODPZIPBFFR-UHFFFAOYSA-N 0.000 description 1
- 229910052782 aluminium Inorganic materials 0.000 description 1
- 239000005354 aluminosilicate glass Substances 0.000 description 1
- 239000003795 chemical substances by application Substances 0.000 description 1
- 230000000875 corresponding effect Effects 0.000 description 1
- 238000000151 deposition Methods 0.000 description 1
- 238000001514 detection method Methods 0.000 description 1
- 238000001941 electron spectroscopy Methods 0.000 description 1
- 238000005516 engineering process Methods 0.000 description 1
- 230000004907 flux Effects 0.000 description 1
- 230000010365 information processing Effects 0.000 description 1
- 238000002955 isolation Methods 0.000 description 1
- 239000010687 lubricating oil Substances 0.000 description 1
- 230000005415 magnetization Effects 0.000 description 1
- 238000001755 magnetron sputter deposition Methods 0.000 description 1
- 125000004433 nitrogen atom Chemical group N* 0.000 description 1
- 125000005010 perfluoroalkyl group Chemical group 0.000 description 1
- 230000002093 peripheral effect Effects 0.000 description 1
- 239000004033 plastic Substances 0.000 description 1
- 229920000570 polyether Polymers 0.000 description 1
- 238000003825 pressing Methods 0.000 description 1
- 238000012545 processing Methods 0.000 description 1
- 229910052710 silicon Inorganic materials 0.000 description 1
- 239000010703 silicon Substances 0.000 description 1
- 238000001179 sorption measurement Methods 0.000 description 1
- 238000004544 sputter deposition Methods 0.000 description 1
- 238000001771 vacuum deposition Methods 0.000 description 1
Images
Landscapes
- Magnetic Record Carriers (AREA)
- Manufacturing Of Magnetic Record Carriers (AREA)
Abstract
【解決手段】磁気ディスクを回転させた状態で、測定環境の気圧を徐々に減少させることにより磁気ヘッドを磁気ディスクの表面に接触させた後、測定環境の気圧を徐々に増加させることで磁気ヘッドが磁気ディスクの表面から浮上したときの圧力を測定し、測定した圧力以下の気圧において測定環境の気圧を急速に増加させて磁気ヘッドを磁気ディスクの表面から引き離し、このときの磁気ヘッドのスライダ表面への潤滑剤の付着量を判定する。これにより、ロード・アンロード耐久試験との相関をとれることができ、ロード・アンロード耐久試験にも合格することができる信頼性の高い磁気ディスクを得ることが可能となる。
【選択図】図2
Description
(媒体製造)
図1は、本実施の形態に係る磁気ディスク100の構成を説明する図である。同図に示す磁気ディスク100は、ディスク基板110、磁気記録層120、媒体保護層130、潤滑層140を有して構成される。
図2は、本実施の形態に係る磁気ディスク100の製造方法の流れを説明するためのフローチャートである。
まず磁気ディスク100を回転させ、回転により磁気ディスク100の上方に磁気ヘッドを浮上させる(ステップS10)。次に、磁気ディスク100を一定の速度で回転させた状態で、測定装置内の気圧を段階的に減少させることにより磁気ヘッドを磁気ディスク100の表面に接触させ、接触したときの圧力(TDP)を測定する(ステップS11)。接触を確認した後に気圧を段階的に増加させて、磁気ヘッドが浮上したときの圧力(TOP)を測定する(ステップS12)。このとき気圧の減少・増加速度の絶対値は等しいものとする。
本実施例において、外径65mm、内径20mm、ディスク厚0.635mmのディスク基板110上に、真空引きを行った成膜装置を用いて、DCマグネトロンスパッタリング法にてAr雰囲気中で、磁気記録層120から潤滑層140まで順次成膜を行った。このとき、媒体保護層130はCVD法によりC2H4及びCNを用いて成膜し、潤滑層140はディップコート法によりPFPEを用いて形成した。
図3は、本実施例における磁気ディスク100のTOPを測定した結果を説明するための図であり、例として磁気ディスク#1を測定した結果を示す。本実施例におけるTOP測定には、Kubota Comps株式会社製の磁気ディスクテストシステムHDF tester 2007を用いた。図3では縦軸に磁気ヘッドに与えられる振動を検出したAE電圧を示し、横軸に測定環境気圧を示しており、縦軸のAE電圧が検出限界値である2Vとなると磁気ヘッドが磁気ディスク100の表面に接触したことを示す。
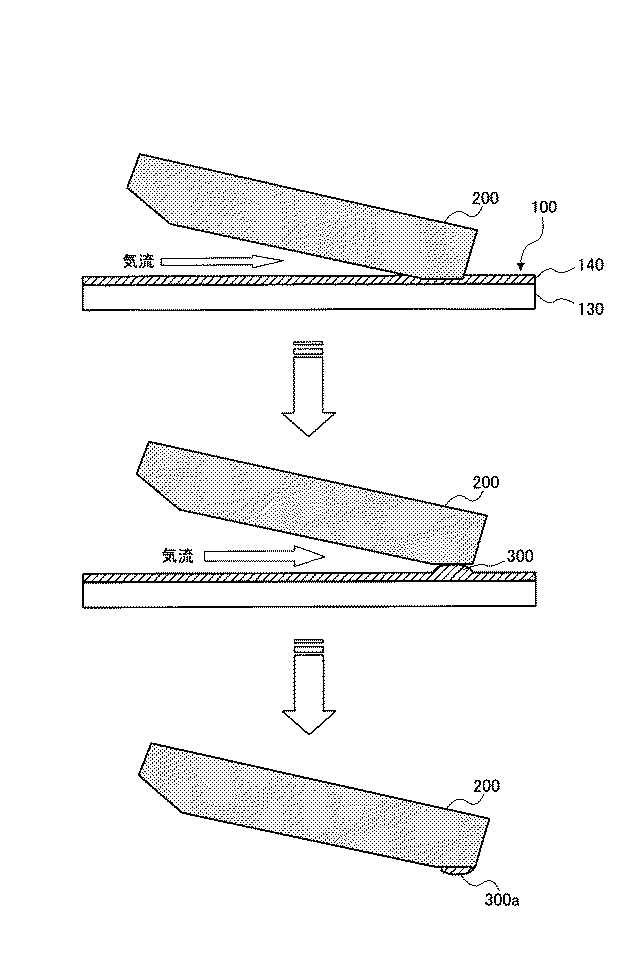
次に、磁気ディスク#1、磁気ディスク#2について、再度、磁気ディスク100上に、磁気ヘッドをロードさせ、気圧を5(Torr/sec)刻みで減少させて磁気ヘッドを磁気ディスク100の表面に接触させた後に、得られたTOPを含む所定の気圧間としてTOP±50(Torr)の幅で磁気ディスク100の気圧を100(Torr/sec)で増加させた。
110 ディスク基板
120 磁気記録層
130 媒体保護層
140 潤滑層
200 磁気ヘッドのスライダ
300 メニスカス
300a 移着潤滑剤
Claims (4)
- 最上層に潤滑層を有する磁気ディスクの前記潤滑層を評価する評価工程を含む製造方法であって、前記評価工程は、前記磁気ディスクを回転させて前記磁気ディスクの上方に磁気ヘッドを浮上させる磁気ヘッド浮上工程と、前記磁気ディスクを回転させた状態で、測定環境の気圧を徐々に減少させて前記磁気ヘッドを前記磁気ディスクの表面に接触させた後、前記測定環境の気圧を徐々に増加させて前記磁気ヘッドが前記磁気ディスクの表面から浮上したときの圧力を測定するTOP測定工程と、前記TOP測定後の前記磁気ヘッドのスライダ表面への潤滑剤の付着量に基づき、前記磁気ディスクの浮上特性の合否を判定する第1ヘッド判定工程と、前記磁気ディスクを回転させた状態でTOP測定圧力以下の気圧において前記測定環境の気圧を急速に増加させて前記磁気ヘッドを前記磁気ディスクの表面から引き離す急速離脱工程と、前記磁気ヘッドのスライダ表面への潤滑剤の付着量に基づき、前記磁気ディスクの浮上特性の合否を判定する第2ヘッド判定工程と、を含むことを特徴とする磁気ディスクの製造方法。
- 前記TOP測定工程における気圧の増加速度をA(Torr/sec2)とし、前記急速離脱工程における気圧の増加速度をB(Torr/sec2)とした場合、絶対値がB≧10Aであることを特徴とする請求項1記載の磁気ディスクの製造方法。
- 前記磁気ディスクは、ロード・アンロード方式のハードディスクドライブ装置に用いられる磁気ディスクであることを特徴とする請求項1又は請求項2記載の磁気ディスクの製造方法。
- 前記磁気ディスクは、2.5インチ以下の直径を有することを特徴とする請求項1から請求項3のいずれかに記載の磁気ディスクの製造方法。
Priority Applications (1)
| Application Number | Priority Date | Filing Date | Title |
|---|---|---|---|
| JP2008253081A JP5184283B2 (ja) | 2008-09-30 | 2008-09-30 | 磁気ディスクの製造方法 |
Applications Claiming Priority (1)
| Application Number | Priority Date | Filing Date | Title |
|---|---|---|---|
| JP2008253081A JP5184283B2 (ja) | 2008-09-30 | 2008-09-30 | 磁気ディスクの製造方法 |
Publications (2)
| Publication Number | Publication Date |
|---|---|
| JP2010086591A true JP2010086591A (ja) | 2010-04-15 |
| JP5184283B2 JP5184283B2 (ja) | 2013-04-17 |
Family
ID=42250392
Family Applications (1)
| Application Number | Title | Priority Date | Filing Date |
|---|---|---|---|
| JP2008253081A Expired - Fee Related JP5184283B2 (ja) | 2008-09-30 | 2008-09-30 | 磁気ディスクの製造方法 |
Country Status (1)
| Country | Link |
|---|---|
| JP (1) | JP5184283B2 (ja) |
Citations (6)
| Publication number | Priority date | Publication date | Assignee | Title |
|---|---|---|---|---|
| JPS62209716A (ja) * | 1986-03-11 | 1987-09-14 | Denki Kagaku Kogyo Kk | 磁気記録媒体 |
| JP2001056928A (ja) * | 1999-08-19 | 2001-02-27 | Fuji Photo Film Co Ltd | 磁気記録媒体 |
| JP2001143255A (ja) * | 1999-08-27 | 2001-05-25 | Sony Corp | 磁気記録媒体の評価方法 |
| JP2007095176A (ja) * | 2005-09-29 | 2007-04-12 | Hitachi Metals Ltd | 浮上ヘッドの離脱特性の評価方法および離脱特性評価装置 |
| JP2007115383A (ja) * | 2005-09-20 | 2007-05-10 | Hoya Corp | 磁気ディスクの評価方法 |
| JP2007272995A (ja) * | 2006-03-31 | 2007-10-18 | Hoya Corp | 磁気ディスク装置および非磁性基板の良否判定方法、磁気ディスク、並びに磁気ディスク装置 |
-
2008
- 2008-09-30 JP JP2008253081A patent/JP5184283B2/ja not_active Expired - Fee Related
Patent Citations (6)
| Publication number | Priority date | Publication date | Assignee | Title |
|---|---|---|---|---|
| JPS62209716A (ja) * | 1986-03-11 | 1987-09-14 | Denki Kagaku Kogyo Kk | 磁気記録媒体 |
| JP2001056928A (ja) * | 1999-08-19 | 2001-02-27 | Fuji Photo Film Co Ltd | 磁気記録媒体 |
| JP2001143255A (ja) * | 1999-08-27 | 2001-05-25 | Sony Corp | 磁気記録媒体の評価方法 |
| JP2007115383A (ja) * | 2005-09-20 | 2007-05-10 | Hoya Corp | 磁気ディスクの評価方法 |
| JP2007095176A (ja) * | 2005-09-29 | 2007-04-12 | Hitachi Metals Ltd | 浮上ヘッドの離脱特性の評価方法および離脱特性評価装置 |
| JP2007272995A (ja) * | 2006-03-31 | 2007-10-18 | Hoya Corp | 磁気ディスク装置および非磁性基板の良否判定方法、磁気ディスク、並びに磁気ディスク装置 |
Also Published As
| Publication number | Publication date |
|---|---|
| JP5184283B2 (ja) | 2013-04-17 |
Similar Documents
| Publication | Publication Date | Title |
|---|---|---|
| JP5401066B2 (ja) | 磁気ディスク及びその製造方法 | |
| JP5574414B2 (ja) | 磁気ディスクの評価方法及び磁気ディスクの製造方法 | |
| US8257783B2 (en) | Magnetic disk and method of manufacturing the same | |
| JP2003151233A (ja) | 平滑面磁気ディスク対応ヘッドスライダ、ヘッドスライダアッセンブリ、および磁気ディスク装置、ならびに磁気ディスクの検査・製造方法、および磁気ディスク装置の組み立て方法 | |
| JP4545714B2 (ja) | 磁気記録媒体並びに磁気記録再生装置 | |
| JP2007272995A (ja) | 磁気ディスク装置および非磁性基板の良否判定方法、磁気ディスク、並びに磁気ディスク装置 | |
| JP5184283B2 (ja) | 磁気ディスクの製造方法 | |
| US7727645B2 (en) | Substrate for magnetic recording medium, magnetic recording medium, and magnetic recording and reproducing apparatus | |
| US9202503B2 (en) | Magnetic media with a low molecular weight lubricating layer for use in head/media contact detection | |
| US20070248749A1 (en) | Reducing pad burnish damages on magnetic recording media with mixed low molecular weight free lubricant | |
| JP5497326B2 (ja) | 磁気ディスクの評価方法及び磁気ディスクの製造方法並びに磁気ディスク | |
| US7153193B1 (en) | System and apparatus for selectively sensing and removing asperities from hard disk drive media utilizing active thermally controlled flying heights | |
| US7153192B1 (en) | Method for selectively sensing and removing asperities from hard disk drive media utilizing active thermally controlled flying heights | |
| CN100550137C (zh) | 磁记录介质的基底、磁记录介质以及磁记录和再现装置 | |
| JP7745361B2 (ja) | 磁気記録再生装置 | |
| EP1136987A1 (en) | Magnetic recording and reproducing device | |
| JP2005004807A (ja) | フレキシブル磁気ディスク媒体 | |
| JP4474376B2 (ja) | 磁気ディスクの評価方法 | |
| CN102037508B (zh) | 磁记录介质的评价方法和制造方法 | |
| JP2010080013A (ja) | 磁気ディスクの耐久性評価方法 | |
| JP2010267313A (ja) | 磁気ディスクの製造方法 | |
| JP4679715B2 (ja) | 磁気記録媒体、その製造方法、磁気記録再生装置、磁気記録媒体の検査方法および装置 | |
| JP5311189B2 (ja) | 磁気記録媒体の製造方法 | |
| JP5115853B2 (ja) | 磁気記録媒体およびその製造方法 | |
| JP2009163814A (ja) | 磁気ディスクの耐久性評価方法及び磁気ディスク |
Legal Events
| Date | Code | Title | Description |
|---|---|---|---|
| A711 | Notification of change in applicant |
Free format text: JAPANESE INTERMEDIATE CODE: A711 Effective date: 20100706 |
|
| RD02 | Notification of acceptance of power of attorney |
Free format text: JAPANESE INTERMEDIATE CODE: A7422 Effective date: 20100927 |
|
| A621 | Written request for application examination |
Free format text: JAPANESE INTERMEDIATE CODE: A621 Effective date: 20110915 |
|
| A521 | Written amendment |
Free format text: JAPANESE INTERMEDIATE CODE: A523 Effective date: 20111122 |
|
| TRDD | Decision of grant or rejection written | ||
| A01 | Written decision to grant a patent or to grant a registration (utility model) |
Free format text: JAPANESE INTERMEDIATE CODE: A01 Effective date: 20121218 |
|
| A61 | First payment of annual fees (during grant procedure) |
Free format text: JAPANESE INTERMEDIATE CODE: A61 Effective date: 20130116 |
|
| R150 | Certificate of patent or registration of utility model |
Free format text: JAPANESE INTERMEDIATE CODE: R150 |
|
| FPAY | Renewal fee payment (event date is renewal date of database) |
Free format text: PAYMENT UNTIL: 20160125 Year of fee payment: 3 |
|
| R250 | Receipt of annual fees |
Free format text: JAPANESE INTERMEDIATE CODE: R250 |
|
| R250 | Receipt of annual fees |
Free format text: JAPANESE INTERMEDIATE CODE: R250 |
|
| LAPS | Cancellation because of no payment of annual fees |
