JP2010086052A - ペダルアーム - Google Patents

ペダルアーム Download PDF

Info

Publication number
JP2010086052A
JP2010086052A JP2008251421A JP2008251421A JP2010086052A JP 2010086052 A JP2010086052 A JP 2010086052A JP 2008251421 A JP2008251421 A JP 2008251421A JP 2008251421 A JP2008251421 A JP 2008251421A JP 2010086052 A JP2010086052 A JP 2010086052A
Authority
JP
Japan
Prior art keywords
edge
pedal
peripheral
clinch
pedal arm
Prior art date
Legal status (The legal status is an assumption and is not a legal conclusion. Google has not performed a legal analysis and makes no representation as to the accuracy of the status listed.)
Granted
Application number
JP2008251421A
Other languages
English (en)
Other versions
JP5199004B2 (ja
Inventor
Fumikazu Taguchi
文和 田口
Junji Ishii
淳二 石井
Hideo Tsuboi
秀郎 坪井
Yoshitaka Noda
佳孝 野田
Kenji Fujioka
憲二 藤岡
Masatoshi Arahisa
正俊 新久
Yoshihisa Kato
佳久 加藤
Makoto Hina
誠 日名
Current Assignee (The listed assignees may be inaccurate. Google has not performed a legal analysis and makes no representation or warranty as to the accuracy of the list.)
Hiruta Kogyo Co Ltd
Original Assignee
Hiruta Kogyo Co Ltd
Priority date (The priority date is an assumption and is not a legal conclusion. Google has not performed a legal analysis and makes no representation as to the accuracy of the date listed.)
Filing date
Publication date
Application filed by Hiruta Kogyo Co Ltd filed Critical Hiruta Kogyo Co Ltd
Priority to JP2008251421A priority Critical patent/JP5199004B2/ja
Publication of JP2010086052A publication Critical patent/JP2010086052A/ja
Application granted granted Critical
Publication of JP5199004B2 publication Critical patent/JP5199004B2/ja
Active legal-status Critical Current
Anticipated expiration legal-status Critical

Links

Images

Landscapes

  • Braking Elements And Transmission Devices (AREA)
  • Mechanical Control Devices (AREA)

Abstract

【課題】ペダルアームにおいて、材料の節約や重量軽減を目的とした板材の板厚を薄くしながら、しかし必要十分な剛性を確保する。
【解決手段】対となる左ペダル要素14及び右ペダル要素15を最中合わせにし、前記左ペダル要素14及び右ペダル要素15を周縁部で接合して一体化するペダルアーム1において、ペダル要素は、左ペダル要素14の周縁部を内巻縁部141、右ペダル要素15の周縁部を外巻縁部151としてクリンチ加工することによりクリンチ周縁部2とし、更に前記クリンチ周縁部2をカシメ加工してカシメ係合部21を形成することにより一体化したペダルアーム1である。
【選択図】図1

Description

本発明は、自動車のブレーキペダルやクラッチペダルに用いられるペダルアームに関する。
自動車のブレーキペダルやクラッチペダルに用いられるペダルアームは、踏込に対して必要十分な剛性を確保するため、例えば特許文献1に見られるように、厚みのある1枚の板材を用いたり、また特許文献2に見られるように、少し薄くした板材の周縁部にフランジを設けたりしていた。いずれも、板材そのものに剛性がなければ意味がないため、比較的厚みのある4mm厚〜8mm厚の板材が用いられていた。また、プレス加工された対となる組付要素(以下、ペダル要素と呼ぶ)を最中合わせにし、前記ペダル要素を周縁部で接合して一体化するペダルアームも見られた。この最中合わせのペダルアームは、ペダル要素を構成する板材の厚みを1.0mm厚〜2.3mm厚と薄くできる利点がある。
特開2002-012133号公報 特開2000-079869号公報
特許文献1や特許文献2が開示するペダルアームは、構成が簡素であり、比較的製造も容易であるが、板材が4mm厚〜8mm厚であることが次のような問題をもたらす。すなわち、板厚が厚いことは、材料コストを上昇させる問題や、ペダルアームの重量を上昇させる問題がある。とりわけ重量軽減は、環境保護を目的とした排ガス規制の観点から要求されるものであり、重要である。この点、ペダル要素を最中合わせにして構成されるペダルアームは、ペダル要素の板材の板厚が薄いため、上記板厚が厚いことによりもたらされる問題は解消される。しかし、ペダルアームとしての剛性を確保するために上端及び下端を溶接して塞ぐことは、製造工程の数を増やすと共に、溶接に伴う製造コストの上昇を招く。これから、ペダルアームにおいて、材料の節約や重量軽減を目的とした板材の板厚を薄くしながら、しかし必要十分な剛性を確保することが課題となる。そこで、前記課題を解決するため、自動車のブレーキペダルやクラッチペダルに用いられるペダルアームの構成について検討した。
検討の結果開発したものが、対となるペダル要素を最中合わせにし、前記ペダル要素を周縁部で接合して一体化するペダルアームにおいて、ペダル要素は、一方の周縁部を内巻縁部、他方の周縁部を外巻縁部としてクリンチ加工することによりクリンチ周縁部とし、更に前記クリンチ周縁部をカシメ加工してカシメ係合部を形成することにより一体化したペダルアームである。本発明は、最中合わせ構造のペダルアームを採用して使用する板材を薄くしながら(1.0mm厚〜2.3mm厚)、カシメ係合部を形成してクリンチ周縁部の剛性を高め、ペダルアーム全体の剛性を高める。すなわち、クリンチ周縁部を構成する内巻縁部及び外巻縁部をカシメ係合部により互いに噛み合わせて、強固に一体化されたクリンチ周縁部を形成し、更に断面形状を複雑にしてクリンチ周縁部の剛性を高めている。
カシメ係合部は、クリンチ周縁部の幅が十分であれば、前記クリンチ周縁部を断面ヘの字状にカシメ加工して、前記クリンチ周縁部の延在方向に連続して形成することもできる。しかし、カシメ係合部は、クリンチ周縁部を断続的にカシメ加工して多数形成すれば、クリンチ周縁部の十分な剛性、ひいてはペダルアームの必要な剛性を確保できる。カシメ係合部相互の間隔は、求められる剛性、クリンチ周縁部、カシメ係合部個々の形状等によって適宜決定すればよい。
カシメ係合部は、クリンチ周縁部の幅に等しい形状で、折り返した外巻縁部の内端縁及び倣い外縁に凹み端面を覗かせる構成、クリンチ周縁部の幅より小さな形状で、折り返した外巻縁部の内端縁又は倣い外縁のいずれか一方に凹み端面を覗かせる構成、そしてクリンチ周縁部の幅より小さな形状で、折り返した外巻縁部の内端縁及び倣い外縁のいずれにも凹み端面を覗かせない構成が考えられる。ここで、折り返した外巻縁部の「内端縁」とは、外巻縁部を周縁部とするペダル要素の板材の端縁を、また折り返した外巻縁部の「倣い外縁」とは、外巻縁部を折り返して形成されるクリンチ周縁部の外周縁、通常円弧状断面の最外殻接線を、それぞれ意味する。
クリンチ周縁部の幅が狭い場合、カシメ係合部は、クリンチ周縁部を横断して、カシメ加工により変形させたカシメ係合部の断面に等しい凹み端面を内端縁及び倣い外縁それぞれに覗かせる構成が好ましい。このカシメ係合部は、カシメ加工していない部位との間に2本の境界縁を形成する。これから、2本の境界縁が共に直線かつ平行である方形状のカシメ係合部が基本になる。しかし、クリンチ周縁部の剛性を高める観点から、前記2本の境界縁がクリンチ周縁部の延在方向に斜行する平面視台形状又は平面視平行四辺形状が好ましい。このカシメ係合部は、クリンチ周縁部の幅が広くなっても利用できるが、カシメ加工の範囲が大きくなるため、後述する別の構成が好ましい。
また、クリンチ周縁部の幅が狭い場合、カシメ係合部は、クリンチ周縁部の幅より小さな形状で、折り返した外巻縁部の内端縁又は倣い外縁のいずれか一方に凹み端面を覗かせる構成にすることもできる。このカシメ係合部は、内端縁又は倣い外縁から一筆書きのように形成される1本の境界縁に囲まれた外形を有する。これから、倣い外縁に達する境界縁の部分が前記倣い外縁に直交して平行なU字状の境界縁に囲まれたカシメ係合部が基本になる。しかし、クリンチ周縁部の剛性を高める観点から、上記カシメ係合部同様、倣い外縁に達する境界縁の部分がクリンチ周縁部の延在方向に斜行するV字状の境界縁に囲まれたカシメ係合部にすることが好ましい。このカシメ係合部は、クリンチ周縁部の幅が広くなっても、カシメ加工の範囲を大きくしなくて済むため、利用しやすい。
クリンチ周縁部の幅が広くなれば、クリンチ周縁部の幅より小さな形状で、折り返した外巻縁部の内端縁及び倣い外縁のいずれにも凹み端面を覗かせない構成が適当である。このカシメ係合部は、外巻縁部の内端縁及び倣い外縁のいずれにも交差しない閉鎖された境界縁を形成し、断面円形状又は多角形状が基本になる。例えば断面円形状のカシメ係合部は、外巻縁部及び内巻縁部を一体に窪む貫通しない円形状に穴を形成した後、半径方向外側から内側に向けて圧潰することにより、クリンチ周縁部を構成する板材が相互に噛み合わせて、クリンチ周縁部の剛性を高める。このカシメ係合部は、クリンチ周縁部の範囲内に形成できればよく、例えばクリンチ周縁部の断面形状を複雑にするためにクリンチ周縁部の幅方向に不規則にずらして形成してもよい。
本発明を適用したペダルアームは、材料の節約や重量軽減を目的として板材の板厚を薄くしながら、必要十分な剛性を確保することができる。板材の板厚を薄くできたことは、対となるペダル要素を結合して構成される最中合わせ構造を採用したことによる効果である。そして、前記最中合わせ構造のペダルアームにおいて必要十分な剛性を確保できたことは、前記ペダル要素の内巻縁部と外巻縁部とをクリンチ加工して形成したクリンチ周縁部で結合し、更に前記クリンチ周縁部にカシメ係合部を形成したことによる効果である。このほか、カシメ係合部を形成したクリンチ周縁部は、内巻縁部及び外巻縁部のずれや外巻縁部が開くことを抑制し、ペダル要素の一体化を安定して保持させる効果をもたらす。
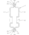
以下、本発明を実施するための最良の形態について図を参照しながら説明する。図1は本発明を適用したブレーキペダルのペダルアーム1を表す斜視図、図2は本例のペダルアーム1の側面図、図3は本例のペダルアーム1の正面図、図4は本例のペダルアーム1の背面図、図5は本例のペダルアーム1の平面図、図6は本例のペダルアーム1の底面図、図7は図2中A−A部拡大端面図であり、図8はカシメ係合部21を側方から見た部分拡大図である。本例は、対となる左ペダル要素14及び右ペダル要素15を最中合わせにし、それぞれの前縁部及び後縁部で接合して一体化したペダルアーム1の例である。
本例のペダルアーム1は、図1〜図6に見られるように、前後の周縁部をそれぞれ内巻縁部141とする左ペダル要素14と、同じく前後の周縁部をそれぞれ外巻縁部151とする右ペダル要素15とを最中合わせにして、前記内巻縁部141に外巻縁部151を巻き付けたクリンチ周縁部2に多数のカシメ係合部21を形成し、下端にペダルパッド13を溶接により固着することで、構成されている。
本例のペダルアーム1は、上端及び下端を開放し、上下方向中段付近から前後方向手前かつ左右方向右に折れ曲がった外観である。回動軸11は、左ペダル要素14及び右ペダル要素15それぞれの上端に、左右方向に連通する孔を開けて、前記孔に挿通して溶接により固着した金属製パイプから構成している。また、左ペダル要素14及び右ペダル要素15それぞれの中段付近に、左右方向に連通する孔を開けて、ペダルアーム1の回動量を検出するリンクロッド(図示略)を軸着するリンク軸孔12を設けている。
左ペダル要素14や右ペダル要素15は、1.5mm厚の金属板(冷間圧延鋼板又は熱間圧延鋼板)からプログレッシブ加工(順送り加工)によりそれぞれ形成されている。本発明のペダルアーム1は、カシメ係合部21を多数設けたクリンチ周縁部2により全体の剛性が十分確保できるため、上端及び下端が開放しているか否かは問題とならない。このため、製造コストが低廉で、生産性に優れたプログレッシブ加工を用いて板厚の薄い左ペダル要素14や右ペダル要素15を製造できる。また、上端及び下端を開放しておけるので、内部にまで防錆塗料を塗りながら、余剰を排出しやすい利点も得られる。
クリンチ周縁部2は、図7に見られるように、左ペダル要素14の周縁部であるフランジ様の内巻縁部141に、右ペダル要素15の周縁部であるフランジ様の外巻縁部151を宛てがい、前記外巻縁部151を折り返して内巻縁部141を挟み込むことで形成されている。そして、延在方向に等間隔でクリンチ周縁部2をカシメ加工し、カシメ係合部21を多数形成する。カシメ係合部21は、外巻縁部151の折り返した側から内巻縁部141に向けて押し込まれた凹みで、前記外巻縁部151の折り返した側が内巻縁部141に噛み込み、内巻縁部141が外巻縁部151の折り返す前の側に噛み込むことにより、内巻縁部141及び外巻縁部151を相互かつ強固に係合させている。
また、カシメ係合部21は、図8に見られるように、カシメ加工していない部位との間に形成される2本の境界縁211,211をハの字状に斜行させ、クリンチ周縁部2の幅に等しい台形状で、折り返した外巻縁部151の内端縁及び倣い外縁に凹み端面を覗かせている。これにより、一方の境界縁211に沿ってカシメ係合部21がずれようとすると他方の境界縁211が前記ずれを防止することができ、内巻縁部141及び外巻縁部151の係合を安定させることができる。こうして、カシメ係合部21は、上述のように、内巻縁部141及び外巻縁部151を相互かつ強固に係合させることによりクリンチ周縁部2の剛性を高め、そして前記内巻縁部141及び外巻縁部151の係合を維持する。
図9は本発明を適用した別例のブレーキペダルのペダルアーム1の側面図、図10は別例のペダルアーム1の正面図、図11は図9中B−B部拡大端面図、図12は本発明を適用した更に別例のブレーキペダルのペダルアーム1の側面図、図13は更に別例のペダルアーム1の正面図であり、図14は図12中C−C部拡大端面図である。本発明のペダルアーム1は、カシメ加工を施したクリンチ周縁部2によりペダルアーム1全体の剛性を向上させる。ここで、カシメ加工は種々の態様が考えられ、上述した台形状のカシメ係合部21のほか、切欠状のカシメ係合部22(図9〜図11)や円形状のカシメ係合部23(図12〜図14)を用いることができる。
別例のカシメ係合部22は、例えば図9〜図11に見られるように、外巻縁部151の折り返した側から内巻縁部141に向けて押し込まれた凹みで、外巻縁部151の折り返した側を内巻縁部141と一体に外巻縁部151の折り返す前の側に噛み込ませている。上記例示(図1〜図8参照)との相違点は、カシメ加工していない部位との間に形成される境界縁221が外巻縁部151の倣い外面に凹み端面を覗かせる、クリンチ周縁部2の幅より小さな切欠状である点にある。
これにより、境界縁221のいずれかの部分に沿ってカシメ係合部21がずれようとすると他の部分が前記ずれを防止することができ、内巻縁部141及び外巻縁部151の係合を安定させることができる。こうして、別例のカシメ係合部22は、内巻縁部141及び外巻縁部151を相互かつ強固に係合させることによりクリンチ周縁部2の剛性を高め、そして前記内巻縁部141及び外巻縁部151の係合を維持する。
また、更に別例のカシメ係合部23は、図12〜図14に見られるように、外巻縁部151の折り返した側から内巻縁部141に向けて押し込まれた貫通しない穴で、半径方向外側から内側に向けて圧潰することにより、外巻縁部151の折り返した側を内巻縁部141と一体に外巻縁部151の折り返す前の側に噛み込ませている。上記例示(図1〜図8参照)との相違点は、カシメ加工していない部位との間に形成される境界縁231が外巻縁部151の内端縁及び倣い外縁のいずれにも凹み端面を覗かせない、クリンチ周縁部2の幅より小さな円形状である点にある。
これにより、境界縁221のいずれかの部分に沿ってカシメ係合部21がずれることはなくなり、内巻縁部141及び外巻縁部151の係合を安定させることができる。こうして、更に別例のカシメ係合部23は、内巻縁部141及び外巻縁部151を相互かつ強固に係合させることによりクリンチ周縁部2の剛性を高め、そして前記内巻縁部141及び外巻縁部151の係合を維持する。
本発明を適用したブレーキペダルのペダルアームを表す斜視図である。 本例のペダルアームの側面図である。 本例のペダルアームの正面図である。 本例のペダルアームの背面図である。 本例のペダルアームの平面図である。 本例のペダルアームの底面図である。 図2中A−A部拡大端面図である。 カシメ係合部を側方から見た部分拡大図である。 本発明を適用した別例のブレーキペダルのペダルアームの側面図である。 別例のペダルアームの正面図である。 図9中B−B部拡大端面図である。 本発明を適用した更に別例のブレーキペダルのペダルアームの側面図である。 更に別例のペダルアームの正面図である。 図12中C−C部拡大端面図である。
符号の説明
1 ペダルアーム
11 回動軸
12 リンク軸孔
13 ペダルパッド
14 左ペダル要素
15 右ペダル要素
2 クリンチ周縁部
21 カシメ係合部
22 カシメ係合部
23 カシメ係合部

Claims (5)

  1. 対となるペダル要素を最中合わせにし、前記ペダル要素を周縁部で接合して一体化するペダルアームにおいて、ペダル要素は、一方の周縁部を内巻縁部、他方の周縁部を外巻縁部としてクリンチ加工することによりクリンチ周縁部とし、更に前記クリンチ周縁部をカシメ加工してカシメ係合部を形成することにより一体化したことを特徴とするペダルアーム。
  2. カシメ係合部は、クリンチ周縁部を断続的にカシメ加工して多数形成した請求項1記載のペダルアーム。
  3. カシメ係合部は、クリンチ周縁部の幅に等しい形状で、折り返した外巻縁部の内端縁及び倣い外縁に凹み端面を覗かせる請求項1又は2いずれか記載のペダルアーム。
  4. カシメ係合部は、クリンチ周縁部の幅より小さな形状で、折り返した外巻縁部の内端縁又は倣い外縁のいずれか一方に凹み端面を覗かせる請求項1又は2いずれか記載のペダルアーム。
  5. カシメ係合部は、クリンチ周縁部の幅より小さな形状で、折り返した外巻縁部の内端縁及び倣い外縁のいずれにも凹み端面を覗かせない請求項1又は2いずれか記載のペダルアーム。
JP2008251421A 2008-09-29 2008-09-29 ペダルアーム Active JP5199004B2 (ja)

Priority Applications (1)

Application Number Priority Date Filing Date Title
JP2008251421A JP5199004B2 (ja) 2008-09-29 2008-09-29 ペダルアーム

Applications Claiming Priority (1)

Application Number Priority Date Filing Date Title
JP2008251421A JP5199004B2 (ja) 2008-09-29 2008-09-29 ペダルアーム

Publications (2)

Publication Number Publication Date
JP2010086052A true JP2010086052A (ja) 2010-04-15
JP5199004B2 JP5199004B2 (ja) 2013-05-15

Family

ID=42249996

Family Applications (1)

Application Number Title Priority Date Filing Date
JP2008251421A Active JP5199004B2 (ja) 2008-09-29 2008-09-29 ペダルアーム

Country Status (1)

Country Link
JP (1) JP5199004B2 (ja)

Cited By (7)

* Cited by examiner, † Cited by third party
Publication number Priority date Publication date Assignee Title
JPS6092695A (ja) * 1983-10-27 1985-05-24 株式会社東芝 高密度印刷配線方法
DE102012023634A1 (de) * 2012-12-03 2014-06-05 Volkswagen Aktiengesellschaft Pedalhebel, Fahrzeug mit einem derartigen Pedalhebel und Verfahren zur Herstellung eines Pedalhebels
JP2014215791A (ja) * 2013-04-25 2014-11-17 本田技研工業株式会社 ペダル装置、および、ペダル装置の製造方法
JP2015011534A (ja) * 2013-06-28 2015-01-19 ヒルタ工業株式会社 ペダルアーム
JP2015011511A (ja) * 2013-06-28 2015-01-19 三菱自動車工業株式会社 ペダルアーム
CN108216161A (zh) * 2017-12-27 2018-06-29 芜湖中瑞汽车零部件有限公司 踏板
KR20180081733A (ko) 2015-11-13 2018-07-17 가부시키가이샤 요로즈 차량용 암 부품의 제조 방법 및 제조 장치

Families Citing this family (1)

* Cited by examiner, † Cited by third party
Publication number Priority date Publication date Assignee Title
JP6538407B2 (ja) * 2015-04-08 2019-07-03 ヒルタ工業株式会社 ペダルアーム

Citations (2)

* Cited by examiner, † Cited by third party
Publication number Priority date Publication date Assignee Title
JP2000263169A (ja) * 1999-03-16 2000-09-26 Honda Motor Co Ltd 閉断面湾曲長尺材、閉断面湾曲長尺材製造方法及び閉断面湾曲長尺材製造設備
JP2007122610A (ja) * 2005-10-31 2007-05-17 Futaba Industrial Co Ltd 車両用ペダル装置

Patent Citations (2)

* Cited by examiner, † Cited by third party
Publication number Priority date Publication date Assignee Title
JP2000263169A (ja) * 1999-03-16 2000-09-26 Honda Motor Co Ltd 閉断面湾曲長尺材、閉断面湾曲長尺材製造方法及び閉断面湾曲長尺材製造設備
JP2007122610A (ja) * 2005-10-31 2007-05-17 Futaba Industrial Co Ltd 車両用ペダル装置

Cited By (8)

* Cited by examiner, † Cited by third party
Publication number Priority date Publication date Assignee Title
JPS6092695A (ja) * 1983-10-27 1985-05-24 株式会社東芝 高密度印刷配線方法
DE102012023634A1 (de) * 2012-12-03 2014-06-05 Volkswagen Aktiengesellschaft Pedalhebel, Fahrzeug mit einem derartigen Pedalhebel und Verfahren zur Herstellung eines Pedalhebels
JP2014215791A (ja) * 2013-04-25 2014-11-17 本田技研工業株式会社 ペダル装置、および、ペダル装置の製造方法
JP2015011534A (ja) * 2013-06-28 2015-01-19 ヒルタ工業株式会社 ペダルアーム
JP2015011511A (ja) * 2013-06-28 2015-01-19 三菱自動車工業株式会社 ペダルアーム
KR20180081733A (ko) 2015-11-13 2018-07-17 가부시키가이샤 요로즈 차량용 암 부품의 제조 방법 및 제조 장치
CN108348981A (zh) * 2015-11-13 2018-07-31 株式会社万 车辆用臂部件的制造方法以及制造装置
CN108216161A (zh) * 2017-12-27 2018-06-29 芜湖中瑞汽车零部件有限公司 踏板

Also Published As

Publication number Publication date
JP5199004B2 (ja) 2013-05-15

Similar Documents

Publication Publication Date Title
JP5199004B2 (ja) ペダルアーム
EP1398522B1 (en) Wheel balance weight
US8336906B2 (en) Sealing assembly for air bag door
MX2011009825A (es) Brazo/conexion de suspension para vehiculo de motor y metodo para fbricar el mismo.
US20180257718A1 (en) Vehicle upper section structure
JP6076845B2 (ja) ペダルアーム
US11077886B2 (en) Joint structure for vehicle
JP2014126724A (ja) 電子機器撮
JP4388047B2 (ja) 車両のドア構造
JP6010516B2 (ja) 自動車用内張りパネル
JPH083752Y2 (ja) 金属積層形ガスケット
WO2014083926A1 (ja) クラッシュボックス
JP7062526B2 (ja) 車両用シート
JP2012116419A (ja) パネル接合構造
JP5375004B2 (ja) 部材取付用ブラケットの締結構造
JP5601636B2 (ja) シートベルトのタング収納構造
JP5954109B2 (ja) 車両側部構造
JP5880392B2 (ja) 自動車のバックドア
JP6004889B2 (ja) ストライカ用ブラケット
JP7509732B2 (ja) 車両用ペダル
JP6051843B2 (ja) 車両用ドアフレーム及びその製造方法
EP2546133B1 (en) Two-wheeled motor vehicle
JP2009001252A (ja) 車軸ケースの構造
JP5472194B2 (ja) シートベルト取付構造
JP2013216289A (ja) 車両用ドアフレーム構造

Legal Events

Date Code Title Description
A621 Written request for application examination

Free format text: JAPANESE INTERMEDIATE CODE: A621

Effective date: 20110425

A977 Report on retrieval

Free format text: JAPANESE INTERMEDIATE CODE: A971007

Effective date: 20120516

A131 Notification of reasons for refusal

Free format text: JAPANESE INTERMEDIATE CODE: A131

Effective date: 20121016

A521 Request for written amendment filed

Free format text: JAPANESE INTERMEDIATE CODE: A523

Effective date: 20121211

TRDD Decision of grant or rejection written
A01 Written decision to grant a patent or to grant a registration (utility model)

Free format text: JAPANESE INTERMEDIATE CODE: A01

Effective date: 20130122

A61 First payment of annual fees (during grant procedure)

Free format text: JAPANESE INTERMEDIATE CODE: A61

Effective date: 20130207

FPAY Renewal fee payment (event date is renewal date of database)

Free format text: PAYMENT UNTIL: 20160215

Year of fee payment: 3

R150 Certificate of patent or registration of utility model

Ref document number: 5199004

Country of ref document: JP

Free format text: JAPANESE INTERMEDIATE CODE: R150

Free format text: JAPANESE INTERMEDIATE CODE: R150

R250 Receipt of annual fees

Free format text: JAPANESE INTERMEDIATE CODE: R250

R250 Receipt of annual fees

Free format text: JAPANESE INTERMEDIATE CODE: R250

R250 Receipt of annual fees

Free format text: JAPANESE INTERMEDIATE CODE: R250

R250 Receipt of annual fees

Free format text: JAPANESE INTERMEDIATE CODE: R250

R250 Receipt of annual fees

Free format text: JAPANESE INTERMEDIATE CODE: R250

R250 Receipt of annual fees

Free format text: JAPANESE INTERMEDIATE CODE: R250

R250 Receipt of annual fees

Free format text: JAPANESE INTERMEDIATE CODE: R250

R250 Receipt of annual fees

Free format text: JAPANESE INTERMEDIATE CODE: R250

R250 Receipt of annual fees

Free format text: JAPANESE INTERMEDIATE CODE: R250

R250 Receipt of annual fees

Free format text: JAPANESE INTERMEDIATE CODE: R250