JP2010084882A - チェーン走行案内シュー - Google Patents

チェーン走行案内シュー Download PDF

Info

Publication number
JP2010084882A
JP2010084882A JP2008255932A JP2008255932A JP2010084882A JP 2010084882 A JP2010084882 A JP 2010084882A JP 2008255932 A JP2008255932 A JP 2008255932A JP 2008255932 A JP2008255932 A JP 2008255932A JP 2010084882 A JP2010084882 A JP 2010084882A
Authority
JP
Japan
Prior art keywords
chain
travel guide
roller chain
travel
guide
Prior art date
Legal status (The legal status is an assumption and is not a legal conclusion. Google has not performed a legal analysis and makes no representation as to the accuracy of the status listed.)
Granted
Application number
JP2008255932A
Other languages
English (en)
Other versions
JP4751923B2 (ja
Inventor
Tadashi Shintani
忠司 進谷
Current Assignee (The listed assignees may be inaccurate. Google has not performed a legal analysis and makes no representation or warranty as to the accuracy of the list.)
Tsubakimoto Chain Co
Original Assignee
Tsubakimoto Chain Co
Priority date (The priority date is an assumption and is not a legal conclusion. Google has not performed a legal analysis and makes no representation as to the accuracy of the date listed.)
Filing date
Publication date
Application filed by Tsubakimoto Chain Co filed Critical Tsubakimoto Chain Co
Priority to JP2008255932A priority Critical patent/JP4751923B2/ja
Priority to CN200910168390.2A priority patent/CN101713451B/zh
Priority to KR1020090083438A priority patent/KR101387774B1/ko
Publication of JP2010084882A publication Critical patent/JP2010084882A/ja
Application granted granted Critical
Publication of JP4751923B2 publication Critical patent/JP4751923B2/ja
Active legal-status Critical Current
Anticipated expiration legal-status Critical

Links

Images

Classifications

    • FMECHANICAL ENGINEERING; LIGHTING; HEATING; WEAPONS; BLASTING
    • F16ENGINEERING ELEMENTS AND UNITS; GENERAL MEASURES FOR PRODUCING AND MAINTAINING EFFECTIVE FUNCTIONING OF MACHINES OR INSTALLATIONS; THERMAL INSULATION IN GENERAL
    • F16HGEARING
    • F16H7/00Gearings for conveying rotary motion by endless flexible members
    • FMECHANICAL ENGINEERING; LIGHTING; HEATING; WEAPONS; BLASTING
    • F16ENGINEERING ELEMENTS AND UNITS; GENERAL MEASURES FOR PRODUCING AND MAINTAINING EFFECTIVE FUNCTIONING OF MACHINES OR INSTALLATIONS; THERMAL INSULATION IN GENERAL
    • F16HGEARING
    • F16H7/00Gearings for conveying rotary motion by endless flexible members
    • F16H7/18Means for guiding or supporting belts, ropes, or chains

Landscapes

  • Engineering & Computer Science (AREA)
  • General Engineering & Computer Science (AREA)
  • Mechanical Engineering (AREA)
  • Devices For Conveying Motion By Means Of Endless Flexible Members (AREA)

Abstract

【課題】チェーン走行案内シューと走行するローラチェーンのプレートとの摩擦抵抗を低減し、ローラチェーンが側方にずれたとき中央に戻りやすくすると共に、ローラチェーンと走行案内面との摩擦による発熱を抑制することができ、さらに、寸法精度の高いチェーン走行案内シューを提供することを目的とする。
【解決手段】チェーン走行案内シュー3は、ローラチェーンC両側のプレート端面を摺動案内する一対の走行案内面4、ローラチェーンの側方移動を規制する規制ガイド5、該走行案内面4,4の間に設けられている凹溝6等を、ローラチェーン走行方向の全長に渡って有する。凹溝6が上方開放のほぼコの字形状で、ローラチェーンの内幅W2より広く、かつ外幅W1より狭い幅に形成され、凹溝6の上端6bにおける走行案内面4の角部に面取り部4aが形成されている。
【選択図】 図4

Description

本発明は、駆動側スプロケット及び従動側スプロケット間に懸回されて動力の伝達を行うローラチェーンの張力保持、摺動案内に用いられるガイド部材のチェーン走行案内シューに関する。
従来、エンジンのタイミングドライブシステムには、エンジンルーム内のクランク軸とカム軸の夫々に設けたスプロケット間に懸回されて周回走行するローラチェーンに適正な張力を付与するテンショナレバーTL、ローラチェーンを案内するガイドレバー等のガイド部材が設けられている。
従来のタイミングドライブシステムに用いられているガイド部材の一例を図8〜図10に示す。ガイド部材31に備えられているチェーン走行案内シュー32は、ガイド部材本体であるシュー取付部材33に取り付けられている。このチェーン走行案内シュー32は、図9(図8のX9ーX9線断面)に示すように、チェーンの進入側および離脱側に平坦押接面34が形成され、その中間区間には、図10(図8のX10−X10線断面)に示すように、ローラチェーンCのプレート端面を摺動案内する凸状押接面35が形成され、平坦押接面34と凸状押接面35が走行面36を構成し、走行面36の中央に凹溝部37が形成されている。なお、図9,図10における符号L1,L2はそれぞれローラチェーンCの内プレート、外プレート、Mはローラである(例えば、特許文献1参照。)。
特許第3269011号公報(第2頁、図2、図3、図5)
従来のチェーン走行案内シュー32は、チェーンの進入側および離脱側で平坦押接面34の全面に走行するローラチェーンのプレートL1,L2が摺動接触するため、摩擦抵抗が大きい、という問題があり、中間区間においては、走行するローラチェーンCが側方にずれたとき、凸状押接面35の角部35aにプレートL1,L2が引っかかり中央に戻りにくく軌道修正が困難になり、また、側方への移動が規制されないためチェーン走行案内シュー32から外れたり、凹溝部37内に落ち込んだりする、という問題があった。
また、中間区間における凹溝部37は、進入側および離脱側に設けられた平坦押接面34によって閉じられているため、エンジン内における潤滑油の凹溝部37への流入性及び流出性が悪いと共に、循環が充分に行われないため、ローラチェーンと凸状押接面35との摩擦により発生する熱を潤滑油で冷却できないと共に、発熱によるさらなる摩擦抵抗の増大により凸状押接面35あるいはプレートL1,L2の摩耗が促進される、という問題があった。さらに、チェーン走行案内シュー32の長手方向における断面形状が異なるため、熱容量や内部残留応力の差により成型時や使用時に歪が生じやすく、寸法精度が悪化する、という問題があった。
そこで、本発明は、前述したような従来技術の問題を解決し、チェーン走行案内シューと走行するローラチェーンのプレートとの摩擦抵抗を低減し、ローラチェーンが側方にずれたとき、チェーン走行案内シューの角部などにプレートが引っかからないようにして中央に戻りやすくすると共に、凹溝部内に入り込んだり、チェーン走行案内シューから外れないようにすることができ、凹溝部における潤滑油の良好な流入性及び流出性により、走行するローラチェーンと走行案内面との摩擦による発熱を抑制することができ、さらに、寸法精度の高いチェーン走行案内シューを提供することを目的とする。
請求項1に係る本発明は、ローラチェーン両側のプレート端面を摺動案内する一対の走行案内面、該一対の走行案内面の両最外側に立設されたローラチェーンの側方移動を規制する規制ガイド、該一対の走行案内面の間に設けられている凹溝等を、前記ローラチェーン走行方向の全長に渡って有するチェーン走行案内シューであって、前記凹溝が上方開放のほぼコの字形状で、該凹溝は前記ローラチェーンの内幅より広く、かつ外幅より狭い幅に形成され、前記凹溝の上端における前記走行案内面の角部に面取り部が形成されていることにより前記課題を解決したものである。
請求項2に係る本発明は、前記請求項1に係る本発明のチェーン走行案内シューにおいて、前記一方の走行案内面に立設された規制ガイドの起立基端部と、他方の走行案内面における面取り部の形成起端部との間隔が、前記ローラチェーンの外幅より狭いか又はほぼ同じとしたものである。
請求項3に係る本発明は、ローラチェーン両側のプレート端面を摺動案内する一対の走行案内面、該一対の走行案内面の両最外側に立設されたローラチェーンの側方移動を規制する規制ガイド、該一対の走行案内面の間に設けられた凹溝等を、前記ローラチェーン走行方向の全長に渡って有するチェーン走行案内シューであって、前記凹溝が下方に湾曲した円弧状の湾曲面からなり、該凹溝は前記ローラチェーンの内幅より広く、かつ外幅より狭い幅に形成されていることにより前記課題を解決したものである。
請求項4に係る本発明は、前記請求項3に係る本発明のチェーン走行案内シューにおいて、前記一方の走行案内面に立設された規制ガイドの起立基端部と、他方の走行案内面における前記湾曲面からなる凹溝の上端との間隔が、前記ローラチェーンの外幅より狭いか又はほぼ同じとしたものである。
請求項5に係る本発明は、前記請求項3に係る本発明のチェーン走行案内シューにおいて、前記湾曲面からなる凹溝の上端における前記走行案内面の角部に面取り部が形成されているものである。
請求項6に係る本発明は、前記請求項5に係る本発明のチェーン走行案内シューにおいて、前記一方の走行案内面に立設された規制ガイドの起立基端部と、他方の走行案内面における面取り部の形成起端部との間隔が、前記ローラチェーンの外幅より狭いか又はほぼ同じとしたものである。
請求項1に係る本発明によれば、チェーン走行案内シューが、ローラチェーン両側のプレート端面を摺動案内する一対の走行案内面、該一対の走行案内面の両最外側に立設された走行するローラチェーンの側方移動を規制する規制ガイド、該一対の走行案内面の間に設けられている凹溝等を、前記ローラチェーン走行方向の全長に渡って有するので、チェーン走行案内シューの断面形状を長手方向に亘ってほぼ一定にして寸法精度を高くすることができる。
凹溝がローラチェーン走行方向の全長に渡って設けられていることにより、エンジン内における潤滑油の凹溝への流入性及び流出性が向上して流れがよくなると共に循環性も向上し、そのため、ローラチェーンと走行案内面との摩擦により熱が発生した場合には潤滑油で冷却することができると共に摩擦抵抗を低減することができ、ひいてはローラチェーンあるいは走行案内面の摩耗を抑制することができる。
前記凹溝が上方開放のほぼコの字形状で、該凹溝は前記ローラチェーンの内幅より広く、かつ外幅より狭い幅に形成されているので、ローラチェーンの内外プレートの一部端面のみが走行案内面と摺接することとなって摺動面積が減少するため走行摩擦抵抗を低減することができると共に、ローラチェーンが走行案内面から凹溝内に落下することのない安定した走行を可能とすることができる。
さらに、凹溝の上端における走行案内面の角部に面取り部が形成されているので、走行するローラチェーンが側方にずれたり蛇行したとき、この面取り部によりローラチェーンの各プレートの下端面が角部に引っかからないようにすることができるため、ローラチェーンCの中央への軌道修正をスムーズに行うことができる。また、規制ガイド5により走行案内面4から外れないようにすることができる。
請求項2に係る本発明によれば、前記請求項1に係る本発明のチェーン走行案内シューが奏する効果に加えて、前記前記一方の走行案内面に立設された規制ガイドの起立基端部と、他方の走行案内面における面取り部の形成起端部との間隔が、前記ローラチェーンの外幅より狭いか又はほぼ同じであるので、走行するローラチェーンが側方にずれて移動した場合、凹溝内に落下するのを確実に防止することができる。
請求項3に係る本発明によれば、チェーン走行案内シューが、ローラチェーン両側のプレート端面を摺動案内する一対の走行案内面、該一対の走行案内面の両最外側に立設された走行するローラチェーンの側方移動を規制する規制ガイド、該一対の走行案内面の間に設けられた凹溝等を、前記ローラチェーン走行方向の全長に渡って有し、前記凹溝が下方に湾曲した円弧状の湾曲面からなるので、チェーン走行案内シューの断面形状を長手方向に亘ってほぼ一定にして寸法精度を高くすることができる。
前記湾曲面からなる凹溝がローラチェーン走行方向の全長に渡って設けられていることにより、エンジン内における潤滑油の凹溝への流入性及び流出性が向上して流れがよくなると共に、循環性も向上し、そのため、ローラチェーンと走行案内面との摩擦により熱が発生した場合には潤滑油で冷却することができると共に摩擦抵抗を低減することができ、ひいてはローラチェーンあるいは走行案内面の摩耗を抑制することができる。
前記湾曲面からなる凹溝が前記ローラチェーンの内幅より広く、かつ外幅より狭い幅に形成されているので、ローラチェーンが走行案内面から凹溝内に落下することのない安定した走行を可能としつつ摺動面積を減少して走行摩擦抵抗を低減することができる。
さらに、前記凹溝が円弧状の湾曲面であることにより、凹溝の上端と走行案内面との間に鋭い角部がないため、走行するローラチェーンCが側方にずれたり蛇行したとき、ローラチェーンCの中央への軌道修正をスムーズに行うことができる。
請求項4に係る本発明によれば、前記請求項3に係る本発明のチェーン走行案内シューが奏する効果に加えて、一方の走行案内面に立設された規制ガイドの起立基端部と、他方の走行案内面における凹溝の上端との間隔が、前記ローラチェーンの外幅より狭いか又はほぼ同じであるので、走行案内面に押接して走行するローラチェーンが側方にずれて移動した場合、凹溝内に落下するのを確実に防止することができる。
請求項5に係る本発明によれば、前記請求項3に係る本発明のチェーン走行案内シューが奏する効果に加えて、前記湾曲面からなる凹溝の上端における前記走行案内面の角部に面取り部が形成されているので、走行するローラチェーンが側方にずれたり蛇行したとき、この面取り部によりローラチェーンの各プレートの下端面が角部に引っかからないようにすることができるため、ローラチェーンCの中央への軌道修正をスムーズに行うことができる。
請求項6に係る本発明によれば、前記請求項3に係る本発明のチェーン走行案内シューが奏する効果に加えて、前記前記一方の走行案内面に立設された規制ガイドの起立基端部と、他方の走行案内面における面取り部の形成起端部との間隔が、前記ローラチェーンの外幅より狭いか又はほぼ同じであるので、走行するローラチェーンが側方にずれて移動した場合、凹溝内に落下するのを確実に防止することができる。
本発明のチェーン走行案内シューは、例えばエンジンのタイミングチェーンドライブシステムのローラチェーンCの張力を適正に保持するテンショナレバーTL、ローラチェーンCの走行を案内するガイドレバーGL等のガイド部材Gに使用される。
タイミングチェーンドライブシステムは、図1に示すように、エンジンルーム内のクランク軸に取付けた駆動スプロケットS1とカム軸に取付けた一対の従動スプロケットS2、S3間に懸回したローラチェーンCとからなり、ローラチェーンCに張力を付与するテンショナレバーTL、ローラチェーンCを案内するガイドレバーGL等のガイド部材Gを備え、ローラチェーンCはガイド部材Gのチェーン走行案内シューに押接して摺動する。このガイド部材Gは、シュー取付部材となるレバー本体にチェーン走行案内シューを取り付けたり、レバー本体とチェーン走行案内シューとを一体に形成したものであり、走行するローラチェーンCに押接して摺動する。なお、図1における符号Tはテンショナ、B1はテンショナレバーTLの枢支軸、B2,B3はガイドレバーGLの取付軸である。
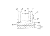
本発明の実施例1を図1〜図5に示す。図1はタイミングチェーンドライブシステムの説明図、図2は本発明実施例1のチェーン走行案内シューを有するガイド部材の側面図、図3はチェーン走行案内シューの平面図、図4の(A)はガイド部材の断面図、(B)は要部拡大図、図5はローラチェーンが側方にずれたときの説明図である。
ガイド部材1はシュー取付部材2にチェーン走行案内シュー3を取り付けたもので、例えば、ガイド部材1がガイドレバーGLの場合は取付具1aにより、エンジンルームに取り付けられる。チェーン走行案内シュー3は、図3,図4に示すように、ローラチェーンCの内外プレートL1,L2端面を摺動案内する一対の走行案内面4,4、この一対の走行案内面の両最外側に立設された規制ガイド5,5、この一対の走行案内面4,4の間に設けられている凹溝6等をローラチェーンC走行方向の全長に渡って有する。なお、符号Mはローラである。
走行案内面4に立設された規制ガイド5,5は、その立ち上がり部に盛り上がり部5aを有し、走行案内面4における盛り上がり部5aの起端が規制ガイド5の起立基端部5bとなっている。なお、この盛り上がり部5aは必ずしも設けなくてもよく、この場合は走行案内面4と規制ガイド5端面5cとの直交角部5dが起立基端部となる。
凹溝6は、上方開放のほぼコの字形状凹溝でチェーン進入側、離脱側は開放されている。また、この凹溝6の幅W3は、図4に示すように、ローラチェーンCの内幅W2より広く、かつ外幅W1より狭く形成されている。そして、凹溝6の上端6bにおける走行案内面4の角部には円弧状(曲率半径R1)の面取り部4aが形成され、走行案内面4における面取り部4aの形成起端が起端部4bとなっている。
図4,図5に示すように、一対の走行案内面4,4のうちの一方の走行案内面4に立設された規制ガイド5の起立基端部5bと、他方の走行案内面4における面取り部4aの形成起端部4bとの間隔W5が、ローラチェーンCの外幅W1より狭いか又はほぼ同じになっている(W5≦W1)。なお、図4において、符号W4は凹溝の一方壁面6aと対向する他方側の規制ガイド5の壁面5cとの間隔、W6は規制ガイド5の壁面5c間の間隔である。
上記構成からなるチェーン走行案内シュー3の作用効果は次のとおりである。
チェーン走行案内シュー3は、一対の走行案内面4,4、一対の走行案内面4,4の両最外側に立設された規制ガイド5,5、一対の走行案内面4,4の間に設けられている凹溝6等を、ローラチェーンC走行方向の全長に渡って有するので、チェーン走行案内シュー3が全長に渡ってほぼ等しい断面形状となるため、例えば、樹脂による射出成型で製造する場合、全長に渡って均等に冷却硬化され、冷却むらによる寸法精度の低下、内部残留応力歪による寸法精度の低下を抑制することができる。
凹溝6がローラチェーンC走行方向の全長に渡って設けられているので、エンジン内における潤滑油の凹溝6への流入性及び流出性が向上して流れがよくなると共に循環性も向上し、そのため、ローラチェーンCと走行案内面4との摩擦により熱が発生した場合には潤滑油で冷却することができると共に摩擦抵抗を低減することができ、ひいてはローラチェーンCあるいは走行案内面4の摩耗を抑制することができる。
図4に示すように、ローラチェーンCがチェーン走行案内シュー3の幅方向ほぼ中央を走行する場合、凹溝6の幅W3がローラチェーンCの内幅W2より広く、ローラチェーンCの外幅W1より狭く形成されているので、ローラチェーンCのプレートL1,L2の一部端面のみが走行案内面4と摺接することとなって摺動面積が減少するため走行摩擦抵抗を低減することができると共に、ローラチェーンCが走行案内面4から凹溝6内に落下することのない安定した走行が可能となる。
さらに、凹溝6の上端6bにおける走行案内面4の角部に面取り部4aが形成されているので、走行するローラチェーンCが側方にずれたり蛇行したとき、面取り部4aによりローラチェーンCの各プレートL1,L2の下端面が角部に引っかからないようにすることができるため、ローラチェーンCの中央への軌道修正をスムーズに行うことができ、また、規制ガイド5により走行案内面4から外れないようにすることができる。
また、チェーン走行案内シュー3は、一対の走行案内面4,4のうちの一方の走行案内面4に立設された規制ガイド5の起立基端部5bと、他方の走行案内面4における面取り部4aの形成起端部4bとの間隔W5が、ローラチェーンCの外幅W1より狭いか又はほぼ同じになっている(W5≦W1)ので、図5に示すように、走行するローラチェーンCが側方にずれて移動した場合、凹溝6内に落下するのを確実に防止することができる。
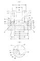
本発明の実施例2のチェーン走行案内シュー13を有するガイド部材11の断面図を図6に示す。ガイド部材11はシュー取付部材12にチェーン走行案内シュー13を取り付けたものである。チェーン走行案内シュー13は、図6に示すように、ローラチェーンCの内外プレートL1,L2端面を摺動案内する一対の走行案内面14,14、この一対の走行案内面14,14の両最外側に立設された規制ガイド15,15、この一対の走行案内面14,14の間に設けられている凹溝16等をローラチェーンC走行方向の全長に渡って有している。
走行案内面14に立設された規制ガイド15,15は、その立ち上がり部に盛り上がり部15aを有し、この盛り上がり部15aの起端が規制ガイド15の起立基端部15bとなっている。なお、この盛り上がり部15aは必ずしも設けなくてもよく、この場合は走行案内面14と規制ガイド15の端面15cとの直交角部が起立基端部となる。
凹溝16は下方に湾曲した円弧状(曲率半径R2)の湾曲面からなるものであり、チェーン進入側、離脱側は開放されている。また、この凹溝16の幅W7は、ローラチェーンCの内幅W2より広く、かつ外幅W1より狭く形成されている。
また、図6に示すように、一方の走行案内面14に立設された規制ガイド15の起立基端部15bと、他方の走行案内面14における凹溝16の上端16aとの間隔W8が、ローラチェーンCの外幅W1より狭いか又はほぼ同じになっている。
上記構成からなるチェーン走行案内シュー13の作用効果は次のとおりである。
チェーン走行案内シュー13は、一対の走行案内面14,14、一対の走行案内面14,14の両最外側に立設された規制ガイド15,15、一対の走行案内面14,14の間に設けられている下方に湾曲した円弧状の湾曲面からなる凹溝16等を、ローラチェーンC走行方向の全長に渡って有するので、チェーン走行案内シュー13が全長に渡ってほぼ等しい断面形状となるため、例えば、樹脂による射出成型で製造する場合、全長に渡って均等に冷却硬化され、冷却むらによる寸法精度の低下、内部残留応力歪による寸法精度の低下を抑制することができる。
円弧状の湾曲面からなる凹溝16がローラチェーンC走行方向の全長に渡って設けられているので、エンジン内における潤滑油の凹溝16への流入性及び流出性が向上して流れがよくなると共に循環性も向上し、そのため、ローラチェーンCと走行案内面14との摩擦により熱が発生した場合には潤滑油で冷却することができると共に摩擦抵抗を低減することができ、ひいてはローラチェーンCあるいは走行案内面14の摩耗を抑制することができる。
図6に示すように、ローラチェーンCがチェーン走行案内シュー13のほぼ中央を走行する場合、凹溝16の幅W7が、ローラチェーンCの内幅W2より広く、ローラチェーンCの外幅W1より狭く形成されているので、ローラチェーンCのプレートL1,L2の一部端面のみが走行案内面14と摺接するため摺動面積が減少し走行摩擦抵抗を低減することができると共に、ローラチェーンCが走行案内面14から円弧状の湾曲面からなる凹溝16内に落下することのない安定した走行が可能となる。
さらに、凹溝16が円弧状の湾曲面であることにより、凹溝16の上端16aと走行案内面14との間に鋭い角部がないので、走行するローラチェーンCが側方にずれたり蛇行したとき、ローラチェーンCの中央への軌道修正をスムーズに行うことができる。
また、一方の走行案内面14に立設された規制ガイド15の起立基端部15bと、他方の走行案内面14における凹溝16の上端16aとの間隔W8が、ローラチェーンCの外幅W1より狭いか又はほぼ同じであるから、図6に示すように、走行するローラチェーンCが側方にずれて移動した場合、凹溝16内に落下するのを確実に防止することができる。
本発明の実施例3のチェーン走行案内シュー23を有するガイド部材21の断面図を図7に示す。実施例3のチェーン走行案内シュー23は、前記実施例2の走行案内面における湾曲面からなる凹溝の上端の角部に、面取り部24aを形成したものに相当する。
ガイド部材21はシュー取付部材22にチェーン走行案内シュー23を取り付けたものである。チェーン走行案内シュー23は、図7に示すように、ローラチェーンCの内外プレートL1,L2端面を摺動案内する一対の走行案内面24,24、この一対の走行案内面24,24の両最外側に立設された規制ガイド25,25、この一対の走行案内面24,24の間に設けられている凹溝26等をローラチェーンC走行方向の全長に渡って有している。
走行案内面24に立設された規制ガイド25,25は、その立ち上がり部に盛り上がり部25aを有し、この盛り上がり部25aの起端が規制ガイド25の起立基端部25bとなっている。なお、この盛り上がり部25aは必ずしも設けなくてもよく、この場合は走行案内面24と規制ガイド25の壁面25cとの直交角部が起立基端部となる。
凹溝26は下方に湾曲した円弧状(曲率半径R2)の湾曲面からなるものであり、チェーン進入側、離脱側は開放されている。また、この凹溝26の幅W9は、ローラチェーンCの内幅W2より広く、かつ外幅W1より狭く形成されている。そして、凹溝26の上端における走行案内面24の角部には円弧状(曲率半径R3)の面取り部24aが形成され、走行案内面24における面取り部24aの形成起端が起端部24bとなっている。
また、図7に示すように、一方の走行案内面24に立設された規制ガイド25の起立基端部25bと、他方の走行案内面24における面取り部24aの形成起端部24bとの間隔W10が、ローラチェーンCの外幅W1より狭いか又はほぼ同じになっている(W10≦W1)。
上記構成からなるチェーン走行案内シュー23の作用効果は次のとおりである。
チェーン走行案内シュー23は、一対の走行案内面24,24、一対の走行案内面24,24の両最外側に立設された規制ガイド25,25、一対の走行案内面24,24の間に設けられている下方に湾曲した円弧状の湾曲面からなる凹溝26等を、ローラチェーンC走行方向の全長に渡って有するので、チェーン走行案内シュー23が全長に渡ってほぼ等しい断面形状となるため、例えば、樹脂による射出成型で製造する場合、全長に渡って均等に冷却硬化され、冷却むらによる寸法精度の低下、内部残留応力歪による寸法精度の低下を抑制することができる。
円弧状の湾曲面からなる凹溝26がローラチェーンC走行方向の全長に渡って設けられているので、エンジン内における潤滑油の凹溝26への流入性及び流出性が向上して流れがよくなると共に循環性も向上し、そのため、ローラチェーンCと走行案内面24との摩擦により熱が発生した場合には潤滑油で冷却することができると共に摩擦抵抗を低減することができ、ひいてはローラチェーンCあるいは走行案内面24の摩耗を抑制することができる。
ローラチェーンCがチェーン走行案内シュー23のほぼ中央を走行する場合、凹溝26の幅W9が、ローラチェーンCの内幅W2より広く、ローラチェーンCの外幅W1より狭く形成されているので、ローラチェーンCのプレートL1,L2の一部端面のみが走行案内面24と摺接するため摺動面積が減少し走行摩擦抵抗を低減することができると共に、ローラチェーンCが走行案内面24から円弧状の湾曲面からなる凹溝26内に落下することのない安定した走行が可能となる。
凹溝26の上端における走行案内面24の角部に面取り部24aが形成されているので、走行するローラチェーンCが側方にずれたり蛇行したとき、面取り部24aによりローラチェーンCの各プレートL1,L2の下端面が角部に引っかからないようにすることができるため、ローラチェーンCの中央への軌道修正をスムーズに行うことができる。
また、一方の走行案内面24に立設された規制ガイド25の起立基端部25bと、他方の走行案内面24における凹溝26の上端との間隔W8が、ローラチェーンCの外幅W1より狭いか又はほぼ同じであるから、図6に示すように、走行するローラチェーンCが側方にずれて移動した場合、凹溝26内に落下するのを確実に防止することができる。
以上各実施例について説明したが、本発明のチェーン走行案内シューは、シュー取付部材に別体として取り付けても、シュー取付部材と一体に形成してもよい。また、チェーン走行案内シューは、プラスチック製、金属製など、ローラチェーンとの摩擦抵抗の少ないものであれば如何なるものでもよく、素材としては、高温環境下で耐久性を発揮するとともにチェーンの円滑な摺接走行を達成することが可能である素材が好適である。プラスチック製のものとするときは、例えば、ポリアミド6樹脂、ポリアミド46樹脂、ポリアミド66樹脂、ポリアセタール樹脂など合成樹脂材料などの素材を用いるのが好ましい。
タイミングチェーンドライブシステムの説明図である。 本発明実施例1のチェーン走行案内シューを有するガイド部材の側面図である。 ガイド部材の平面図である。 (A)はガイド部材の断面図、(B)は要部拡大図である。 ローラチェーンが側方にずれたときの説明図である。 実施例2のチェーン走行案内シューを有するガイド部材の側面図である。 実施例3のチェーン走行案内シューを有するガイド部材の断面図である。 従来のガイド部材の斜視図である。 図8のX9−X9線断面図である。 図8のX10−X10線断面図である。
符号の説明
1 ガイド部材 2 シュー取付部材
3 チェーン走行案内シュー 4 走行案内面
4a 面取り部 4b 面取り部の形成起端部
5 規制ガイド 5a 盛り上がり部
5b 規制ガイドの起立基端部 5c 規制ガイドの壁面
5d 直交角部 6 凹溝
6a 凹溝の壁面 6b 凹溝の上端
11 ガイド部材 12 シュー取付部材
13 チェーン走行案内シュー 14 走行案内面
15 規制ガイド 15a 盛り上がり部
15b 起立基端部 15c 規制ガイドの壁面
16 湾曲面からなる凹溝 16a 凹溝の上端
21 ガイド部材 22 シュー取付部材
23 チェーン走行案内シュー 24 走行案内面
24a 面取り部 24b 面取り部の形成起端部
25 規制ガイド 25a 盛り上がり部
25b 起立基端部 25c 壁面
26 凹溝
L1 外プレート L2 内プレート
C ローラチェーン W1 ローラチェーンの外幅
W2 ローラチェーンの内幅 W3 凹溝の幅
W4 凹溝の一方壁面と対向する他方側の規制ガイドの壁面との間隔
W5 規制ガイドの起立基端部と面取り部の形成起端部との間隔
W6 凹溝6の幅 W7 凹溝16の幅
W8 起立基端部と凹溝の上端16aとの間隔
W9 凹溝26の幅
W10 起立基端部と面取り部の形成起端部との間隔

Claims (6)

  1. ローラチェーン両側のプレート端面を摺動案内する一対の走行案内面、該一対の走行案内面の両最外側に立設されたローラチェーンの側方移動を規制する規制ガイド、該一対の走行案内面の間に設けられている凹溝等を、前記ローラチェーン走行方向の全長に渡って有するチェーン走行案内シューであって、
    前記凹溝が上方開放のほぼコの字形状で、該凹溝は前記ローラチェーンの内幅より広く、かつ外幅より狭い幅に形成され、
    前記凹溝の上端における前記走行案内面の角部に面取り部が形成されていることを特徴とするチェーン走行案内シュー。
  2. 前記一方の走行案内面に立設された規制ガイドの起立基端部と、他方の走行案内面における面取り部の形成起端部との間隔が、前記ローラチェーンの外幅より狭いか又はほぼ同じであることを特徴とする請求項1記載のチェーン走行案内シュー。
  3. ローラチェーン両側のプレート端面を摺動案内する一対の走行案内面、該一対の走行案内面の両最外側に立設されたローラチェーンの側方移動を規制する規制ガイド、該一対の走行案内面の間に設けられた凹溝等を、前記ローラチェーン走行方向の全長に渡って有するチェーン走行案内シューであって、
    前記凹溝が下方に湾曲した円弧状の湾曲面からなり、該凹溝は前記ローラチェーンの内幅より広く、かつ外幅より狭い幅に形成されていることを特徴とするチェーン走行案内シュー。
  4. 前記一方の走行案内面に立設された規制ガイドの起立基端部と、他方の走行案内面における前記湾曲面からなる凹溝の上端との間隔が、前記ローラチェーンの外幅より狭いか又はほぼ同じであることを特徴とする請求項3記載のチェーン走行案内シュー。
  5. 前記湾曲面からなる凹溝の上端における前記走行案内面の角部に面取り部が形成されていることを特徴とする請求項3記載のチェーン走行案内シュー。
  6. 前記一方の走行案内面に立設された規制ガイドの起立基端部と、他方の走行案内面における面取り部の形成起端部との間隔が、前記ローラチェーンの外幅より狭いか又はほぼ同じであることを特徴とする請求項5記載のチェーン走行案内シュー。
JP2008255932A 2008-10-01 2008-10-01 チェーン走行案内シュー Active JP4751923B2 (ja)

Priority Applications (3)

Application Number Priority Date Filing Date Title
JP2008255932A JP4751923B2 (ja) 2008-10-01 2008-10-01 チェーン走行案内シュー
CN200910168390.2A CN101713451B (zh) 2008-10-01 2009-09-02 链条运行导靴
KR1020090083438A KR101387774B1 (ko) 2008-10-01 2009-09-04 체인 주행 안내 슈

Applications Claiming Priority (1)

Application Number Priority Date Filing Date Title
JP2008255932A JP4751923B2 (ja) 2008-10-01 2008-10-01 チェーン走行案内シュー

Publications (2)

Publication Number Publication Date
JP2010084882A true JP2010084882A (ja) 2010-04-15
JP4751923B2 JP4751923B2 (ja) 2011-08-17

Family

ID=42214717

Family Applications (1)

Application Number Title Priority Date Filing Date
JP2008255932A Active JP4751923B2 (ja) 2008-10-01 2008-10-01 チェーン走行案内シュー

Country Status (3)

Country Link
JP (1) JP4751923B2 (ja)
KR (1) KR101387774B1 (ja)
CN (1) CN101713451B (ja)

Cited By (7)

* Cited by examiner, † Cited by third party
Publication number Priority date Publication date Assignee Title
WO2012007509A3 (de) * 2010-07-13 2012-05-10 Entec Consulting Gmbh Kettentrieb für verbrennungskraftmaschinen
CN102849589A (zh) * 2011-06-28 2013-01-02 株式会社日立制作所 乘客传送设备及其使用的引导靴
JP2013056728A (ja) * 2011-09-07 2013-03-28 Hitachi Ltd 乗客コンベア及びそのガイドシュー
JP2014109305A (ja) * 2012-11-30 2014-06-12 Tsubakimoto Chain Co チェーン伝動装置
JP2018193900A (ja) * 2017-05-16 2018-12-06 マツダ株式会社 エンジンのチェーン潤滑装置
CN111868366A (zh) * 2018-03-16 2020-10-30 沃尔沃卡车集团 用于估算气缸压力的方法
US11473652B2 (en) * 2020-04-10 2022-10-18 Tsubakimoto Chain Co. Chain guide

Families Citing this family (1)

* Cited by examiner, † Cited by third party
Publication number Priority date Publication date Assignee Title
JP2012241739A (ja) * 2011-05-16 2012-12-10 Tsubakimoto Chain Co エンジン用固定ガイド

Citations (2)

* Cited by examiner, † Cited by third party
Publication number Priority date Publication date Assignee Title
JPH1144349A (ja) * 1997-07-28 1999-02-16 Tsubakimoto Chain Co 伝動チェーンの走行案内シュー
JP2006329221A (ja) * 2005-05-23 2006-12-07 Toyota Motor Corp チェーン式伝動装置

Family Cites Families (5)

* Cited by examiner, † Cited by third party
Publication number Priority date Publication date Assignee Title
JPH0736201Y2 (ja) * 1989-05-31 1995-08-16 株式会社椿本チエイン 合成樹脂製シューを具えたチェーンガイドレール
JPH089476Y2 (ja) * 1991-11-07 1996-03-21 株式会社椿本チエイン チェーンガイドのアームとシューの一体化構造
US5779582A (en) * 1996-03-06 1998-07-14 Mott; Philip J. Chain guide with tapered side rails
JP3805449B2 (ja) * 1996-12-19 2006-08-02 株式会社椿本チエイン ローラチェーン用走行案内シュー
JP4826145B2 (ja) * 2005-06-08 2011-11-30 トヨタ自動車株式会社 チェーン式伝動装置

Patent Citations (2)

* Cited by examiner, † Cited by third party
Publication number Priority date Publication date Assignee Title
JPH1144349A (ja) * 1997-07-28 1999-02-16 Tsubakimoto Chain Co 伝動チェーンの走行案内シュー
JP2006329221A (ja) * 2005-05-23 2006-12-07 Toyota Motor Corp チェーン式伝動装置

Cited By (8)

* Cited by examiner, † Cited by third party
Publication number Priority date Publication date Assignee Title
WO2012007509A3 (de) * 2010-07-13 2012-05-10 Entec Consulting Gmbh Kettentrieb für verbrennungskraftmaschinen
CN102849589A (zh) * 2011-06-28 2013-01-02 株式会社日立制作所 乘客传送设备及其使用的引导靴
JP2013010584A (ja) * 2011-06-28 2013-01-17 Hitachi Ltd 乗客コンベア及びこれに用いられるガイドシュー
JP2013056728A (ja) * 2011-09-07 2013-03-28 Hitachi Ltd 乗客コンベア及びそのガイドシュー
JP2014109305A (ja) * 2012-11-30 2014-06-12 Tsubakimoto Chain Co チェーン伝動装置
JP2018193900A (ja) * 2017-05-16 2018-12-06 マツダ株式会社 エンジンのチェーン潤滑装置
CN111868366A (zh) * 2018-03-16 2020-10-30 沃尔沃卡车集团 用于估算气缸压力的方法
US11473652B2 (en) * 2020-04-10 2022-10-18 Tsubakimoto Chain Co. Chain guide

Also Published As

Publication number Publication date
JP4751923B2 (ja) 2011-08-17
KR20100037541A (ko) 2010-04-09
CN101713451B (zh) 2014-08-20
KR101387774B1 (ko) 2014-04-21
CN101713451A (zh) 2010-05-26

Similar Documents

Publication Publication Date Title
JP4751923B2 (ja) チェーン走行案内シュー
US9279481B2 (en) Chain guide
US8900079B2 (en) Transmission guide
JP3805449B2 (ja) ローラチェーン用走行案内シュー
US7524254B2 (en) Guide for transmission device
US20160138684A1 (en) Guide shoe
US9482336B2 (en) Guide shoe
US20090017951A1 (en) Transmission chain for use in engine
US9856942B2 (en) Articulated chain with low-friction link plate back
US8007385B2 (en) Sliding contact guide for transmission device
JP2015137685A (ja) 案内シュー
JP7168471B2 (ja) 直動案内ユニット及びその製造方法
JP2010281353A (ja) チェーンガイド機構
JP2008291888A (ja) チェーン用シュー
KR20150062939A (ko) 체인 및 체인용 가이드 플레이트
CN103851144A (zh) 链条传动装置
US11473652B2 (en) Chain guide
JP7002944B2 (ja) ガイドまたはアームの一端部からフェイス組み立てを可能にするチェーンテンショナーアームまたはチェーンガイドフラットフェイス機構
JP5437607B2 (ja) チェーンおよびチェーン式動力伝達システム
US20140274513A1 (en) Chain guide
JP5100710B2 (ja) チェーンガイド機構
JP2012127377A (ja) チェーンガイド
KR101958552B1 (ko) 체인 가이드
US9885401B2 (en) Chain guide and chain transmission device
JP6788181B2 (ja) チェーン伝動装置

Legal Events

Date Code Title Description
A621 Written request for application examination

Free format text: JAPANESE INTERMEDIATE CODE: A621

Effective date: 20100924

A977 Report on retrieval

Free format text: JAPANESE INTERMEDIATE CODE: A971007

Effective date: 20110202

A131 Notification of reasons for refusal

Free format text: JAPANESE INTERMEDIATE CODE: A131

Effective date: 20110208

A521 Written amendment

Free format text: JAPANESE INTERMEDIATE CODE: A523

Effective date: 20110316

TRDD Decision of grant or rejection written
A01 Written decision to grant a patent or to grant a registration (utility model)

Free format text: JAPANESE INTERMEDIATE CODE: A01

Effective date: 20110517

A01 Written decision to grant a patent or to grant a registration (utility model)

Free format text: JAPANESE INTERMEDIATE CODE: A01

A61 First payment of annual fees (during grant procedure)

Free format text: JAPANESE INTERMEDIATE CODE: A61

Effective date: 20110523

R150 Certificate of patent or registration of utility model

Ref document number: 4751923

Country of ref document: JP

Free format text: JAPANESE INTERMEDIATE CODE: R150

Free format text: JAPANESE INTERMEDIATE CODE: R150

FPAY Renewal fee payment (event date is renewal date of database)

Free format text: PAYMENT UNTIL: 20140527

Year of fee payment: 3