JP2010084590A - ディーゼルエンジン - Google Patents

ディーゼルエンジン Download PDF

Info

Publication number
JP2010084590A
JP2010084590A JP2008253340A JP2008253340A JP2010084590A JP 2010084590 A JP2010084590 A JP 2010084590A JP 2008253340 A JP2008253340 A JP 2008253340A JP 2008253340 A JP2008253340 A JP 2008253340A JP 2010084590 A JP2010084590 A JP 2010084590A
Authority
JP
Japan
Prior art keywords
oil
housing case
passage
injection pump
governor
Prior art date
Legal status (The legal status is an assumption and is not a legal conclusion. Google has not performed a legal analysis and makes no representation as to the accuracy of the status listed.)
Granted
Application number
JP2008253340A
Other languages
English (en)
Other versions
JP4892535B2 (ja
Inventor
Manabu Miyazaki
学 宮▲崎▼
Wataru Iwanaga
渉 岩永
Satoshi Sugimoto
智 杉本
Satoshi Hasegawa
諭 長谷川
Yuzo Umeda
裕三 梅田
Current Assignee (The listed assignees may be inaccurate. Google has not performed a legal analysis and makes no representation or warranty as to the accuracy of the list.)
Kubota Corp
Original Assignee
Kubota Corp
Priority date (The priority date is an assumption and is not a legal conclusion. Google has not performed a legal analysis and makes no representation as to the accuracy of the date listed.)
Filing date
Publication date
Application filed by Kubota Corp filed Critical Kubota Corp
Priority to JP2008253340A priority Critical patent/JP4892535B2/ja
Publication of JP2010084590A publication Critical patent/JP2010084590A/ja
Application granted granted Critical
Publication of JP4892535B2 publication Critical patent/JP4892535B2/ja
Active legal-status Critical Current
Anticipated expiration legal-status Critical

Links

Images

Landscapes

  • Lubrication Details And Ventilation Of Internal Combustion Engines (AREA)
  • High-Pressure Fuel Injection Pump Control (AREA)
  • Lubrication Of Internal Combustion Engines (AREA)

Abstract

【課題】燃料噴射ポンプの調量精度の低下を抑制することができるディーゼルエンジンを提供する。
【解決手段】エンジンオイル14が、ガバナ収容ケース4のオイル流出口18を介してポンプ収容ケース1の内底部に流れ込んだ後、ポンプ収容ケース1のオイル流出通路20を介して調時伝動ギヤケース11内に流れ込み、オイルパン13内に戻るようにした、ディーゼルエンジンにおいて、燃料噴射カム軸(3)の架設方向を前後方向として、噴射ポンプ収容ケース1の内底部に、噴射ポンプ収容ケース1のオイル流出通路2)側に向けて燃料噴射カム34の下方を通過する前後向きのオイル通過溝21が設けられている。
【選択図】図1

Description

本発明は、ディーゼルエンジンに関し、詳しくは、燃料噴射ポンプの調量精度の低下を抑制することができるディーゼルエンジンに関するものである。
従来のディーゼルエンジンとして、本発明と同様、噴射ポンプ収容ケースに燃料噴射ポンプが収容され、この燃料噴射ポンプの下方に燃料噴射カム軸が架設され、噴射ポンプ収容ケースの一端側にガバナ収容ケースが設けられ、このガバナ収容ケース内にメカニカルガバナが収容され、燃料噴射カム軸の一端側にガバナウェイトが取り付けられ、このガバナウェイトにガバナレバーのガバナ力入力部が連携され、ガバナレバーの出力部に燃料噴射ポンプの燃料調量部が連動連結され、噴射ポンプ収容ケースの他端側が調時伝動ギヤケースに取り付けられ、燃料噴射カム軸の他端側に燃料噴射カムギヤが取り付けられ、この燃料噴射カムギヤが調時伝動ギヤケースに収容され、
オイルパン内のエンジンオイルがオイルポンプの圧送力でガバナレバーに供給されるようにし、ガバナ収容ケースと噴射ポンプ収容ケースとの隔壁にガバナ収容ケースのオイル流出口が設けられ、噴射ポンプ収容ケースと調時伝動ギヤケースとの間に噴射ポンプ収容ケースのオイル流出通路が設けられ、ガバナレバーからガバナ収容ケースの内底部に落下したエンジンオイルが、ガバナ収容ケースのオイル流出口を介して噴射ポンプ収容ケースの内底部に流れ込んだ後、噴射ポンプ収容ケースのオイル流出口を介して調時伝動ギヤケース内に流れ込み、オイルパン内に戻るようにしたものがある(例えば、特許文献1参照)。
この従来のディーゼルエンジンでは、噴射ポンプ収容ケースの内底部に流れ込んだエンジンオイルで、燃料噴射カム軸の燃料噴射カムが潤滑される利点がある。
しかし、従来のディーゼルエンジンでは、噴射ポンプ収容ケースの内底部をオイル流出通路側に向かうエンジンオイルの通過経路が、噴射ポンプ収容ケースの内底面と燃料噴射カムとの隙間のみであるため、問題がある。
特開平7−166832号公報(図1〜図3参照)
上記従来技術では、次の問題がある。
《問題》 メカニカルガバナによる燃料噴射ポンプの調量精度が低下する。
噴射ポンプ収容ケースの内底部をオイル流出通路側に向かうエンジンオイルの通過経路が、噴射ポンプ収容ケースの内底面と燃料噴射カムとの隙間のみであるため、噴射ポンプ収容ケースの小型化に伴い、隙間が狭くなると、回転する燃料噴射カムが壁となり、ポンプ収容ケースの内底部でのエンジンオイルの通過が妨げられ、ガバナ収容ケースの内底部にエンジンオイルが過剰に溜まることがある。このため、ガバナウェイトがエンジンオイルに深く浸かり、ガバナウェイトの作動がエンジンオイルの大きな抵抗を受け、その抵抗が外乱となり、メカニカルガバナによる燃料噴射ポンプの調量精度が低下する。
本発明は、上記問題点を解決することができるディーゼルエンジン、すなわち、燃料噴射ポンプの調量精度の低下を抑制することができるディーゼルエンジンを提供することを課題とする。
請求項1に係る発明の発明特定事項は、次の通りである。
図1に例示するように、ポンプ収容ケース(1)に燃料噴射ポンプ(2)が収容され、この燃料噴射ポンプ(2)の下方に燃料噴射カム軸(3)が架設され、ポンプ収容ケース(1)の一端側にガバナ収容ケース(4)が設けられ、このガバナ収容ケース(4)内にメカニカルガバナ(5)が収容され、燃料噴射カム軸(3)の一端側にガバナウェイト(6)が取り付けられ、このガバナウェイト(6)にガバナレバー(7)のガバナ力入力部(8)が連携され、ガバナレバー(7)の出力部(9)に燃料噴射ポンプ(2)の燃料調量部(10)が連動連結され、ポンプ収容ケース(1)の他端側が調時伝動ギヤケース(11)に取り付けられ、燃料噴射カム軸(3)の他端側に燃料噴射カムギヤ(12)が取り付けられ、この燃料噴射カムギヤ(12)が調時伝動ギヤケース(11)内に収容され、
図3に例示するように、オイルパン(13)内のエンジンオイル(14)がオイルポンプ(15)の圧送力でガバナレバー(7)に供給されるようにし、図1に例示するように、ガバナ収容ケース(4)と噴射ポンプ収容ケース(1)との隔壁(17)にガバナ収容ケース(4)のオイル流出口(18)が設けられ、噴射ポンプ収容ケース(1)と調時伝動ギヤケース(11)との間に噴射ポンプ収容ケース(1)のオイル流出通路(20)が設けられ、ガバナレバー(7)からガバナ収容ケース(4)の内底部に落下したエンジンオイル(14)が、ガバナ収容ケース(4)のオイル流出口(18)を介して噴射ポンプ収容ケース(1)の内底部に流れ込んだ後、噴射ポンプ収容ケース(1)のオイル流出通路(20)を介して調時伝動ギヤケース(11)内に流れ込み、オイルパン(13)内に戻るようにした、ディーゼルエンジンにおいて、
図1に例示するように、燃料噴射カム軸(3)の架設方向を前後方向として、噴射ポンプ収容ケース(1)の内底部に、噴射ポンプ収容ケース(1)のオイル流出通路(20)側に向けて燃料噴射カム(34)の下方を通過する前後向きのオイル通過溝(21)が設けられた、ことを特徴とするディーゼルエンジン。
(請求項1に係る発明)
《効果》 燃料噴射ポンプの調量精度の低下を抑制することができる。
図1に例示するように、燃料噴射カム軸(3)の架設方向を前後方向として、噴射ポンプ収容ケース(1)の内底部に、噴射ポンプ収容ケース(1)のオイル流出通路(20)側に向けて燃料噴射カム(34)の下方を通過する前後向きのオイル通過溝(21)が設けられたので、噴射ポンプ収容ケース(1)の内底部のエンジンオイル(14)の通過が前後向きのオイル通過溝(21)を介して行われ、その通過が回転する燃料噴射カム(34)で妨げられることがなく、ガバナ収容ケース(4)の内底部にエンジンオイル(14)が過剰に溜まるのを防止することができる。このため、ガバナウェイト(6)がエンジンオイル(14)に深く浸かることがなく、ガバナウェイト(6)の作動がエンジンオイル(14)で大きな抵抗をうける不具合が回避され、この外乱に起因する燃料噴射ポンプ(2)の調量精度の低下を抑制することができる。
(請求項2に係る発明)
請求項1に係る発明の効果に加え、次の効果を奏する。
《効果》 燃料噴射ポンプの調量精度の低下を抑制する機能が高い。
図1に例示するように、ガバナ収容ケース(4)のオイル流出口(18)と前後向きのオイル通過溝(21)とが、直進するキリの一連のキリ加工で連続形成されたものであるため、ガバナ収容ケース(4)のオイル流出口(18)から前後向きのオイル通過溝(21)にエンジンオイル(14)がスムーズに受け渡される。このため、ガバナ収容ケース(4)の内底部にエンジンオイル(14)が溜まりにくく、燃料噴射ポンプ(2)の調量精度の低下を抑制する機能が高い。
《効果》 キリ加工の工程が少なくて済む。
図1に例示するように、ガバナ収容ケース(4)のオイル流出口(18)と前後向きのオイル通過溝(21)とが、直進するキリの一連のキリ加工で連続形成されたものであるため、キリ加工の工程が少なくて済む。
(請求項3に係る発明)
請求項1または請求項2に係る発明の効果に加え、次の効果を奏する。
《効果》 メカニカルガバナの潤滑性能を高くすることができる。
図1に例示するように、噴射ポンプ収容ケース(1)の内底部のエンジンオイル(14)がオイル流出通路(20)の通路入口(22)からオーバーフローされるようにしたので、ポンプ収容ケース(1)の内底部に溜まるエンジンオイル(14)の量をオイル流出通路(20)の通路入口(22)の位置設定によって管理することができ、ガバナレバー(7)へのエンジンオイル(14)の供給量を多くしても、噴射ポンプ収容ケース(1)の内底部のエンジンオイル(14)をオイル流出通路(20)の通路入口(22)からオーバーフローさせることで、ガバナ収容ケース(4)内底部にエンジンオイル(14)が過剰に溜まるのを防止することができる。このため、メカニカルガバナ(5)の潤滑性能を高くすることができる。
(請求項4に係る発明)
請求項3の係る発明の効果に加え、次の効果を奏する。
《効果》 オイル流出通路と通路入口の形成を容易に行うことができる。
図1に例示するように、オイル流出通路(20)は噴射ポンプ収容ケース(1)の端壁(23)から噴射ポンプ収容ケース(1)の内底部に向けて直進するキリ(24)のキリ加工で形成され、この直進するキリ(24)による噴射ポンプ収容ケース(1)の内底面の貫通により噴射ポンプ収容ケース(1)の内底面にオイル流出通路(20)の通路入口(22)が開口されるようにしたので、直進する一工程のキリ加工により、オイル流出通路(20)と通路入口(22)の形成を容易に行うことができる。
(請求項5に係る発明)
請求項1から請求項4のいずれかに係る発明の効果に加え、次の効果を奏する。
《効果》 燃料噴射ポンプの調量精度の低下を抑制する機能が高い。
図1に例示するように、前後向きのオイル通過溝(21)とオイル流出通路(20)とが接続されているので、前後向きのオイル通過溝(21)からオイル流出通路(20)にエンジンオイル(14)がスムーズに受け渡される。このため、ガバナ収容ケース(4)の内底部にエンジンオイル(14)が溜まりにくく、燃料噴射ポンプ(2)の調量精度の低下を抑制する機能が高い。
(請求項6に係る発明)
請求項1から請求項5のいずれかに係る発明の効果に加え、次の効果を奏する。
《効果》 フィードポンプ室へのエンジンオイルの進入が防止される。
図2に例示するように、噴射ポンプ収容ケース(1)の内底部とロッカアーム挿入通路(54)との境界に形成される突条(58)が横向きのオイル通過溝(59)で除肉されているので、噴射ポンプ収容ケース(1)の内底部のエンジンオイル(14)がポンプ連動部収容通路(52)に進入しても、このエンジンオイル(14)は噴射ポンプ収容ケース(1)の内底部に直ぐに戻り、フィードポンプ室(51)へのエンジンオイル(14)の進入が防止される。
突条(58)が横向きのオイル通過溝(59)で除肉されていない場合には、エンジンの振動により、噴射ポンプ収容ケース(1)の内底部のエンジンオイル(14)がポンプ連動部収容通路(52)に進入すると、噴射ポンプ収容ケース(1)の内底部に戻りにくく、ポンプ連動部収容通路(52)でのエンジンオイル(14)の油面が上がり、エンジンオイル(14)がフィードポンプ室(51)に進入する不具合が発生するが、突条(58)が横向きのオイル通過溝(59)で除肉されると、ポンプ連動部収容通路(52)に進入したエンジンオイル(14)が噴射ポンプ収容ケース(1)の内底部に直ぐに戻り、このような不具合が生じない。横向きのオイル通過溝(59)によって、ポンプ連動部収容通路(52)から噴射ポンプ収容ケース(1)の内底部へのエンジンオイル(14)の戻りが助けられるためと推定される。
(請求項7に係る発明)
請求項6に係る発明の効果に加え、次の効果を奏する。
《効果》 燃料噴射カムの潤滑性を高めることができる。
図2に例示するように、前後向きのオイル通過溝(21)と噴射ポンプ収容ケース(1)の内底部との境界に形成される突条(60)がオイル通過凹部(61)で除肉されているので、前後向きのオイル通過溝(21)を通過するエンジンオイル(14)の一部がオイル通過凹部(61)を介して噴射ポンプ収容ケース(1)の内底部に流入しやすく、燃料噴射カム(34)の潤滑性を高めることができる。
(請求項8に係る発明)
請求項7に係る発明の効果に加え、次の効果を奏する。
《効果》 横向きのオイル通過溝の形成ミスを防止することができる。
図2に例示するように、横向きのオイル通過溝(59)とオイル通過凹部(61)とが、噴射ポンプ収容ケース(1)の外側からロッカアーム挿入通路(54)内を経て噴射ポンプ収容ケース(1)の内底部に向けて直進するキリ(63)の一連のキリ加工で形成されたものであるため、キリ加工時には、キリ(63)の先が前後向きのオイル通過溝(21)と噴射ポンプ収容ケース(1)の内底部との境界に形成される突条(60)に当たるまで、キリ(63)を進入させる必要があり、キリ(63)の進入不足で横向きのオイル通過溝(59)が開通しないというオイル通過溝(59)の形成ミスを防止することができる。
《効果》 キリ加工の工程が少なくて済む。
図2に例示するように、横向きのオイル通過溝(59)とオイル通過凹部(61)とが、噴射ポンプ収容ケース(1)の外側からロッカアーム挿入通路(54)内を経て噴射ポンプ収容ケース(1)の内底部に向けて直進するキリ(63)の一連のキリ加工で形成されたものであるため、キリ加工の工程が少なくて済む。
本発明の実施の形態を図面に基づいて説明する。図1から図6は本発明の実施形態に係るディーゼルエンジンを説明する図で、この実施形態では、立形多気筒ディーゼルエンジンについて説明する。
本発明の実施形態の概要は、次の通りである。
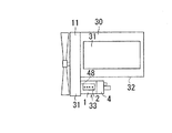
図6に示すように、シリンダブロック(30)の上部にシリンダヘッド(31)が取り付けられ、シリンダブロック(30)の前部に調時伝動ギヤケース(11)が取り付けられている。調時伝動ギヤケース(11)の横端部(31)はシリンダブロック(30)の横側面(32)よりも横側に張り出され、この横端部(31)の後壁(48)に燃料噴射ポンプユニット(33)が取り付けられている。
燃料噴射ポンプユニットの構成は、次の通りである。
燃料噴射ポンプユニット(33)は、噴射ポンプ収容ケース(1)とガバナ収容ケース(4)とその内部部品と燃料噴射カムギヤ(12)からなる。
図1に示すように、噴射ポンプ収容ケース(1)に燃料噴射ポンプ(2)が収容され、この燃料噴射ポンプ(2)の下方に燃料噴射カム軸(3)が架設され、噴射ポンプ収容ケース(1)の後端側にガバナ収容ケース(4)が設けられ、このガバナ収容ケース(4)内にメカニカルガバナ(5)が収容され、燃料噴射カム軸(3)の後端側にガバナウェイト(6)が取り付けられ、このガバナウェイト(6)にガバナレバー(7)のガバナ力入力部(8)が連携され、ガバナレバー(7)の出力部(9)に燃料噴射ポンプ(2)の燃料調量部(10)が連動連結され、噴射ポンプ収容ケース(1)の前端側が調時伝動ギヤケース(11)に取り付けられ、燃料噴射カム軸(3)の前端側に燃料噴射カムギヤ(12)が取り付けられ、この燃料噴射カムギヤ(12)が調時伝動ギヤケース(11)内に収容されている。
図1に示すように、燃料噴射ポンプ(2)はプランジャを備えた列形噴射ポンプであり、燃料噴射カム軸(3)は4枚の燃料噴射カム(34)と1枚の燃料フィードカム(35)とを備えている。燃料噴射カム軸(3)の後端部は、ガバナ収容ケース(4)内に突出され、この後端部にウェイトホルダ(36)を介してガバナウェイト(6)が揺動自在に取り付けられるとともに、ガバナスリーブ(37)が前後摺動自在に取り付けられ、ガバナウェイト(6)の揺動がガバナスリーブ(37)の前後摺動を介してガバナレバー(7)のガバナ力入力部(8)に伝達されるようになっている。ガバナレバー(7)の出力部(9)には連動板(38)を介して燃料噴射ポンプ(2)の燃料調量部(10)が連動連結されている。燃料調量部(10)は燃料調量ラックである。燃料噴射カムギヤ(12)は燃料噴射カム軸(3)の前端部に外嵌固定され、クランク軸(図外)のクランクギヤ(図外)からアイドルギヤ(39)を介して駆動される。クランクギヤとアイドルギヤ(39)と燃料噴射カムギヤ(12)とを含む調時伝動ギヤトレイン(29)は、調時伝動ギヤケース(11)内に収容されている。
図4(A)(B)に示すように、噴射ポンプ収容ケース(1)の前側の端壁(23)には、円環状の嵌入部(65)が設けられ、図1に示すように、この円環状の嵌入部(65)が調時伝動ギヤケース(11)の後壁(48)の嵌合孔(66)に嵌合され、燃料噴射ポンプユニット(33)は所定の傾きで調時伝動ギヤケース(11)の後壁(48)に固定されている。
図2に示すように、この実施形態の燃料噴射ポンプユニット(33)は燃料フィードポンプ(25)側に傾けて固定されている。
図3に示すように、オイルパン(13)内のエンジンオイル(14)がオイルポンプ(15)の圧送力でガバナレバー(7)に供給されるようにし、図1に示すように、ガバナ収容ケース(4)と噴射ポンプ収容ケース(1)との隔壁(17)にガバナ収容ケース(4)のオイル流出口(18)が設けられ、噴射ポンプ収容ケース(1)と調時伝動ギヤケース(11)との間にポンプ収容ケース(1)のオイル流出通路(20)が設けられている。
図1に示すように、ガバナレバー(7)からガバナ収容ケース(4)の内底部に落下したエンジンオイル(14)が、ガバナ収容ケース(4)のオイル流出口(18)を介してポンプ収容ケース(1)の内底部に流れ込んだ後、ポンプ収容ケース(1)のオイル流出通路(20)を介して調時伝動ギヤケース(11)内に流れ込み、オイルパン(13)内に戻るようにしている。
図1に示すように、ガバナ収容ケース(1)のオイル流出口(18)は、燃料噴射カム軸(3)を軸受けする後側ボールベアリング(40)の下方に設けられている。図1の符号(41)は燃料噴射カム軸(3)を軸受けする前側ボールベアリングである。図5に示すように、ガバナ収容ケース(4)と噴射ポンプ収容ケース(1)との隔壁(17)には、左右一対のオイルオーバーフロー孔(64)(64)が設けられている。
ガバナレバーの潤滑構造は、次の通りである。
図3(A)に示すように、ガバナ収容ケース(4)内にガバナレバー枢軸(42)が架設され、ガバナレバー(7)にボス(45)が取り付けられ、このボス(45)がガバナレバー枢軸(42)に外嵌され、枢支部(16)が構成されている。図3(B)に示すように、ガバナレバー枢軸(42)にはその中心軸に沿う軸内オイル通路(43)が設けられ、オイルパン(13)内のエンジンオイル(14)がオイルポンプ(15)の圧送力で軸内オイル通路(43)に供給されるようになっている。ガバナレバー枢軸(42)の軸長方向中央部は小径部(44)とされ、この小径部(44)とボス(45)との間に給油隙間(46)が設けられ、小径部(44)の径方向にオイル流出孔(47)が設けられ、オイル流出孔(47)で軸内オイル通路(43)と給油隙間(46)が連通され、軸内オイル通路(43)からオイル流出孔(47)を経て給油隙間(46)に給油が行われるようにしてある。この給油隙間(46)に供給されたエンジンオイル(14)は、ガバナレバー枢軸(42)とボス(45)との隙間を通過して、ガバナ収容ケース(4)の内底部に落下する。
図1に示すように、燃料噴射カム軸(3)の架設方向を前後方向として、噴射ポンプ収容ケース(1)の内底部に、噴射ポンプ収容ケース(1)のオイル流出通路(20)側に向けて燃料噴射カム(34)の下方を通過する前後向きのオイル通過溝(21)が設けられている。
ガバナ収容ケース(4)のオイル流出口(18)と前後向きのオイル通過溝(21)とは、直進するキリの一連のキリ加工で連続形成されたものである。
オイル流出通路(20)の通路入口(22)は噴射ポンプ収容ケース(1)の内底部の最も低い位置よりも高く配置され、噴射ポンプ収容ケース(1)の内底部のエンジンオイル(14)がオイル流出通路(20)の通路入口(22)からオーバーフローするようにしている。
オイル流出通路(20)は噴射ポンプ収容ケース(1)の端壁(23)から噴射ポンプ収容ケース(1)の内底部に向けて直進するキリ(24)のキリ加工で形成されたものであり、この直進するキリ(24)による噴射ポンプ収容ケース(1)の内底面の貫通により、噴射ポンプ収容ケース(1)の内底面にオイル流出通路(20)の通路入口(22)が開口されている。
前後向きのオイル通過溝(21)とオイル流出通路(20)とは接続されている。
図2に示すように、燃料噴射カム軸(3)の架設方向と平行な向きに見て、噴射ポンプ収容ケース(1)の横に燃料噴射ポンプ(2)に燃料を供給する燃料フィードポンプ(25)が配置され、この燃料フィードポンプ(25)のフィードポンプ室(51)の下方にポンプ連動部収容通路(52)が配置され、ポンプ連動部収容通路(52)の横にロッカアーム取り付け通路(53)が配置され、ロッカアーム取り付け通路(53)の横に噴射ポンプ収容ケース(1)のロッカアーム挿入通路(54)が配置され、ポンプ連動部収容通路(52)がロッカアーム取り付け通路(53)と噴射ポンプ収容ケース(1)のロッカアーム挿入通路(54)を介して噴射ポンプ収容ケース(1)の内底部と連通されている。
図2に示すように、ロッカアーム取り付け通路(53)に取り付けられたロッカアーム(55)がロッカアーム挿入通路(54)を介して噴射ポンプ収容ケース(1)内に挿入され、燃料噴射カム軸(3)の燃料フィードカム(35)からロッカアーム(55)とポンプ連動部収容通路(52)内のポンプ連動部(56)を介してフィードポンプ室(51)のポンプ作動部(57)が駆動される。
このようにするに当たり、噴射ポンプ収容ケース(1)の内底部とロッカアーム挿入通路(54)との境界に形成される突条(58)が横向きのオイル通過溝(59)で除肉されている。
図2に示すように、前後向きのオイル通過溝(21)と噴射ポンプ収容ケース(1)の内底部との境界に形成される突条(60)がオイル通過凹部(61)で除肉されている。
横向きのオイル通過溝(59)とオイル通過凹部(61)とは、噴射ポンプ収容ケース(1)の外側からロッカアーム挿入通路(54)内を経て噴射ポンプ収容ケース(1)の内底部に向けて直進するキリ(63)の一連のキリ加工で形成されたものである。
本発明の実施形態に係るディーゼルエンジンで用いる燃料噴射ポンプユニット縦断側面図である。 図1のII−II線断面図である。 図1の燃料噴射ポンプユニットで用いるメカニカルガバナの説明図で、図3(A)は縦断正面図、図3(B)はガバナレバーの枢支部の縦断正面拡大図である。 図1の燃料噴射ポンプユニットで用いる噴射ポンプ収容ケースを説明する図で、図4(A)は正面図、図4(B)は側面図である。 図1の燃料噴射ポンプユニットで用いる噴射ポンプ収容ケースの背面図である。 本発明の実施形態に係るディーゼルエンジンの模式平面図である。
符号の説明
(1) 噴射ポンプ収容ケース
(2) 燃料噴射ポンプ
(3) 燃料噴射カム軸
(4) ガバナ収容ケース
(5) メカニカルガバナ
(6) ガバナウェイト
(7) ガバナレバー
(8) ガバナ力入力部
(9) 出力部
(10) 燃料調量部
(11) 調時伝動ギヤケース
(12) 燃料噴射カムギヤ
(13) オイルパン
(14) エンジンオイル
(15) オイルポンプ
(17) 隔壁
(18) オイル流出口
(19) 隔壁
(21) 前後向きのオイル通過溝
(22) 通路入口
(23) 端壁
(24) キリ
(25) 燃料フィードポンプ
(34) 燃料噴射カム
(35) 燃料フィードカム
(51) フィードポンプ室
(52) ポンプ連動部収容通路
(53) ロッカアーム取り付け通路
(54) ロッカアーム挿入通路
(55) ロッカアーム
(56) ポンプ連動部
(57) ポンプ作動部
(58) 突条
(59) 横向きのオイル通過溝
(60) 突条
(61) オイル通過凹部
(63) キリ

Claims (8)

  1. 噴射ポンプ収容ケース(1)に燃料噴射ポンプ(2)が収容され、この燃料噴射ポンプ(2)の下方に燃料噴射カム軸(3)が架設され、噴射ポンプ収容ケース(1)の一端側にガバナ収容ケース(4)が設けられ、このガバナ収容ケース(4)内にメカニカルガバナ(5)が収容され、燃料噴射カム軸(3)の一端側にガバナウェイト(6)が取り付けられ、このガバナウェイト(6)にガバナレバー(7)のガバナ力入力部(8)が連携され、ガバナレバー(7)の出力部(9)に燃料噴射ポンプ(2)の燃料調量部(10)が連動連結され、噴射ポンプ収容ケース(1)の他端側が調時伝動ギヤケース(11)に取り付けられ、燃料噴射カム軸(3)の他端側に燃料噴射カムギヤ(12)が取り付けられ、この燃料噴射カムギヤ(12)が調時伝動ギヤケース(11)内に収容され、
    オイルパン(13)内のエンジンオイル(14)がオイルポンプ(15)の圧送力でガバナレバー(7)に供給されるようにし、ガバナ収容ケース(4)と噴射ポンプ収容ケース(1)との隔壁(17)にガバナ収容ケース(4)のオイル流出口(18)が設けられ、噴射ポンプ収容ケース(1)と調時伝動ギヤケース(11)との間に噴射ポンプ収容ケース(1)のオイル流出通路(20)が設けられ、ガバナレバー(7)からガバナ収容ケース(4)の内底部に落下したエンジンオイル(14)が、ガバナ収容ケース(4)のオイル流出口(18)を介して噴射ポンプ収容ケース(1)の内底部に流れ込んだ後、噴射ポンプ収容ケース(1)のオイル流出通路(20)を介して調時伝動ギヤケース(11)内に流れ込み、オイルパン(13)内に戻るようにした、ディーゼルエンジンにおいて、
    燃料噴射カム軸(3)の架設方向を前後方向として、噴射ポンプ収容ケース(1)の内底部に、噴射ポンプ収容ケース(1)のオイル流出通路(20)側に向けて燃料噴射カム(34)の下方を通過する前後向きのオイル通過溝(21)が設けられた、ことを特徴とするディーゼルエンジン。
  2. 請求項1に記載されたディーゼルエンジンにおいて、
    ガバナ収容ケース(4)のオイル流出口(18)と前後向きのオイル通過溝(21)とが、直進するキリの一連のキリ加工で連続形成されたものである、ことを特徴とするディーゼルエンジン。
  3. 請求項1または請求項2に記載されたディーゼルエンジンにおいて、
    オイル流出通路(20)の通路入口(22)が噴射ポンプ収容ケース(1)の内底部の最も低い位置よりも高く配置され、
    噴射ポンプ収容ケース(1)の内底部のエンジンオイル(14)がオイル流出通路(20)の通路入口(22)からオーバーフローするようにした、ことを特徴とするディーゼルエンジン。
  4. 請求項3に記載されたディーゼルエンジンにおいて、
    オイル流出通路(20)は噴射ポンプ収容ケース(1)の端壁(23)から噴射ポンプ収容ケース(1)の内底部に向けて直進するキリ(24)のキリ加工で形成されたもので、この直進するキリ(24)による噴射ポンプ収容ケース(1)の内底面の貫通により、噴射ポンプ収容ケース(1)の内底面にオイル流出通路(20)の通路入口(22)が開口されている、ことを特徴とするディーゼルエンジン。
  5. 請求項1から請求項4のいずれかに記載されたディーゼルエンジンにおいて、
    前後向きのオイル通過溝(21)とオイル流出通路(20)とが接続されている、ことを特徴とするディーゼルエンジン。
  6. 請求項1から請求項5のいずれかに記載されたディーゼルエンジンにおいて、
    燃料噴射カム軸(3)の架設方向と平行な向きに見て、噴射ポンプ収容ケース(1)の横に燃料噴射ポンプ(2)に燃料を供給する燃料フィードポンプ(25)が配置され、この燃料フィードポンプ(25)のフィードポンプ室(51)の下方にポンプ連動部収容通路(52)が配置され、ポンプ連動部収容通路(52)の横にロッカアーム取り付け通路(53)が配置され、ロッカアーム取り付け通路(53)の横に噴射ポンプ収容ケース(1)のロッカアーム挿入通路(54)が配置され、ポンプ連動部収容通路(52)がロッカアーム取り付け通路(53)と噴射ポンプ収容ケース(1)のロッカアーム挿入通路(54)を介して噴射ポンプ収容ケース(1)の内底部と連通され、
    ロッカアーム取り付け通路(53)に取り付けられたロッカアーム(55)がロッカアーム挿入通路(54)を介して噴射ポンプ収容ケース(1)内に挿入され、燃料噴射カム軸(3)の燃料フィードカム(35)からロッカアーム(55)とポンプ連動部収容通路(52)内のポンプ連動部(56)を介してフィードポンプ室(51)のポンプ作動部(57)が駆動されるに当たり、
    噴射ポンプ収容ケース(1)の内底部とロッカアーム挿入通路(54)との境界に形成される突条(58)が横向きのオイル通過溝(59)で除肉されている、ことを特徴とするディーゼルエンジン。
  7. 請求項6に記載されたディーゼルエンジンにおいて、
    前後向きのオイル通過溝(21)と噴射ポンプ収容ケース(1)の内底部との境界に形成される突条(60)がオイル通過凹部(61)で除肉されている、ことを特徴とするディーゼルエンジン。
  8. 請求項7に記載されたディーゼルエンジンにおいて、
    横向きのオイル通過溝(59)とオイル通過凹部(61)とは、噴射ポンプ収容ケース(1)の外側からロッカアーム挿入通路(54)内を経て噴射ポンプ収容ケース(1)の内底部に向けて直進するキリ(63)の一連のキリ加工で形成されたものである、ことを特徴とするディーゼルエンジン。
JP2008253340A 2008-09-30 2008-09-30 ディーゼルエンジン Active JP4892535B2 (ja)

Priority Applications (1)

Application Number Priority Date Filing Date Title
JP2008253340A JP4892535B2 (ja) 2008-09-30 2008-09-30 ディーゼルエンジン

Applications Claiming Priority (1)

Application Number Priority Date Filing Date Title
JP2008253340A JP4892535B2 (ja) 2008-09-30 2008-09-30 ディーゼルエンジン

Publications (2)

Publication Number Publication Date
JP2010084590A true JP2010084590A (ja) 2010-04-15
JP4892535B2 JP4892535B2 (ja) 2012-03-07

Family

ID=42248802

Family Applications (1)

Application Number Title Priority Date Filing Date
JP2008253340A Active JP4892535B2 (ja) 2008-09-30 2008-09-30 ディーゼルエンジン

Country Status (1)

Country Link
JP (1) JP4892535B2 (ja)

Cited By (1)

* Cited by examiner, † Cited by third party
Publication number Priority date Publication date Assignee Title
JP2013204499A (ja) * 2012-03-28 2013-10-07 Yanmar Co Ltd 燃料噴射ポンプ

Citations (5)

* Cited by examiner, † Cited by third party
Publication number Priority date Publication date Assignee Title
JPS63314325A (ja) * 1987-06-17 1988-12-22 Yanmar Diesel Engine Co Ltd 内燃機関のガバナ装置
JPH07166832A (ja) * 1993-12-17 1995-06-27 Kubota Corp メカニカルガバナ付きエンジン
JP2000104592A (ja) * 1998-09-25 2000-04-11 Kubota Corp メカニカルガバナ付きディーゼルエンジン
JP2000234576A (ja) * 1999-02-15 2000-08-29 Yanmar Diesel Engine Co Ltd 燃料噴射ポンプの噴射時期制御構造
JP2008215312A (ja) * 2007-03-07 2008-09-18 Denso Corp バルブタイミング調整装置

Patent Citations (5)

* Cited by examiner, † Cited by third party
Publication number Priority date Publication date Assignee Title
JPS63314325A (ja) * 1987-06-17 1988-12-22 Yanmar Diesel Engine Co Ltd 内燃機関のガバナ装置
JPH07166832A (ja) * 1993-12-17 1995-06-27 Kubota Corp メカニカルガバナ付きエンジン
JP2000104592A (ja) * 1998-09-25 2000-04-11 Kubota Corp メカニカルガバナ付きディーゼルエンジン
JP2000234576A (ja) * 1999-02-15 2000-08-29 Yanmar Diesel Engine Co Ltd 燃料噴射ポンプの噴射時期制御構造
JP2008215312A (ja) * 2007-03-07 2008-09-18 Denso Corp バルブタイミング調整装置

Cited By (1)

* Cited by examiner, † Cited by third party
Publication number Priority date Publication date Assignee Title
JP2013204499A (ja) * 2012-03-28 2013-10-07 Yanmar Co Ltd 燃料噴射ポンプ

Also Published As

Publication number Publication date
JP4892535B2 (ja) 2012-03-07

Similar Documents

Publication Publication Date Title
JP4892535B2 (ja) ディーゼルエンジン
JP2009293499A (ja) オイル戻し構造
JP4520469B2 (ja) エンジン
US7124731B2 (en) Internal combustion engine with oil temperature sensor
JP5397077B2 (ja) エンジンのオイル戻し装置
US7121242B2 (en) Lubricating structure of OHC internal combustion engine
JP4892532B2 (ja) ディーゼルエンジン
JP5396313B2 (ja) ディーゼルエンジン
JP4954234B2 (ja) ディーゼルエンジン
JP6414150B2 (ja) エンジンのオイル供給装置
JP5356166B2 (ja) エンジン
JP2011069237A (ja) ディーゼルエンジン
KR20150037505A (ko) 디젤 엔진
US8960159B2 (en) Drain for fuel pump
JP2011185131A (ja) ディーゼルエンジン
JP6155962B2 (ja) 高圧燃料ポンプ
CN121382374A (zh) 发动机及车辆
JP4248453B2 (ja) 多気筒ディーゼルエンジン
JP4881673B2 (ja) 内燃機関
CN101598045A (zh) 发动机组
JP2005090432A (ja) 油温センサを備える内燃機関
JP4255348B2 (ja) 内燃機関
JP6409809B2 (ja) エンジンのオイル供給装置
JP2016217271A (ja) 内燃機関
JP3727401B2 (ja) 内燃機関の潤滑油供給構造

Legal Events

Date Code Title Description
A621 Written request for application examination

Free format text: JAPANESE INTERMEDIATE CODE: A621

Effective date: 20100927

A977 Report on retrieval

Free format text: JAPANESE INTERMEDIATE CODE: A971007

Effective date: 20110922

A131 Notification of reasons for refusal

Free format text: JAPANESE INTERMEDIATE CODE: A131

Effective date: 20111004

A521 Written amendment

Free format text: JAPANESE INTERMEDIATE CODE: A523

Effective date: 20111111

TRDD Decision of grant or rejection written
A01 Written decision to grant a patent or to grant a registration (utility model)

Free format text: JAPANESE INTERMEDIATE CODE: A01

Effective date: 20111213

A01 Written decision to grant a patent or to grant a registration (utility model)

Free format text: JAPANESE INTERMEDIATE CODE: A01

A61 First payment of annual fees (during grant procedure)

Free format text: JAPANESE INTERMEDIATE CODE: A61

Effective date: 20111219

R150 Certificate of patent or registration of utility model

Free format text: JAPANESE INTERMEDIATE CODE: R150

Ref document number: 4892535

Country of ref document: JP

Free format text: JAPANESE INTERMEDIATE CODE: R150

FPAY Renewal fee payment (event date is renewal date of database)

Free format text: PAYMENT UNTIL: 20141222

Year of fee payment: 3