JP2010084380A - 引戸用のキャッチ構造 - Google Patents

引戸用のキャッチ構造 Download PDF

Info

Publication number
JP2010084380A
JP2010084380A JP2008253428A JP2008253428A JP2010084380A JP 2010084380 A JP2010084380 A JP 2010084380A JP 2008253428 A JP2008253428 A JP 2008253428A JP 2008253428 A JP2008253428 A JP 2008253428A JP 2010084380 A JP2010084380 A JP 2010084380A
Authority
JP
Japan
Prior art keywords
latch
roller
spring
catch
housing
Prior art date
Legal status (The legal status is an assumption and is not a legal conclusion. Google has not performed a legal analysis and makes no representation as to the accuracy of the status listed.)
Granted
Application number
JP2008253428A
Other languages
English (en)
Other versions
JP5192337B2 (ja
Inventor
Seiji Nakashige
誠司 中繁
Norihiko Hashiguchi
徳彦 橋口
Yuki Yamaguchi
雄輝 山口
Current Assignee (The listed assignees may be inaccurate. Google has not performed a legal analysis and makes no representation or warranty as to the accuracy of the list.)
K MAC KK
Software Knowledge Base Co Ltd
Original Assignee
K MAC KK
Software Knowledge Base Co Ltd
Priority date (The priority date is an assumption and is not a legal conclusion. Google has not performed a legal analysis and makes no representation as to the accuracy of the date listed.)
Filing date
Publication date
Application filed by K MAC KK, Software Knowledge Base Co Ltd filed Critical K MAC KK
Priority to JP2008253428A priority Critical patent/JP5192337B2/ja
Publication of JP2010084380A publication Critical patent/JP2010084380A/ja
Application granted granted Critical
Publication of JP5192337B2 publication Critical patent/JP5192337B2/ja
Expired - Fee Related legal-status Critical Current
Anticipated expiration legal-status Critical

Links

Images

Landscapes

  • Wing Frames And Configurations (AREA)
  • Closing And Opening Devices For Wings, And Checks For Wings (AREA)

Abstract

【課題】上ガイドレールで案内されるローラー構造の振止めランナーを備えている引戸において、戸パネルを閉じ位置において確実に保持固定できるキャッチ構造を提供する。
【解決手段】上ガイドレール2の側端に隣接してキャッチ構造を設ける。キャッチ構造は、ラッチ49と、ラッチばね50と、これら両者を収容するラッチケース48とで構成する。戸パネル4・5の上部に、上ガイドレール2で移行案内される振止めランナー7を設ける。振止めランナー7は、ローラー25と、ローラーばね26と、これらを収容するハウジング22などで構成する。ハウジング22には、戸パネル4・5の上端面に接合する捕捉座30を設け、捕捉座30にラッチ49と係合するキャッチ穴73を形成する。以て、ラッチ49をキャッチ穴73に係合させて、戸パネル4・5を閉じ位置に保持固定する。
【選択図】図1

Description

本発明は、引戸における戸パネルを閉じ端において保持固定するキャッチ構造に関する。本発明のキャッチ構造は、例えば収納家具の収納室の前面開口を開閉する引戸に適用される。
この種のキャッチ構造は、例えば特許文献1に公知である。そこでは、戸パネルの後面上部に埋設固定されるハウジングと、ハウジングで出没自在に案内支持されるスライドブロックと、スライドブロックを押し上げ付勢するばねと、スライドブロックをハウジング内の格納位置でロック保持するロック構造などで振止めランナーを構成している。キャッチ構造は、上ガイドレールの側端に配置されるケースと、一端がケースに固定される板ばねとで構成してあり、スライドブロックの上端面に形成した湾曲凹部を板ばねで抑え保持することにより、戸パネルの跳ね返りを防止し、さらに閉じ操作された戸パネルを保持固定できる。
上記のロック構造は、戸パネルの組み付けを容易化するために設けてある。詳しくは、スライドブロックを格納位置にロックした状態で、戸パネルを上下のガイドレールの間に組み込んで起立させ、ロック構造をロック解除操作することによりスライドブロックを上ガイドレールのレール溝内に嵌め込むことができる。なお、板ばねを捕捉要素とするキャッチ構造は特許文献2にも開示されている。
本発明のキャッチ構造においては、上ガイドレールの側に設けたラッチをハウジングに設けた受け凹部に係合させて、戸パネルを閉じ端において位置保持するが、このようにラッチを捕捉要素とするキャッチ構造は特許文献3に公知である。そこでは、戸パネルの側にラッチ構造を設け、鴨居の案内溝の内部に制動付与体を固定している。
ラッチ構造は、戸パネルに埋設固定されるハウジングと、ハウジングで出没自在に案内支持されるラッチ体と、ラッチ体を押し上げ付勢するばねなどで構成してある。制動付与体の下面には、ラッチ体に摩擦抵抗を生じさせる傾斜面と、ラッチ体を進入係合させるためのラッチ溝が形成してある。なお、戸パネルは、その上端が鴨居に設けた案内溝で直接案内支持されており、したがって、振止めランナーに相当する構造は備えていない。また、ラッチ体で戸パネルの前後方向の振れを規制する構造とはなっていない。
特開平08−082152号公報(段落番号0029、図1) 特開平10−196204号公報(段落番号0008、図1) 特開2001−173309号公報(段落番号0022、図1)
特許文献1のキャッチ構造によれば、スライドブロックに設けた湾曲凹部を板ばねで抑え保持して、戸パネルを閉じ位置に保持固定し、あるいは戸パネルが跳ね返るのを防止できる。しかし、スライドブロックを上ガイドレールで移行案内するので、戸パネルを開閉するとき耳障りな摺擦音が発生するのを避けられない。また、スライドブロックの摩擦抵抗に打勝つ力で戸パネルを開閉しなければならず、とくに、サイズが大きな戸パネルにおいて、軽快に戸パネルを開閉することができず、開閉動作が鈍重になりやすい。
本発明者等は、戸パネルの開閉操作をより軽快なものとするために、スライドブロックの代わりにローラーを備えた振止めランナーで振れ止めを行なうようにした。そこでは、図1に示すように、ローラー枠に固定したローラー軸でローラーを回転自在に軸支し、ローラー枠をハウジングで出没自在に案内支持し、さらにローラーばねで押し上げ付勢するようにした。また、ローラー枠をロック構造でハウジング内の格納位置でロック保持できるようにした。このような、ローラー構造の振止めランナーによれば、耳障りな摺擦音の発生を防止でき、より軽快に戸パネルを開閉できることとなった。
しかし、ローラー構造の振止めランナーにおいては、図4に示すように逆V字状のレール溝を備えた上ガイドレールでローラーを振れ止め案内する関係で、上ガイドレールの側にキャッチ構造を設けるためのスペースを確保するのが難しく、当然、既存のキャッチ構造を利用して振止めランナーを保持固定することはできない。こうした事情から、従来は戸パネルの閉じ端側を磁石の吸着力によって保持固定しているが、磁石を利用したキャッチ構造は機械的に係合する形態のキャッチ構造に比べてコストが高く付く。
そこで本発明者等は、ハウジングに対して出没でき、ばねで押し上げ付勢されるローラーを利用してキャッチ構造を構成することを試みた。具体的には、上ガイドレールの側にキャッチ凹部を設けておき、戸パネルを閉じた状態においてローラーをキャッチ凹部に落とし込み係合させて、戸パネルを閉じ位置に保持固定できるようにした。しかし、ローラー枠を押し上げ操作するばねの付勢力が小さいため、戸パネルが勢いよく開閉されるような場合に、戸パネルの跳ね返りを阻止できないなど、戸パネルを確実に保持固定できないことが判明した。ローラー枠を押し上げ付勢するばねの張力を強化することはできるが、そうすると、ローラー枠を格納位置に押し下げるときの操作力が過剰に大きくなるのを避けられず、戸パネルを開口枠へ組み込むときの施工性との関係で、ばねの張力を強化することは断念した。
本発明は、上記のような状況の許に提案されたものであって、ローラー構造の振止めランナーを備えている戸パネルを閉じ位置において確実に保持固定できるキャッチ構造を得ること、同時に磁石を利用したキャッチ構造に比べて低コストの引戸用のキャッチ構造を得ることを主たる目的とする。本発明の目的は、戸パネルや開口枠に新たな加工を施す必要もなく、振止めランナーやキャッチ構造を組み付けることができ、したがって、新規なキャッチ構造を備えている引戸の全体コストを削減することにある。
本発明においては、戸パネル4・5の上部に、上ガイドレール2で移行案内される振止めランナー7を設け、上ガイドレール2の側端に隣接して、戸パネル4・5を閉じ位置において保持固定するキャッチ構造を設ける。振止めランナー7は、上ガイドレール2で受け止められるローラー25と、ローラー25を上ガイドレール2へ向かって付勢するローラーばね26と、これらの部材を収容するハウジング22とを含む。ハウジング22は、戸パネル4・5の装着穴に嵌め込まれる本体部28と、戸パネル4・5の上端面に接合される捕捉座30とを一体に備えている。キャッチ構造は、上ガイドレール2用のレール装着溝1の側端に固定されるラッチケース48と、ラッチケース48内に収容されるラッチ49と、ラッチ49をラッチケース48の下面下方へ向かって付勢するラッチばね50とを含む。ハウジング22の捕捉座30には、ラッチ49と係合するキャッチ穴73を形成する。
ローラー25を遊転自在に軸支するローラー枠23が、ハウジング22に設けたガイド区画31で上下スライド自在に案内支持されて、ローラーばね26で押し上げ付勢してある。ガイド区画31の上開口に臨んで左右一対の捕捉座30を張り出し形成し、左右の捕捉座30のそれぞれにキャッチ穴73を形成する。
ローラー枠23とハウジング22との間に、ハウジング22内の格納位置に退入操作されたローラー枠23を、ローラーばね26の付勢力に抗して進出不能にロック保持するロック構造を設ける。ロック構造は、ローラー枠23で左右スライド自在に支持される左右一対のロック爪38と、両ロック爪38をロックする向きへ付勢するロックばね39と、ロック爪38と係合してローラー枠23の上方進出を阻止するハウジング22の係合部40と、ロックばね39の付勢力に抗して両ロック爪38をロック解除操作するロック解除片41とで構成する。
キャッチ穴73は、貫通穴74と貫通穴74へ向かって下り傾斜する誘導面75とで形成する。ラッチ49の下面に設けたラッチ爪71が誘導面75と接当する状態において、戸パネル4・5をラッチ49の押圧力の分力で閉じ位置側へ押し付け保持する。
ラッチケース48は、ラッチ49およびラッチばね50を収容する区室54を備えたケース本体51と、ケース本体51に差し込み係合されて区室54の上開口、および側面開口を塞ぐ蓋体52とで構成する。蓋体52は、区室54の上開口を塞ぐ上壁62と、側面開口を塞ぐ側壁63とで断面L字状に形成されて、上壁62の内面でラッチばね50の上端を受け止めらる。区室54の前後壁の上部には、蓋体52の上壁62に設けた複数個のスライド突起66が差し込み係合される装着溝56と、装着溝56の中途部複数箇所から前後壁の上端にわたって形成される装填開口57とを備えている。ラッチ49およびラッチばね50を区室54に収容し、ラッチばね50の上端を上壁62で受け止めた状態で、スライド突起66を装填開口57から装着溝56内に位置させ、蓋体52の全体を装着溝56に沿って押し込み装着して、蓋体52がケース本体51に分離不能に固定する。
本発明においては、ローラー構造の振止めランナー7を上ガイドレール2で振れ止め案内して、戸パネル4・5の開閉操作をより軽快に行なえるようにした。振止めランナー7は、ローラー25、ローラーばね26、およびこれらの部材を収容するハウジング22などで構成した。また、上ガイドレール2の側端に隣接してキャッチ構造を設け、そのラッチ49をハウジング22の捕捉座30に設けたキャッチ穴73に係合させて、戸パネル4・5を閉じ位置において保持固定できるようにした。
上記のように、本発明のキャッチ構造においては、ハウジング22の捕捉座30に設けたキャッチ穴73にラッチ49を係合させて、戸パネル4・5を閉じ位置において保持固定するので、使用者の明確な意図を持って戸パネル4・5を開放操作しない限りは、戸パネル4・5を閉じ状態のままで確実に保持固定できる。また、閉じ端において戸パネル4・5が跳ね返ろうとするのを、ラッチ49と捕捉座30との摩擦抵抗によって防止できる。キャッチ構造のラッチ49と、捕捉座30に設けたキャッチ穴73との機械的な係合構造によって、戸パネル4・5を閉じ位置に保持固定するので、磁石の吸着力を利用したキャッチ構造に比べて、キャッチ構造の製作コストを削減し低コスト化できる。ハウジング22に付加した捕捉座30にキャッチ穴73を設け、ラッチ49を備えたキャッチ構造をレール装填溝1に装着するので、戸パネル4・5や天板などに新たな穴加工や溝加工などを施す必要もなく、振止めランナー7やキャッチ構造を組み付けることができ、したがって、新規なキャッチ構造を備えている引戸であるにもかかわらず、全体コストを削減できる。
ローラー枠23が組み込まれるガイド区画31の上開口に臨んで左右一対の捕捉座30を張り出し形成し、左右の捕捉座30のそれぞれにキャッチ穴73を形成するキャッチ構造によれば、振止めランナー7を戸パネル4・5の左右の勝手違いとは無関係に共通して使用できる。したがって、複数個の戸パネル4・5を備えた引戸において、振止めランナー7およびキャッチ構造を共用して、その分だけ引戸の全体コストを削減できる。
ローラー枠23をロック構造でハウジング22内の格納位置にロック保持できるようにした振止めランナー7によれば、施工現場における戸パネル4・5の組み込みを簡便に行なえる。また、左右一対のロック爪38とロックばね39、およびロック解除片41などでロック構造を構成し、両ロック爪38をハウジング22に設けた係合部40に係合させてローラー枠23を格納位置にロック保持するロック構造によれば、ロックばね39の付勢力によって両ロック爪38のロック状態を安定した状態で保持し続けることができる。したがって、例えばローラー枠23を格納位置にロック保持した状態で戸パネル4・5の組み込みを行なうような場合に、戸パネル4・5が他物と衝突するような場合であっても、衝突衝撃によって両ロック爪38がロック解除状態に切り換わるのを防止できる。また、必要時には、ロック解除片41を互いに接近する向きへ移動操作するだけで、両ロック爪38を簡便にロック解除状態に切り換えて、ローラー25を上ガイドレール2のレール溝20に嵌め込むことができる。
貫通穴74と、貫通穴74へ向かって下り傾斜する誘導面75とでキャッチ穴73を形成し、ラッチ爪71が誘導面75と接当する状態において、戸パネル4・5をラッチ49の押圧力の分力で閉じ位置側へ押し付け保持できるようにすると、外部の振動や衝撃によって戸パネル4・5が開放方向へ移動するのを確実に防止して、閉じ状態を維持し続けることができる。また、戸パネル4・5を開放操作する場合には、傾斜する誘導面75でラッチ爪71を押し上げて、キャッチ穴73をラッチ爪73から円滑に離脱できるので、開放初期の解放操作力をより小さなものとして、戸パネル4・5を軽快に開閉できる。
ケース本体51と蓋体52とでラッチケース48を構成し、区室54内にラッチ49およびラッチばね50を収容した状態で、蓋体52をケース本体51の装填開口57から装着溝56内に嵌み、さらに蓋体52の全体を装着溝56に沿って押し込み装着して、蓋体52をケース本体51に固定するキャッチ構造によれば、各構成部品の組立をより少ない手間で簡単に行なえる。また、蓋体52をケース本体51に固定するのと同時に、ラッチばね50を蓋体52で適正に受け止め保持できるので、例えばビスなどの締結具で蓋体52を固定する場合に比べて、キャッチ構造の全体コストを削減できる。
(実施例) 図1ないし図11は本発明に係る引戸用のキャッチ構造を、食器棚の前面開口を開閉する引戸に適用した実施例を示す。図2および図3において引戸は、収納室の天板に設けたレール装填溝1に嵌め込み装着される上ガイドレール2と、収納室の底壁に固定される下ガイドレール3と、これら両ガイドレール2、3で引き違い開閉可能に案内される左右一対の戸パネル4・5などで構成する。収納室の両側端には、閉じ端において戸パネル4・5を受け止める縦枠6が設けてある。各戸パネル4・5の上部内面の左右には、上ガイドレール2で移行案内される振止めランナー7・7が設けられており、戸パネル4・5の下部内面の左右には、下ガイドレール3で移行案内されるランナーユニット8・8が設けてある。なお、この実施例における前後・左右は、図2および図3に示す矢印および前後・左右の文字表示に従うこととする。
図3および図4において下ガイドレール3はアルミニウム条材からなり、その上面の前後に各戸パネル4・5のランナーユニット8・8を案内する断面字状のレール溝10が形成してある。ランナーユニット8は、戸パネル4・5の装着穴に嵌め込まれるハウジング12と、ハウジング12で上下動可能に支持されるローラー枠13と、ローラー枠13に固定した軸14で遊転自在に軸支されるローラー15と、ローラー枠13に固定される高さ調整ねじ16と、高さ調整ねじ16に噛み合う調整ダイヤル17などで構成する。ハウジング12の後面に張り出した締結座18をビスで締結することにより、ランナーユニット8が戸パネル4・5に固定してある。ローラー15の前後周縁には、レール溝10で受け止められるタイヤ面15aが面取り面状に斜めに形成してある。
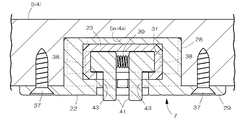
上ガイドレール2は断面が逆M字状のアルミニウム条材からなり、その下面側に逆V字状のレール溝20が形成してある。振止めランナー7は、戸パネル4・5に固定されるハウジング22と、ハウジング22で上下動可能に支持されるローラー枠23と、ローラー枠23に固定した軸24で遊転自在に軸支されるローラー25と、ローラー枠23を上ガイドレール2へ向かって押し上げ付勢する左右一対のローラーばね26と、ハウジング22内の格納位置に退入操作されたローラー枠23をロック保持するロック構造などで構成する。戸パネル4・5の上端面には、ブラシ状のシール材27が設けてある。
ハウジング22は、戸パネル4・5の装着穴4a・5a(図5参照)に嵌め込まれる本体部28と、装着穴の開口周縁壁に接合される締結座29と、戸パネル4・5の上端面に接合される捕捉座30とを一体に備えている。なお、図5に示すように、後述するキャッチ構造で捕捉されない側の振止めランナー7のハウジング22においては捕捉座30が省略してある。本体部28には、ローラー枠23を上下スライド自在に案内するガイド区画31が形成され、その内部にローラー枠23、ローラーばね26、およびロック構造などが組み込んである。ガイド区画31の上面および後面はそれぞれ開口してある。締結座29は、下隅部分が丸められた横長四角形状の面壁からなり、その上端に連続して左右一対の捕捉座30がガイド区画31の上開口に臨む状態で張り出してある。
ローラー枠23は、上向きに開口する四角形状の枠体からなり、その前面に抜止め突起33が突設され、後面に操作突起34が突設してある。ガイド区画31の前壁には、抜止め突起33の上下移動を許すスライド溝35が開口してあり、スライド溝35の上端で抜止め突起33を受け止めることにより、ローラー枠23がガイド区画31から抜け出るのを防止している。ローラー25は、その大半の部分がローラー枠23の内部に収容され、上部周面のみが枠外に露出する状態で軸支してある。ローラー25の前後周縁には、レール溝20で受け止められるタイヤ面25aが面取り面状に斜めに形成してある。ローラーばね26は圧縮コイル形のばねからなり、ガイド区画31の底壁とローラー枠23の底壁との間に配置してある。
ロック構造は、ローラー枠23で左右スライド自在に支持される左右一対のロック爪38・38と、両ロック爪38をロックする向きへ付勢するロックばね39と、ロック爪38と係合してローラー枠23の上方進出を阻止する係合部40と、ロックばね39の付勢力に抗して両ロック爪38をロック解除操作するロック解除片41などで構成する。係合部40は、本体部28の下半部の両側に切り欠き形成してある(図1参照)。ロック爪38とロック解除片41は一体に形成してあり、ロック解除片41のみがローラー枠23の後面側に露出させてある(図4参照)。本体部28を装着穴5a(4a)に嵌め込んだ状態で締結座29を2個のビス37で締結することにより、振止めランナー7が各戸パネル4・5と一体化される。
図6に示すように、ローラー枠23が進出位置にあるとき、左右のロック解除片41は、ガイド区画31の後面に設けたガイド開口43の対向面で受け止められて、左右のロック爪38が外側方へ移動するのを規制している。ローラー枠23が図8に示す格納位置へ押し下げ操作された状態では、左右のロック解除片41がガイド開口43より広幅のロック開口44で受け止められる。そのため、左右のロック爪38は互いに逆向きに横移動して係合部40と係合し、ローラー枠23をローラーばね26の付勢力に抗して格納位置に位置保持する。この状態でランナーユニット8を下ガイドレール3に組み、戸パネル4・5の上端を上ガイドレール2と正対させた状態で、ロック解除片41を互いに接近する向きに操作することにより、ロック爪38をロック解除状態にして、振止めランナー7のローラー25をレール溝20に嵌め込むことができる。
戸パネル4・5を上下のガイドレール2・3で移行案内する状態においては、ランナーユニット8のローラー15のタイヤ面15aが、戸パネル4・5の重量を受けて下ガイドレール3のレール溝10に密着する。しかも、振止めランナー7のローラー25のタイヤ面25aが、ローラーばね26の付勢力によって上ガイドレール2のレール溝20に密着する状態で転動する。したがって、従来のスライドブロックを振れ止め要素とする振止めランナーに比べて、摺擦音の発生を伴なうこともなく、しかも摩擦抵抗を軽減した状態で軽快に戸パネルを開閉できる。上下のローラー25・15のそれぞれが、V字状のレール溝20・10に密着した状態で転がるので、戸パネル4・5を前後方向へのがたつきを規制しながら静粛に開閉できる。
上ガイドレール2の側端に隣接して、戸パネル4・5を閉じ位置において保持固定するためのキャッチ構造が設けてある。図9に示すように前面側に位置する戸パネル5を保持固定するキャッチ構造は、前側のレール装填溝1の右端に配置され、他端側にはダミーキャップ46が装着される。後面側に位置する戸パネル4を保持固定するキャッチ構造は、後側のレール装填溝1の左端に配置され、他端側にはダミーキャップ46が装着される。
図12においてキャッチ構造は、レール装着溝1の側端に固定されるラッチケース48と、ラッチケース48内に収容されるラッチ49と、ラッチ49をラッチケース48の下面下方へ向かって付勢するラッチばね50などで構成する。図10に示すようにラッチケース48は、ケース本体51と、ケース本体51に差し込み係合される蓋体52とで構成する。ケース本体51には、区室54と締結ボス55とが形成してあり、区室54の内部にラッチ49とラッチばね50が収容される。区室54の前後壁の上部には、蓋体52を組み付けるための装着溝56と、装着溝56の中途部2箇所から前後壁の上端にわたって形成される装填開口57とが形成してある。また、区室54の底壁にはラッチ49を出没させる窓58と、蓋体52と係合する係合穴59が形成してある。装着溝56は、区室54の側面開口から区室54の内奥端にわたって直線状に形成する。
蓋体52は、区室54の上開口を塞ぐ上壁62と、区室54の側面開口を塞ぐ側壁63とで断面L字状に形成してあり、上壁62の内面にラッチばね50の上端を受け止めるばね受座64と、ばね受突起65とが形成してある。上壁62の前後側面の左右2個所には、先の装填開口57に対応してスライド突起66が突設してあり、側壁63の下端面には係合穴59に落とし込み係合する係合爪67が形成してある。ラッチ49およびラッチばね50を区室54に収容し、さらにラッチばね50の上端をばね受座65で受け止めた状態で、スライド突起66を装填開口57から装着溝56内に位置させ、蓋体52の全体を装着溝56に沿って押し込み装着し係合爪67を係合穴59に係合させることにより、蓋体52をケース本体51に対して分離不能に固定できる。各パーツが組み付けられたラッチケース48をレール装着溝1の側端に嵌め込み、その締結ボス55に挿通したビス76を天板にねじ込むことにより、ラッチケース48が上ガイドレール2に隣接する状態で固定される。
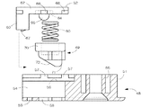
ラッチ49は、四角形状のベース70の下面にラッチ爪71を突設して形成してあり、ラッチ爪71には捕捉座30への乗り上がりを円滑化するガイド面72が斜めに傾斜する状態で形成してある。ラッチ49のラッチ爪71を受け止め係合するために、ハウジング22の左右の捕捉座30にキャッチ穴73が形成してある。キャッチ穴73は、四角形状の貫通穴74と、図1において捕捉座30の閉じ端側の上面から貫通穴74へ向かって左下がり傾斜する誘導面75とで形成してある。先に説明したガイド面72は、誘導面75とは逆向きに左上がり傾斜している。
以上のように構成したキャッチ構造によれば、戸パネル4・5が閉じ端へ向かって閉じ操作されるとき、ラッチ49は図12に示すようにラッチケース48の下面に突出した状態で待機している。このときのラッチ爪71の下端は、戸パネル4・5の上端面と僅かな隙間を隔てて対向している。戸パネル4・5がさらに閉じ端側へ接近すると、捕捉座30の側端がガイド面72に接当して、ラッチ49をラッチばね50の付勢力に抗して押し上げ操作する。その結果、ラッチ爪71の突端が捕捉座30の上面に乗り上がる。
戸パネル5(または4)が縦枠6で受け止められた状態においては、図1に示すようにラッチ爪71の突端が誘導面75に落ち込み係合する。この状態では、誘導面75に作用するラッチ爪71の押し下げ力の分力によって捕捉座30が閉じ位置側へ押される。つまり戸パネル5(または4)はラッチ49の押圧力の分力を受けて閉じ位置へ向かって押し付け保持される。したがって、戸パネル5を閉じ位置において確実に保持固定できるうえ、戸パネル5が縦枠6に衝突して跳ね返るのをラッチ49の制動作用によって規制できる。
ハウジング22の本体部28が嵌め込まれる装着穴4a・5aは、スライドブロックを振れ止め要素とする従来の振止めランナー用の装着穴をそのまま利用することができる。また、レール装着溝1も同様に従来のままで、その内部にラッチケース48を装着することができる。したがって、戸パネル4・5や天板などに新たな加工を施す必要もなく、振止めランナー7やキャッチ構造を組み付けることができ、したがって、新規なキャッチ構造を備えているにもかかわらず引戸の全体コストを削減できる。
上記の実施例以外に、キャッチ穴73の形状や構造は、ラッチ49の形状や構造に応じて変更すべきであるので、実施例で説明した形状および構造には限定しない。誘導面75は省略してもよいが、その場合にはキャッチ穴73の開口縁を丸めて、ラッチ爪71のキャッチ穴73に対する係脱を円滑化するとよい。捕捉座30は、ハウジング22の上面の左右いずれか一方に設けてあればよい。ローラー25の構造は、上ガイドレール2のレール溝20の断面形状に応じて変更すべきであるので、実施例で説明したローラー構造には限定しない。
本発明のキャッチ構造は、食器棚以外の収納家具用の引戸に適用することができる。また、屋内で使用される引戸に適用することができる。
キャッチ構造を示す縦断正面図である。 引戸の正面図である。 引戸の縦断側面図である。 図2におけるA−A線断面図である。 振止めランナーおよび戸パネルを後面側から見た斜視図である。 振止めランナーの背面図である。 図6におけるB−B線断面図である。 ローラー枠を格納した状態の振止めランナーの一部破断背面図である。 上ガイドレールとキャッチ構造の分解斜視図である。 キャッチ構造の分解断面図である。 図1におけるC−C線断面図である。 戸パネルが閉じ位置へ接近した状態の縦断正面図である。
符号の説明
2 上ガイドレール
4 戸パネル
5 戸パネル
7 振止めランナー
22 ハウジング
23 ローラー枠
25 ローラー
26 ローラーばね
28 本体部
30 捕捉座
48 ラッチケース
49 ラッチ
50 ラッチばね
73 キャッチ穴

Claims (5)

  1. 戸パネル(4・5)の上部に、上ガイドレール(2)で移行案内される振止めランナー(7)が設けられており、
    上ガイドレール(2)の側端に隣接して、戸パネル(4・5)を閉じ位置において保持固定するキャッチ構造が設けられており、
    振止めランナー(7)は、上ガイドレール(2)で受け止められるローラー(25)と、ローラー(25)を上ガイドレール(2)へ向かって付勢するローラーばね(26)と、これらの部材を収容するハウジング(22)とを含み、
    ハウジング(22)は、戸パネル(4・5)の装着穴に嵌め込まれる本体部(28)と、戸パネル(4・5)の上端面に接合される捕捉座(30)とを一体に備えており、
    キャッチ構造は、上ガイドレール(2)用のレール装着溝(1)の側端に固定されるラッチケース(48)と、ラッチケース(48)内に収容されるラッチ(49)と、ラッチ(49)をラッチケース(48)の下面下方へ向かって付勢するラッチばね(50)とを含み、
    ハウジング(22)の捕捉座(30)に、ラッチ(49)と係合するキャッチ穴(73)が形成してあることを特徴とする引戸用のキャッチ構造。
  2. ローラー(25)を遊転自在に軸支するローラー枠(23)が、ハウジング(22)に設けたガイド区画(31)で上下スライド自在に案内支持されて、ローラーばね(26)で押し上げ付勢されており、
    ガイド区画(31)の上開口に臨んで左右一対の捕捉座(30)が張り出し形成されており、
    左右の捕捉座(30)のそれぞれにキャッチ穴(73)が形成してある請求項1に記載の引戸用のキャッチ構造。
  3. ローラー枠(23)とハウジング(22)との間に、ハウジング(22)内の格納位置に退入操作されたローラー枠(23)を、ローラーばね(26)の付勢力に抗して進出不能にロック保持するロック構造が設けられており、
    ロック構造が、ローラー枠(23)で左右スライド自在に支持される左右一対のロック爪(38)と、両ロック爪(38)をロックする向きへ付勢するロックばね(39)と、ロック爪(38)と係合してローラー枠(23)の上方進出を阻止するハウジング(22)の係合部(40)と、ロックばね(39)の付勢力に抗して両ロック爪(38)をロック解除操作するロック解除片(41)とで構成されている請求項2記載の引戸用のキャッチ構造。
  4. キャッチ穴(73)が、貫通穴(74)と貫通穴(74)へ向かって下り傾斜する誘導面(75)とで形成されており、
    ラッチ(49)の下面に設けたラッチ爪(71)が誘導面(75)と接当した状態において、戸パネル(4・5)をラッチ(49)の押圧力の分力で閉じ位置側へ押し付け保持できる請求項2または3に記載の引戸用のキャッチ構造。
  5. ラッチケース(48)が、ラッチ(49)およびラッチばね(50)を収容する区室(54)を備えたケース本体(51)と、ケース本体(51)に差し込み係合されて区室(54)の上開口、および側面開口を塞ぐ蓋体(52)とで構成されており、
    蓋体(52)は、区室(54)の上開口を塞ぐ上壁(62)と、側面開口を塞ぐ側壁(63)とで断面L字状に形成されて、上壁(62)の内面でラッチばね(50)の上端が受け止められており、
    区室(54)の前後壁の上部には、蓋体(52)の上壁(62)に設けた複数個のスライド突起(66)が差し込み係合される装着溝(56)と、装着溝(56)の中途部複数箇所から前後壁の上端にわたって形成される装填開口(57)とを備えており、
    ラッチ(49)およびラッチばね(50)を区室(54)に収容し、ラッチばね(50)の上端を上壁(62)で受け止めた状態で、スライド突起(66)を装填開口(57)から装着溝(56)内に位置させ、蓋体(52)の全体を装着溝(56)に沿って押し込み装着して、蓋体(52)がケース本体(51)に分離不能に固定してある請求項2から4のいずれかに記載の引戸用のキャッチ構造。
JP2008253428A 2008-09-30 2008-09-30 引戸用のキャッチ構造 Expired - Fee Related JP5192337B2 (ja)

Priority Applications (1)

Application Number Priority Date Filing Date Title
JP2008253428A JP5192337B2 (ja) 2008-09-30 2008-09-30 引戸用のキャッチ構造

Applications Claiming Priority (1)

Application Number Priority Date Filing Date Title
JP2008253428A JP5192337B2 (ja) 2008-09-30 2008-09-30 引戸用のキャッチ構造

Publications (2)

Publication Number Publication Date
JP2010084380A true JP2010084380A (ja) 2010-04-15
JP5192337B2 JP5192337B2 (ja) 2013-05-08

Family

ID=42248615

Family Applications (1)

Application Number Title Priority Date Filing Date
JP2008253428A Expired - Fee Related JP5192337B2 (ja) 2008-09-30 2008-09-30 引戸用のキャッチ構造

Country Status (1)

Country Link
JP (1) JP5192337B2 (ja)

Citations (3)

* Cited by examiner, † Cited by third party
Publication number Priority date Publication date Assignee Title
JPH0882152A (ja) * 1994-09-09 1996-03-26 Suehiro Sangyo:Kk 引戸のガイド構造
JPH116357A (ja) * 1997-06-18 1999-01-12 Noguchi Hardware:Kk 戸車装置及び引戸の係止装置
JP2002276236A (ja) * 2001-03-14 2002-09-25 Sanae Usuda 戸障子の支持具

Patent Citations (3)

* Cited by examiner, † Cited by third party
Publication number Priority date Publication date Assignee Title
JPH0882152A (ja) * 1994-09-09 1996-03-26 Suehiro Sangyo:Kk 引戸のガイド構造
JPH116357A (ja) * 1997-06-18 1999-01-12 Noguchi Hardware:Kk 戸車装置及び引戸の係止装置
JP2002276236A (ja) * 2001-03-14 2002-09-25 Sanae Usuda 戸障子の支持具

Also Published As

Publication number Publication date
JP5192337B2 (ja) 2013-05-08

Similar Documents

Publication Publication Date Title
AU2010280717B2 (en) Ejection mechanism, pull-out guide and ejection system
CN102918223B (zh) 移动辅助装置
JP2011524478A (ja) 引き戸
CN105517678A (zh) 卡固部件、门挡以及卡固机构
KR100814358B1 (ko) 홈바 잠금장치
JP2017066819A (ja) ドアストッパー
JP5679309B2 (ja) 引戸のアシスト装置
KR101507745B1 (ko) 미닫이창용 잠금장치
JP5192337B2 (ja) 引戸用のキャッチ構造
JP2009263947A (ja) フラット引戸
JP5141372B2 (ja) 窓用ロック装置
JP4009628B2 (ja) 引戸の閉じ支援装置
KR200456204Y1 (ko) 안전창의 잠금장치
JP2019089395A (ja) サンシェード装置
TW201249284A (en) Door assembly and case
JP4920267B2 (ja) ドア
JP2008261131A (ja) プッシュラッチ装置
JP2010174533A (ja) ロック装置及びそれを用いた扉
JP7195953B2 (ja) ドアストッパー
JP4302542B2 (ja) ドアガード装置
JP4002924B2 (ja) 吊戸用のランナー
JP5132942B2 (ja) キャビネット
KR101002408B1 (ko) 조립체용 슬라이드 래치
JP4326128B2 (ja) 貯氷庫
JP6651033B2 (ja) 非常脱出機能付き袖パネル

Legal Events

Date Code Title Description
A621 Written request for application examination

Free format text: JAPANESE INTERMEDIATE CODE: A621

Effective date: 20110419

A711 Notification of change in applicant

Free format text: JAPANESE INTERMEDIATE CODE: A711

Effective date: 20110419

A521 Request for written amendment filed

Free format text: JAPANESE INTERMEDIATE CODE: A821

Effective date: 20110419

A131 Notification of reasons for refusal

Free format text: JAPANESE INTERMEDIATE CODE: A131

Effective date: 20120725

A977 Report on retrieval

Free format text: JAPANESE INTERMEDIATE CODE: A971007

Effective date: 20120725

A521 Request for written amendment filed

Free format text: JAPANESE INTERMEDIATE CODE: A523

Effective date: 20120911

TRDD Decision of grant or rejection written
A01 Written decision to grant a patent or to grant a registration (utility model)

Free format text: JAPANESE INTERMEDIATE CODE: A01

Effective date: 20130123

A61 First payment of annual fees (during grant procedure)

Free format text: JAPANESE INTERMEDIATE CODE: A61

Effective date: 20130131

R150 Certificate of patent or registration of utility model

Free format text: JAPANESE INTERMEDIATE CODE: R150

Ref document number: 5192337

Country of ref document: JP

Free format text: JAPANESE INTERMEDIATE CODE: R150

FPAY Renewal fee payment (event date is renewal date of database)

Free format text: PAYMENT UNTIL: 20160208

Year of fee payment: 3

R250 Receipt of annual fees

Free format text: JAPANESE INTERMEDIATE CODE: R250

R250 Receipt of annual fees

Free format text: JAPANESE INTERMEDIATE CODE: R250

R250 Receipt of annual fees

Free format text: JAPANESE INTERMEDIATE CODE: R250

R250 Receipt of annual fees

Free format text: JAPANESE INTERMEDIATE CODE: R250

R250 Receipt of annual fees

Free format text: JAPANESE INTERMEDIATE CODE: R250

R250 Receipt of annual fees

Free format text: JAPANESE INTERMEDIATE CODE: R250

R250 Receipt of annual fees

Free format text: JAPANESE INTERMEDIATE CODE: R250

R250 Receipt of annual fees

Free format text: JAPANESE INTERMEDIATE CODE: R250

LAPS Cancellation because of no payment of annual fees