JP2010083754A - Co2の完全な捕捉を伴って水素を製造し、未転化メタンを再循環させる方法 - Google Patents
Co2の完全な捕捉を伴って水素を製造し、未転化メタンを再循環させる方法 Download PDFInfo
- Publication number
- JP2010083754A JP2010083754A JP2009224062A JP2009224062A JP2010083754A JP 2010083754 A JP2010083754 A JP 2010083754A JP 2009224062 A JP2009224062 A JP 2009224062A JP 2009224062 A JP2009224062 A JP 2009224062A JP 2010083754 A JP2010083754 A JP 2010083754A
- Authority
- JP
- Japan
- Prior art keywords
- hydrogen
- steam
- adsorber
- stream
- range
- Prior art date
- Legal status (The legal status is an assumption and is not a legal conclusion. Google has not performed a legal analysis and makes no representation as to the accuracy of the status listed.)
- Granted
Links
Images
Classifications
-
- C—CHEMISTRY; METALLURGY
- C01—INORGANIC CHEMISTRY
- C01B—NON-METALLIC ELEMENTS; COMPOUNDS THEREOF; METALLOIDS OR COMPOUNDS THEREOF NOT COVERED BY SUBCLASS C01C
- C01B3/00—Hydrogen; Gaseous mixtures containing hydrogen; Separation of hydrogen from mixtures containing it; Purification of hydrogen
- C01B3/50—Separation of hydrogen or hydrogen containing gases from gaseous mixtures, e.g. purification
- C01B3/56—Separation of hydrogen or hydrogen containing gases from gaseous mixtures, e.g. purification by contacting with solids; Regeneration of used solids
-
- B—PERFORMING OPERATIONS; TRANSPORTING
- B01—PHYSICAL OR CHEMICAL PROCESSES OR APPARATUS IN GENERAL
- B01D—SEPARATION
- B01D53/00—Separation of gases or vapours; Recovering vapours of volatile solvents from gases; Chemical or biological purification of waste gases, e.g. engine exhaust gases, smoke, fumes, flue gases, aerosols
- B01D53/02—Separation of gases or vapours; Recovering vapours of volatile solvents from gases; Chemical or biological purification of waste gases, e.g. engine exhaust gases, smoke, fumes, flue gases, aerosols by adsorption, e.g. preparative gas chromatography
- B01D53/04—Separation of gases or vapours; Recovering vapours of volatile solvents from gases; Chemical or biological purification of waste gases, e.g. engine exhaust gases, smoke, fumes, flue gases, aerosols by adsorption, e.g. preparative gas chromatography with stationary adsorbents
-
- C—CHEMISTRY; METALLURGY
- C01—INORGANIC CHEMISTRY
- C01B—NON-METALLIC ELEMENTS; COMPOUNDS THEREOF; METALLOIDS OR COMPOUNDS THEREOF NOT COVERED BY SUBCLASS C01C
- C01B3/00—Hydrogen; Gaseous mixtures containing hydrogen; Separation of hydrogen from mixtures containing it; Purification of hydrogen
- C01B3/02—Production of hydrogen or of gaseous mixtures containing a substantial proportion of hydrogen
- C01B3/32—Production of hydrogen or of gaseous mixtures containing a substantial proportion of hydrogen by reaction of gaseous or liquid organic compounds with gasifying agents, e.g. water, carbon dioxide, air
- C01B3/34—Production of hydrogen or of gaseous mixtures containing a substantial proportion of hydrogen by reaction of gaseous or liquid organic compounds with gasifying agents, e.g. water, carbon dioxide, air by reaction of hydrocarbons with gasifying agents
- C01B3/48—Production of hydrogen or of gaseous mixtures containing a substantial proportion of hydrogen by reaction of gaseous or liquid organic compounds with gasifying agents, e.g. water, carbon dioxide, air by reaction of hydrocarbons with gasifying agents followed by reaction of water vapour with carbon monoxide
-
- C—CHEMISTRY; METALLURGY
- C01—INORGANIC CHEMISTRY
- C01B—NON-METALLIC ELEMENTS; COMPOUNDS THEREOF; METALLOIDS OR COMPOUNDS THEREOF NOT COVERED BY SUBCLASS C01C
- C01B3/00—Hydrogen; Gaseous mixtures containing hydrogen; Separation of hydrogen from mixtures containing it; Purification of hydrogen
- C01B3/50—Separation of hydrogen or hydrogen containing gases from gaseous mixtures, e.g. purification
- C01B3/52—Separation of hydrogen or hydrogen containing gases from gaseous mixtures, e.g. purification by contacting with liquids; Regeneration of used liquids
-
- B—PERFORMING OPERATIONS; TRANSPORTING
- B01—PHYSICAL OR CHEMICAL PROCESSES OR APPARATUS IN GENERAL
- B01D—SEPARATION
- B01D2253/00—Adsorbents used in seperation treatment of gases and vapours
- B01D2253/10—Inorganic adsorbents
- B01D2253/102—Carbon
-
- B—PERFORMING OPERATIONS; TRANSPORTING
- B01—PHYSICAL OR CHEMICAL PROCESSES OR APPARATUS IN GENERAL
- B01D—SEPARATION
- B01D2253/00—Adsorbents used in seperation treatment of gases and vapours
- B01D2253/30—Physical properties of adsorbents
- B01D2253/302—Dimensions
- B01D2253/304—Linear dimensions, e.g. particle shape, diameter
-
- B—PERFORMING OPERATIONS; TRANSPORTING
- B01—PHYSICAL OR CHEMICAL PROCESSES OR APPARATUS IN GENERAL
- B01D—SEPARATION
- B01D2253/00—Adsorbents used in seperation treatment of gases and vapours
- B01D2253/30—Physical properties of adsorbents
- B01D2253/302—Dimensions
- B01D2253/308—Pore size
-
- B—PERFORMING OPERATIONS; TRANSPORTING
- B01—PHYSICAL OR CHEMICAL PROCESSES OR APPARATUS IN GENERAL
- B01D—SEPARATION
- B01D2256/00—Main component in the product gas stream after treatment
- B01D2256/16—Hydrogen
-
- B—PERFORMING OPERATIONS; TRANSPORTING
- B01—PHYSICAL OR CHEMICAL PROCESSES OR APPARATUS IN GENERAL
- B01D—SEPARATION
- B01D2257/00—Components to be removed
- B01D2257/50—Carbon oxides
- B01D2257/502—Carbon monoxide
-
- B—PERFORMING OPERATIONS; TRANSPORTING
- B01—PHYSICAL OR CHEMICAL PROCESSES OR APPARATUS IN GENERAL
- B01D—SEPARATION
- B01D2257/00—Components to be removed
- B01D2257/50—Carbon oxides
- B01D2257/504—Carbon dioxide
-
- B—PERFORMING OPERATIONS; TRANSPORTING
- B01—PHYSICAL OR CHEMICAL PROCESSES OR APPARATUS IN GENERAL
- B01D—SEPARATION
- B01D2257/00—Components to be removed
- B01D2257/70—Organic compounds not provided for in groups B01D2257/00 - B01D2257/602
- B01D2257/702—Hydrocarbons
- B01D2257/7022—Aliphatic hydrocarbons
-
- B—PERFORMING OPERATIONS; TRANSPORTING
- B01—PHYSICAL OR CHEMICAL PROCESSES OR APPARATUS IN GENERAL
- B01D—SEPARATION
- B01D2259/00—Type of treatment
- B01D2259/40—Further details for adsorption processes and devices
- B01D2259/40083—Regeneration of adsorbents in processes other than pressure or temperature swing adsorption
- B01D2259/40088—Regeneration of adsorbents in processes other than pressure or temperature swing adsorption by heating
- B01D2259/4009—Regeneration of adsorbents in processes other than pressure or temperature swing adsorption by heating using hot gas
-
- C—CHEMISTRY; METALLURGY
- C01—INORGANIC CHEMISTRY
- C01B—NON-METALLIC ELEMENTS; COMPOUNDS THEREOF; METALLOIDS OR COMPOUNDS THEREOF NOT COVERED BY SUBCLASS C01C
- C01B2203/00—Integrated processes for the production of hydrogen or synthesis gas
- C01B2203/02—Processes for making hydrogen or synthesis gas
- C01B2203/0205—Processes for making hydrogen or synthesis gas containing a reforming step
- C01B2203/0227—Processes for making hydrogen or synthesis gas containing a reforming step containing a catalytic reforming step
- C01B2203/0233—Processes for making hydrogen or synthesis gas containing a reforming step containing a catalytic reforming step the reforming step being a steam reforming step
-
- C—CHEMISTRY; METALLURGY
- C01—INORGANIC CHEMISTRY
- C01B—NON-METALLIC ELEMENTS; COMPOUNDS THEREOF; METALLOIDS OR COMPOUNDS THEREOF NOT COVERED BY SUBCLASS C01C
- C01B2203/00—Integrated processes for the production of hydrogen or synthesis gas
- C01B2203/02—Processes for making hydrogen or synthesis gas
- C01B2203/0283—Processes for making hydrogen or synthesis gas containing a CO-shift step, i.e. a water gas shift step
-
- C—CHEMISTRY; METALLURGY
- C01—INORGANIC CHEMISTRY
- C01B—NON-METALLIC ELEMENTS; COMPOUNDS THEREOF; METALLOIDS OR COMPOUNDS THEREOF NOT COVERED BY SUBCLASS C01C
- C01B2203/00—Integrated processes for the production of hydrogen or synthesis gas
- C01B2203/04—Integrated processes for the production of hydrogen or synthesis gas containing a purification step for the hydrogen or the synthesis gas
- C01B2203/0415—Purification by absorption in liquids
-
- C—CHEMISTRY; METALLURGY
- C01—INORGANIC CHEMISTRY
- C01B—NON-METALLIC ELEMENTS; COMPOUNDS THEREOF; METALLOIDS OR COMPOUNDS THEREOF NOT COVERED BY SUBCLASS C01C
- C01B2203/00—Integrated processes for the production of hydrogen or synthesis gas
- C01B2203/04—Integrated processes for the production of hydrogen or synthesis gas containing a purification step for the hydrogen or the synthesis gas
- C01B2203/042—Purification by adsorption on solids
- C01B2203/043—Regenerative adsorption process in two or more beds, one for adsorption, the other for regeneration
-
- C—CHEMISTRY; METALLURGY
- C01—INORGANIC CHEMISTRY
- C01B—NON-METALLIC ELEMENTS; COMPOUNDS THEREOF; METALLOIDS OR COMPOUNDS THEREOF NOT COVERED BY SUBCLASS C01C
- C01B2203/00—Integrated processes for the production of hydrogen or synthesis gas
- C01B2203/04—Integrated processes for the production of hydrogen or synthesis gas containing a purification step for the hydrogen or the synthesis gas
- C01B2203/0465—Composition of the impurity
- C01B2203/0475—Composition of the impurity the impurity being carbon dioxide
-
- C—CHEMISTRY; METALLURGY
- C01—INORGANIC CHEMISTRY
- C01B—NON-METALLIC ELEMENTS; COMPOUNDS THEREOF; METALLOIDS OR COMPOUNDS THEREOF NOT COVERED BY SUBCLASS C01C
- C01B2203/00—Integrated processes for the production of hydrogen or synthesis gas
- C01B2203/08—Methods of heating or cooling
- C01B2203/0805—Methods of heating the process for making hydrogen or synthesis gas
- C01B2203/0811—Methods of heating the process for making hydrogen or synthesis gas by combustion of fuel
- C01B2203/0822—Methods of heating the process for making hydrogen or synthesis gas by combustion of fuel the fuel containing hydrogen
-
- C—CHEMISTRY; METALLURGY
- C01—INORGANIC CHEMISTRY
- C01B—NON-METALLIC ELEMENTS; COMPOUNDS THEREOF; METALLOIDS OR COMPOUNDS THEREOF NOT COVERED BY SUBCLASS C01C
- C01B2203/00—Integrated processes for the production of hydrogen or synthesis gas
- C01B2203/08—Methods of heating or cooling
- C01B2203/0805—Methods of heating the process for making hydrogen or synthesis gas
- C01B2203/0811—Methods of heating the process for making hydrogen or synthesis gas by combustion of fuel
- C01B2203/0827—Methods of heating the process for making hydrogen or synthesis gas by combustion of fuel at least part of the fuel being a recycle stream
-
- C—CHEMISTRY; METALLURGY
- C01—INORGANIC CHEMISTRY
- C01B—NON-METALLIC ELEMENTS; COMPOUNDS THEREOF; METALLOIDS OR COMPOUNDS THEREOF NOT COVERED BY SUBCLASS C01C
- C01B2203/00—Integrated processes for the production of hydrogen or synthesis gas
- C01B2203/12—Feeding the process for making hydrogen or synthesis gas
- C01B2203/1205—Composition of the feed
- C01B2203/1211—Organic compounds or organic mixtures used in the process for making hydrogen or synthesis gas
- C01B2203/1235—Hydrocarbons
- C01B2203/1241—Natural gas or methane
-
- C—CHEMISTRY; METALLURGY
- C01—INORGANIC CHEMISTRY
- C01B—NON-METALLIC ELEMENTS; COMPOUNDS THEREOF; METALLOIDS OR COMPOUNDS THEREOF NOT COVERED BY SUBCLASS C01C
- C01B2203/00—Integrated processes for the production of hydrogen or synthesis gas
- C01B2203/14—Details of the flowsheet
- C01B2203/148—Details of the flowsheet involving a recycle stream to the feed of the process for making hydrogen or synthesis gas
-
- Y—GENERAL TAGGING OF NEW TECHNOLOGICAL DEVELOPMENTS; GENERAL TAGGING OF CROSS-SECTIONAL TECHNOLOGIES SPANNING OVER SEVERAL SECTIONS OF THE IPC; TECHNICAL SUBJECTS COVERED BY FORMER USPC CROSS-REFERENCE ART COLLECTIONS [XRACs] AND DIGESTS
- Y02—TECHNOLOGIES OR APPLICATIONS FOR MITIGATION OR ADAPTATION AGAINST CLIMATE CHANGE
- Y02C—CAPTURE, STORAGE, SEQUESTRATION OR DISPOSAL OF GREENHOUSE GASES [GHG]
- Y02C20/00—Capture or disposal of greenhouse gases
- Y02C20/40—Capture or disposal of greenhouse gases of CO2
-
- Y—GENERAL TAGGING OF NEW TECHNOLOGICAL DEVELOPMENTS; GENERAL TAGGING OF CROSS-SECTIONAL TECHNOLOGIES SPANNING OVER SEVERAL SECTIONS OF THE IPC; TECHNICAL SUBJECTS COVERED BY FORMER USPC CROSS-REFERENCE ART COLLECTIONS [XRACs] AND DIGESTS
- Y02—TECHNOLOGIES OR APPLICATIONS FOR MITIGATION OR ADAPTATION AGAINST CLIMATE CHANGE
- Y02E—REDUCTION OF GREENHOUSE GAS [GHG] EMISSIONS, RELATED TO ENERGY GENERATION, TRANSMISSION OR DISTRIBUTION
- Y02E60/00—Enabling technologies; Technologies with a potential or indirect contribution to GHG emissions mitigation
- Y02E60/30—Hydrogen technology
- Y02E60/32—Hydrogen storage
-
- Y—GENERAL TAGGING OF NEW TECHNOLOGICAL DEVELOPMENTS; GENERAL TAGGING OF CROSS-SECTIONAL TECHNOLOGIES SPANNING OVER SEVERAL SECTIONS OF THE IPC; TECHNICAL SUBJECTS COVERED BY FORMER USPC CROSS-REFERENCE ART COLLECTIONS [XRACs] AND DIGESTS
- Y02—TECHNOLOGIES OR APPLICATIONS FOR MITIGATION OR ADAPTATION AGAINST CLIMATE CHANGE
- Y02P—CLIMATE CHANGE MITIGATION TECHNOLOGIES IN THE PRODUCTION OR PROCESSING OF GOODS
- Y02P20/00—Technologies relating to chemical industry
- Y02P20/10—Process efficiency
-
- Y—GENERAL TAGGING OF NEW TECHNOLOGICAL DEVELOPMENTS; GENERAL TAGGING OF CROSS-SECTIONAL TECHNOLOGIES SPANNING OVER SEVERAL SECTIONS OF THE IPC; TECHNICAL SUBJECTS COVERED BY FORMER USPC CROSS-REFERENCE ART COLLECTIONS [XRACs] AND DIGESTS
- Y02—TECHNOLOGIES OR APPLICATIONS FOR MITIGATION OR ADAPTATION AGAINST CLIMATE CHANGE
- Y02P—CLIMATE CHANGE MITIGATION TECHNOLOGIES IN THE PRODUCTION OR PROCESSING OF GOODS
- Y02P20/00—Technologies relating to chemical industry
- Y02P20/151—Reduction of greenhouse gas [GHG] emissions, e.g. CO2
-
- Y—GENERAL TAGGING OF NEW TECHNOLOGICAL DEVELOPMENTS; GENERAL TAGGING OF CROSS-SECTIONAL TECHNOLOGIES SPANNING OVER SEVERAL SECTIONS OF THE IPC; TECHNICAL SUBJECTS COVERED BY FORMER USPC CROSS-REFERENCE ART COLLECTIONS [XRACs] AND DIGESTS
- Y02—TECHNOLOGIES OR APPLICATIONS FOR MITIGATION OR ADAPTATION AGAINST CLIMATE CHANGE
- Y02P—CLIMATE CHANGE MITIGATION TECHNOLOGIES IN THE PRODUCTION OR PROCESSING OF GOODS
- Y02P30/00—Technologies relating to oil refining and petrochemical industry
Landscapes
- Chemical & Material Sciences (AREA)
- Organic Chemistry (AREA)
- Chemical Kinetics & Catalysis (AREA)
- Engineering & Computer Science (AREA)
- Inorganic Chemistry (AREA)
- Combustion & Propulsion (AREA)
- General Health & Medical Sciences (AREA)
- Health & Medical Sciences (AREA)
- Analytical Chemistry (AREA)
- General Chemical & Material Sciences (AREA)
- Oil, Petroleum & Natural Gas (AREA)
- Hydrogen, Water And Hydrids (AREA)
- Separation Of Gases By Adsorption (AREA)
Abstract
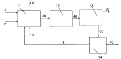
【解決手段】水蒸気の存在下に炭化水素供給材料を水蒸気改質するための装置において合成ガスを製造する工程であって、燃料が、反応に必要な熱を提供する、工程と、先行工程において得られた合成ガスを水蒸気転化し、メタンおよび二酸化炭素を含有する水素の流れを生じさせる工程と、水蒸気転化工程から得られた流れの中に存在する二酸化炭素を捕捉して、水素の流れから二酸化炭素を分離する工程と、水素の流れの中に存在するメタンおよび他の不純物(CO、CO2)を捕捉し、これを水蒸気改質工程に再循環させる工程とを包含する。
【選択図】図3
Description
・水蒸気の存在下、炭化水素供給材料を水蒸気改質するための装置において合成ガスを製造する工程であって、燃料が反応に必要な熱を提供する、工程と、
・先行工程において得られた合成ガスを水蒸気転化する工程であって、メタンおよび二酸化炭素を含有する水素の流れを製造する、工程と、
・水蒸気転化工程から得られた流れ中に存在する二酸化炭素を捕捉して、水素の流れから二酸化炭素を分離する工程と、
水素流れ中に存在するメタンおよび他の不純物を捕捉しかつこれを水蒸気改質工程に再循環させる工程と
を包含する方法を提案する。
・第1の吸着装置上での不純物の吸着;
・第1の吸着装置の再生および第2の吸着装置上での不純物の吸着。
・飽和した時に吸着器を分離し、かつ、第2の吸着器を作動状態にする;
・第1の吸着器に、炭化水素供給材料の流れであって、水蒸気改質装置のための供給材料として働かせることを目的とし、水蒸気(これも水蒸気改質装置を目的とする)との交換によって水蒸気の凝結温度より少なくとも20℃高い温度まで加熱された、ものを流す;
・水蒸気改質装置を目的として少なくとも20℃過熱された水蒸気を流通させることによって加熱された吸着器を再生し、不純物を脱着させる;
・吸着器に高純度の熱水素の流れを流すことによって再生された吸着器中に存在する水蒸気を除去する;
水蒸気を含まない吸着器に高純度の冷水素の流れを流す。
・水蒸気の存在下に炭化水素供給材料を水蒸気改質するための装置において合成ガスを製造する工程であって、燃料が、反応に必要な熱を提供する、工程と、
・先行工程において得られた合成ガスを水蒸気転化し、メタンおよび二酸化炭素を含有する水素の流れを生じさせる工程と、
・水蒸気転化工程から得られた流れの中に存在する二酸化炭素を捕捉して、水素の流れから二酸化炭素を分離する工程と、
・水素の流れの中に存在するメタンおよび他の不純物(CO、CO2)を捕捉し、これを水蒸気改質工程に再循環させる工程と
を包含する方法であり、これにより、製造終了時に存在する不純物、特にメタンを捕捉し、かつ、エネルギー損失なしでそれらを水蒸気改質工程に再循環させることができる。
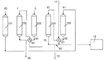
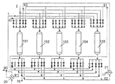
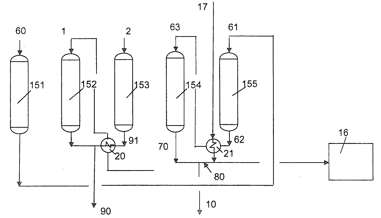
・工程1:水素リッチな流れ中のメタン、COおよびCO2の吸着剤上への吸着。この工程は、20〜100℃の範囲、好ましくは40〜80℃の範囲、非常に好ましくは30〜70℃の範囲の低温で行われる。高純度の水素はこの工程を出る。吸着剤は、例えば、活性炭であり得る。一旦、吸着剤が飽和近くになると、容量器は、回路から分離され、別の容量器が作動状態にする;
・工程2:先行の工程において分離された容量器中の圧力は、次いで、増加させられ、それは、装置の終了時に圧力下に利用可能なプロセス供給原料(天然ガス)により加熱され、徐々に、水蒸気改質装置において約150℃に予備加熱される。天然ガスは、水蒸気との交換によって約300℃に加熱された後、吸着剤床に送られる。容量器中の熱天然ガスの移動は、吸着剤の床および壁を操作圧力における水蒸気凝結温度より少なくとも20℃高い温度に(3.5MPaにおいて255℃)再加熱し、これにより、次の工程の間の凝結のあらゆる危険性が回避される;
・工程3:再加熱された容量器のための吸着剤は、次いで、水蒸気改質入口において用いられた水蒸気を流通させることによって再生される。水蒸気は、不純物(主としてCH4)が吸着剤から脱着させられることを可能にし、それらを水蒸気改質反応器に送る。容量器を出る水蒸気は、交換器に送られ、予備加熱を目的として天然ガスを加熱させる;
・工程4:容量器は、次いで、分離され、次いで、容量器中に依然として存在する水蒸気を除くために高純度の熱水素を流される。熱水蒸気−飽和水素の一部は、次いで、水蒸気改質炉のためのバーナーに送られ、残りは、希釈水蒸気との混合物として、ガスタービンに送られる。現行のタービンは、高純度水素により機能し得ないが、当業者は、50%の水素および水蒸気の混合物によりそれが機能することを可能にするように少し適応させることができるだろう;
・工程5:容量器は、高純度の冷水素を流すことによって冷却される。容量器出口において加熱された水素は、希釈水蒸気との交換によってさらに加熱された後、工程4に送られる。
・それは、ほとんど全てのCO2を捕捉することができる;
・それは、圧縮器なしで、圧力下にメタンを水蒸気改質装置への入口に再循環させることができ、それ故に、エネルギーの喪失を伴わない;
・それは、上流のアミン洗浄装置において捕捉されるべきCO2の量に関する規制上の制約を緩めることができ、それ故に、関連したエネルギー消費量を低減させ得る。
脱酸性化装置(MDEA)を出る水素リッチなガスの流れ(5300kmol/h)が、2.6MPaの圧力および57℃の温度で処理され、特にメタンが、これを水蒸気改質装置(SMR)に再循環させるために抽出された。
・H2: 92.9%
・CH4: 5.4%
・CO: 1.0%
・CO2: 0.1%
・H2O: 0.6%
それは、メタンの大部分をこのガスから捕捉することを目的としており、このガスは、約4600kg/hのマスフロー速度を示していた。
・水蒸気改質装置のための供給材料として作用する天然ガスを用いた3分にわたる2.6MPaから3.5MPaへの吸着器の加圧;
・過熱水蒸気を用いた先行段階の向流脱着;入口温度は380℃であり、圧力は3.5MPaである。用いられた水蒸気の流量は50t/hであり、7分間にわたる、表面速度は4.3m/分であった;
・3分にわたる2.6MPaへの吸着器の脱圧;工程1の間に得られた精製水素を用いた、吸着器中に依然として存在する過熱水蒸気の排気、7t/hの流量であり、7分間にわたる。
複合サイクル(ガスタービン+水蒸気の生成を伴うタービン出口における熱の回収および水蒸気タービン)を用いて400MWの電気が生じさせられるべきであった。
・CH4: 91%
・C2H6: 6%
・C3H8: 1%
・CO2: 2%
水蒸気改質、水蒸気転化および活性化MDEA吸着の後、生じたガスは、2.6MPa、57℃であり、以下のモル組成を有していた:
・H2: 92.9%
・CH4: 5.4%
・CO: 1%
・CO2: 0.1%
・H2O: 0.6%
それは、5℃過熱され、その結果、それは、もはや飽和しなくなり、吸着剤上の水のあらゆる凝結が回避された。
この工程の間、脱酸性装置(MDEA)を出る水素が、特にCH4の吸着によって精製された。
この工程の間、吸着器、特に精製されるべき水素を含んでいるものは天然ガスを用いて加圧された。圧力変化は、精製されるべき水素の圧力と、利用可能であって過熱水蒸気の圧力との間の変化であった。
この工程の間、吸着された化合物の脱着が行われ、特に、CH4の脱着が過熱水蒸気を用いて行われた。
この工程の間、脱着工程3の終了時において吸着器中に依然として含まれる残留水蒸気のパージが行われた。
この工程の間に、工程4において残留過熱水蒸気を丁度パージされた吸着器が冷却された。
本発明によると、水素中に存在し、固体上に吸着された不純物の脱着工程は、過熱水蒸気を用いて行われる。吸着剤固体は、過熱水蒸気の存在下に高温、典型的には、室温から350℃の範囲の温度に抵抗することができなければならない。本発明によると、吸着剤は、活性炭または炭素モレキュラーシーブタイプの吸着剤から選択される。
2 ライン
10 ライン
11 水蒸気改質装置
12 水蒸気転化装置
13 CO2捕捉装置
15 活性炭吸着装置
16 ガスタービン
17 ライン
30 ライン
40 ライン
50 ライン
60 ライン
70 ライン
80 ライン
90 ライン
110 炉出口
Claims (14)
- 炭化水素供給材料および水蒸気から水素を製造する方法であって、
・水蒸気の存在下に炭化水素供給材料を水蒸気改質するための装置において合成ガスを製造する工程であって、燃料が反応に必要な熱を提供する、工程と、
・先行工程において得られた合成ガスを水蒸気転化し、メタンおよび二酸化炭素を含有する水素の流れを生じさせる工程と、
・該水蒸気転化工程から得られた流れ中に存在する二酸化炭素を捕捉し、水素の流れから二酸化炭素を分離する工程と、
・水素の流れの中に存在する不純物を捕捉し、これを該水蒸気改質工程に再循環させる工程と
を包含する方法 - 炭化水素供給材料は天然ガスである、請求項1に記載の水素製造方法。
- 不純物の捕捉・再循環工程は、少なくとも2つの吸着器を含む吸着装置において行われ、
・第1の吸着器上に不純物を吸着させる段階と、
・第1の吸着器を再生し、第2の吸着器上に不純物を吸着させる段階と
の連続段階の少なくとも1つを包含する、請求項1または2に記載の水素製造方法。 - 吸着器再生段階は、
・飽和した時に吸着器を分離し、第2の吸着器を作動状態にすること;
・第1の吸着器に、炭化水素供給材料であって、水蒸気改質装置のための供給材料として作用させることを目的とし、同様に水蒸気改質装置を目的とした水蒸気との交換によって、水蒸気の凝結温度より少なくとも20℃高い温度に加熱された炭化水素供給材料の流れを流すこと;
・水蒸気改質装置を目的として少なくとも20℃過熱された水蒸気を流通させることによって、加熱された吸着器を再生し、不純物を脱着させること;
・吸着器に、高純度の熱水素の流れを流すことによって再生された吸着器中に存在する水蒸気を除去すること
・水蒸気を含有しない吸着器に、高純度の冷水素の流れを流すこと
により行われる、請求項3に記載の水素製造方法。 - 不純物の吸着工程は、20〜100℃の範囲の温度で行われる、請求項3または4に記載の水素製造方法。
- 前記吸着工程は、活性炭または炭素モレキュラーシーブタイプの吸着剤により行われる、請求項3〜5のいずれか1つに記載の水素製造方法。
- 前記吸着工程は、物理的水蒸気活性化によって調製された木炭により行われる、請求項3〜6のいずれか1つに記載の水素製造方法。
- 前記吸着工程は、2nm未満の径を有するミクロ孔、50nm超の径を有するマクロ孔およびより少量の2〜50nmの範囲の径を有するメソ孔を含有する活性炭により行われる、請求項3〜7のいずれか1つに記載の水素製造方法。
- 吸着された不純物はメタン、二酸化炭素および一酸化炭素である、請求項3〜8のいずれか1つに記載の水素製造方法。
- 再生された吸着器に流した後に得られた水蒸気で飽和した熱水素の流れの一部は、改質装置用のバーナーに送られ、該流れ他の部分は、希釈水蒸気との混合物として発電のためにガスタービンに送られる、請求項3〜9のいずれか1つに記載の水素製造方法。
- 再生された吸着器に流した後に得られた冷水素の流れの一部は外部の装置に送られる一方で、該水素の残りは、熱洗流のために用いられ、次いで、改質装置のバーナーに送られる、請求項3〜9のいずれか1つに記載の水素製造方法。
- 吸着器冷却段階の後に得られた加熱された水素の流れは、水蒸気との交換によって再加熱され、吸着器中に存在する水蒸気を除去する段階において用いられる、請求項3〜10のいずれか1つに記載の水素製造方法。
- 合成ガス製造工程は、2.5〜3.5MPaの範囲の圧力で行われる、請求項1〜12のいずれか1つに記載の水素製造方法。
- 二酸化炭素捕捉工程は、メチルジエチルアミンおよび少なくとも1種の他のアミンを用いるアミン装置において行われる、請求項1〜13のいずれか1つに記載の水素製造方法。
Applications Claiming Priority (2)
| Application Number | Priority Date | Filing Date | Title |
|---|---|---|---|
| FR0805390 | 2008-09-29 | ||
| FR0805390A FR2936507B1 (fr) | 2008-09-29 | 2008-09-29 | Procede de production d'hydrogene avec captation totale du co2 et recyclage du methane non converti |
Publications (3)
| Publication Number | Publication Date |
|---|---|
| JP2010083754A true JP2010083754A (ja) | 2010-04-15 |
| JP2010083754A5 JP2010083754A5 (ja) | 2012-11-15 |
| JP5542397B2 JP5542397B2 (ja) | 2014-07-09 |
Family
ID=40512588
Family Applications (1)
| Application Number | Title | Priority Date | Filing Date |
|---|---|---|---|
| JP2009224062A Expired - Fee Related JP5542397B2 (ja) | 2008-09-29 | 2009-09-29 | Co2の完全な捕捉を伴って水素を製造し、未転化メタンを再循環させる方法 |
Country Status (6)
| Country | Link |
|---|---|
| US (1) | US8790617B2 (ja) |
| EP (1) | EP2168913B1 (ja) |
| JP (1) | JP5542397B2 (ja) |
| CA (1) | CA2679771C (ja) |
| FR (1) | FR2936507B1 (ja) |
| RU (1) | RU2509720C2 (ja) |
Cited By (6)
| Publication number | Priority date | Publication date | Assignee | Title |
|---|---|---|---|---|
| WO2011122361A1 (en) | 2010-03-31 | 2011-10-06 | Hitachi Koki Co., Ltd. | Power tool |
| JP2012025655A (ja) * | 2010-07-23 | 2012-02-09 | IFP Energies Nouvelles | 中間圧力でのパージによる水素製造方法 |
| JP2013230105A (ja) * | 2012-04-27 | 2013-11-14 | Ito En Ltd | 茶飲料の製造方法 |
| JP2020089815A (ja) * | 2018-12-03 | 2020-06-11 | 古河電気工業株式会社 | 合成ガスの製造装置および合成ガスの製造方法 |
| KR20220070791A (ko) * | 2020-11-23 | 2022-05-31 | 노용규 | 탄화수소 열분해 수소 생산 장치 및 이의 운용 방법 |
| JP2024010688A (ja) * | 2022-07-13 | 2024-01-25 | 三菱重工業株式会社 | 燃料供給装置及び燃焼設備 |
Families Citing this family (11)
| Publication number | Priority date | Publication date | Assignee | Title |
|---|---|---|---|---|
| US8137422B2 (en) | 2009-06-03 | 2012-03-20 | Air Products And Chemicals, Inc. | Steam-hydrocarbon reforming with reduced carbon dioxide emissions |
| FR2949772A1 (fr) * | 2009-09-04 | 2011-03-11 | Total Raffinage Marketing | Procede de fabrication d'un gaz de synthese ou d'hydrogene, a partir d'une charge hydrocarbonee |
| US20140047978A1 (en) * | 2011-03-31 | 2014-02-20 | Uop Llc | Process for purifying a gas in a temperature swing adsorption unit |
| RU2485330C1 (ru) * | 2011-11-16 | 2013-06-20 | Федеральное государственное бюджетное учреждение "Национальный исследовательский центр "Курчатовский институт" | Способ генерации энергии |
| US9023244B2 (en) | 2012-12-31 | 2015-05-05 | Chevron U.S.A. Inc. | Capture of CO2 from hydrogen plants |
| CN108253729B (zh) * | 2018-03-09 | 2023-09-19 | 杭州中泰深冷技术股份有限公司 | 一种煤化工合成气深冷分离联产甲烷气系统及其工艺方法 |
| RU2729790C1 (ru) * | 2020-02-28 | 2020-08-12 | Игорь Анатольевич Мнушкин | Газохимическое производство водорода |
| WO2022100899A1 (en) | 2020-11-13 | 2022-05-19 | Technip France | A process for producing a hydrogen-comprising product gas from a hydrocarbon |
| WO2022155425A1 (en) | 2021-01-14 | 2022-07-21 | Bd Energy Systems, Llc | Low co2 emissions methanol process and production apparatus |
| WO2022155434A1 (en) | 2021-01-14 | 2022-07-21 | Bd Energy Systems, Llc | Method and apparatus for improved efficiency and flue gas scrubbing in a fired heater using a condensing convection section |
| US12140374B2 (en) * | 2022-02-08 | 2024-11-12 | Air Products And Chemicals, Inc. | Method for producing high purity hydrogen |
Citations (7)
| Publication number | Priority date | Publication date | Assignee | Title |
|---|---|---|---|---|
| JPS6197124A (ja) * | 1984-10-18 | 1986-05-15 | インペリアル・ケミカル・インダストリーズ・ピーエルシー | 二酸化炭素の回収方法 |
| JPS61197403A (ja) * | 1985-02-27 | 1986-09-01 | Jgc Corp | 水素製造法 |
| JPS6241701A (ja) * | 1985-08-13 | 1987-02-23 | Mitsubishi Heavy Ind Ltd | メタノ−ル分解装置の圧力スイング式ガス分離器 |
| JPS62500572A (ja) * | 1983-05-13 | 1987-03-12 | ユニオン カ−バイド コ−ポレ−シヨン | 高熱容量を有する活性炭吸着剤ペレットの製造方法及び高熱容量を有するペレット化活性炭吸着剤 |
| JP2003104720A (ja) * | 2001-09-28 | 2003-04-09 | Kanebo Ltd | 分子ふるい炭素およびそれを用いた圧力スイング吸着装置 |
| JP2004299996A (ja) * | 2003-03-31 | 2004-10-28 | Osaka Gas Co Ltd | 水素製造装置の運転方法 |
| JP2007500115A (ja) * | 2003-07-28 | 2007-01-11 | ウーデ・ゲゼルシャフト・ミト・ベシュレンクテル・ハフツング | メタン含有ガス、特に天然ガスからの水素の製造法および該方法を実施するシステム |
Family Cites Families (13)
| Publication number | Priority date | Publication date | Assignee | Title |
|---|---|---|---|---|
| FR2557555B1 (fr) * | 1983-12-30 | 1987-05-15 | Inst Francais Du Petrole | Nouveau procede de fabrication de gaz de synthese utilisable notamment pour la production de methanol |
| EP0157480B1 (en) | 1984-03-02 | 1989-07-26 | Imperial Chemical Industries Plc | Process for producing ammonia synthesis gas |
| RU1819848C (ru) * | 1990-11-22 | 1993-06-07 | Грозненский нефтяной научно-исследовательский институт | Способ термокаталитического получени водорода |
| US5430303A (en) * | 1992-07-01 | 1995-07-04 | Nikon Corporation | Exposure apparatus |
| US5669960A (en) * | 1995-11-02 | 1997-09-23 | Praxair Technology, Inc. | Hydrogen generation process |
| AU758934B2 (en) * | 1998-11-23 | 2003-04-03 | Fluor Technologies Corporation | Split flow process and apparatus |
| US6521143B1 (en) | 2000-04-13 | 2003-02-18 | Air Products And Chemicals, Inc. | Co-production of carbon monoxide-rich syngas wth high purity hydrogen |
| US6706770B2 (en) * | 2002-04-04 | 2004-03-16 | Air Products And Chemicals, Inc. | Co-production of hydrogen and methanol from steam reformate |
| US7708809B2 (en) * | 2002-11-20 | 2010-05-04 | Mitsubishi Materials Corporation | Hydrogen permeable membrane |
| RU2271333C2 (ru) * | 2004-03-25 | 2006-03-10 | Институт Катализа Им. Г.К. Борескова Сибирского Отделения Российской Академии Наук | Способ получения водородсодержащего газа |
| US7752848B2 (en) | 2004-03-29 | 2010-07-13 | General Electric Company | System and method for co-production of hydrogen and electrical energy |
| US7399341B2 (en) * | 2005-04-26 | 2008-07-15 | Uop Llc | Gas purification process |
| FR2910457B1 (fr) * | 2006-12-22 | 2009-03-06 | Inst Francais Du Petrole | Procede de purification par adsorption d'hydrogene avec cogeneration d'un flux de co2 en pression |
-
2008
- 2008-09-29 FR FR0805390A patent/FR2936507B1/fr not_active Expired - Fee Related
-
2009
- 2009-09-11 EP EP09290691.6A patent/EP2168913B1/fr not_active Not-in-force
- 2009-09-25 CA CA2679771A patent/CA2679771C/fr not_active Expired - Fee Related
- 2009-09-28 US US12/568,317 patent/US8790617B2/en not_active Expired - Fee Related
- 2009-09-28 RU RU2009136005/05A patent/RU2509720C2/ru not_active IP Right Cessation
- 2009-09-29 JP JP2009224062A patent/JP5542397B2/ja not_active Expired - Fee Related
Patent Citations (7)
| Publication number | Priority date | Publication date | Assignee | Title |
|---|---|---|---|---|
| JPS62500572A (ja) * | 1983-05-13 | 1987-03-12 | ユニオン カ−バイド コ−ポレ−シヨン | 高熱容量を有する活性炭吸着剤ペレットの製造方法及び高熱容量を有するペレット化活性炭吸着剤 |
| JPS6197124A (ja) * | 1984-10-18 | 1986-05-15 | インペリアル・ケミカル・インダストリーズ・ピーエルシー | 二酸化炭素の回収方法 |
| JPS61197403A (ja) * | 1985-02-27 | 1986-09-01 | Jgc Corp | 水素製造法 |
| JPS6241701A (ja) * | 1985-08-13 | 1987-02-23 | Mitsubishi Heavy Ind Ltd | メタノ−ル分解装置の圧力スイング式ガス分離器 |
| JP2003104720A (ja) * | 2001-09-28 | 2003-04-09 | Kanebo Ltd | 分子ふるい炭素およびそれを用いた圧力スイング吸着装置 |
| JP2004299996A (ja) * | 2003-03-31 | 2004-10-28 | Osaka Gas Co Ltd | 水素製造装置の運転方法 |
| JP2007500115A (ja) * | 2003-07-28 | 2007-01-11 | ウーデ・ゲゼルシャフト・ミト・ベシュレンクテル・ハフツング | メタン含有ガス、特に天然ガスからの水素の製造法および該方法を実施するシステム |
Cited By (9)
| Publication number | Priority date | Publication date | Assignee | Title |
|---|---|---|---|---|
| WO2011122361A1 (en) | 2010-03-31 | 2011-10-06 | Hitachi Koki Co., Ltd. | Power tool |
| JP2012025655A (ja) * | 2010-07-23 | 2012-02-09 | IFP Energies Nouvelles | 中間圧力でのパージによる水素製造方法 |
| JP2013230105A (ja) * | 2012-04-27 | 2013-11-14 | Ito En Ltd | 茶飲料の製造方法 |
| JP2020089815A (ja) * | 2018-12-03 | 2020-06-11 | 古河電気工業株式会社 | 合成ガスの製造装置および合成ガスの製造方法 |
| JP7327929B2 (ja) | 2018-12-03 | 2023-08-16 | 古河電気工業株式会社 | 合成ガスの製造装置および合成ガスの製造方法 |
| KR20220070791A (ko) * | 2020-11-23 | 2022-05-31 | 노용규 | 탄화수소 열분해 수소 생산 장치 및 이의 운용 방법 |
| KR102482738B1 (ko) * | 2020-11-23 | 2022-12-28 | 노용규 | 탄화수소 열분해 수소 생산 장치 및 이의 운용 방법 |
| JP2024010688A (ja) * | 2022-07-13 | 2024-01-25 | 三菱重工業株式会社 | 燃料供給装置及び燃焼設備 |
| JP7653951B2 (ja) | 2022-07-13 | 2025-03-31 | 三菱重工業株式会社 | 燃料供給装置及び燃焼設備 |
Also Published As
| Publication number | Publication date |
|---|---|
| FR2936507A1 (fr) | 2010-04-02 |
| US20100080754A1 (en) | 2010-04-01 |
| FR2936507B1 (fr) | 2011-04-08 |
| RU2009136005A (ru) | 2011-04-10 |
| EP2168913A1 (fr) | 2010-03-31 |
| EP2168913B1 (fr) | 2018-11-14 |
| US8790617B2 (en) | 2014-07-29 |
| CA2679771A1 (fr) | 2010-03-29 |
| JP5542397B2 (ja) | 2014-07-09 |
| RU2509720C2 (ru) | 2014-03-20 |
| CA2679771C (fr) | 2017-03-21 |
Similar Documents
| Publication | Publication Date | Title |
|---|---|---|
| JP5542397B2 (ja) | Co2の完全な捕捉を伴って水素を製造し、未転化メタンを再循環させる方法 | |
| US8268044B2 (en) | Separation of a sour syngas stream | |
| CA2732129C (en) | Recovery of carbon dioxide from flue gas | |
| CA2745359C (en) | A method and apparatus for producing power and hydrogen | |
| CA2046772C (en) | Carbon dioxide production from combustion exhaust gases with nitrogen and argon by-product recovery | |
| JP2010083754A5 (ja) | ||
| US9023244B2 (en) | Capture of CO2 from hydrogen plants | |
| US20120241678A1 (en) | Method for the production of hydrogen combined with carbon dioxide capture | |
| US20220144634A1 (en) | Process and plant for producing hydrogen and for separating carbon dioxide from synthesis gas | |
| CN101568369A (zh) | 在压力下联合产生co2流的氢吸附提纯法 | |
| US4772420A (en) | Gas separation | |
| NO854134L (no) | Gass-utvinning. | |
| JP2012031049A (ja) | ヘリウムガスの精製方法および精製装置 | |
| JP5840884B2 (ja) | 中間圧力でのパージによる水素製造方法 | |
| JPS6248793A (ja) | 水素含有ガス流の製造方法 | |
| JPS6230603A (ja) | 工業用水素の製造方法 | |
| CA3192314A1 (en) | Sorption-enhanced water-gas shift process for the formation of a co2 product stream and an h2 product stream |
Legal Events
| Date | Code | Title | Description |
|---|---|---|---|
| A521 | Request for written amendment filed |
Free format text: JAPANESE INTERMEDIATE CODE: A523 Effective date: 20120928 |
|
| A621 | Written request for application examination |
Free format text: JAPANESE INTERMEDIATE CODE: A621 Effective date: 20120928 |
|
| A977 | Report on retrieval |
Free format text: JAPANESE INTERMEDIATE CODE: A971007 Effective date: 20131018 |
|
| A131 | Notification of reasons for refusal |
Free format text: JAPANESE INTERMEDIATE CODE: A131 Effective date: 20131029 |
|
| A521 | Request for written amendment filed |
Free format text: JAPANESE INTERMEDIATE CODE: A523 Effective date: 20140121 |
|
| TRDD | Decision of grant or rejection written | ||
| A01 | Written decision to grant a patent or to grant a registration (utility model) |
Free format text: JAPANESE INTERMEDIATE CODE: A01 Effective date: 20140408 |
|
| A61 | First payment of annual fees (during grant procedure) |
Free format text: JAPANESE INTERMEDIATE CODE: A61 Effective date: 20140507 |
|
| R150 | Certificate of patent or registration of utility model |
Ref document number: 5542397 Country of ref document: JP Free format text: JAPANESE INTERMEDIATE CODE: R150 |
|
| R250 | Receipt of annual fees |
Free format text: JAPANESE INTERMEDIATE CODE: R250 |
|
| R250 | Receipt of annual fees |
Free format text: JAPANESE INTERMEDIATE CODE: R250 |
|
| LAPS | Cancellation because of no payment of annual fees |
