JP2010083445A - 鉄道車両用操舵台車及び鉄道車両 - Google Patents

鉄道車両用操舵台車及び鉄道車両 Download PDF

Info

Publication number
JP2010083445A
JP2010083445A JP2008257624A JP2008257624A JP2010083445A JP 2010083445 A JP2010083445 A JP 2010083445A JP 2008257624 A JP2008257624 A JP 2008257624A JP 2008257624 A JP2008257624 A JP 2008257624A JP 2010083445 A JP2010083445 A JP 2010083445A
Authority
JP
Japan
Prior art keywords
eddy current
braking
railway vehicle
steering
carriage
Prior art date
Legal status (The legal status is an assumption and is not a legal conclusion. Google has not performed a legal analysis and makes no representation as to the accuracy of the status listed.)
Granted
Application number
JP2008257624A
Other languages
English (en)
Other versions
JP5267859B2 (ja
Inventor
Takuji Nakai
拓自 中居
Kenji Imanishi
憲治 今西
Mitsuo Miyahara
光雄 宮原
Yasutaka Noguchi
泰隆 野口
Yutaka Nogami
裕 野上
Akira Saito
晃 齋藤
Naoki Kitagawa
直樹 北川
Hitoshi Taguchi
均 田口
Shinichiro Hiramatsu
慎一朗 平松
Mitsuaki Watanabe
光章 渡邉
Current Assignee (The listed assignees may be inaccurate. Google has not performed a legal analysis and makes no representation or warranty as to the accuracy of the list.)
Nippon Steel Corp
Original Assignee
Sumitomo Metal Industries Ltd
Priority date (The priority date is an assumption and is not a legal conclusion. Google has not performed a legal analysis and makes no representation as to the accuracy of the date listed.)
Filing date
Publication date
Application filed by Sumitomo Metal Industries Ltd filed Critical Sumitomo Metal Industries Ltd
Priority to JP2008257624A priority Critical patent/JP5267859B2/ja
Publication of JP2010083445A publication Critical patent/JP2010083445A/ja
Application granted granted Critical
Publication of JP5267859B2 publication Critical patent/JP5267859B2/ja
Active legal-status Critical Current
Anticipated expiration legal-status Critical

Links

Images

Landscapes

  • Electric Propulsion And Braking For Vehicles (AREA)
  • Dynamo-Electric Clutches, Dynamo-Electric Brakes (AREA)

Abstract

【課題】操舵機構によって台車が複雑かつ重量化する問題を解決する。
【解決手段】鉄道車両用操舵台車である。台車12枠の、対をなすレール2と対向するそれぞれの位置に、渦電流式レールブレーキ14を設ける。これら渦電流式レールブレーキ14を個別に作動が可能なように構成する。曲線路の走行時には、曲線の内側に位置する渦電流式レールブレーキ14aのみを作動させて台車を操舵する。
【効果】渦電流式レールブレーキを効率的に活用した操舵台車が実現でき、台車が複雑かつ重量化するという問題が起こることがない。
【選択図】図6

Description

本発明は、曲線路の通過時、渦電流式レールブレーキを使用して台車を操舵する操舵台車、及びこの操舵台車を備えた鉄道車両に関するものである。
曲線路を通過する際、車輪に作用する旋回抵抗力(横圧)を低減するために、車輪が曲線路に沿うように輪軸を移動させる操舵台車がある。この操舵台車では、輪軸の中心線が曲線路の半径方向に向くように、台車または車体に操舵装置が取付けられる。
例えば特許文献1では、台車枠と車体の間にアクチュエータを取付けることで、曲線路の半径に応じて台車を旋回させている。また、特許文献2では、台車と輪軸の間にリンク機構を取付けることで、曲線路の半径に応じて輪軸を旋回させている。
特開2002―87262号公報 特許3448445号公報
しかしながら、アクチュエータまたはリンク機構等の機械式操舵機構を追加で取付けることにより、輪軸の中心線が曲線路の半径方向に向くように操舵する場合、台車の構成が複雑になり、重量が増加するという問題がある。また、前記操舵機構に損傷等が発生した場合は、輪軸を曲線路の半径方向と逆の方向に移動させる可能性があり、脱線に至る危険性がある。
本発明が解決しようとする問題点は、機械式の操舵機構を追加で取付けることによって輪軸を操舵する操舵台車の場合、台車の構成が複雑になり、重量が増加するという点である。また、前記の操舵機構が損傷等した場合には、脱線に至る危険性があるという点である。
本発明の鉄道車両用操舵台車は、
操舵機構によって台車が複雑かつ重量化する問題を解決するために、
台車枠の、対をなすレールと対向するそれぞれの位置に、渦電流式レールブレーキを設け、
これら渦電流式レールブレーキを個別に作動が可能なように構成したことを最も主要な特徴としている。
本発明の操舵台車では、機械式操舵機構を追加で取付けることに換え、渦電流式レールブレーキに操舵機構を兼ねさせるので、台車が複雑かつ重量化するという問題は起こらない。
本発明の鉄道車両用操舵台車では、曲線路の走行時には、曲線の内側に位置する渦電流式レールブレーキのみを作動させて台車を操舵する。従って、前記のように制御する制御装置を備えることが望ましい。
また、本発明の鉄道車両用操舵台車において、渦電流式レールブレーキは、永久磁石を用い、制動時、非制動時ともにレールと非接触であるものとすれば、レールへの攻撃性がなく、また天候の影響を受け難く、しかも操舵機構全体の軽量化も図れる。
この渦電流式レールブレーキは、例えば、複数の永久磁石を、少なくとも隣接する磁極が異なるように、強磁性の支持板に固定した磁石ユニットを、台車側から見た場合にレールの長手方向と一致する軸を中心に回転させて制動、非制動を切り換えるものとする。このようにすれば、制動力の制御を容易に行うことができる。その際、磁石ユニットの制動力を調整するための回転角度調整機構を備えることが望ましい。
鉄道車両に本発明の操舵台車を備えさせる場合には、少なくとも進行方向の前側の台車に備えさせる。これが本発明の鉄道車両である。このようにすることで、車両の先頭輪軸の外軌側車輪に作用する横圧を抑制でき、曲線路を走行する際の騒音、振動の防止とともに安全性を高めることができる。
本発明は、機械式操舵機構を追加で取付けるのではなく、渦電流式レールブレーキに操舵機構を兼ねさせるので、渦電流式レールブレーキを効率的に活用した操舵台車が実現できる。従って、台車が複雑かつ重量化するという問題が起こることがない。
以下、本発明における新しい着想と、この着想から課題解決に至るまでの経過と共に、本発明を実施するための最良の形態について、図1〜図7を用いて説明する。
近年、新幹線、在来線共に高速化が求められており、非常ブレーキの作動後、定められた規制内で停止することが困難となりつつある。そのための対策として既存のブレーキ装置に加え、台車枠に渦電流式のレールブレーキを装着することが提案されている(例えば特開平10−167068号公報)。
この渦電流式レールブレーキは、減速性能を得るために、対をなす2本のレールの頭頂面と対向する台車枠の下面に取付けられ、制動時には1対の渦電流式レールブレーキを同時に動作させる。
発明者らは、この渦電流式レールブレーキによって台車枠を操舵することを考えた。
すなわち、曲線路への進入時に、この渦電流式レールブレーキの、曲線路の内軌側(曲線中心側)のみを動作させれば、台車枠の内軌側には、レールに対して進行方向反対側(制動方向)に荷重が作用し、台車枠には回転モーメントが発生する。この回転モーメントにより、台車枠が曲線路の半径中心側(操舵側)に回転することで、進行方向の先頭側の輪軸の中心線が曲線路の半径方向に向くようになると考えられる。
本発明の鉄道車両用操舵台車は、上記の考え方に基づいてなされたものであり、
台車枠の、対をなすレールと対向するそれぞれの位置に、渦電流式レールブレーキを設け、
これら渦電流式レールブレーキを個別に作動が可能なように構成したことを最も主要な特徴としている。
この本発明の鉄道車両用操舵台車では、曲線路の走行時には、曲線の内側に位置する渦電流式レールブレーキのみを作動させて台車を操舵すべく制御する制御装置を備えることが望ましい。
本発明の鉄道車両用操舵台車は、機械式操舵機構を追加で取付けるのではなく、渦電流式レールブレーキに操舵機構を兼ねさせるので、台車が複雑かつ重量化するという問題を起こすことなく、操舵効果を得ることができる。
また、本発明の鉄道車両用操舵台車において、制動時、非制動時ともレールと非接触な永久磁石を用いた渦電流式レールブレーキを使用すれば、レールへの攻撃性がなく、また天候の影響を受け難く、安定した操舵性能を得ることができる。しかも、操舵機構全体の軽量化も図れる。
つまり、本発明では、台車枠の下面の、対をなすレールのそれぞれの頭頂面と対向する位置に、渦電流式レールブレーキを1対取付ける。制動時は、この1対の渦電流式レールブレーキを同時に動作させて所要の制動力を台車及び車両に与える。一方、曲線路に進入する時は、曲線に対して内側に位置する渦電流式レールブレーキのみを動作させ、台車枠を曲線軌道に対して内側に旋回させる。
ところで、本発明の鉄道車両用操舵台車に取付ける渦電流式レールブレーキとしては、例えば以下に説明する構成のものを採用する。
1は渦電流式レールブレーキを構成する磁石ユニットであり、図1に示すように、複数個の永久磁石1aを強磁性の支持板(ヨーク)1bに直列に固定し、このヨーク1bの両端に設けた軸1baを2個のブラケット1cで回転が自在なように支持した構成である。
前記複数個の永久磁石1aは、隣り合う全ての永久磁石1aが例えば互いに異極となるよう配置されている。そして、その磁極面1aaが2本で1対のレール2の頭頂面2aに対してそれぞれ対向し、台車側から見た場合に、前記軸1baがレール2の長手方向と一致するよう、台車枠に取付けられている。
前記ヨーク1bの中央にはトラニオン1daを設けた杆材1dが設けられ、エアーシリンダ(図示省略)のロッドの出退動を、前記トラニオン1daを介して回転運動に変換するようになっている。これにより、杆材1dがトラニオン1daを中心として回転し、リンク1eを介して磁石ユニット1を、軸1baを中心として90度回動させ、制動と非制動の切り換えを行う。
ちなみに、2極の永久磁石1aを使用して制動から非制動に切り換える場合のイメージを図2に示す。
前記磁石ユニット1の場合、永久磁石1aの磁極面1aaがレール2の頭頂面2aと対向した位置が、制動力が最も大きくなる制動状態である(図2(a)参照)。
そして、この制動状態から、エアーシリンダのロッドを例えば退入させて永久磁石1aとヨーク1bを回転させ、図2(b)(c)を経て図2(d)に示すように、永久磁石1aの磁極面1aaをレール2の頭頂面2aから離脱させる。この状態が非制動状態である。
上記構成の本発明では、図2(b)や図2(c)に示すような位置であっても、制動力が生じているので、永久磁石1aの回転角度調整機構を備えさせることにより、制動時の制動力を調整することもできる。
このように、制動と非制動の切り換えを回転により行うことで、永久磁石1aの磁極面1aaとレール2の頭頂面2aとの磁路を最短とすることができ、磁気的に効率を高めることが可能となって、軽量化が可能となる。
1fは、前記ヨーク1bに直列に固定した複数個の永久磁石1aの、前記非制動状態にある永久磁石1aの磁極面1aaを覆う磁性体の保護カバーであり、非制動時には、衝突物や小さな磁性体の落下物の吸着を防ぐものである。また、この保護カバー1fにより非制動時の磁気漏れを防止することができる。
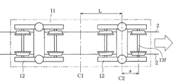
上記の渦電流式レールブレーキを取付けていない、例えば新幹線車両が、半径2500mの曲線路を通過する場合を考えると、図4に示すように、車体11は曲線中心に対して平行に位置する。
しかしながら、車体11の長手方向中心C1から距離L(=8.75m)を隔てた位置に取付けられた台車12が車体11と平行になる場合、図3に示す直線路の走行中と異なり、曲線路の半径方向に対してθ1(=L/R=3.5mrad)の角度をもって走行する。
ここで、台車12の中心C2から距離a(=1.25m)だけ隔てた位置にある先頭輪軸13fが台車11に対して平行の場合、曲線路の半径方向に対してアタック角θ2(=θ1+a/R=4.0mrad)の姿勢で曲線路を走行する。先頭輪軸13fが曲線路に対してアタック角を持って走行すると、外軌側車輪13f1には旋回抵抗力(横圧)が発生する。
これに対し、新幹線車両の2台の台車に、上記の渦電流式レールブレーキ14を取付けた場合、図6に示す曲線路の走行時に、制御装置により内軌側の渦電流式レールブレーキ14aを動作させると、先頭台車12には時計回り方向のモーメントが発生する。なお、図5は上記の渦電流式レールブレーキ14を取付けた新幹線車両の直線路走行中を示した図である。
空気ばねの前後剛性が173N/mmであれば、半径2500mの曲線路を通過する時に台車12をアタック角θ2分だけ旋回させるために必要な制動力Fbは1.68kN(=173×4.0)である。これは渦電流式レールブレーキにより十分発生させることが出来る制動力である。
ちなみに、幅が118mm、高さが60mmの永久磁石を、全長が1152mm、幅が118mm、高さが20mmのヨークに14個、磁極が交互となるように配置した渦電流式レールブレーキでは、図7に示すように、3.6〜6kNの制動力を発生できる。なお、図7に示す結果は、永久磁石とレールとのギャップを10mmとした場合の値である。
従って、内軌側に位置する渦電流式レールブレーキのみを作動することにより、図6に示すように、先頭輪軸13fのアタック角θ2を0mradにすることが可能になり、先頭輪軸13fの外軌側車輪13f1に作用する横圧が大幅に低減される。
このように、本発明の鉄道車両用操舵台車では、渦電流式レールブレーキを操舵装置として使用することで、曲線路の通過中に台車および輪軸の姿勢を改善することが可能になる。また、仮に故障した場合にも、機械的な操舵装置のような輪軸姿勢の悪化を招くことを最小限に抑えることができる。さらに、必要な操舵荷重は前記のように渦電流式レールブレーキとして確保可能な荷重以下であるため、特に特殊な渦電流式レールブレーキを装着する必要も無い。
本発明の鉄道車両用操舵台車においては、レールと台車枠の間に制動力を発生させる渦電流式レールブレーキとして、制動時、非制動時とも、輪軸、車体との間が非接触のものを使用することが望ましい。かかる渦電流式レールブレーキを採用すれば、仮に渦電流式レールブレーキが故障しても、輪軸の姿勢を悪化(アタック角を増大)させる等の悪影響を及ぼすことがない。
また、図1及び図2に示した磁石ユニット1の回転により、制動と非制動を切り換える方式の渦電流式レールブレーキを採用した場合、永久磁石1aの磁極面1aaとレール2の頭頂面2aとの磁路を最短で構成でき、磁気効率を高くすることができる。加えて、制動状態から非制動状態への切り換えに要する力が小さくてすむので、小型、軽量化が可能となる。また、回転角度により制動力の調整が可能であるため、制動力を容易に調整することができるという効果も有する。
本発明は上記した例に限らないことは勿論であり、請求項に記載の技術的思想の範疇であれば、適宜実施の形態を変更しても良いことは言うまでもない。
例えば渦電流式レールブレーキとして永久磁石を例示して説明を行ったが、本発明はこれに限らず、電磁石を用いたものでも良い。また、非接触の渦電流式レールブレーキに限らず、電磁石式とブレーキシューを併用した形式のレールブレーキを用いることもできる。
また、本発明の鉄道車両は、2台の台車とも本発明の操舵台車としたものに限らない。少なくとも進行方向の前側の台車を本発明の操舵台車とすればよい。
本発明の鉄道車両用操舵台車に取付ける永久磁石を用いた渦電流式レールブレーキの一例であり、構成要素である磁石ユニットを示した図で、(a)は全体斜視図、(b)はカバーを外し、一方のブラケットを省略した図、(c)はカバーを外した正面図である。 (a)〜(d)は、本発明の鉄道車両用操舵台車に取付ける永久磁石を用いた渦電流式レールブレーキの一例において、2極の永久磁石を使用して制動時から非制動時に切り換える場合を、順を追って示した図である。 渦電流式レールブレーキを取付けていない新幹線車両が直線路を走行中の車体の上方側から見た図である。 半径2500mの曲線路を通過中の図3と同様の図である。 渦電流式レールブレーキを取付けた新幹線車両が直線路を走行中の図で、(a)は車体の上方側から見た図、(b)は車体の側面側から見た図である。 半径2500mの曲線路を通過中の図5と同様の図である。 永久磁石を用いた渦電流式レールブレーキについて、電磁場解析にて制動力を推定した結果を示した図である。
符号の説明
1 磁石ユニット
1a 永久磁石
2 レール
2a 頭頂面
11 車体
12 台車
13f 先頭輪軸
14 渦電流式レールブレーキ
14a 内軌側の渦電流式レールブレーキ

Claims (6)

  1. 鉄道車両用操舵台車であって、
    台車枠の、対をなすレールと対向するそれぞれの位置に、渦電流式レールブレーキを設け、
    これら渦電流式レールブレーキを個別に作動が可能なように構成したことを特徴とする鉄道車両用操舵台車。
  2. 曲線路の走行時には、曲線の内側に位置する前記渦電流式レールブレーキのみを作動させて台車を操舵するように制御する制御装置を備えたことを特徴とする請求項1に記載の鉄道車両用操舵台車。
  3. 前記渦電流式レールブレーキは、永久磁石を用いたものであり、制動時、非制動時ともにレールと非接触であることを特徴とする請求項1又は2に記載の鉄道車両用操舵台車。
  4. 前記渦電流式レールブレーキは、複数の永久磁石を、少なくとも隣接する磁極が異なるように、強磁性の支持板に固定した磁石ユニットを用いたものであり、この磁石ユニットを、台車側から見た場合にレールの長手方向と一致する軸を中心に回転させることにより制動、非制動を切り換えるものであることを特徴とする請求項3に記載の鉄道車両用操舵台車。
  5. 前記磁石ユニットの制動力を調整するための回転角度調整機構を備えたことを特徴とする請求項4に記載の鉄道車両用操舵台車。
  6. 少なくとも進行方向の前側の台車に請求項1〜5の何れかに記載の操舵台車を備えたことを特徴とする鉄道車両。
JP2008257624A 2008-10-02 2008-10-02 鉄道車両用操舵台車及び鉄道車両 Active JP5267859B2 (ja)

Priority Applications (1)

Application Number Priority Date Filing Date Title
JP2008257624A JP5267859B2 (ja) 2008-10-02 2008-10-02 鉄道車両用操舵台車及び鉄道車両

Applications Claiming Priority (1)

Application Number Priority Date Filing Date Title
JP2008257624A JP5267859B2 (ja) 2008-10-02 2008-10-02 鉄道車両用操舵台車及び鉄道車両

Publications (2)

Publication Number Publication Date
JP2010083445A true JP2010083445A (ja) 2010-04-15
JP5267859B2 JP5267859B2 (ja) 2013-08-21

Family

ID=42247811

Family Applications (1)

Application Number Title Priority Date Filing Date
JP2008257624A Active JP5267859B2 (ja) 2008-10-02 2008-10-02 鉄道車両用操舵台車及び鉄道車両

Country Status (1)

Country Link
JP (1) JP5267859B2 (ja)

Cited By (3)

* Cited by examiner, † Cited by third party
Publication number Priority date Publication date Assignee Title
JP2012201179A (ja) * 2011-03-24 2012-10-22 Railway Technical Research Institute 鉄道車両の転覆防止装置
WO2020122718A1 (en) * 2018-12-11 2020-06-18 Hardt Ip B.V. Brake module for a magnetically suspendable vehicle
JP2022082512A (ja) * 2020-11-23 2022-06-02 セメス株式会社 移送装置

Citations (8)

* Cited by examiner, † Cited by third party
Publication number Priority date Publication date Assignee Title
JPS482187Y1 (ja) * 1968-07-12 1973-01-20
JPH10167068A (ja) * 1996-12-05 1998-06-23 Toshiba Corp レールブレーキ装置
JPH10508177A (ja) * 1994-10-28 1998-08-04 クノル−ブレムゼ ジステーメ フューア シーネンファールツォイゲ ゲゼルシャフト ミット ベシュレンクテル ハフツング 電磁石的又は永久磁石的なレールブレーキ
JP2002234439A (ja) * 2001-02-09 2002-08-20 Kawasaki Heavy Ind Ltd 鉄道車両用独立車輪台車とその制御方法
JP2003025992A (ja) * 2001-07-12 2003-01-29 Railway Technical Res Inst 鉄道車両用輪重制御装置及び方法
JP2003226234A (ja) * 2002-02-05 2003-08-12 Mitsubishi Heavy Ind Ltd 独立回転車輪を有する台車及びその操舵方法
JP2005271704A (ja) * 2004-03-24 2005-10-06 Railway Technical Res Inst 渦電流ブレーキ装置
JP2010083446A (ja) * 2008-10-02 2010-04-15 Sumitomo Metal Ind Ltd 渦電流式レールブレーキ

Patent Citations (8)

* Cited by examiner, † Cited by third party
Publication number Priority date Publication date Assignee Title
JPS482187Y1 (ja) * 1968-07-12 1973-01-20
JPH10508177A (ja) * 1994-10-28 1998-08-04 クノル−ブレムゼ ジステーメ フューア シーネンファールツォイゲ ゲゼルシャフト ミット ベシュレンクテル ハフツング 電磁石的又は永久磁石的なレールブレーキ
JPH10167068A (ja) * 1996-12-05 1998-06-23 Toshiba Corp レールブレーキ装置
JP2002234439A (ja) * 2001-02-09 2002-08-20 Kawasaki Heavy Ind Ltd 鉄道車両用独立車輪台車とその制御方法
JP2003025992A (ja) * 2001-07-12 2003-01-29 Railway Technical Res Inst 鉄道車両用輪重制御装置及び方法
JP2003226234A (ja) * 2002-02-05 2003-08-12 Mitsubishi Heavy Ind Ltd 独立回転車輪を有する台車及びその操舵方法
JP2005271704A (ja) * 2004-03-24 2005-10-06 Railway Technical Res Inst 渦電流ブレーキ装置
JP2010083446A (ja) * 2008-10-02 2010-04-15 Sumitomo Metal Ind Ltd 渦電流式レールブレーキ

Cited By (5)

* Cited by examiner, † Cited by third party
Publication number Priority date Publication date Assignee Title
JP2012201179A (ja) * 2011-03-24 2012-10-22 Railway Technical Research Institute 鉄道車両の転覆防止装置
WO2020122718A1 (en) * 2018-12-11 2020-06-18 Hardt Ip B.V. Brake module for a magnetically suspendable vehicle
NL2022175B1 (en) * 2018-12-11 2020-07-02 Hardt Ip B V Brake module for a magnetically suspendable vehicle
JP2022082512A (ja) * 2020-11-23 2022-06-02 セメス株式会社 移送装置
JP7322120B2 (ja) 2020-11-23 2023-08-07 セメス株式会社 移送装置

Also Published As

Publication number Publication date
JP5267859B2 (ja) 2013-08-21

Similar Documents

Publication Publication Date Title
KR101297938B1 (ko) 궤도계 차량용 대차
CN102149588B (zh) 涡流轨道制动器
JP4486696B1 (ja) ガイドレール式車両用台車
KR101325392B1 (ko) 궤도계 차량용 대차
KR101559690B1 (ko) 철도 차량용 조타 대차
JP5828235B2 (ja) 鉄道車両用操舵台車
JP5724711B2 (ja) 鉄道車両用操舵台車
JP2010188971A (ja) ガイドレール式車両用台車
CN106985869B (zh) 用于轨道列车的转向机构、轨道列车及轨道交通系统
CA2668966A1 (en) Railway truck
JP5267859B2 (ja) 鉄道車両用操舵台車及び鉄道車両
JP4370237B2 (ja) 軌道系交通システムのフェイルセイフ機構
KR101654896B1 (ko) 철도차량용 공간절약형 대차
EP2054285A1 (en) Gearless power bogie with independent wheels for a low floor tramway vehicle
JP4562655B2 (ja) 自己操舵台車及びこの自己操舵台車を適用した鉄道車両
WO2006075756A1 (ja) 自己操舵台車
JP6186089B2 (ja) 鉄道車両用の操舵台車
JP4370266B2 (ja) 軌道系交通システムの操舵機構
JP2005262957A (ja) 鉄道車両用アシスト操舵台車
JP5267857B2 (ja) 鉄道車両用3軸操舵台車及び鉄道車両
EP2648957A1 (en) Improvements relating to trams
JP6426998B2 (ja) 鉄道車両用操舵台車
JP2006254661A (ja) 鉄道車両システム
JPH11278264A (ja) 軸箱支持装置
JP2012056561A (ja) 鉄道車両用輪軸中央操舵装置

Legal Events

Date Code Title Description
A621 Written request for application examination

Free format text: JAPANESE INTERMEDIATE CODE: A621

Effective date: 20101129

A977 Report on retrieval

Free format text: JAPANESE INTERMEDIATE CODE: A971007

Effective date: 20120517

A131 Notification of reasons for refusal

Free format text: JAPANESE INTERMEDIATE CODE: A131

Effective date: 20120612

A521 Written amendment

Free format text: JAPANESE INTERMEDIATE CODE: A523

Effective date: 20120809

A521 Written amendment

Free format text: JAPANESE INTERMEDIATE CODE: A523

Effective date: 20121011

A711 Notification of change in applicant

Free format text: JAPANESE INTERMEDIATE CODE: A712

Effective date: 20121011

TRDD Decision of grant or rejection written
A01 Written decision to grant a patent or to grant a registration (utility model)

Free format text: JAPANESE INTERMEDIATE CODE: A01

Effective date: 20130411

A61 First payment of annual fees (during grant procedure)

Free format text: JAPANESE INTERMEDIATE CODE: A61

Effective date: 20130424

R151 Written notification of patent or utility model registration

Ref document number: 5267859

Country of ref document: JP

Free format text: JAPANESE INTERMEDIATE CODE: R151

S533 Written request for registration of change of name

Free format text: JAPANESE INTERMEDIATE CODE: R313533

R350 Written notification of registration of transfer

Free format text: JAPANESE INTERMEDIATE CODE: R350