JP2010082768A - 研磨パッドのコンディショナー - Google Patents

研磨パッドのコンディショナー Download PDF

Info

Publication number
JP2010082768A
JP2010082768A JP2008255748A JP2008255748A JP2010082768A JP 2010082768 A JP2010082768 A JP 2010082768A JP 2008255748 A JP2008255748 A JP 2008255748A JP 2008255748 A JP2008255748 A JP 2008255748A JP 2010082768 A JP2010082768 A JP 2010082768A
Authority
JP
Japan
Prior art keywords
conditioner
polishing pad
pressure
cylinder
sensor
Prior art date
Legal status (The legal status is an assumption and is not a legal conclusion. Google has not performed a legal analysis and makes no representation as to the accuracy of the status listed.)
Granted
Application number
JP2008255748A
Other languages
English (en)
Other versions
JP5335350B2 (ja
Inventor
Yoshiyuki Matsumura
義之 松村
Hiroyuki Senoo
浩行 妹尾
Iwai Shimamoto
祝 島本
Current Assignee (The listed assignees may be inaccurate. Google has not performed a legal analysis and makes no representation or warranty as to the accuracy of the list.)
Nitta DuPont Inc
Original Assignee
Nitta Haas Inc
Priority date (The priority date is an assumption and is not a legal conclusion. Google has not performed a legal analysis and makes no representation as to the accuracy of the date listed.)
Filing date
Publication date
Application filed by Nitta Haas Inc filed Critical Nitta Haas Inc
Priority to JP2008255748A priority Critical patent/JP5335350B2/ja
Publication of JP2010082768A publication Critical patent/JP2010082768A/ja
Application granted granted Critical
Publication of JP5335350B2 publication Critical patent/JP5335350B2/ja
Active legal-status Critical Current
Anticipated expiration legal-status Critical

Links

Images

Landscapes

  • Mechanical Treatment Of Semiconductor (AREA)
  • Grinding-Machine Dressing And Accessory Apparatuses (AREA)

Abstract

【課題】 研磨パッドを汚染することなく、溝部やパッドのうねり、研磨パッド全体の回転、コンディショナーの回転などのあらゆる運動と加圧が行われている環境下で、コンディショナーに多数配置する各コンディショニング部に対して、任意の圧力で加圧し、希望する研磨パッドの表面形状を得ることができる研磨パッドのコンディショナーを提供する。
【解決手段】 一方に研磨パッドの表面粗さの維持及び目詰まりを除去するためのコンディショナー部11が設けられ、他方にシリンダー14が設けられ、内部に加圧センサー3が設けられた複数のコンディショナー本体部12と、前記コンディショナー本体部12およびコンディショナー部11の一部又は全部に対し圧力を加えるシリンダー加圧装置と、前記加圧センサー3からのセンサー信号に基づいて前記加圧手段を制御する制御部と、を有する。
【選択図】 図1

Description

本発明は、半導体装置の製造プロセスにおいて半導体基板の平坦化研磨に使用される研磨パッドのコンディショナーに関する。
研磨パッドのコンディショナーは、高精密研磨を行うために、また研磨パッドの性能を維持・向上するために、研磨パッド表面処理(加工)することを目的としている。従来のコンディショナーは、コンディショニングを行う部分の砥粒などについて、各種発明が実施されている。これに対して、コンディショナーの構造については十分な検討がされていない。そこで、従来のコンディショナーの構造に関する例を以下に示す。
コンディショナーが研磨機に対して、フリージョイントやボールジョイントなどで取り付けられ、強制駆動などにて回転運動が加えられるものが一般的であった。更に、この機構を改善したものとして、多数の(ダイヤ)コンディショニング部に対して、加圧流体を用いて、均一な圧力が加えられ、研磨パッドと接することによって、研磨パッド表面をコンディショニングしているものがある(たとえば、特許文献1参照。)。
特開2000−753号公報(第5項、図1、図2)
特許文献1に記載されるコンディショナーは、稼働式のコンディショニング部を加圧流体で摺動させているために、加圧流体の完全なシールが困難であり、加圧流体がコンディショニング部部品を通じて、研磨パッド側に漏れ出すことが避けられない問題がある。特に、近年では研磨パッドに溝などの表面加工を施した研磨パッドが用いられているのが一般的であり、溝加工がコンディショニング部を通過する際にはコンディショニング部および、コンディショナーに衝撃が加えられるため、加圧流体の漏れの危険性が更に高まる虞がある。
また、一定圧力で均一に多数のコンディショニング部を加圧しているため、研磨パッドの表面基準のコンディショニングとなり、希望する研磨パッドの表面形状を改善するコンディショニングができないといった問題点がある。
また、溝部やパッドのうねり、研磨パッド全体の回転、コンディショナーの回転などのあらゆる運動と加圧が行われている環境下で、コンディショナーに多数配置する各コンディショニング部に対して、任意の圧力で加圧することができないため、希望する研磨パッドの表面形状が得られないといった問題点がある。
本発明は、上記問題点を解決するためになされたもので、複数のコンディショナー部の一部又は全部に対し加圧制御が行える研磨パッドのコンディショナーを提供することを目的とする。
上記目的を達成するために、本発明の研磨パッドのコンディショナーは、一方に研磨パッドの表面粗さの維持および目詰まりを除去するためのコンディショナー部が設けられ、他方にシリンダーが設けられ、その間に加圧センサーが設けられた複数のコンディショナー本体部と、前記シリンダーを稼動して、前記複数のコンディショナー本体部の複数のコンディショナー部の一部又は全部に対し圧力を加える加圧手段と、前記加圧センサーからのセンサー信号に基づいて前記加圧手段を制御する制御手段と、を有することを特徴とする。
本発明によれば、コンディショナー部の稼働には直接、加圧流体を用いないので、研磨パッドの汚染を防止することができる。
また、研磨パッドの表面粗さの維持および目詰まりを除去するための複数のコンディショナー部が、全体で又はそれぞれ単独で上下に稼働することができ、個々のコンディショナーに所定の圧力を加えることができるので、希望する研磨パッドの表面形状を得ることができる。
以下、本発明の実施形態を説明する。
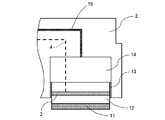
図1は、本発明の実施形態に係る液圧・空圧シリンダー式コンディショナー1の概観図である。図2は、液圧・空圧シリンダー式コンディショナー1の制御図である。図3は、液圧・空圧シリンダー式コンディショナー1の一部の拡大図である。
図1および図2に示すように、液圧・空圧シリンダー式コンディショナー1は、コンディショナー冶具2、センサー信号線4、制御部5、複数のコンディショナー6(図1では4つの部材)等を備えて構成される。そして、各コンディショナー6は、コンディショナー部11、コンディショナー本体部12、圧力センサー3、コンディショナーシール部13、シリンダー14等を備えて構成される。
各コンディショナー本体部12の研磨パッド側の先端には、各コンディショナー部11が接着や電着などの固定方法によって固定されている。コンディショナー部11は、研磨パッドの表面粗さの維持および目詰まりを除去する。各コンディショナー本体部12内には、各圧力センサー3が取り付けられていて、コンディショナー部11とコンディショナー本体部12と圧力センサー3とが一体となっている。また、各コンディショナー本体部12のコンディショナー部11の反対側端部には、各シリンダー14が取り付けられていて、コンディショナー本体部12を一方向に稼働(図では、上下方向に稼働する)させている。各シリンダー14は、シリンダー加圧媒体15に接続されている。
また、図2に示すように、各圧力センサー3は、センサー信号線4によって制御部5に接続されている。制御部5は、加圧信号線17によりシリンダー加圧装置16に接続され、シリンダー加圧装置16を制御している。
すなわち、制御部5は、各加圧センサー3からの信号を解析し、その解析結果に応じて加圧信号線17を介してシリンダー加圧装置16を制御する。更に、シリンダー加圧装置16から、シリンダー加圧媒体15を通じて各コンディショナー6の各シリンダー14に圧力を加えることにより、各コンディショナー本体部12および、各コンディショナー部11を制御部5からの指令に応じた所定の圧力で押し出すことができる。シリンダー加圧媒体15としては、たとえば空気、水や油など一般的な加圧媒体を用いることができる。
各コンディショナー部11は、各圧力センサー3からの信号によって独立して加圧制御され、制御部5からの指令に応じた所定の圧力で研磨パッドを加圧することができる。
次に、本実施形態の動作を説明する。まず、液圧・空圧シリンダー式コンディショナー1の制御部5には、研磨する研磨パッドと各種研磨液に応じたプログラム(研磨レシピ)が設定されている。操作者は、予め、制御部5に設定されたコンディショナーの研磨レシピの一つを選択することによって、目的に応じたコンディショニングを実施することができる。
実際のコンディショニング時には、液圧・空圧シリンダー式コンディショナー1は、研磨機の研磨定盤44に貼付された研磨パッド43の表面に対してコンディショナー部6を向けて研磨機に取り付け、研磨パッド43に対して加圧され、研磨液チューブ41を通じてスラリーまたは純水42が研磨パッド43上に供給される。各コンディショナー6の圧力センサー3で検出した荷重がセンサー信号線4を通じて制御部5に送られる。制御部5は、圧力センサー3からの信号を受けて設定された研磨レシピに応じた演算処理を行い、各コンディショナー6に対し必要な加圧信号を出力するために、加圧装置信号線17を通じてシリンダー加圧装置16を制御する。その結果、シリンダー加圧装置16から所定の加圧信号がシリンダー加圧媒体15を通じてシリンダー14に出力され、それによりシリンダー14が稼動して、コンディショナー部11を研磨パッドに押し付けることによって、研磨パッド表面をプログラムに応じた状態にコンディショニングする。
各コンディショナー本体部12および、各コンディショナー部11は単独で研磨パッドを加圧することも可能であり、かつ、全てのコンディショナー本体部12および、全てのコンディショナー部11を総合的に制御することも可能である。これにより、予め制御部5に設定された所定のプログラム(研磨レシピ)によって目的のコンディショニングを実行させて、研磨パッド表面の形状を希望する形状に作り込む事ができる。
なお、コンディショナー部11を単独で研磨パッドに加圧する場合、シリンダー加圧装置16から当該コンディショナー部11に対してのみ所定の加圧信号がシリンダー加圧媒体15を通じて出力されることになる。
本発明の実施形態によれば、複数のコンディショナー本体部内に圧力センサーを取り付けた構造としており、その圧力センサーからの信号に応じた圧力によってコンディショナー部を稼働しているので、研磨パッドの汚染を防止することができる。
また、複数のコンディショナー部が、全体で又はそれぞれ単独で、上下に稼働することができるため、個々のコンディショナー部に任意の圧力を加えることができるので、希望する研磨パッドの表面形状を得ることができる。
上記した実施形態では液圧・空圧シリンダー式コンディショナーとしたが、このシリンダー14の代わりに機械ネジ式アクチュエーター、電磁誘電コイル式アクチュエーターなどを用いても実現可能である。
図4は、機械ネジ式コンディショナーの一部の拡大図を示す図である。機械ネジ式コンディショナーは、コンディショナー本体部12のコンディショナー部11とは反対側の端部にネジシャフト21が取り付けられる。このネジシャフト21は雄ねじとなっており、ネジシャフト支持部22の雌ねじ部との螺合構造によってコンディショナー冶具2内で上下に稼働することが可能となっている。
また、ネジシャフト21の中央側面にはシャフト駆動ネジ23が接していて、この駆動ネジ23にはモータ24が直結されている。これにより、駆動ネジ23はモータ24を介してコンディショナー冶具2に取り付けられる構造となる。
上述した実施形態と同様にして、各圧力センサー3からの信号に応じて制御部5から制御信号が制御信号用配線18を介してモータ24に送られる。そして、モータ24の回転がシャフト駆動ネジ23を通じてネジシャフト21を回転させる。その結果、ネジシャフト21の回転によりコンディショナー本体部12および、コンディショナー部11に圧力が加えられ、研磨パッドを加圧することができる。この実施形態の動作は、機械ネジ式コンディショナーが異なる以外は上述した実施形態作と同じであるので、他の説明は省略する。
この機械ネジ式コンディショナーでは上下動の微小な制御が可能であり、コンディショナー部11を精密に制御する必要がある場合に更に有効である。
図5は、電磁誘電コイル式コンディショナーの一部の拡大図を示す図である。電磁誘電コイル式コンディショナーは、コンディショナー本体部12のコンディショナー部11とは反対側の端部にコイルシャフト31が取り付けられている。コイルシャフト31は、電磁誘電コイル本体32を介してコンディショナー冶具2に取り付けられている。
上述した実施形態と同様にして、各圧力センサー3からの信号に応じて制御部5から制御信号が制御信号用配線18を介して電磁誘電コイル本体32に送られる。そして、コイル33に電流を流すことによりコイルシャフト31を可動鉄心として上下に動作させる。その結果、コイルシャフト31の上下の稼働によりコンディショナー本体部12および、コンディショナー部11に圧力が加えられ、研磨パッドを加圧することができる。この実施形態の動作は、電磁誘電コイル式コンディショナーが異なる以外は上述した実施形態作と同じであるので、他の説明は省略する。
この電磁誘電コイル式コンディショナーでは応答性が高く俊敏な上下動が可能であり、コンディショナー部11の応答速度が要求されるに制御に更に有効である。
本発明のコンディショナー部11には、研磨パッドのコンディショニングに常用される各種のコンディショナー用の砥粒を用いることができる。
なお、本発明は上記して実施形態に限定される、本発明の要旨に逸脱しない範囲において設計変更可能なことは言うまでもない。
本発明の実施形態に係る液圧・空圧シリンダー式コンディショナー1の概観図である。 本発明の実施形態に係る液圧・空圧シリンダー式コンディショナーの制御図である。 本発明の実施形態に係る液圧・空圧シリンダー式コンディショナーの一部拡大図である。 本発明の他の実施形態に係る機械ネジ式コンディショナーの一部拡大図である。 本発明の他の実施形態に係る電磁誘電コイル式コンディショナーの一部拡大図である。
符号の説明
1 液圧・空圧シリンダー式コンディショナー1
2 コンディショナー冶具
3 圧力センサー
4 センサー信号線
5 制御部
6 コンディショナー
11 コンディショナー部
12 コンディショナー本体部
13 コンディショナーシール部
14 シリンダー
15 シリンダー加圧媒体
16 シリンダー加圧装置
17 加圧装置信号線
18 制御信号用配線
21 ネジシャフト
22 ネジシャフト支持部
23 シャフト駆動ネジ
24 モータ
31 コイルシャフト
32 電磁誘電コイル本体
33 コイル
41 研磨液チューブ
42 スラリーまたは純水
43 研磨パッド
44 研磨定盤

Claims (3)

  1. 一方に研磨パッドの表面粗さの維持及び目詰まりを除去するためのコンディショナー部が設けられ、他方にシリンダーが設けられ、その間に加圧センサーが設けられた複数のコンディショナー本体部と、
    前記シリンダーを稼動して、前記複数のコンディショナー本体部の複数のコンディショナー部の一部又は全部に対し圧力を加える加圧手段と、
    前記加圧センサーからのセンサー信号に基づいて前記加圧手段を制御する制御手段と、
    を有することを特徴とする研磨パッドのコンディショナー。
  2. 一方に研磨パッドの表面粗さの維持及び目詰まりを除去するためのコンディショナー部が設けられ、他方に機械ネジ手段が設けられ、その間に加圧センサーが設けられた複数のコンディショナー本体部と、
    モータによって前記機械ネジ手段を回転させ、前記複数のコンディショナー本体部の複数のコンディショナー部の一部又は全部に対し圧力を加える加圧手段と、
    前記加圧センサーからのセンサー信号に基づいて前記加圧手段の前記モータを制御する制御手段と、
    を有することを特徴とする研磨パッドのコンディショナー。
  3. 一方に研磨パッドの表面粗さの維持及び目詰まりを除去するためのコンディショナー部が設けられ、他方に電磁コイル手段が設けられ、その間に加圧センサーが設けられた複数のコンディショナー本体部と、
    前記電磁コイル手段を励磁して、前記複数のコンディショナー本体部の複数のコンディショナー部の一部又は全部に対し圧力を加える加圧手段と、
    前記加圧センサーからのセンサー信号に基づいて前記加圧手段を制御する制御手段と、
    を有することを特徴とする研磨パッドのコンディショナー。
JP2008255748A 2008-09-30 2008-09-30 研磨パッドのコンディショナー Active JP5335350B2 (ja)

Priority Applications (1)

Application Number Priority Date Filing Date Title
JP2008255748A JP5335350B2 (ja) 2008-09-30 2008-09-30 研磨パッドのコンディショナー

Applications Claiming Priority (1)

Application Number Priority Date Filing Date Title
JP2008255748A JP5335350B2 (ja) 2008-09-30 2008-09-30 研磨パッドのコンディショナー

Related Child Applications (1)

Application Number Title Priority Date Filing Date
JP2013158223A Division JP5554440B2 (ja) 2013-07-30 2013-07-30 研磨パッドのコンディショナー

Publications (2)

Publication Number Publication Date
JP2010082768A true JP2010082768A (ja) 2010-04-15
JP5335350B2 JP5335350B2 (ja) 2013-11-06

Family

ID=42247231

Family Applications (1)

Application Number Title Priority Date Filing Date
JP2008255748A Active JP5335350B2 (ja) 2008-09-30 2008-09-30 研磨パッドのコンディショナー

Country Status (1)

Country Link
JP (1) JP5335350B2 (ja)

Cited By (1)

* Cited by examiner, † Cited by third party
Publication number Priority date Publication date Assignee Title
CN115194652A (zh) * 2022-08-30 2022-10-18 常州皓研智能科技有限公司 双面抛光设备上抛光盘修整装置及其修整方法

Citations (9)

* Cited by examiner, † Cited by third party
Publication number Priority date Publication date Assignee Title
JPH11333697A (ja) * 1998-05-28 1999-12-07 Nkk Corp Cmp装置のドレッサーシステム
JP2000000753A (ja) * 1998-06-12 2000-01-07 Matsushita Electric Ind Co Ltd 研磨パッドのドレッサー及び研磨パッドのドレッシング方法
JP2000024909A (ja) * 1998-05-07 2000-01-25 Ebara Corp ポリッシング装置
JP2001079752A (ja) * 1999-09-08 2001-03-27 Hitachi Ltd 化学的機械研磨装置およびこれを用いた半導体集積回路装置の製造方法
JP2003282506A (ja) * 2002-03-27 2003-10-03 Ebara Corp 基板の研磨装置及びコンディショニング方法
JP2004202630A (ja) * 2002-12-25 2004-07-22 Shin Etsu Handotai Co Ltd 研磨布の形状測定方法及び被加工物の研磨方法、並びに研磨布の形状測定装置
US20040147205A1 (en) * 2003-01-10 2004-07-29 Golzarian Reza M. Surface planarization
JP2007290111A (ja) * 2006-03-29 2007-11-08 Ebara Corp 研磨方法および研磨装置
JP2008023674A (ja) * 2006-07-24 2008-02-07 Nikon Corp ドレッシング装置の調整方法およびドレッシング装置、並びに研磨装置

Patent Citations (9)

* Cited by examiner, † Cited by third party
Publication number Priority date Publication date Assignee Title
JP2000024909A (ja) * 1998-05-07 2000-01-25 Ebara Corp ポリッシング装置
JPH11333697A (ja) * 1998-05-28 1999-12-07 Nkk Corp Cmp装置のドレッサーシステム
JP2000000753A (ja) * 1998-06-12 2000-01-07 Matsushita Electric Ind Co Ltd 研磨パッドのドレッサー及び研磨パッドのドレッシング方法
JP2001079752A (ja) * 1999-09-08 2001-03-27 Hitachi Ltd 化学的機械研磨装置およびこれを用いた半導体集積回路装置の製造方法
JP2003282506A (ja) * 2002-03-27 2003-10-03 Ebara Corp 基板の研磨装置及びコンディショニング方法
JP2004202630A (ja) * 2002-12-25 2004-07-22 Shin Etsu Handotai Co Ltd 研磨布の形状測定方法及び被加工物の研磨方法、並びに研磨布の形状測定装置
US20040147205A1 (en) * 2003-01-10 2004-07-29 Golzarian Reza M. Surface planarization
JP2007290111A (ja) * 2006-03-29 2007-11-08 Ebara Corp 研磨方法および研磨装置
JP2008023674A (ja) * 2006-07-24 2008-02-07 Nikon Corp ドレッシング装置の調整方法およびドレッシング装置、並びに研磨装置

Cited By (1)

* Cited by examiner, † Cited by third party
Publication number Priority date Publication date Assignee Title
CN115194652A (zh) * 2022-08-30 2022-10-18 常州皓研智能科技有限公司 双面抛光设备上抛光盘修整装置及其修整方法

Also Published As

Publication number Publication date
JP5335350B2 (ja) 2013-11-06

Similar Documents

Publication Publication Date Title
US6280292B1 (en) Polishing apparatus
US20180236630A1 (en) Substrate polisher and polishing method
TWI607499B (zh) Polishing device, polishing pad attachment method, and polishing pad replacement method
CN113442054A (zh) 研磨头系统、研磨装置及处理系统
US6234868B1 (en) Apparatus and method for conditioning a polishing pad
JP2017140695A (ja) 両面または片面加工機、および両面または片面加工機を動作させる方法
KR100870630B1 (ko) 마이크로피처 공작물의 기계적 및/또는 화학-기계적 연마를위한 시스템 및 방법
KR102916189B1 (ko) 연마 헤드 및 연마 장치
US10556314B2 (en) Head height adjustment device and substrate processing apparatus provided with head height adjustment device
US9855638B2 (en) Dressing apparatus, polishing apparatus having the dressing apparatus, and polishing method
JP5335350B2 (ja) 研磨パッドのコンディショナー
JP5554440B2 (ja) 研磨パッドのコンディショナー
WO2018173421A1 (ja) 基板の研磨装置および研磨方法
US7077722B2 (en) Systems and methods for actuating end effectors to condition polishing pads used for polishing microfeature workpieces
KR101868575B1 (ko) 연마 휠 드레싱 장치 및 방법
JP7109769B2 (ja) 機械加工装置
TWI898193B (zh) 用於組態雙面或單面加工機的方法以及雙面或單面加工機
JP5369478B2 (ja) 研磨装置
JPWO2004012249A1 (ja) 研磨装置
JP2025528383A (ja) 研磨とパッド処理を同時に行うモジュール式化学機械研磨機
WO2024116731A1 (ja) 基板処理方法、処理ヘッド、および基板処理装置
KR20100079475A (ko) 화학적 기계적 연마장치
JP4956041B2 (ja) 芯無し研削盤
KR100521350B1 (ko) 반도체 웨이퍼의 평탄화 설비
JP2005038982A (ja) 半導体ウェハの平坦面外周部研磨装置

Legal Events

Date Code Title Description
A621 Written request for application examination

Free format text: JAPANESE INTERMEDIATE CODE: A621

Effective date: 20110922

A131 Notification of reasons for refusal

Free format text: JAPANESE INTERMEDIATE CODE: A131

Effective date: 20130409

A521 Written amendment

Free format text: JAPANESE INTERMEDIATE CODE: A523

Effective date: 20130610

TRDD Decision of grant or rejection written
A01 Written decision to grant a patent or to grant a registration (utility model)

Free format text: JAPANESE INTERMEDIATE CODE: A01

Effective date: 20130702

A61 First payment of annual fees (during grant procedure)

Free format text: JAPANESE INTERMEDIATE CODE: A61

Effective date: 20130731

R150 Certificate of patent or registration of utility model

Ref document number: 5335350

Country of ref document: JP

Free format text: JAPANESE INTERMEDIATE CODE: R150

Free format text: JAPANESE INTERMEDIATE CODE: R150

S533 Written request for registration of change of name

Free format text: JAPANESE INTERMEDIATE CODE: R313533

R350 Written notification of registration of transfer

Free format text: JAPANESE INTERMEDIATE CODE: R350