JP2010082656A - 溶接構造体及び溶接方法 - Google Patents

溶接構造体及び溶接方法 Download PDF

Info

Publication number
JP2010082656A
JP2010082656A JP2008254443A JP2008254443A JP2010082656A JP 2010082656 A JP2010082656 A JP 2010082656A JP 2008254443 A JP2008254443 A JP 2008254443A JP 2008254443 A JP2008254443 A JP 2008254443A JP 2010082656 A JP2010082656 A JP 2010082656A
Authority
JP
Japan
Prior art keywords
weld line
weld
welding
line
bent
Prior art date
Legal status (The legal status is an assumption and is not a legal conclusion. Google has not performed a legal analysis and makes no representation as to the accuracy of the status listed.)
Granted
Application number
JP2008254443A
Other languages
English (en)
Other versions
JP5206284B2 (ja
Inventor
Hiromasa Honchi
宏昌 本地
Hiroto Kido
啓人 木戸
Current Assignee (The listed assignees may be inaccurate. Google has not performed a legal analysis and makes no representation or warranty as to the accuracy of the list.)
Mazda Motor Corp
Original Assignee
Mazda Motor Corp
Priority date (The priority date is an assumption and is not a legal conclusion. Google has not performed a legal analysis and makes no representation as to the accuracy of the date listed.)
Filing date
Publication date
Application filed by Mazda Motor Corp filed Critical Mazda Motor Corp
Priority to JP2008254443A priority Critical patent/JP5206284B2/ja
Publication of JP2010082656A publication Critical patent/JP2010082656A/ja
Application granted granted Critical
Publication of JP5206284B2 publication Critical patent/JP5206284B2/ja
Expired - Fee Related legal-status Critical Current
Anticipated expiration legal-status Critical

Links

Images

Landscapes

  • Body Structure For Vehicles (AREA)
  • Laser Beam Processing (AREA)

Abstract

【課題】連続的に形成された溶接線の端部への応力集中を抑制すること。
【解決手段】重ね合わされた複数の金属部材に高エネルギービームを連続的に照射して互いに重ならない複数の溶接線を形成することにより溶接された溶接構造体であって、複数の溶接線は、溶接線W1と、溶接線W1と重ならない溶接線W2とを有し、溶接線W1の端部が、溶接線W2の端点W2aを囲むように曲折された曲折部G1を有することを特徴とする。
【選択図】図3

Description

本発明は、複数の金属部品を溶接する技術に関する。
レーザのような高エネルギービームを照射することにより、金属部品を溶接する際に、溶接線を直線状に形成すると、端部に応力が集中してしまう。このため、部品間に大きな衝撃荷重が加わった際に、溶接部が端部から順次破断してしまう可能性がある。
この問題を解決するため、例えば、特許文献1乃至3では、溶接線の端部を屈曲して形成することにより、溶接線の端部への応力集中を抑制する技術が開示されている。また、特許文献4では、スポット溶接によって形成されたナゲット列の端部に位置するナゲットの周囲に、円弧状にナゲットを形成することにより、ナゲット列の端部に位置するナゲットへの応力集中を抑制する技術が開示されている。
特開昭59−92189号公報 特開2003−290951号公報 特開2008−764号公報 特許2001−62575号公報
しかしながら、自動車のような種々の衝突形態が想定される溶接構造体においては、特許文献1乃至3で開示された技術では、溶接線を屈曲して形成しても、衝撃荷重の入力方向によっては、溶接線の端部に応力が集中してしまう可能性がある。また、特許文献4で開示された技術では、ナゲット列の端部に位置するナゲットの周囲を増し打ちされたナゲットで囲うことにより応力集中を抑制するため、連続的に形成する場合に比べて耐荷重が小さいという問題がある。
従って、本発明の目的は、連続的に形成された溶接線の端部への応力集中を抑制することにある。
上記課題を解決するため、本発明においては、重ね合わされた複数の金属部材に高エネルギービームを連続的に照射して互いに重ならない複数の溶接線を形成した溶接構造体であって、前記複数の溶接線は、第1溶接線と、前記第1溶接線と重ならない第2溶接線とを有し、前記第1溶接線の端部が、前記第2溶接線の端点を囲むように曲折された曲折部を有する溶接構造体が提供される。
本発明に係る溶接構造体によれば、前記第1溶接線の端部が、前記第2溶接線の端点を囲むように曲折された曲折部を有するため、前記第2溶接線の端点への応力集中を抑制することができる。これにより、前記第2溶接線が端点から破断することを抑制することができる。
また、本発明においては、前記複数の溶接線は、前記第1及び第2溶接線と重ならない第3溶接線を更に有し、前記曲折部は、前記第2及び第3溶接線の端点を囲むように曲折した構成であってもよい。この構成によれば、前記第2及び第3溶接線の端点への応力集中を抑制することができる。また、前記複数の溶接線のいずれかに負荷された衝突荷重をより効果的に分散して伝達することができる。
また、本発明においては、前記複数の金属部材は、第1部材と、前記第1部材に前記第1溶接線で接合された第2部材と、前記第1又は第2部材に前記第2溶接線で接合された第3部材とを有する構成であってもよい。この構成によれば、前記第1溶接線と前記第2溶接線との間で互いに生じる熱影響を抑制しながら、3つの金属部材を接合することができる。
また、本発明においては、前記第1部材が車体底部を形成するフロアパネル、前記第2部材が前記フロアパネルの車両前後方向前方で車幅方向に延在するダッシュパネル、前記第3部材が前記ダッシュパネルの車両前後方向前方で車両前後方向に延在するフロントサイドフレームである構成であってもよい。この構成によれば、前記フロアパネル、前記ダッシュパネル及び前記フロントサイドフレームの間の衝突荷重の伝達を確実に行うことができる。
また、本発明においては、前記複数の溶接線は、前記曲折部に連続する非曲折部を更に有し、前記複数の金属部材の少なくとも1つが、前記非曲折部を形成可能な幅を有する第1溶接代と、前記曲折部を形成可能であって、前記第1溶接代よりも広い幅を有する第2溶接代と、を有する構成であってもよい。この構成によれば、前記非曲折部が形成される前記第1溶接代よりも、前記曲折部が形成される前記第2溶接代を広く確保するため、車体重量の軽量化を行うことができる。
また、本発明においては、重ね合わされた複数の金属部材に高エネルギービームを連続的に照射して互いに重ならない少なくとも3つの溶接線を形成することにより溶接された溶接構造体であって、各溶接線の各端部が、該各端部を曲折して形成され、前記複数の溶接線の全端点の周囲を囲む囲み領域を規定する規定部を有する溶接構造体が提供される。
本発明に係る溶接構造体によれば、各溶接線の各端部が、該各端部を曲折して形成され、前記複数の溶接線の全端点の周囲を囲む囲み領域を規定する規定部を有するため、前記各溶接線の端点への応力集中を抑制することができる。これにより、各溶接線の端点から破断することを抑制することができる。
また、本発明においては、重ね合わされた複数の金属部材を保持する保持工程と、前記保持工程で保持された前記複数の金属部材に高エネルギービームを連続的に照射して互いに重ならない複数の溶接線を形成する溶接工程と、を有する溶接方法であって、前記複数の溶接線は、第1溶接線と、前記第1溶接線と重ならない第2溶接線とを有し、前記第1溶接線の端部が、前記第2溶接線の端点を囲むように曲折された曲折部を形成するように、前記溶接工程と同期して前記複数の金属部材を相対的に移動させる移動工程を有する溶接方法が提供される。
本発明に係る溶接方法によれば、前記第1溶接線の端部が、前記第2溶接線の端点を囲むように曲折された曲折部を形成するように前記複数の金属部材を相対的に移動させるため、前記第2溶接線の端点への応力集中を抑制することができる。これにより、前記第2溶接線が端点から破断することを抑制することができる。
また、本発明においては、前記複数の金属部材は、第1部材と、前記第1部材に前記第1溶接線で接合される第2部材と、前記第1部材に前記第2溶接線で接合される第3部材とを有し、前記溶接工程は、前記第1部材と前記第2部材とを前記第2部材側から溶接し、また、前記第1部材と前記第3部材とを前記第3部材側から溶接してもよい。本発明によれば、前記溶接工程は、前記第1溶接線と前記第2溶接線との間で互いに生じる熱影響を抑制しながら、3つの金属部材を接合することができる。
本発明によれば、連続的に形成された溶接線の端部への応力集中を抑制することができる。
以下に、本発明の実施の形態について添付図面を参照して詳細に説明する。なお、以下に説明する実施の形態は、本発明の実現手段としての一例であり、本発明は、その趣旨を逸脱しない範囲で以下の実施形態を修正又は変形したものに適用可能である。
<第1の実施形態>
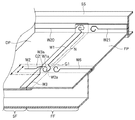
図1は、本発明の一実施形態に係る溶接構造体を示す上面図である。図2において、(a)は図1のA−A線に沿った断面図であり、(b)は図1のB−B線に沿った断面図である。図3は、図1のX部の拡大斜視図である。図4において、(a)乃至(c)は溶接線の曲折部の一例を示す図である。
本発明に係る溶接構造体は、重ね合わされた複数の金属部材に高エネルギービームを連続的に照射して互いに重ならない複数の溶接線を形成した構造体である。複数の金属部材は、本実施形態では、フロアパネルFP(第1部材)と、フロアパネルFPに溶接線W1、W3、W5で接合されたダッシュパネルDP(第2部材)と、ダッシュパネルDPに溶接線W2、W4で接合されたフロントサイドフレームSF(第3部材)とを有する。
フロアパネルFPは、車体底部を形成し、車室のフロア面となる。ダッシュパネルDPは、フロアパネルFPの車両前後方向前方で車幅方向に延在し、車室とエンジンルームとの隔壁となる。フロントサイドフレームSFは、ダッシュパネルDPの車両前後方向前方で車両前後方向に延在する。このフロントサイドフレームSFの車両前後方向後方には、フロアパネルFPの下面に沿って車両前後方向後方に延びるフロアフレームFFが一体的に連結されている。なお、図中の符号SSは、サイドシルである。
各溶接線W1〜W5の端部は、他の溶接線の端点を囲むように曲折された曲折部G1〜G5を有する。
ここで、図4を用いて、曲折部が取り得る種々のパターンについて説明する。まず、図4(a)で示すように、溶接線W101の端部が曲折部G101、溶接線W102の端部が曲折部G102を有しており、曲折部G101が溶接線W102の端点W102aを囲むように曲折されており、更に、曲折部G102が溶接線W101の端点W101aを囲むように曲折されていてもよい。すなわち、互いの端点を囲み合うため、端点への応力集中を抑制することができる。
また、図4(b)で示すように、曲折部が囲む溶接線の数は、1つに限られるものではなく、2以上の溶接線の端点を囲んでもよい。すなわち、溶接線W103の端部が曲折部G103、溶接線W104の端部が曲折部G104を有しており、曲折部G103が溶接線W104の端点W104a及び溶接線W105の端点W105aを囲むように曲折されている。また、曲折部G104が溶接線W103の端点W103aを囲むように曲折されている。なお、溶接線W105のように、曲折部が形成されていない溶接線の端部も囲むことができる。
更に、図4(c)で示すように、溶接線W106が曲折部G106、溶接線W107が曲折部G107、溶接線W108が曲折部G108、溶接線W109が曲折部G109を有している。この場合に、曲折部G106が溶接線W109の端点W109aを囲むように曲折され、曲折部G107が溶接線W106の端点W106aを囲むように曲折され、曲折部G108が溶接線W107の端点W107aを囲むように曲折され、曲折部G109が溶接線W108の端点W108aを囲むように曲折された構成であってもよい。この構成によれば、複数の溶接線が集中する位置において、全ての溶接線の端点を互いの溶接線が囲い込むため、端点への応力集中を抑制することができる。
このような、曲折部のパターンを車体の溶接構造体に適用した例について具体的に説明する。図1及び3で示すように、本実施形態では、溶接線W1の一方端部は、溶接線W2の端点W2aを囲むように曲折された曲折部G1を有する。この場合には、溶接線W1が第1溶接線であり、溶接線W2が第2溶接線となる。また、溶接線W2の端部は、溶接線W1の端点W1a及び溶接線W3の端点W3aを囲むように曲折された曲折部G2を有する。この場合には、溶接線W2が第1溶接線、溶接線W1が第2溶接線、溶接線W3が第3溶接線となる。
また、溶接線W3の端部は、溶接線W5の端点を囲むように曲折された曲折部G3を有する。この場合には、溶接線W3が第1溶接線であり、溶接線W5が第2溶接線となる。更に、溶接線W4の端部は、溶接線W3の端点を囲むように曲折された曲折部G4を有する。この場合には、溶接線W4が第1溶接線であり、溶接線W3が第2溶接線となる。溶接線W5の端部は、溶接線W4の端点を囲むように曲折された曲折部G5を有する。この場合には、溶接線W5が第1溶接線であり、溶接線W4が第2溶接線である。
ここで、フロアパネルFP、ダッシュパネルDP及びフロアフレームFF(フロントサイドフレームSF)が一体的に溶接されているが、フロアパネルFPとダッシュパネルDPとを溶接している溶接線W1の曲折部G1は、フロアフレームFFのフランジよりも車幅方向にはみ出す大きさに形成されている。しかしながら、溶接線W1は、フロアフレームFFを溶接する溶接線ではないため、フロアフレームFFのフランジの縁に対して熱影響部や溶接不良を生じることなく、曲折部を十分に広く取ることができ、容易に溶接線W2の端点W2aを囲うことができる。また、溶接線W2は、ダッシュパネルDPとフロントフロアフレームFFのフランジとを溶接し、フロアパネルFPを溶接するものではないため、曲折部G2も同様に、フロアパネルFPの前縁に対して車両前後方向前方にはみ出す大きさに形成されている。なお、溶接線W3は、曲折部は有さないものの、溶接線W1と同様に、その端点W3a付近が、フロアフレームFFのフランジ形状に関係なく曲線を形成しており、端点W3aを容易に溶接線W2の端部G2に囲われる位置に配設できるようになっている。
なお、曲折部は、本実施形態では、図4(b)及び(c)で示すように、略円弧状に形成されていてもよいし、図4(a)で示すように直線状に形成されていてもよい。すなわち、曲折部は、他の溶接線の端点がその円弧内に位置していれば任意の形状に形成することができる。なお、曲折部は、鈍角又は曲線で形成すると、応力集中をより効果的に防止することができる。
また、それぞれの曲折部には、本実施形態では、略直線状である非曲折部が連続的に形成されている。例えば、図3で示すように、曲折部G1には、非曲折部Nが連続的に形成されている。なお、非曲折部は、本実施形態では、略直線状に形成されるものとするが、パネル形状に応じて曲折していても構わないし、所定周期の波形等の種々の形状に形成されたものであっても構わない。
[溶接装置及び溶接方法について]
図5は、本発明の一実施形態に係る溶接装置WMを示す図である。図6は、溶接装置WMの動作手順を示す図である。
溶接装置WMは、重ね合わされた複数の金属部材を保持するクランプ部材CPと、クランプ部材CPによって保持された複数の金属部材に高エネルギービームを連続的に照射して互いに重ならない複数の溶接線を形成する照射部LUと、溶接線の端部が、他の溶接線の端点を囲むように、照射部LUによる照射処理と同期して複数の金属部材を相対的に移動させるロボットアームRAとを備える。
クランプ部材CPは、複数の金属部材を上下方向上方から押し付けるクランプ部材CP1と、複数の金属部材を上下方向下方から押し付けるクランプ部材CP2とを有する。これにより、複数の金属部材を重ね合わせた状態で保持可能としている。なお、クランプ部材CP1とクランプ部材CP2との間を調整することにより、板厚や材質等に応じた隙間を設けて保持することも可能である。
照射部LUには、高エネルギービームを発生させる光源Lが光ファイバLFを介して接続されている。ロボットアームRAは、予め設定されたコンピュータプログラムに従って照射部LUの照射口LU1の位置を任意に移動させることができる。
次に、上述の溶接装置を用いて溶接構造体を製造する手順について説明する。まず、クランプ部材CPが重ね合わされた複数の金属部材を保持する(保持工程)。次に、照射部LUが、クランプ部材CPが保持した複数の金属部材に高エネルギービームを連続的に照射して互いに重ならない溶接線Wを形成する(溶接工程)。そして、溶接線Wの端部が、他の溶接線Wの端点を囲むように曲折された曲折部を形成するように、照射部LUによる照射処理と同期してロボットアームRAが照射部LUを移動させる(移動工程)。なお、クランプ部材LU1を同様のロボットアーム等を用いて可動構造とすれば、照射部LUを動かさなくてもクランプ部材CPを動かすことにより、複数の金属部材側を移動させればよい。すなわち、複数の金属部材を照射部LUに対して相対的に移動させればよい。
溶接工程では、第1部材と第2部材とを第2部材側から溶接し、また、第1部材と第3部材とを第3部材側から溶接する。例えば、図6で示すように、フロアパネルFPとクロスメンバパネルCMとをクロスメンバパネルCM側(すなわち、上下方向上方側)から溶接し、また、フロアパネルFPとフロアフレームFFとをフロアフレームFF側(すなわち、上下方向下方側)から溶接する。
以上述べた通り、本実施形態によれば、溶接線の端部が、他の溶接線の端点を囲むように曲折された曲折部を有するため、他の溶接線の端点への応力集中を抑制することができる。これにより、他の溶接線が端点から破断することを抑制することができる。
[第1の実施形態の変形例]
本実施形態では、溶接構造体が、フロアパネルFP、ダッシュパネルDP及びフロントサイドフレームSFを溶接した構造体であるものとしたが、本変形例のように、溶接構造体が、他の複数の金属部品を溶接した構造体であるものとしてもよい。
複数の金属部材は、本実施形態では、図1で示したように、フロアパネルFP(第1部材)と、フロアパネルFPに溶接線W9〜W11及びW14〜W16で接合されたクロスメンバパネルCM(第2部材)と、フロアパネルFPに溶接線W6、W7、W12、W13、W18、W19で接合されたフロアフレームFF(第3部材)とを有する。
フロアパネルFPは、車体底部を形成し、車室のフロア面となる。クロスメンバパネルCMは、フロアパネルFPの上下方向上方で車幅方向に延在する。フロアフレームFFは、フロアパネルFPの上下方向下方でクロスメンバパネルCMと交差するように車両前後方向に延在する。また、フロアフレームFFは、その車両前後方向前端部がフロントサイドフレームSFの車両前後方向後端部と接合されている。
各溶接線W1〜W5の端部は、他の溶接線の端点を囲むように曲折された曲折部G1〜G5を有する。曲折部G1〜G5が囲む溶接線の数は、1つに限られるものではなく、2以上の溶接線の端点を囲んでもよい。
具体的には、本実施形態では、溶接線W9の端部は、溶接線W12の端点を囲むように曲折された曲折部G9を有する。この場合には、溶接線W9が第1溶接線であり、溶接線W12が第2溶接線となる。
また、溶接線W10の一方端部は、溶接線W9及びW12の端点を囲むように曲折された曲折部G10aを有する。この場合には、溶接線W10が第1溶接線、溶接線W9が第2溶接線、溶接線W12が第3溶接線となる。また、溶接線W10の他方端部は、溶接線W11の端点を囲むように曲折された曲折部G10bを有する。この場合には、溶接線W10が第1溶接線であり、溶接線W12が第2溶接線となる。その他の溶接線については説明を省略する。
曲折部は、本実施形態では、略円弧状に形成されており、溶接線の端点がその円弧内に位置している。なお、曲折部は、略円弧状に形成されていなくても、図4で示すように、溶接線の端点をその内部に位置させるように形成されていればよい。
このように、複数の金属部材を溶接した構造体であれば、本発明を適用することができる。なお、本実施形態では、3つの金属部材を溶接した構造体について説明したが、4つ以上の金属部材を溶接した金属部材にも本発明を適用することができる。例えば、本実施形態で示したフロアパネルFPと、ダッシュパネルDPと、フロントサブフレームSFからなる溶接構造体に、更に本変形例で示したクロスメンバパネルCMと、フロアフレームFFとを追加した溶接構造体であっても構わない。
<第2の実施形態>
上述の第1の実施形態では、溶接構造体が3つの金属部材を溶接した構造体であるものとしたが、本実施形態のように、溶接構造体が2つの金属部材だけを溶接した構造体であってもよい。
図7は、第2の実施形態に係る溶接構造体を示す斜視図である。複数の金属部材は、本実施形態では、クラッシュカンを形成する2つの部材CC1、CC2を有する。部材CC1、CC2は、車両前後方向に延びる2つの溶接線W51〜W56によって接合されて溶接構造体を形成する。溶接線W51〜W53は、クラッシュカンの上面に形成され、溶接線W54〜W56は、クラッシュカンの下面に形成される。
各溶接線W51〜W56の端部Pは、他の溶接線の端点を囲むように曲折された曲折部Gを有する。曲折部Gが囲む溶接線の数は、1つに限られるものではなく、2以上の溶接線の端点を囲んでもよい。
具体的には、本実施形態では、溶接線W51の端部は、溶接線W52の端点を囲むように曲折された曲折部G51を有する。この場合には、溶接線W51が第1溶接線であり、溶接線W52が第2溶接線である。
また、溶接線W52の一方端部は、溶接線W51の端点を囲むように曲折された曲折部G52aを有する。この場合には、溶接線W52が第1溶接線であり、溶接線W51が第2溶接線である。一方、溶接線W52の他方端部は、溶接線W53の端点を囲むように曲折された曲折部G52bを有する。この場合には、溶接線W52が第1溶接線であり、溶接線W53が第2溶接線である。
更に、溶接W53の端部は、溶接線W52の端点を囲むように曲折された曲折部G53を有する。この場合には、溶接線W53が第1溶接線であり、溶接線W52が第2溶接線である。
部材CC1は、非曲折部N(すなわち、直線部分)を形成可能な幅を有する溶接代d1(第1溶接代)と、曲折部G51及びG52a、又はG52b及びG53を形成可能であって、溶接代d1よりも広い幅を有する溶接代d2(第2溶接代)とを有する。この構成によれば、溶接代d1を溶接代d2よりも小さくした分だけ車体重量の軽量化を図ることができる。なお、溶接線W54〜W56については、同様の構成であるため、説明を省略する。
このように、2つの金属部材を溶接した構造体であれば、本発明を適用することができる。
<第3の実施形態>
上述の第1及び第2の実施形態では、1つの溶接線の端部が他の溶接線の端点を囲むように曲折された曲折部を備えた構成であった。一方、本実施形態のように、1つの溶接線では、他の溶接線の端点を囲むことにはならないが、複数の溶接線の端部が集合することによって、それぞれの溶接線の端点を囲む領域を規定することもできる。
図8は、第3の実施形態に係る囲み領域Sを示す図である。本発明に係る溶接構造体は、重ね合わされた複数の金属部材に高エネルギービームを連続的に照射して互いに重ならない4つの溶接線を形成した構造体である。適用する複数の金属部材は、任意に選択可能であるが、例えば、上述の実施形態の部材を用いることができる。
各溶接線W61〜W64の各端部は、各端部を曲折して形成され、各溶接線W61〜W64の全端点W61a〜W64aの周囲を囲む囲み領域Sを規定する規定部R61〜R64を有する。
以上述べた通り、本実施形態によれば、各溶接線W61〜W64の各端部が、各端部を曲折して形成され、溶接線の全端点W61a〜W64aの周囲を囲む囲み領域Sを規定する規定部R61〜R64を有するため、各溶接線W61〜W64の端点W61a〜W64aへの応力集中を抑制することができる。これにより、各溶接線W61〜W64が各端点W61a〜W64aから破断することを抑制することができる。
なお、本実施形態では、溶接構造体が4つの溶接線の各端部に形成された規定部によって囲み領域を規定することとしたが、3つ以上の溶接線があれば囲み領域を規定することができるため、溶接線の数が4つに限定されるものではない。
本発明の第1の実施形態に係る溶接構造体を示す上面図である。 (a)は図1のA−A線に沿った断面図であり、(b)は図1のB−B線に沿った断面図である。 図1のX部の拡大斜視図である。 (a)乃至(c)は溶接線の曲折部の一例を示す図である。 本発明の一実施形態に係る溶接装置WMを示す図である。 溶接装置WMの動作手順を示す図である。 第2の実施形態に係る溶接構造体を示す斜視図である。 第3の実施形態に係る囲み領域Sを示す図である。
符号の説明
W1、W2 溶接線
W1a、W2a 端点
G1 曲折部

Claims (8)

  1. 重ね合わされた複数の金属部材に高エネルギービームを連続的に照射して互いに重ならない複数の溶接線を形成した溶接構造体であって、
    前記複数の溶接線は、第1溶接線と、前記第1溶接線と重ならない第2溶接線とを有し、
    前記第1溶接線の端部が、前記第2溶接線の端点を囲むように曲折された曲折部を有することを特徴とする溶接構造体。
  2. 前記複数の溶接線は、前記第1及び第2溶接線と重ならない第3溶接線を更に有し、
    前記曲折部は、前記第2及び第3溶接線の端点を囲むように曲折したことを特徴とする請求項1に記載の溶接構造体。
  3. 前記複数の金属部材は、第1部材と、前記第1部材に前記第1溶接線で接合された第2部材と、前記第1又は第2部材に前記第2溶接線で接合された第3部材とを有することを特徴とする請求項1に記載の溶接構造体。
  4. 前記第1部材が車体底部を形成するフロアパネル、前記第2部材が前記フロアパネルの車両前後方向前方で車幅方向に延在するダッシュパネル、前記第3部材が前記ダッシュパネルの車両前後方向前方で車両前後方向に延在するフロントサイドフレームであることを特徴とする請求項3に記載の溶接構造体。
  5. 前記複数の溶接線は、前記曲折部に連続する非曲折部を更に有し、
    前記複数の金属部材の少なくとも1つが、
    前記非曲折部を形成可能な幅を有する第1溶接代と、
    前記曲折部を形成可能であって、前記第1溶接代よりも広い幅を有する第2溶接代と、
    を有することを特徴とする請求項1乃至4のいずれか1項に記載の溶接構造体。
  6. 重ね合わされた複数の金属部材に高エネルギービームを連続的に照射して互いに重ならない少なくとも3つの溶接線を形成することにより溶接された溶接構造体であって、
    各溶接線の各端部が、
    該各端部を曲折して形成され、前記溶接線の全端点の周囲を囲む囲み領域を規定する規定部を有することを特徴とする溶接構造体。
  7. 重ね合わされた複数の金属部材を保持する保持工程と、
    前記保持工程で保持された前記複数の金属部材に高エネルギービームを連続的に照射して互いに重ならない複数の溶接線を形成する溶接工程と、
    を有する溶接方法であって、
    前記複数の溶接線は、第1溶接線と、前記第1溶接線と重ならない第2溶接線とを有し、
    前記第1溶接線の端部が、前記第2溶接線の端点を囲むように曲折された曲折部を形成するように、前記溶接工程と同期して前記複数の金属部材を相対的に移動させる移動工程を有することを特徴とする溶接方法。
  8. 前記複数の金属部材は、第1部材と、前記第1部材に前記第1溶接線で接合される第2部材と、前記第1部材に前記第2溶接線で接合される第3部材と、を有し、
    前記溶接工程は、前記第1部材と前記第2部材とを前記第2部材側から溶接し、また、前記第1部材と前記第3部材とを前記第3部材側から溶接することを特徴とする請求項7に記載の溶接方法。
JP2008254443A 2008-09-30 2008-09-30 溶接構造体及び溶接方法 Expired - Fee Related JP5206284B2 (ja)

Priority Applications (1)

Application Number Priority Date Filing Date Title
JP2008254443A JP5206284B2 (ja) 2008-09-30 2008-09-30 溶接構造体及び溶接方法

Applications Claiming Priority (1)

Application Number Priority Date Filing Date Title
JP2008254443A JP5206284B2 (ja) 2008-09-30 2008-09-30 溶接構造体及び溶接方法

Publications (2)

Publication Number Publication Date
JP2010082656A true JP2010082656A (ja) 2010-04-15
JP5206284B2 JP5206284B2 (ja) 2013-06-12

Family

ID=42247135

Family Applications (1)

Application Number Title Priority Date Filing Date
JP2008254443A Expired - Fee Related JP5206284B2 (ja) 2008-09-30 2008-09-30 溶接構造体及び溶接方法

Country Status (1)

Country Link
JP (1) JP5206284B2 (ja)

Cited By (6)

* Cited by examiner, † Cited by third party
Publication number Priority date Publication date Assignee Title
JP2011037306A (ja) * 2009-08-06 2011-02-24 Tokyu Car Corp 鉄道車両構体の製造方法
DE102012022934A1 (de) 2011-11-24 2013-05-29 Suzuki Motor Corporation Fahrzeugkarosserieunterbodenstruktur
US9557476B2 (en) * 2012-01-19 2017-01-31 Fujikura Ltd. Multi-core fiber
GB2568869A (en) * 2017-11-21 2019-06-05 Airbus Operations Ltd Welding method and structure
CN113000964A (zh) * 2019-12-20 2021-06-22 现代自动车株式会社 通过焊接制造的部件及其制造方法
CN113002634A (zh) * 2019-12-20 2021-06-22 现代自动车株式会社 通过焊接制造的部件及其制造方法

Citations (4)

* Cited by examiner, † Cited by third party
Publication number Priority date Publication date Assignee Title
JP2000145450A (ja) * 1998-11-05 2000-05-26 Toyota Motor Corp 内燃機関用排気管及びその仕切板溶接方法
JP2003290951A (ja) * 2002-03-29 2003-10-14 Honda Motor Co Ltd 溶接構造物、溶接方法および溶接装置
JP2007516082A (ja) * 2003-07-02 2007-06-21 コミツサリア タ レネルジー アトミーク トランスペアレンシーによって生成される少なくとも1つの溶接コードからなる部品組立手段
US7290957B2 (en) * 2005-02-01 2007-11-06 Daimlerchrysler Ag Laser welding seam with reduced end-crater and process for production thereof

Patent Citations (4)

* Cited by examiner, † Cited by third party
Publication number Priority date Publication date Assignee Title
JP2000145450A (ja) * 1998-11-05 2000-05-26 Toyota Motor Corp 内燃機関用排気管及びその仕切板溶接方法
JP2003290951A (ja) * 2002-03-29 2003-10-14 Honda Motor Co Ltd 溶接構造物、溶接方法および溶接装置
JP2007516082A (ja) * 2003-07-02 2007-06-21 コミツサリア タ レネルジー アトミーク トランスペアレンシーによって生成される少なくとも1つの溶接コードからなる部品組立手段
US7290957B2 (en) * 2005-02-01 2007-11-06 Daimlerchrysler Ag Laser welding seam with reduced end-crater and process for production thereof

Cited By (12)

* Cited by examiner, † Cited by third party
Publication number Priority date Publication date Assignee Title
JP2011037306A (ja) * 2009-08-06 2011-02-24 Tokyu Car Corp 鉄道車両構体の製造方法
DE102012022934A1 (de) 2011-11-24 2013-05-29 Suzuki Motor Corporation Fahrzeugkarosserieunterbodenstruktur
DE102012022934B4 (de) 2011-11-24 2019-03-28 Suzuki Motor Corporation Fahrzeugkarosserieunterbodenstruktur
US9557476B2 (en) * 2012-01-19 2017-01-31 Fujikura Ltd. Multi-core fiber
GB2568869A (en) * 2017-11-21 2019-06-05 Airbus Operations Ltd Welding method and structure
CN113000964A (zh) * 2019-12-20 2021-06-22 现代自动车株式会社 通过焊接制造的部件及其制造方法
CN113002634A (zh) * 2019-12-20 2021-06-22 现代自动车株式会社 通过焊接制造的部件及其制造方法
JP2021098227A (ja) * 2019-12-20 2021-07-01 現代自動車株式会社Hyundai Motor Company 溶接で製造された部品及びその製造方法
JP7488142B2 (ja) 2019-12-20 2024-05-21 現代自動車株式会社 溶接で製造された部品及びその製造方法
JP7503446B2 (ja) 2019-12-20 2024-06-20 現代自動車株式会社 溶接で製造された部品及びその製造方法
CN113002634B (zh) * 2019-12-20 2024-07-26 现代自动车株式会社 通过焊接制造的部件及其制造方法
CN113000964B (zh) * 2019-12-20 2025-02-07 现代自动车株式会社 通过焊接制造的部件及其制造方法

Also Published As

Publication number Publication date
JP5206284B2 (ja) 2013-06-12

Similar Documents

Publication Publication Date Title
JP5206284B2 (ja) 溶接構造体及び溶接方法
US9713857B2 (en) Laser joining structure and laser joining method
JP4550673B2 (ja) 車両のサブフレーム
US9227666B2 (en) Vehicle frame structure
US9701344B2 (en) Frame structure for vehicle
US9138827B2 (en) Method of laser welding
JP6581599B2 (ja) 車体フレーム
JP2016172484A (ja) 車体構造
JP2016064725A (ja) 車体骨格構造、及びその製造方法
JP2009107378A (ja) 自動車のバンパービーム構造
JP2012011959A (ja) 車体前部構造
WO2016021261A1 (ja) 車体構造
JP2006137408A (ja) 車体骨格構造
EP2193979B1 (en) Vehicle body structure and manufacturing method of vehicle body
US8960759B2 (en) Vehicle body front structure
JP2013060044A (ja) 車両用骨格部材およびその製造方法
CN1861460B (zh) 车辆地板结构
JP2010082655A (ja) 溶接構造体及び溶接方法
EP4144454B1 (en) Vehicle structure
US20170057553A1 (en) Vehicle lower portion structure
CN102947169A (zh) 车身前部构造
EP4331740A1 (en) Weld bead width design method for tailored blank material, manufacturing method, manufacturing system, weld bead width design system, vehicular structural member, and tailored blank material
JP2009184568A (ja) 車体構造
CN111086563A (zh) 车身后部结构
JP2017087800A (ja) 鉄道車両の車体

Legal Events

Date Code Title Description
RD03 Notification of appointment of power of attorney

Free format text: JAPANESE INTERMEDIATE CODE: A7423

Effective date: 20101001

RD04 Notification of resignation of power of attorney

Free format text: JAPANESE INTERMEDIATE CODE: A7424

Effective date: 20101001

A621 Written request for application examination

Free format text: JAPANESE INTERMEDIATE CODE: A621

Effective date: 20110802

A521 Written amendment

Free format text: JAPANESE INTERMEDIATE CODE: A523

Effective date: 20120329

A977 Report on retrieval

Free format text: JAPANESE INTERMEDIATE CODE: A971007

Effective date: 20121115

A131 Notification of reasons for refusal

Free format text: JAPANESE INTERMEDIATE CODE: A131

Effective date: 20121120

A521 Written amendment

Free format text: JAPANESE INTERMEDIATE CODE: A523

Effective date: 20121225

TRDD Decision of grant or rejection written
A01 Written decision to grant a patent or to grant a registration (utility model)

Free format text: JAPANESE INTERMEDIATE CODE: A01

Effective date: 20130122

A61 First payment of annual fees (during grant procedure)

Free format text: JAPANESE INTERMEDIATE CODE: A61

Effective date: 20130204

FPAY Renewal fee payment (event date is renewal date of database)

Free format text: PAYMENT UNTIL: 20160301

Year of fee payment: 3

R150 Certificate of patent or registration of utility model

Ref document number: 5206284

Country of ref document: JP

Free format text: JAPANESE INTERMEDIATE CODE: R150

Free format text: JAPANESE INTERMEDIATE CODE: R150

LAPS Cancellation because of no payment of annual fees