JP2010082212A - 還元水ミスト発生装置内蔵型理美容機器 - Google Patents

還元水ミスト発生装置内蔵型理美容機器 Download PDF

Info

Publication number
JP2010082212A
JP2010082212A JP2008254968A JP2008254968A JP2010082212A JP 2010082212 A JP2010082212 A JP 2010082212A JP 2008254968 A JP2008254968 A JP 2008254968A JP 2008254968 A JP2008254968 A JP 2008254968A JP 2010082212 A JP2010082212 A JP 2010082212A
Authority
JP
Japan
Prior art keywords
water
reduced water
reduced
unit
reducing
Prior art date
Legal status (The legal status is an assumption and is not a legal conclusion. Google has not performed a legal analysis and makes no representation as to the accuracy of the status listed.)
Granted
Application number
JP2008254968A
Other languages
English (en)
Other versions
JP5207904B2 (ja
Inventor
Junpei Oe
純平 大江
Yukiko Mishima
有紀子 三嶋
Hiroshi Suda
洋 須田
Yoshinori Sainomoto
良典 才ノ本
Yukiyasu Asano
幸康 浅野
Yasuhiro Komura
泰浩 小村
Tomohiro Yamaguchi
友宏 山口
Current Assignee (The listed assignees may be inaccurate. Google has not performed a legal analysis and makes no representation or warranty as to the accuracy of the list.)
Panasonic Electric Works Co Ltd
Original Assignee
Panasonic Electric Works Co Ltd
Priority date (The priority date is an assumption and is not a legal conclusion. Google has not performed a legal analysis and makes no representation as to the accuracy of the date listed.)
Filing date
Publication date
Application filed by Panasonic Electric Works Co Ltd filed Critical Panasonic Electric Works Co Ltd
Priority to JP2008254968A priority Critical patent/JP5207904B2/ja
Priority to PCT/JP2009/066365 priority patent/WO2010035707A1/ja
Priority to EP09816122A priority patent/EP2338610A4/en
Priority to CN2009801381192A priority patent/CN102170974A/zh
Priority to US13/061,845 priority patent/US8556237B2/en
Priority to TW098131876A priority patent/TW201024466A/zh
Publication of JP2010082212A publication Critical patent/JP2010082212A/ja
Application granted granted Critical
Publication of JP5207904B2 publication Critical patent/JP5207904B2/ja
Expired - Fee Related legal-status Critical Current
Anticipated expiration legal-status Critical

Links

Images

Classifications

    • YGENERAL TAGGING OF NEW TECHNOLOGICAL DEVELOPMENTS; GENERAL TAGGING OF CROSS-SECTIONAL TECHNOLOGIES SPANNING OVER SEVERAL SECTIONS OF THE IPC; TECHNICAL SUBJECTS COVERED BY FORMER USPC CROSS-REFERENCE ART COLLECTIONS [XRACs] AND DIGESTS
    • Y02TECHNOLOGIES OR APPLICATIONS FOR MITIGATION OR ADAPTATION AGAINST CLIMATE CHANGE
    • Y02ATECHNOLOGIES FOR ADAPTATION TO CLIMATE CHANGE
    • Y02A40/00Adaptation technologies in agriculture, forestry, livestock or agroalimentary production
    • Y02A40/10Adaptation technologies in agriculture, forestry, livestock or agroalimentary production in agriculture
    • Y02A40/25Greenhouse technology, e.g. cooling systems therefor

Landscapes

  • Devices For Medical Bathing And Washing (AREA)
  • Treatment Of Water By Oxidation Or Reduction (AREA)
  • Water Treatment By Electricity Or Magnetism (AREA)

Abstract

【課題】還元水の生成及び霧化を行い、霧化された還元水を還元水ミストとして散布することができる還元水ミスト発生装置内蔵型理美容機器を提供する。
【解決手段】酸性成分が水中でイオン化して発生した陽イオンを還元して得られた還元成分が溶解された還元水を生成するための水を取得する水取得部3と、水取得部3により取得された水から還元水を生成する還元水生成ユニットUと、還元水生成ユニットUにより生成された還元水を霧化させる還元水霧化部6と、還元水霧化部6により霧化された還元水を還元水ミストとして散布する散布部7と、からなる還元水ミスト発生装置1を内蔵する。
【選択図】図1

Description

本発明は、還元成分が溶解された還元水を還元水ミストとして散布できる還元水ミスト発生装置を内蔵した理美容機器に関するものである。
従来より、アンチエイジングを目的として、還元成分(例えば、水素分子やアスコルビン酸)が溶解された還元水(例えば、水素水やアスコルビン酸水溶液)を利用することが行われている。
特許文献1には、この種の還元水を製造できる水素水給水装置が提案されている。この種の水素水給水装置では、住戸へ給水されるべき水の一部が、戸外に設置された電気分解槽へ導入されて水素ガス及び酸素ガスを含んだ水とされる。その後、水素ガス及び酸素ガスを含んだ水が前記住戸へ給水されるべき水と混合された状態で住戸へ給水される。
特開2005−105289号公報
ところで、この種の水素水給水装置は、水素ガス及び酸素ガスを含んだ水が住戸へ給水されるべき水と混合された状態で住戸に供給される。しかしながら、アンチエイジングを目的として、還元水を人の髪や皮膚の隅々にまで行き渡らせるためには、還元水を還元水ミストとして散布することが所望される。また、還元水を髪や皮膚の隅々にまで行き渡らせるためには、シャワーヘッド、美顔器、サウナスーツ、ヘアドライヤ、ヘアブラシ、ヘアアイロン等の種々の理美容機器に、還元水の生成、霧化、及び散布を行う装置を内蔵させることが望ましい。
本発明は、上記の問題を解決するためになされたもので、還元水の生成及び霧化を行い、霧化された還元水を還元水ミストとして散布することができる還元水ミスト発生装置内蔵型理美容機器を提供することを目的とするものである。
本発明の一局面に係る還元水ミスト発生装置内蔵型理美容機器は、酸性成分が水中でイオン化して発生した陽イオンを還元して得られた還元成分が溶解された還元水を生成するための水を取得する水取得部と、前記水取得部により取得された前記水から前記還元水を生成する還元水生成ユニットと、前記還元水生成ユニットにより生成された前記還元水を霧化させる還元水霧化部と、前記還元水霧化部により霧化された前記還元水を還元水ミストとして散布する散布部と、からなる還元水ミスト発生装置を内蔵することを特徴とする(請求項1)。
この構成によれば、理美容機器が、酸性成分が水中でイオン化して発生した陽イオンを還元して得られた還元成分が溶解された還元水を生成するための水を取得する水取得部と、水取得部により取得された水から還元水を生成する還元水生成ユニットと、還元水生成ユニットにより生成された還元水を霧化させる還元水霧化部と、還元水霧化部により霧化された還元水を散布する散布部と、からなる還元水ミスト発生装置を内蔵する。
そのため、理美容機器が、水から還元成分が溶解された還元水を生成し、生成した還元水を霧化し、霧化した還元水を散布する一連の処理を行える。
また、還元水を、人の髪や皮膚の隅々まで散布することができるので、人の髪や皮膚の抗酸化効果を得ることができる。例えば、人の髪に艶や潤いを与えることができ、また、育毛、発毛を促進させることができる。また、人の皮膚の老化を抑制したり、皮膚に潤いを与えたり、皮膚の炎症を改善させることができる。
尚、この構成において、水の取得、還元水の生成、還元水の霧化、及び、還元水の散布という各々の処理が行われるタイミングは、例えば以下のタイミングが挙げられる。
すなわち、水の取得、還元水の生成、還元水の霧化、及び、還元水の散布が同時に行われることが挙げられる。また、水の取得と還元水の生成とが同時に行われ、その後、還元水の霧化及び散布が行われることも挙げられる。また、水の取得が行われ、その後、還元水の生成、還元水の霧化、及び、還元水の散布が同時に行われることが挙げられる。
上記構成において、前記水取得部が、冷媒ガスを高温高圧に圧縮した後放熱させて冷媒液とする放熱部と、前記冷媒液を減圧した後気化させて前記冷媒ガスとする冷却部と、を備えており、前記冷却部による冷却により空気中の水分を結露させて前記水を取得する構成とすることができる(請求項2)。
この構成によれば、冷却部による冷却効果により空気中の水分を結露させて水を取得する。そのため、ユーザが酸性水溶液を生成するための水を装置へ補充する必要がない。
上記構成において、前記水取得部が、冷却面による冷却により、空気中の水分を結露させて前記水を取得するペルチェ素子を備える構成とすることができる(請求項3)。
この構成によれば、装置の体積が小さく、騒音や振動が生じないペルチェ素子で水を取得できるので、水取得部をコンパクトにすることができるとともに、水取得に騒音や振動が生じない。
上記構成において、前記還元水生成ユニットは、水中で酸性成分を発生させ、前記水中で発生した前記酸性成分がイオン化して発生する陽イオン及び陰イオンを含む酸性水溶液を生成する酸性水溶液生成部と、前記酸性水溶液に含まれる前記陽イオンへ電子を与えて還元して還元成分を生成する還元成分生成部と、前記還元成分生成部により生成された前記還元成分を水中で溶解させて、前記還元成分が溶解された還元水を生成する還元水生成部と、を備えており、前記酸性水溶液生成部は、前記酸性水溶液を生成するための水又は前記酸性水溶液を貯留する貯留部と、前記貯留部内に配置された第1の電極と、前記貯留部内に配置された第2の電極と、前記第1の電極及び前記第2の電極との間に挟持されて設けられ、前記貯留部と連通する貫通孔を有する絶縁スペーサと、前記第1の電極及び前記第2の電極へ高電圧を印加して、前記絶縁スペーサの前記貫通孔で沿面放電を行って、前記酸性成分の原料を生成するための高電圧印加部と、からなる放電部と、前記絶縁スペーサの前記貫通孔へ送風を導入して、前記沿面放電が行われている前記貫通孔で前記酸性成分の原料を生成させ、前記貫通孔で生成された前記酸性成分の原料を前記貯留部に貯留された前記水へ溶解させて前記酸性成分を発生させる送風部と、を備える構成とすることができる(請求項4)。
この構成によれば、酸性水溶液生成部が、水中で酸性成分を発生させ、前記水中で発生した前記酸性成分がイオン化して発生する陽イオン及び陰イオンを含む酸性水溶液を生成する。この酸性水溶液生成部では、放電部が、第1の電極及び第2の電極へ高電圧を印加して絶縁スペースの貫通孔で沿面放電を行う。また、送風部が貫通孔へ送風を導入して、貯留部外部から貫通孔を通過して貯留部内部の水へ行き渡る泡を大量に発生させる。これにより、貫通孔において酸性成分の原料が大量に生成される。
そして、この貫通孔で生成された酸性成分の原料が、送風部による送風により、貫通孔と連通する貯留部へ導入されて、貯留部に貯留された水へ溶解されて酸性成分とされる。水へ溶解された酸性成分は、水中でイオン化して陽イオン及び陰イオンとなり、その結果、貯留部に貯留されている水が陽イオンの濃度が高い酸性水溶液とされる。
また、この構成によれば、還元成分生成部は、酸性水溶液に含まれる陽イオンへ電子を与えて還元して還元成分を生成する。また、還元水生成部は、還元成分生成部により生成された還元成分を水に溶解させて、還元成分が溶解された還元水を生成する。
そのため、酸性水溶液を生成する処理、前記処理により生成された酸性水溶液に含まれる陽イオンへ電子を与えて還元して還元成分を生成する処理、前記処理により生成された還元成分を水に溶解させる処理を順次行えば、還元水が発生するので、還元水を簡便に発生させることができる。また、酸性水溶液生成部において、放電部が、絶縁スペーサが有する貫通孔が貯留部と連通した状態で配置されているので、放電部と貯留部とをコンパクトに一体形成できるので、装置全体をコンパクトにすることができる。
上記構成において、前記陽イオンは水素イオンであり、前記還元成分生成部は、水素よりもイオン化傾向が大きな元素で構成され、前記酸性水溶液に含まれる前記水素イオンを還元して、前記還元成分として水素分子を生成する還元物質と、前記水素分子の生成量を調節する調節部と、を備える構成とすることができる(請求項5)。
この構成によれば、還元成分生成部において、水素よりもイオン化傾向が大きな元素で構成され、酸性水溶液に含まれる陽イオンを還元して、還元成分として水素分子を生成する還元物質が使用され、水素分子の生成量を還元量を調節する調節部を備える。
そのため、還元水ミスト発生装置は、酸性水溶液に高濃度で含まれる水素イオンを容易に還元して水素分子を生成することができる。また、高濃度で含まれる水素イオンを基に生成される水素分子の生成量を任意かつ容易に調節することができるので、還元水として、幅広い水素濃度を有する水素水を容易に発生させることができる。
上記構成において、前記還元物質は、前記調節部へ着脱可能にされている構成とすることができる(請求項6)。この構成によれば、還元物質が水素イオンを還元して、還元物質の体積が減少した際には、体積が減少した還元物質を調節部から取り外して、新たな還元物質を調節部へ取り付けることができる。
上記構成において、前記還元物質は、前記調節部により前記酸性水溶液に浸される範囲が調節可能にされている構成とすることができる(請求項7)。この構成によれば、還元物質が酸性水溶液に浸される範囲を調節して、水素分子の生成量を自在に調節できる。
上記構成において、前記還元水生成ユニットは、前記水取得部により取得された前記水を電気分解する陽極及び陰極を備えており、前記陰極において水素水を前記還元水として生成する構成とすることができる(請求項8)。
この構成によれば、陽極及び陰極に、酸性水溶液生成部、還元成分生成部、及び、還元水生成部の機能が集約されているので、還元水生成ユニットの構造が簡易となり、かつ、小型化を図ることができる。また、陽極及び陰極により水を電気分解することで、水素水が還元水として生成されるので、還元成分を生成するための還元物質が不要となるので、ユーザが還元物質を補充する必要がなくなる。
上記構成において、前記還元水生成ユニットは、アスコルビン酸が充填されたアスコルビン酸カートリッジが取り付けられており、前記還元水が、前記アスコルビン酸カートリッジを通過して、アスコルビン酸が溶解された還元水とされる構成とすることができる(請求項9)。
この構成によれば、アスコルビン酸が溶解された還元水が散布されるので、人の免疫力が向上する。また、コラーゲンが生成される。また、風邪の予防や早期回復が図られる。また、ストレスに対する抵抗力が向上する。また、発がん性物質の発生が抑制される。
上記構成において、前記還元水霧化部が、前記還元水に超音波を放射して霧化させる超音波放射素子を備える構成とすることができる(請求項10)。この構成によれば、粒径がナノメートルサイズの液滴を散布することができる。
上記構成において、前記還元水霧化部が、表面弾性波を発生して、前記表面弾性波により前記還元水を霧化させる表面弾性波発生部を備える構成とすることができる(請求項11)。この構成によれば、表面弾性波が伝播する振動面を、還元水の水面と同じ高さに位置させることができるので、装置をコンパクトにすることができる。
上記構成において、前記還元水霧化部が、高電圧が印加されることで発生する高電界により前記還元水を霧化させる静電霧化部を備える構成とすることができる(請求項12)。この構成によれば、粒径がナノメートルサイズの液滴を大量に散布することができる。
上記構成において、前記還元水霧化部が、前記還元水を加圧する加圧部と、前記加圧部により加圧された前記還元水を射出するための複数の小孔と、を備える構成とすることができる(請求項13)。この構成によれば、還元水を大量に霧化させることができる。
本発明によれば、理美容機器が、酸性成分が水中でイオン化して発生した陽イオンを還元して得られた還元成分が溶解された還元水を生成するための水を取得する水取得部と、水取得部により取得された水から還元水を生成する還元水生成ユニットと、還元水生成ユニットにより生成された還元水を霧化させる還元水霧化部と、還元水霧化部により霧化された還元水を散布する散布部と、からなる還元水ミスト発生装置を内蔵する。
そのため、理美容機器が、水から還元水を生成し、生成した還元水を霧化し、霧化した還元水を散布する一連の処理を行える。また、還元水を、人の髪や皮膚の隅々まで散布することができるので、人の髪や皮膚の抗酸化効果を得ることができる。
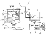
以下、本発明の一実施形態に係る還元水ミスト発生装置及び還元水ミスト発生装置内蔵型理美容機器について説明する。図1は、本発明の一実施形態に係る還元水ミスト発生装置の機能構成の一例を示すブロック図である。図1に示す還元水ミスト発生装置1は、理美容機器Xに内蔵されており、還元水生成ユニットUと、水取得部3と、還元水霧化部6と、散布部7と、を備える。
還元水ミスト発生装置1において、水取得部3は、後述する酸性成分が水中でイオン化して発生した陽イオンを還元して得られた還元成分が溶解された還元水を生成するための水を取得する。そのため、ユーザが還元水を生成するための水を補充する必要がなくなる。また、散布部7は、還元水霧化部6により霧化された還元水を還元水ミストとして散布する。そのため、還元水を離れた場所や広い範囲に散布することができる。
また、還元水ミスト発生装置1において、還元水生成ユニットUは、酸性水溶液生成部2、還元成分生成部4、及び、還元水生成部5を備える。
還元水生成ユニットUにおいて、酸性水溶液生成部2は、水中で酸性成分を発生させ、水中で発生した酸性成分がイオン化して発生する陽イオン及び陰イオンを含む酸性水溶液を生成する。ここに、酸性成分は、過酸化水素や硝酸が挙げられ、これら過酸化水素や硝酸が水に溶解すれば、少なくとも、陽イオンとして水素イオンが発生する。
また、還元成分生成部4は、酸性水溶液に含まれる陽イオンへ電子を与えて還元して還元成分を生成する。すなわち、酸性成分は酸性水溶液内においてはイオン化するため、酸性水溶液は少なくとも酸性成分から発生した陽イオンを含んでいる。ここに、酸性成分から発生した陽イオンは、酸性成分が過酸化水素や硝酸である際には水素イオンである。この場合、還元成分生成部4は、酸性水溶液に溶解されることによりイオン化した過酸化水素や硝酸から発生した水素イオンに電子を与えて還元し、還元成分として水素分子を生成する。
また、還元水生成部5は、還元成分生成部4により生成された還元成分を水に溶解させて、還元成分が溶解された還元水を生成する。ここに、還元水は、本実施形態では水素水である。
図2は、本発明の一実施形態に係る還元水ミスト発生装置の具体的構成の一例を示す図である。以下、図2に示す還元水ミスト発生装置1は、本明細書において、「具体的構成例1」とされる。
尚、以下に示す具体的構成例1〜3は、主として水取得部3の種々の構成例を示している。また、以下に示す具体的構成例4は、主として酸性水溶液生成部2の構成例を示している。また、以下に示す具体的構成例5,7,8は、主として還元水霧化部の種々の構成例を示している。また、以下に示す具体的構成例6,及び9〜13は、主として還元水ミスト発生装置1が内蔵された理美容機器の種々の構成例を示している。
[具体的構成例1]
図2に示す還元水ミスト発生装置1において、水取得部3は、冷媒ガスを高温高圧に圧縮した後放熱させて冷媒液とする放熱部34と、冷媒液を減圧した後気化させて冷媒ガスとする冷却部37と、を備える。すなわち、水取得部3は、放熱部34及び冷却部37を有した熱交換器を備える。
このような水取得部3において、放熱部34及び冷却部37は、冷凍サイクル部Fに備えられている。そして、放熱部34は、冷媒ガスを高温高圧に圧縮する圧縮器35と、高温高圧とされた冷媒ガスを放熱することで冷却して冷媒液とする凝縮器36とを備える。
また、冷却部37は、乾燥器Dにより乾燥された冷媒液を減圧して気化しやすくする膨張弁30と、減圧された冷媒液を気化させて冷媒ガスとする蒸発器31と、蒸発器31に当接して設けられた熱伝導部材32と、熱伝導部材32に当接して設けられた結露水発生部33と、を備える。
このような冷却部37において、結露水発生部33、熱伝導部材32、及び、蒸発器31は、熱的に接続されており、蒸発器31による冷却の効果が、熱伝導部材32を通じて結露水発生部33に及ぶ。その結果、結露水発生部33が冷却され、結露水発生部33の周囲の空気が冷却されて結露水発生部33の表面に結露水(以下、単に「水」という)Wが付着する。尚、結露水発生部33と熱伝導部材32とは一体形成されていてよい。また、結露水発生部33に熱伝導部材32が固着されていてもよい。また、結露水発生部33に熱伝導部材32が接触していてもよい。いずれの場合も、結露水発生部33と熱伝導部材32とで熱を高効率でやり取りできる構成が好ましい。
このような冷却部37により結露水発生部33に発生した水Wは、水タンクTに流入し、酸性水溶液生成部2に吸い上げられる。酸性水溶液生成部2に吸い上げられた水Wは、還元水生成ユニットU、つまり、酸性水溶液生成部2、還元成分生成部4、及び、還元水生成部5により還元水M3とされる。そして、還元水M3は、還元水霧化部6により霧化され、散布部7として構成されている送風ファンによる送風により還元水ミストとして散布される。
このような水取得手段3によれば、冷却部37の冷却効果により空気中の水分を結露させて水を取得するため、ユーザが酸性水溶液を生成するための水を補充する必要がない。
図3は、本発明の一実施形態に係る還元水ミスト発生装置の具体的構成例2を示す図である。尚、図2に示す還元水ミスト発生装置1と同一の要素は、図2に示す符号と同一の符号が付される。また、説明が省略される。
[具体的構成例2]
図3に示す還元水ミスト発生装置1において、水取得部3は、冷却面40による冷却により、空気中の水分を結露させて水を取得するペルチェ素子38を備える。
ペルチェ素子38は、前記冷却面40及び放熱面42を備える。そして、冷却面40には結露水発生部33が取り付けられている。尚、冷却面40と結露水発生部33とは熱的に接続されていればよい。一方、放熱面42には放熱フィン43が取り付けられている。
このような水取得部3において、ペルチェ素子用電源41によりペルチェ素子38が通電された際には、ペルチェ素子38の冷却面40が冷却され、その冷却効果が結露水発生部33に及ぶ。そのため、結露水発生部33も冷却されて、結露水発生部33の周囲の空気が冷却されて結露水発生部33の表面に水Wが付着する。一方、ペルチェ素子38の放熱面42からは熱が発生するが、その熱は放熱フィン43により放熱される。
このようなペルチェ素子38により結露水発生部33に発生した水Wは、水タンクTに流入し、酸性水溶液発生部2に吸い上げられる。酸性水溶液生成部2に吸い上げられた水Wは、還元水生成ユニットU、つまり、酸性水溶液生成部2、還元成分生成部4、及び、還元水生成部5、により還元水M3とされる。還元水M3は還元水霧化部6により霧化される。還元水霧化部6により霧化された還元水M3は、散布部7として構成されている送風ファンによる送風により還元水ミストとして散布される。
このような水取得部3によれば、装置の体積が小さく、騒音や振動が生じないペルチェ素子38で水を取得できるので、水取得部3をコンパクトにすることができるとともに、水取得に騒音や振動が生じない。
図4は、本発明の一実施形態に係る還元水ミスト発生装置の具体的構成例3を示す図である。尚、図2に示す還元水ミスト発生装置1と同一の要素は、図2に示す符号と同一の符号が付される。また、説明が省略される。
[具体的構成例3]
図4に示す還元水ミスト発生装置1において、水取得部3は、空気中の水分を吸着する吸着剤45と、吸着剤45を加熱して吸着剤45に吸着された水分を脱離させるヒーター49と、を備える。ここに、吸着剤45は、例えば、ゼオライトが好適である。
このような水取得部3において、ハウジング51内の下部には、ポリプロピレン等の硬質素材からなる水タンクTが設けられており、この水タンクTの上開口Taを吸着体44で閉塞している。
吸着体44は、主体となる吸着材45と、吸着剤45の裏面側に配設された網等の通水性がある硬質の裏板46と、吸着剤45の表面側に配設された透湿性且つ非透水性のフィルム47とで構成されている。そして、裏板46は、水タンクTの上開口Taに設けられた受け部48に支持されており、裏板46上に吸着材45が充填され、上開口Taの上端がフィルム47でシールされている。また、吸着体44内には、ヒーター49が設けられている。
また、吸着体44には水搬送部50が嵌挿されており、水搬送部50の下端部が、水タンクTの下部に位置しており、水搬送部50の上端部がハウジング51の上部に位置している。
このような水搬送部50は、棒状の形状とされており、水タンクTに溜まった水を先端(上端)に毛細管現象で搬送するための細い孔を形成したもの又は多孔質の材料で形成されている。
このような水取得部3において、空気中の水分が破線矢印で示すように、フィルム47を介して吸着材45に吸着される。このように空気中の水分が吸着した吸着剤45から水分を脱離させるには、ヒーター49に通電する。そして、ヒーター49により熱せられた吸着剤45からは、水分が脱離する。吸着材45から脱離した水は裏板46から水タンクT内に流れて溜まる。一方、吸着剤45に水分を吸着させるには、ヒーター49への通電を停止する。
このようにして水タンクTに溜まった水Wは、水搬送部50における毛細管現象により、酸性水溶液生成部2へ送られる。酸性水溶液生成部2に送られた水Wは、還元水生成ユニットU、つまり、酸性水溶液生成部2、還元成分生成部4、及び、還元水生成部5により還元水M3とされる。還元水M3は還元水霧化部6により霧化される。還元水霧化部6により霧化された還元水M3は、散布部7として構成されている送風ファンによる送風により還元水ミストとして散布される。
この構成によれば、吸着剤45が空気中の水分を吸着し、吸着剤45に吸着された水分が、酸性水溶液の生成のために使用されるので、酸性水溶液を生成するための水を、装置に通電しなくても空気中から取得できるので、消費電力の抑制を図ることができる。
図5は、本発明の一実施形態に係る還元水ミスト発生装置の具体的構成例4を示す図である。尚、図2に示す還元水ミスト発生装置1と同一の要素は、図2に示す符号と同一の符号が付される。また、説明が省略される。
[具体的構成例4]
以下、「上流」、「下流」との記載は、送風部26から導入される送風に対する上流、下流をそれぞれ示すものとする。
図5に示す還元水ミスト発生装置1において、酸性水溶液生成部2は、貯留部20、放電部25、及び、送風部26を備える。このような酸性水溶液生成部2において、貯留部20は、図1に示す水取得部3としても設けられており、酸性水溶液M1の原料となる水、又は、酸性水溶液M1を貯留する。このような貯留部20は、放電部25の下流側に密着して配置されるタンクであり、その内部空間が、絶縁スペーサ21の貫通孔21aと連通している。
また、酸性水溶液生成部2において、放電部25は、貯留部20と一体形成されており、微小な貫通孔21aを有する絶縁スペーサ21と、絶縁スペーサ21の上流側に配置された上流側電極(第1の電極)22と、絶縁スペーサ21の下流側に配置された下流側電極(第2の電極)23と、上流側電極22及び下流側電極23へ高電圧を印加して、絶縁スペーサ21の貫通孔21aで沿面放電を行って、貫通孔21aで酸性成分の原料を生成するための高電圧印加部24と、を備える。尚、前記第1の電極が前記下流側電極23で構成され、前記第2の電極が前記上流側電極22で構成されることも挙げられる。
このような放電部25において、絶縁スペーサ21はセラミックスボード等の不導体で構成されており、金属等の導体で構成されている上流側電極22及び下流側電極23で挟持された構成とされている。尚、絶縁スペーサ21が有する貫通孔21aの孔径は、数十μm〜数mm程度、好ましくは、数100μmである。尚、前記貫通孔21aは、数100μm程度と非常に微小径に設けているため、空気の流通を確保しながらも、貯留部20に貯留されている水が貫通孔21aに侵入することを、表面張力により防止できる。
また、上流側電極22及び下流側電極23は、高電圧印加部24に接続されている。上流側電極22及び下流側電極23は、高電圧印加部24により、マイクロプラズマ放電用の高電圧が印加される。これにより、上流側電極22及び下流側電極23に挟持された絶縁スペーサ21が有する貫通孔21aで沿面放電が生じる。
また、酸性水溶液生成部2において、送風部26は、放電部25の上流側に位置して設けられており、絶縁スペーサ21の貫通孔21aへ送風を導入する。これにより、貯留部20の外部から貫通孔21aを通過して貯留部20の内部へと行き渡る泡Bを大量に発生させることができ、放電部25の放電により沿面放電が生じている貫通孔21aにおいて酸性成分の原料が大量に生成される。
そして、この貫通孔21aで大量に生成された酸性成分の原料が、送風部26による送風により、貫通部21aと連通して配置された貯留部20へ導入されて、貯留部20に貯留された水へ溶解される。
ここに、酸性成分の原料は、酸性成分が先述した過酸化水素や硝酸である場合には、スーパーオキサイドラジカル、ヒドロキシラジカル、窒素酸化物、硝酸イオンが挙げられる。このような酸性成分の原料が、貯留部20に貯留されている水の中に溶け込んで過酸化水素や硝酸が発生する。
つまり、スーパーオキサイドラジカル、ヒドロキシラジカルが水に溶け込んで過酸化水素が発生して、貯留部20に貯留されている水が、過酸化水素が溶解された水に変質する。また、窒素酸化物、硝酸イオンが水に溶け込んで硝酸が発生して、貯留部20に貯留されている水が、硝酸が溶解された水に変質する。そして、貯留部20に貯留されている水は、過酸化水素や硝酸が溶解された水に変質した際には、過酸化水素や硝酸が、陽イオン及び陰イオンにイオン化することにより、少なくとも陽イオンとして水素イオンが含まれた水となる。
このような酸性水溶液生成部2によれば、放電部25が、貯留部20の上流側において、絶縁スペーサ21が有する貫通孔21aが貯留部20と連通した状態で配置されているので、放電部25と貯留部20とをコンパクトに一体形成できるので、装置全体をコンパクトにすることができる。
また、酸性成分の原料が、放電部25及び送風部26により貯留部20内の水に高濃度で溶解されるため、陽イオンが高濃度に含まれた酸性水溶液M1を生成することができる。
また、図5に示す還元水ミスト発生装置1において、還元成分生成部4は、水素よりもイオン化傾向が大きな元素で構成され、酸性水溶液M1に含まれる水素イオンを還元して、還元成分として水素分子を生成する還元物質4Aと、水素分子の生成量を調節する調節部4Bと、を備える。
このような還元成分生成部4において、還元物質4Aは、本実施形態では亜鉛である。尚、還元物質4Aは亜鉛以外にも、水素よりもイオン化傾向が大きい元素で構成された物質が挙げられる。また、調節部4Bは、還元物質4Aが着脱可能に取り付けられており、還元物質4Aが酸性水溶液M1に浸される範囲を調節する機能を有する。尚、調節部4Bは、本実施形態では、貯留部20の内部空間において上下に移動することが可能な調節棒である。しかしながら、調節部4Bは、貯留部20の内部空間において上下に移動する構成には限られない。
つまり、調節部4Bは、還元物質4Aが酸性水溶液M1に浸される範囲を調節できる機構が挙げられる。例えば、調節部4Bを回転させて還元物質4Aの酸性水溶液M1の液面に対する角度を調節することにより、還元物質4Aが酸性水溶液M1に浸される範囲が調節されてもよい。また、調節部4Bの回転が、手動だけではなく、モータの回転により行われてもよい。
このような還元成分生成部4において、還元物質(亜鉛)4Aは、調節部(調節棒)4Bが貯留部20の内部空間において上下に移動することに伴って、酸性水溶液M1に浸される範囲が大小する。
還元物質(亜鉛)4Aにおいて、酸性水溶液M1に浸された範囲が、酸性水溶液M1に含まれる水素イオンを還元する。すなわち、還元物質(亜鉛)4Aにおいて、酸性水溶液M1に浸された範囲が、酸性成分が酸性水溶液M1においてイオン化して発生した水素イオンへ電子を与え、自らは亜鉛イオンとなる。その結果、水素イオンが電子を受け取って水素原子となり、水素原子が2つづつ結合して水素分子となる。
このような還元成分生成部4によれば、酸性水溶液M1に高濃度で含まれる水素イオンを容易に還元して、還元成分M2として水素分子を生成することができる。また、高濃度で含まれる水素イオンを基に生成される水素分子の生成量を任意かつ容易に調節することができるので、還元水M3として、幅広い水素濃度を有する水素水を容易に発生させることができる。
また、図5に示す還元水ミスト発生装置1において、貯留部20において還元物質4Aの略真上に相当する位置からは還元成分供給管Tが導出されており、この還元成分供給管Tを介して還元水生成部5が接続されている。ここに、還元成分M2である水素分子は空気よりも比重が非常に小さいので還元物質4Aの略真上に上昇するから、還元成分供給管Tが、先述したように、還元物質4Aの略真上から導出されている。
還元成分供給管Tにはポンプ8Aが設けられており、このポンプ8Aが還元成分M2を還元水生成部5へ送り出す。これにより、還元成分M2が還元水生成部5へ導入されて還元水M3が生成される。
また、図5に示す還元水ミスト発生装置1において、還元水生成部5からは還元水供給管9が導出されており、この還元水供給管9を介して還元水霧化部6が接続されている。還元水供給管9にはポンプ8Bが設けられており、このポンプ8Bが還元水M3を還元水霧化部6へ送り出す。還元水霧化部6は、ポンプ8Bにより還元水生成部5から送り出された還元水M3をミスト状に霧化する。還元水霧化部6により霧化された還元水M3は、散布部7により還元水ミストとして散布される。
このような還元水発生装置1によれば、酸性水溶液M1を生成する処理、前記処理により生成された酸性水溶液M1に含まれる陽イオンへ電子を与えて還元して還元成分を生成する処理、前記処理により生成された還元成分を水に溶解させる処理を順次行えば、還元水M3が発生するので、還元水M3を簡便に発生させることができる。
図6は、本発明の一実施形態に係る還元水ミスト発生装置の具体的構成例5を示す図である。尚、図2に示す還元水ミスト発生装置1と同一の要素は、図2に示す符号と同一の符号が付される。また、説明が省略される。
[具体的構成例5]
図6に示す還元水ミスト発生装置1において、還元水霧化部6は、表面弾性波を発生して、表面弾性波により還元水M3を霧化させる表面弾性波発生部64を備える。このような表面弾性波発生部64は、基板61の一表面の一端に設けられ、高周波電源が接続された振動子から構成されている。このような表面弾性波発生部64では、振動子が振動した際には、その振動波が基板61の前記一表面上を表面弾性波となって伝播する。
一方、基板61の前記一表面の他端には凹状の水溜め部20が設けられており、水溜め部20には、水溜め部20に水Wが溜まった状態で水Wに浸される陽極53及び陰極54が設けられている。この陽極53及び陰極54は、水溜め部20に溜まった水Wを電気分解して陰極54側に還元水(ここでは水素水)M3を生成する機能を有している。つまり、陽極53及び陰極54は、先述した、還元水生成ユニットU、つまり、酸性水溶液生成部2、還元成分生成部4、及び、還元水生成部5の機能を1つに集約したものである。
また、このような還元水発生装置1において、水取得部3は、ペルチェ素子38で構成されており、ペルチェ素子38へ通電した際には、ペルチェ素子38の冷却部40による冷却効果により空気中の水分を結露させて水Wを取得する。そして、取得された液体Wは毛細管52を毛細管現象により移動して、基板61上の水溜め部20へと送られる。
このような還元水発生装置1によれば、ペルチェ素子38への通電により取得された水Wは、陽極53及び陰極54により電気分解されて、陰極54側で還元水M3(ここでは水素水)となる。そして、還元水M3は、表面弾性波発生部64により発生され基板61上に伝播される表面弾性波によって霧化され還元水ミストとなり、散布部7として構成されている送風ファンによって還元水ミストとして散布される。
このような還元水ミスト発生装置1によれば、表面弾性波が伝播する振動面を、還元水M3の水面と同じ高さに位置させることができるので、装置1をコンパクトにすることができる。
尚、このような還元水ミスト発生装置1において、水取得部3は、ペルチェ素子38への通電により水Wを取得する構成には限定されない。例えば、具体的構成例1に例示する熱交換器の冷却部を使用する構成、及び、具体的構成例2に例示する吸着剤45による水分吸着効果を使用する構成が挙げられる。
図7は、本発明の一実施形態に係る還元水ミスト発生装置の具体的構成例6を示す図である。尚、図2に示す還元水ミスト発生装置1と同一の要素は、図2に示す符号と同一の符号が付される。また、説明が省略される。
[具体的構成例6]
図7に示す還元水ミスト発生装置1は、理美容機器の1つであるシャワーヘッドX1に内蔵された構成とされている。シャワーヘッドX1は、給水ホース80を通じて供給された水道水を吐出口81よりシャワー状に吐出するものである。
還元水ミスト発生装置1は、水取得部3として、複数の開口部55及び複数の開口部55の各々に対応した給水管56を備えている。このような水取得部3において、給水管56の各々が、還元水生成ユニットUへ通じており、還元水M3を生成するための水が給水管56を通じて還元水生成ユニットUへ供給される。
また、還元水ミスト発生装置1において、還元水生成ユニットUには、アスコルビン酸が充填されたアスコルビン酸カートリッジCが、給水管56に流入した水道水による水圧で、還元水生成ユニットUにより生成された還元水M3が流入し、その後、還元水生成ユニットUに戻ることが可能なように取り付けられている。尚、アスコルビン酸は、元来の性状である固体、及び水中に溶解された状態のいずれの状態とされていてもよい。しかしながら、アスコルビン酸は水溶性であるので、粉末状の状態とされていることが好適である。
このようなアスコルビン酸カートリッジCには、還元水生成ユニットUにより生成された還元水M3が流入する。その際、還元水M3は、アスコルビン酸が溶解されたアスコルビン酸水溶液とされる。
また、還元水ミスト発生装置1において、還元水霧化部6及び散布部7が設けられており、還元水霧化部6及び散布部7により、アスコルビン酸水溶液とされた還元水M3が霧化され、散布される。
このようなシャワーヘッドX1において、給水ホース80を通じてシャワーヘッドX1内に水道水が供給された際には、実線矢印に示すように、水道水の一部が開口部55を通じて給水管56へ流入する。給水管56へ流入した水道水は、還元水生成ユニットUに流入し還元水M3とされる。
還元水生成ユニットUにより生成された還元水M3は、給水管56へ流入した水道水による水圧でアスコルビン酸カートリッジCに流入し、アスコルビン酸カートリッジCに充填されたアスコルビン酸が溶解され、アスコルビン酸水溶液とされる。そして、アスコルビン酸水溶液とされた還元水M3は、アスコルビン酸カートリッジCに流入する水道水による水圧で、還元水生成ユニットUに戻る。
還元水生成ユニットUに戻ったアスコルビン酸水溶液とされた還元水M3は、給水管56へ流入した水道水による水圧で送水管57を通過して、還元水霧化部6に流入する。還元水霧化部6に流入した還元水M3は霧化され、散布部7により還元水ミストとして散布される。
このように、給水ホース80を通じてシャワーヘッドX1内に供給された水道水において、一部の水道水が、アスコルビン酸水溶液とされた還元水M3とされて散布され、残りの水道水が、吐出口81より吐出される。そのため、ユーザは、シャワー状に吐出された水道水を体に浴びるとともに、還元水M3を体に浴びることができるので、シャワーを浴びながら、美容及び健康上の効果(例えば、人の免疫力が向上する。コラーゲンが生成される。風邪の予防や早期回復が図られる。ストレスに対する抵抗力が向上する。発がん性物質の発生が抑制される。等)を得ることができる。
図8は、本発明の一実施形態に係る還元水ミスト発生装置の具体的構成例7を示す図である。尚、図2に示す還元水ミスト発生装置1と同一の要素は、図2に示す符号と同一の符号が付される。また、説明が省略される。
[具体的構成例7]
図8に示す還元水ミスト生成装置1において、還元水霧化部6は、還元水M3に超音波を放射して霧化させる超音波放射素子60を備える。このような超音波放射素子60は、基板61、断熱層62、及び、発熱体63を備える。
超音波放射素子60において、基板61は例えばシリコン基板からなる。また、断熱層62は、基板61の厚み方向の一表面側に形成されており、基板61に比べて熱伝導率が十分に小さな多孔質シリコン層からなる。また、発熱層63は、断熱層62上に形成され、断熱層62よりも熱伝導率及び導電率が大きな金属薄膜(例えば、金薄膜) からなる。
このような超音波放射素子60において、発熱体63 への交流電流の通電に伴う発熱体63と媒体(例えば、空気)との熱交換により、超音波が発生する。
このような超音波放射素子60により、還元水生成部5により生成された還元水M3に対して、超音波が放射される。その結果、還元水M3の液面が順次霧化され、粒径がナノメートルサイズの液滴を還元水ミストとして散布することができる。
図9は、本発明の一実施形態に係る還元水ミスト発生装置の具体的構成例8を示す図である。尚、図2に示す還元水ミスト発生装置1と同一の要素は、図2に示す符号と同一の符号が付される。また、説明が省略される。
[具体的構成例8]
図9に示す還元水ミスト発生装置1において、還元水霧化部6は、放電電極65及び対向電極66と、放電電極65に還元水M3を供給する還元水供給管67と、放電電極65に高電圧を印加する高電圧印加部68と、を備える。
このような還元水霧化部6において、還元水送水管67に流入した還元水M3は、還元水供給管67を通り放電電極65の先端部65aまで送られる。
このように放電電極65に還元水M3が供給された状態で、高電圧印加部68により放電電極65と対向電極66との間に高電圧が印加された際には、放電電極65と対向電極66との間に電界が発生するとともに、放電電極65の先端部65aに供給された還元水M3に電荷が蓄えられる。
その結果、放電電極65の先端部65aに供給された還元水M3と対向電極66との間にクーロン力が働き、還元水M3の液面が局所的に錐状に盛り上がる。このように還元水M3の液面が局所的に錐状に盛り上がった箇所がテーラーコーンTである。
このようにテーラーコーンTが形成されると、該テーラーコーンTの先端に電荷が集中してテーラーコーンTの先端における電界強度が大きくなり、テーラーコーンTの先端に生じるクーロン力が大きくなる。すると、更にテーラーコーンTが成長する。
このようにテーラーコーンTが成長し該テーラーコーンTの先端に電荷が集中して電荷の密度が高密度となると、テーラーコーンTの先端部分の還元水M3が大きなエネルギー(高密度となった電荷の反発力)を受け、表面張力を超えて分裂・飛散(レイリー分裂)を繰り返す。その結果、ナノメートルサイズの粒径を有する還元水M3が大量に発生する。
このような還元水ミスト発生装置1によれば、粒径がナノメートルサイズの液滴を還元水ミストとして大量に散布することができる。尚、図9に示す還元水ミスト発生装置1において、放電電極65及び対向電極66で静電霧化部が構成されているが、対向電極66が必ず設けられていなければならないことはなく、放電電極65のみで静電霧化部が構成されていてもよい。この場合でも、放電電極65において放電が生じて、静電霧化された還元水M3が、図示しない筐体方向などに向かって散布される。
図10は、本発明の一実施形態に係る還元水ミスト発生装置の具体的構成例9を示す図である。尚、図2に示す還元水ミスト発生装置1と同一の要素は、図2に示す符号と同一の符号が付される。また、説明が省略される。
[具体的構成例9]
図10に示す還元水ミスト発生装置1は、美顔器X2に内蔵されて使用されている。このような美顔器X2は、還元水M3を還元水ミストとして放出する還元水ミストノズル11及びスチームを放出するスチームノズル12をそれぞれ1個づつ備えている。
具体的には、スチームを放出する際は水タンクTに貯水された水は、水タンクTと接続されたボイラー11に送られ、ヒーター14で加熱されて気化する。ボイラー11は、スチーム経路15と接続されている。ボイラー11により発生したスチームは、スチーム経路15を通じてスチームノズル12へと送られ、スチームノズル12より吐出される。
一方、還元水ミスト散布の際には、美顔器X2は、水タンクTに貯水された水を、給水管13により、還元水生成ユニットU、すなわち、酸性水溶液生成部2、還元成分生成部4、及び、還元水生成部5へ送り込み、還元水M3を生成する。生成された還元水M3は、還元水供給管9により還元水霧化部6へと送られ、霧化されることで、還元水ミストとして還元水ミストノズル11より吐出される。
図11は、本発明の一実施形態に係る還元水ミスト発生装置の具体的構成例10を示す図である。尚、図2に示す還元水ミスト発生装置1と同一の要素は、図2に示す符号と同一の符号が付される。また、説明が省略される。
[具体的構成例10]
図11に示す還元水ミスト発生装置1は、理美容機器の1つであるサウナスーツX3に内蔵された構成とされている。このようなサウナスーツX3において、還元水M3を加圧するポンプ(加圧部)17、及び、ポンプ17により加圧された還元水M3を射出するための複数の小孔19が、還元水霧化部6及び散布部7の機能を有している。
還元水ミスト発生装置1において、水取得部3より得られた水Wは、還元水生成ユニットU、つまり、酸性水溶液生成部2、還元成分生成部4、及び、還元水生成部5により還元水M3とされる。そして、還元水M3は、ポンプ17によってサウナスーツX3内に張り巡らされた配管18へと供給される。配管18へ供給された還元水M3は、配管18に複数設けられた小孔19より噴霧される。この構成によれば、還元水M3を大量に霧化させて還元水ミストとして散布することができる。
図12は、本発明の一実施形態に係る還元水ミスト発生装置の具体的構成例11を示す図である。尚、図2に示す還元水ミスト発生装置1と同一の要素は、図2に示す符号と同一の符号が付される。また、説明が省略される。
[具体的構成例11]
図12に示す還元水ミスト発生装置1は、理美容機器の1つであるヘアドライヤX4に内蔵された構成とされている。ヘアドライヤX4は、外部の空気を吸入する吸入口82及び加熱された空気を吐出する吐出口83を備え、外部の空気を吸入して加熱した後、加熱された空気を、図中矢印に示す送風として導入する。また、還元水ミスト発生装置1において、散布部7は、還元水M3を送風と平行な方向へ散布するよう構成されている。
このような還元水ミスト発生装置1によれば、ヘアドライヤX4による送風と平行して、還元水M3が還元水ミストとして散布されるので、高濃度かつ大量の還元水が、人の髪に散布されるという効果が奏される。
図13は、本発明の一実施形態に係る還元水ミスト発生装置の具体的構成例12を示す図である。尚、図2に示す還元水ミスト発生装置1と同一の要素は、図2に示す符号と同一の符号が付される。また、説明が省略される。
[具体的構成例12]
図13に示す還元水ミスト発生装置1は、理美容機器の1つであるヘアアイロンX5に内蔵された構成とされている。ヘアアイロンX5は、人の髪と接触し、接触した髪を加熱する一対のアイロン板84A,84Bを備える。このようなヘアアイロンX5は、一対のアイロン板84A,84Bによって髪を加熱させながら、還元水M3を還元水ミストとして髪に散布することができる。
図14は、本発明の一実施形態に係る還元水ミスト発生装置の具体的構成例13を示す図である。尚、図2に示す還元水ミスト発生装置1と同一の要素は、図2に示す符号と同一の符号が付される。また、説明が省略される。
[具体的構成例13]
図14に示す還元水ミスト発生装置1は、理美容機器の1つであるヘアブラシX6に内蔵された構成とされている。ヘアブラシX6は、人の髪を梳かすブラシ85を備える。このようなヘアブラシX6は、ブラシ85により人の髪を梳かしながら、還元水M3を還元水ミストとして髪に散布することができる。
尚、シャワーヘッドX1、美顔器X2、サウナスーツX3、ヘアドライヤX4、ヘアアイロンX5、及び、ヘアブラシX6は、先述した具体的構成例5に示す還元水ミスト発生装置1(図6参照)を内蔵することが好適である。このようなコンパクトな還元水ミスト発生装置1を内蔵することで、理美容機器の小型化及び軽量化が図られるからである。
また、本実施形態に係る還元水ミスト発生装置1は、美顔器、空気調和器、サウナ装置、ユニットバスなど、各種の物品に内蔵させることができる。
本発明の一実施形態に係る還元水ミスト発生装置の機能構成の一例を示すブロック図である。 本発明の一実施形態に係る還元水ミスト発生装置の具体的構成例1を示す図である。 本発明の一実施形態に係る還元水ミスト発生装置の具体的構成例2を示す図である。 本発明の一実施形態に係る還元水ミスト発生装置の具体的構成例3を示す図である。 本発明の一実施形態に係る還元水ミスト発生装置の具体的構成例4を示す図である。 本発明の一実施形態に係る還元水ミスト発生装置の具体的構成例5を示す図である。 本発明の一実施形態に係る還元水ミスト発生装置の具体的構成例6を示す図である。 本発明の一実施形態に係る還元水ミスト発生装置の具体的構成例7を示す図である。 本発明の一実施形態に係る還元水ミスト発生装置の具体的構成例8を示す図である。 本発明の一実施形態に係る還元水ミスト発生装置の具体的構成例9を示す図である。 本発明の一実施形態に係る還元水ミスト発生装置の具体的構成例10を示す図である。 本発明の一実施形態に係る還元水ミスト発生装置の具体的構成例11を示す図である。 本発明の一実施形態に係る還元水ミスト発生装置の具体的構成例12を示す図である。 本発明の一実施形態に係る還元水ミスト発生装置の具体的構成例13を示す図である。
符号の説明
X,X1〜X6 理美容機器
U 還元水生成ユニット
1 還元水ミスト発生装置
2 酸性水溶液生成部
3 水取得部
4 還元成分生成部
4A 還元物質
4B 調節部
5 還元水生成部
6 還元水霧化部
7 散布部
17 ポンプ
19 小孔
20 貯留部
25 放電部
21 絶縁スペーサ
21a 貫通孔
22 上流側電極
23 下流側電極
24 高電圧印加部
26 送風部
34 放熱部
35 冷却部
38 ペルチェ素子
40 冷却面
45 吸着剤
49 ヒーター
53 陽極
54 陰極
60 超音波放射素子
64 表面弾性波発生部
65 放電電極
66 対向電極
M1 酸性水溶液
M2 還元成分
M3 還元水

Claims (13)

  1. 酸性成分が水中でイオン化して発生した陽イオンを還元して得られた還元成分が溶解された還元水を生成するための水を取得する水取得部と、
    前記水取得部により取得された前記水から前記還元水を生成する還元水生成ユニットと、
    前記還元水生成ユニットにより生成された前記還元水を霧化させる還元水霧化部と、
    前記還元水霧化部により霧化された前記還元水を還元水ミストとして散布する散布部と、
    からなる還元水ミスト発生装置を内蔵することを特徴とする還元水ミスト発生装置内蔵型理美容機器。
  2. 前記水取得部が、冷媒ガスを高温高圧に圧縮した後放熱させて冷媒液とする放熱部と、前記冷媒液を減圧した後気化させて前記冷媒ガスとする冷却部と、を備えており、
    前記冷却部による冷却により空気中の水分を結露させて前記水を取得することを特徴とする請求項1に記載の還元水ミスト発生装置内蔵型理美容機器。
  3. 前記水取得部が、冷却面による冷却により、空気中の水分を結露させて前記水を取得するペルチェ素子を備えることを特徴とする請求項1に記載の還元水ミスト発生装置内蔵型理美容機器。
  4. 前記還元水生成ユニットは、
    水中で酸性成分を発生させ、前記水中で発生した前記酸性成分がイオン化して発生する陽イオン及び陰イオンを含む酸性水溶液を生成する酸性水溶液生成部と、
    前記酸性水溶液に含まれる前記陽イオンへ電子を与えて還元して還元成分を生成する還元成分生成部と、
    前記還元成分生成部により生成された前記還元成分を水中で溶解させて、前記還元成分が溶解された還元水を生成する還元水生成部と、
    を備えており、
    前記酸性水溶液生成部は、
    前記酸性水溶液を生成するための水又は前記酸性水溶液を貯留する貯留部と、
    前記貯留部内に配置された第1の電極と、前記貯留部内に配置された第2の電極と、前記第1の電極及び前記第2の電極との間に挟持されて設けられ、前記貯留部と連通する貫通孔を有する絶縁スペーサと、前記第1の電極及び前記第2の電極へ高電圧を印加して、前記絶縁スペーサの前記貫通孔で沿面放電を行って、前記酸性成分の原料を生成するための高電圧印加部と、からなる放電部と、
    前記絶縁スペーサの前記貫通孔へ送風を導入して、前記沿面放電が行われている前記貫通孔で前記酸性成分の原料を生成させ、前記貫通孔で生成された前記酸性成分の原料を前記貯留部に貯留された前記水へ溶解させて前記酸性成分を発生させる送風部と、
    を備えることを特徴とする請求項1乃至3のいずれか一項に記載の還元水ミスト発生装置内蔵型理美容機器。
  5. 前記陽イオンは水素イオンであり、
    前記還元成分生成部は、
    水素よりもイオン化傾向が大きな元素で構成され、前記酸性水溶液に含まれる前記水素イオンを還元して、前記還元成分として水素分子を生成する還元物質と、
    前記水素分子の生成量を調節する調節部と、
    を備えることを特徴とする請求項4に記載の還元水ミスト発生装置内蔵型理美容機器。
  6. 前記還元物質は、前記調節部へ着脱可能にされていることを特徴とする請求項5に記載の還元水ミスト発生装置内蔵型理美容機器。
  7. 前記還元物質は、前記調節部により前記酸性水溶液に浸される範囲が調節可能にされていることを特徴とする請求項5に記載の還元水ミスト発生装置内蔵型理美容機器。
  8. 前記還元水生成ユニットは、前記水取得部により取得された前記水を電気分解する陽極及び陰極を備えており、前記陰極において水素水を前記還元水として生成することを特徴とする請求項1乃至請求項3のいずれか一項に記載の還元水ミスト発生装置内蔵型理美容機器。
  9. 前記還元水生成ユニットは、アスコルビン酸が充填されたアスコルビン酸カートリッジが取り付けられており、前記還元水が、前記アスコルビン酸カートリッジを通過して、アスコルビン酸が溶解された還元水とされることを特徴とする請求項1乃至請求項8のいずれか一項に記載の還元水ミスト発生装置内蔵型理美容機器。
  10. 前記還元水霧化部が、前記還元水に超音波を放射して霧化させる超音波放射素子を備えることを特徴とする請求項1乃至請求項9のいずれか一項に記載の還元水ミスト発生装置内蔵型理美容機器。
  11. 前記還元水霧化部が、表面弾性波を発生して、前記表面弾性波により前記還元水を霧化させる表面弾性波発生部を備えることを特徴とする請求項1乃至請求項9のいずれか一項に記載の還元水ミスト発生装置内蔵型理美容機器。
  12. 前記還元水霧化部が、高電圧が印加されることで発生する高電界により前記還元水を霧化させる静電霧化部を備えることを特徴とする請求項1乃至請求項9のいずれか一項に記載の還元水ミスト発生装置内蔵型理美容機器。
  13. 前記還元水霧化部が、前記還元水を加圧する加圧部と、前記加圧部により加圧された前記還元水を射出するための複数の小孔と、を備えることを特徴とする請求項1乃至請求項9のいずれか一項に記載の還元水ミスト発生装置内蔵型理美容機器。
JP2008254968A 2008-09-25 2008-09-30 還元水ミスト発生装置内蔵型理美容機器 Expired - Fee Related JP5207904B2 (ja)

Priority Applications (6)

Application Number Priority Date Filing Date Title
JP2008254968A JP5207904B2 (ja) 2008-09-30 2008-09-30 還元水ミスト発生装置内蔵型理美容機器
PCT/JP2009/066365 WO2010035707A1 (ja) 2008-09-25 2009-09-18 還元水ミスト発生装置及び電気機器
EP09816122A EP2338610A4 (en) 2008-09-25 2009-09-18 DEVICE FOR PRODUCING MIST FROM REDUCTION WATER AND ELECTRICAL DEVICE THEREFOR
CN2009801381192A CN102170974A (zh) 2008-09-25 2009-09-18 还原水雾产生装置以及电气设备
US13/061,845 US8556237B2 (en) 2008-09-25 2009-09-18 Reduced water mist generating device and electric apparatus
TW098131876A TW201024466A (en) 2008-09-25 2009-09-22 Reduced water mist generating device and electrical equipment

Applications Claiming Priority (1)

Application Number Priority Date Filing Date Title
JP2008254968A JP5207904B2 (ja) 2008-09-30 2008-09-30 還元水ミスト発生装置内蔵型理美容機器

Publications (2)

Publication Number Publication Date
JP2010082212A true JP2010082212A (ja) 2010-04-15
JP5207904B2 JP5207904B2 (ja) 2013-06-12

Family

ID=42246755

Family Applications (1)

Application Number Title Priority Date Filing Date
JP2008254968A Expired - Fee Related JP5207904B2 (ja) 2008-09-25 2008-09-30 還元水ミスト発生装置内蔵型理美容機器

Country Status (1)

Country Link
JP (1) JP5207904B2 (ja)

Cited By (6)

* Cited by examiner, † Cited by third party
Publication number Priority date Publication date Assignee Title
JP2010084201A (ja) * 2008-09-30 2010-04-15 Panasonic Electric Works Co Ltd 還元水発生装置
JP2012019893A (ja) * 2010-07-13 2012-02-02 Sankyo Co Ltd 遊技機
JP2013144015A (ja) * 2012-01-13 2013-07-25 Ya Man Ltd ミスト発生装置
KR101732659B1 (ko) * 2016-10-17 2017-05-24 한동하이드로 주식회사 가역 고분자전해질막 연료전지를 이용한 기능수 제조장치
JP2017086869A (ja) * 2015-11-04 2017-05-25 永井 陽子 水素供給システム
WO2025028086A1 (ja) * 2023-07-28 2025-02-06 パナソニックIpマネジメント株式会社 ヘアアイロン

Families Citing this family (1)

* Cited by examiner, † Cited by third party
Publication number Priority date Publication date Assignee Title
KR101653189B1 (ko) * 2014-09-25 2016-09-01 주식회사 그렌텍 수소수를 이용한 휴대용 미세먼지 제거 살균 스프레이건

Citations (6)

* Cited by examiner, † Cited by third party
Publication number Priority date Publication date Assignee Title
JPH11195947A (ja) * 1998-01-06 1999-07-21 Hokuriku Electric Ind Co Ltd 弾性表面波装置の製造方法
JP2001079549A (ja) * 1999-09-20 2001-03-27 River Suton:Kk 電解水の製造方法、陰極側電解生成水、電解助剤および水の電気分解装置
JP2006095502A (ja) * 2004-09-28 2006-04-13 Takanobu Deguchi ミスト発生装置、還元水ミスト雰囲気形成装置、および美顔器
JP2006334385A (ja) * 2005-06-04 2006-12-14 Masahiro Yamada 美顔器
JP2007117970A (ja) * 2005-10-31 2007-05-17 Matsushita Electric Works Ltd 静電霧化装置
JP2007190084A (ja) * 2006-01-17 2007-08-02 Kyushu Hitachi Maxell Ltd 送風装置、静電霧化器及び送風装置セット

Patent Citations (6)

* Cited by examiner, † Cited by third party
Publication number Priority date Publication date Assignee Title
JPH11195947A (ja) * 1998-01-06 1999-07-21 Hokuriku Electric Ind Co Ltd 弾性表面波装置の製造方法
JP2001079549A (ja) * 1999-09-20 2001-03-27 River Suton:Kk 電解水の製造方法、陰極側電解生成水、電解助剤および水の電気分解装置
JP2006095502A (ja) * 2004-09-28 2006-04-13 Takanobu Deguchi ミスト発生装置、還元水ミスト雰囲気形成装置、および美顔器
JP2006334385A (ja) * 2005-06-04 2006-12-14 Masahiro Yamada 美顔器
JP2007117970A (ja) * 2005-10-31 2007-05-17 Matsushita Electric Works Ltd 静電霧化装置
JP2007190084A (ja) * 2006-01-17 2007-08-02 Kyushu Hitachi Maxell Ltd 送風装置、静電霧化器及び送風装置セット

Cited By (7)

* Cited by examiner, † Cited by third party
Publication number Priority date Publication date Assignee Title
JP2010084201A (ja) * 2008-09-30 2010-04-15 Panasonic Electric Works Co Ltd 還元水発生装置
JP2012019893A (ja) * 2010-07-13 2012-02-02 Sankyo Co Ltd 遊技機
JP2013144015A (ja) * 2012-01-13 2013-07-25 Ya Man Ltd ミスト発生装置
JP2017086869A (ja) * 2015-11-04 2017-05-25 永井 陽子 水素供給システム
JP7025115B2 (ja) 2015-11-04 2022-02-24 永井 陽子 水素供給システム
KR101732659B1 (ko) * 2016-10-17 2017-05-24 한동하이드로 주식회사 가역 고분자전해질막 연료전지를 이용한 기능수 제조장치
WO2025028086A1 (ja) * 2023-07-28 2025-02-06 パナソニックIpマネジメント株式会社 ヘアアイロン

Also Published As

Publication number Publication date
JP5207904B2 (ja) 2013-06-12

Similar Documents

Publication Publication Date Title
US8556237B2 (en) Reduced water mist generating device and electric apparatus
JP5207904B2 (ja) 還元水ミスト発生装置内蔵型理美容機器
JP4625267B2 (ja) 静電霧化装置
RU2674764C2 (ru) Устройство для дезинфекции рук с плазменным и аэрозольным генератором
JP2010082213A (ja) 還元水ミスト散布装置内蔵型ヘアケア機器
JP6370185B2 (ja) ミスト発生装置
JP5324177B2 (ja) 還元水ミスト発生装置、還元水ミスト発生方法
JP5308188B2 (ja) 空気調和機
JP5394032B2 (ja) 還元水発生装置
JP5537010B2 (ja) 植物育成装置
JP4868005B2 (ja) 髪ケア送風装置
JP6465614B2 (ja) ミスト発生装置
JP5523689B2 (ja) 空気調和機
JP2019111158A (ja) ヘアドライヤーおよびヘアドライヤーに装着されるカートリッジ
JP2014014644A (ja) 保湿装置およびそれを搭載する電気機器、ならびに保湿方法
JP4788835B2 (ja) イオンミストによる髪の保湿方法及び髪の保湿装置
JP5342464B2 (ja) 電気器具
JP2018183777A (ja) ミスト発生装置
JP2010196959A (ja) 加湿装置
JP2009011521A (ja) 酸素富化ミスト生成装置
JP5368718B2 (ja) 噴霧装置
HK1156566A (en) Reduced water mist generating device and electrical equipment
JP2010194058A (ja) 空気清浄機
JP2019111156A (ja) 結露水霧化装置およびヘアドライヤー
TW201221225A (en) Electrostatic atomization apparatus

Legal Events

Date Code Title Description
A621 Written request for application examination

Free format text: JAPANESE INTERMEDIATE CODE: A621

Effective date: 20110824

A711 Notification of change in applicant

Free format text: JAPANESE INTERMEDIATE CODE: A712

Effective date: 20120111

A131 Notification of reasons for refusal

Free format text: JAPANESE INTERMEDIATE CODE: A131

Effective date: 20121120

A521 Written amendment

Free format text: JAPANESE INTERMEDIATE CODE: A523

Effective date: 20130111

TRDD Decision of grant or rejection written
A01 Written decision to grant a patent or to grant a registration (utility model)

Free format text: JAPANESE INTERMEDIATE CODE: A01

Effective date: 20130212

A61 First payment of annual fees (during grant procedure)

Free format text: JAPANESE INTERMEDIATE CODE: A61

Effective date: 20130219

FPAY Renewal fee payment (event date is renewal date of database)

Free format text: PAYMENT UNTIL: 20160301

Year of fee payment: 3

R150 Certificate of patent or registration of utility model

Free format text: JAPANESE INTERMEDIATE CODE: R150

LAPS Cancellation because of no payment of annual fees