JP2010075276A - 歯科用照明装置 - Google Patents

歯科用照明装置 Download PDF

Info

Publication number
JP2010075276A
JP2010075276A JP2008244488A JP2008244488A JP2010075276A JP 2010075276 A JP2010075276 A JP 2010075276A JP 2008244488 A JP2008244488 A JP 2008244488A JP 2008244488 A JP2008244488 A JP 2008244488A JP 2010075276 A JP2010075276 A JP 2010075276A
Authority
JP
Japan
Prior art keywords
gas spring
arm
holding
holding member
dental
Prior art date
Legal status (The legal status is an assumption and is not a legal conclusion. Google has not performed a legal analysis and makes no representation as to the accuracy of the status listed.)
Granted
Application number
JP2008244488A
Other languages
English (en)
Other versions
JP5348985B2 (ja
Inventor
Naotaka Teisho
尚孝 貞照
Current Assignee (The listed assignees may be inaccurate. Google has not performed a legal analysis and makes no representation or warranty as to the accuracy of the list.)
GC Corp
Original Assignee
GC Corp
GC Dental Industiral Corp
Priority date (The priority date is an assumption and is not a legal conclusion. Google has not performed a legal analysis and makes no representation as to the accuracy of the date listed.)
Filing date
Publication date
Application filed by GC Corp, GC Dental Industiral Corp filed Critical GC Corp
Priority to JP2008244488A priority Critical patent/JP5348985B2/ja
Publication of JP2010075276A publication Critical patent/JP2010075276A/ja
Application granted granted Critical
Publication of JP5348985B2 publication Critical patent/JP5348985B2/ja
Expired - Fee Related legal-status Critical Current
Anticipated expiration legal-status Critical

Links

Images

Landscapes

  • Dental Tools And Instruments Or Auxiliary Dental Instruments (AREA)
  • Endoscopes (AREA)
  • Non-Portable Lighting Devices Or Systems Thereof (AREA)

Abstract

【課題】ガススプリングの交換を容易にして保守性に優れる歯科用照明装置を提供する。
【解決手段】口腔内を照明可能な歯科用照明装置10であって、光源を有する照明ヘッド13と、一端側が照明ヘッドに連結され、他端側はリンク機構を備えて回動可能とされるアーム20と、を備え、アームは、ケース21、22と、ケースの内側に配置され、リンク機能に作用してアームを所定の位置に留めて保持可能とする保持力を生じるガススプリング40と、ガススプリングの端部に備えられる一対の保持部材30、50と、を有し、ガススプリングは一対の保持部材により挟持されることによりリンク機構に対して保持力を発生するとともに、挟持の状態を解除することにより保持力を除荷して該ガススプリングをアームから離脱することができることを特徴とする。
【選択図】図3

Description

本発明は、歯科において口腔内を照明する歯科用照明装置に関し、詳しくは照明ヘッドを任意の位置に留めて保持するために備えられるアームの保守作業が容易である歯科用照明装置に関する。
歯科治療等の際に口腔内を照明する装置として歯科用照明装置が用いられる。歯科用照明装置は例えば次のように構成されている。支柱を備えるとともにこの支柱の上端に該支柱に対して回動可能に設けられた第一アームが設けられる。さらに、該第一アームの先端に配置され、この第一アームに対して回動可能に設けられた第二アームとを有し、該第二アームの先端に光源を具備する照明ヘッドが取り付けられている。
ここで、当該第二アームにはガススプリング等のスプリング類が配置され、該ガススプリングの反力により、第二アームに保持力を付与することができる。これにより術者が照明ヘッドを適切な位置に移動させるとともに、該照明ヘッドをその位置に保持させることが可能となっている。例えば非特許文献1には、スプリングを備えた医用光学機器が開示されている。これによれば、アームを用いて光学機器を所定の位置に移動させることができるとともに、アーム内に配置されたスプリング等の機器により、該アームや光源を所定の位置に保持させることが可能である。ここでは当該保持力を得るためにスプリングが用いられている。
岡野清、菅谷昭正著、「これからの歯科医院」、株式会社学建書院、1993年5月25日、P82、P107(図5−20)
このように、歯科用のユニットでは機能面だけでなく、その外観も重要であることからこのようなスプリング等の各機器はアームの内側に配置され、外観から隠蔽するように構成される。そしてこれに伴って比較的狭いスペースに各機器を取り付ける必要があった。
そのため、非特許文献1で示したような従来の歯科用のユニットでは、スプリングをはじめとする各機器は、一度設置されてしまうと取り外しが困難な状態でアームに配置される場合が多く、ガススプリングを用いた場合には、ガス抜け等が生じ得るので定期的な交換が必要であり、当該交換やメンテナンス等のための作業が困難であった。その際には、例えば他の機器を含めた全てを取り外さないとガススプリングを外せないこともあり、作業の煩雑を生じていた。
そこで、本発明はかかる問題点に鑑み、ガススプリングの交換を容易にして保守性に優れる歯科用照明装置を提供することを課題とする。
以下、本発明について説明する。なお、本発明の理解を容易にするために添付図面の参照符号を付記するが、それにより本発明が図示の形態に限定されるものではない。
請求項1に記載の発明は、口腔内を照明可能な歯科用照明装置10であって、光源を有する照明ヘッド13と、一端側が照明ヘッドに連結され、他端側はリンク機構を備えて回動可能とされるアーム20と、を備え、アームは、ケース21、22と、ケースの内側に配置され、リンク機構に作用してアームを所定の位置に留めて保持可能とする保持力を生じるガススプリング40と、ガススプリングの端部に備えられる一対の保持部材30、50と、を有し、ガススプリングは一対の保持部材により挟持されることによりリンク機構に対して保持力を発生するとともに、挟持の状態を解除することにより保持力を除荷して該ガススプリングをアームから離脱することができることを特徴とする歯科用照明装置を提供することにより前記課題を解決する。
請求項2に記載の発明は、請求項1に記載の歯科用照明装置10において、ガススプリング40の挟持の状態が解除されることにより、リンク機構の構成要素をアーム20から取り外すことなくアームからガススプリングを離脱させることができることを特徴とする。
請求項3に記載の発明は、請求項1又は2に記載の歯科用照明装置10において、一対の保持部材30、50は、ガススプリング40の一端側に備えられる第一保持部材30、及び他端側に備えられる第二保持部材50であり、ガススプリングは第一保持部材と第二保持部材とにより前記挟持がなされるとともに、第一保持部材又は第二保持部材の少なくとも一方において、ガススプリングに接触する部位が、ガススプリングが発生する反力に平行である方向に移動可能に形成されていることを特徴とする。
本発明の歯科用照明装置によれば、ガススプリング40が挟持されることにより反力(保持力)を生じているので、通常には適切に保持力を得ることができる。一方、ガススプリングを交換等するときには、当該挟持の状態を解除するのみでよく、又は挟持する力を調整するのみで保持力を調整することもできる。従って、ガススプリングの保守や交換を容易に行うことが可能となる。
本発明のこのような作用及び利得は、次に説明する発明を実施するための最良の形態から明らかにされる。
以下、本発明を図面に示す実施形態に基づき説明する。ただし本発明はこれら実施形態に限定されるものではない。
図1は、1つの実施形態にかかる歯科用照明装置10の外観図である。歯科用照明装置10は、支柱11、第一アーム12、第二アーム20、及び照明ヘッド13を備えている。以下に詳しく説明する。
支柱11は、歯科用照明装置10を床や歯科ユニット等に据え付けるために設けられた柱である。従って歯科用照明装置が安定して配置される程度の剛性や強度を備えている。そして、その一端は床や歯科ユニット等に固定されている。また、支柱は中空となっておりその内側に配線等が通されている。
第一アーム12は、管状の長尺部材で、その一端が支柱11の端部のうち床や歯科ユニット等に固定されていない側の端部に取り付けられている。ここで、第一アーム12は、該第一アーム12の長手方向が、支柱11の長手方向に略直交するように取り付けられるとともに、第一アーム12は当該直交する面内を回動することができるようにされている。これにより後述する第二アーム20と合わせて、照明ヘッド13を必要な位置に移動させることが可能となる。また、管状である内側には配線等が通されている。
第二アーム20も管状の部材で、その一端近傍が第一アーム12の他端近傍に取り付けられている。ここで、第二アーム20は、該第二アーム20の長手方向が第一アーム12の長手方向に略直交するように取り付けられる。このとき、第二アーム20は取り付けられた部位を中心に、第一アーム12の長手方向に平行な面内、及び直交する面内を回動することができるようにされている。これにより上述した第一アーム12と合わせて、照明ヘッド13を必要な位置に移動させることが可能となる。このような回動自在に形成するためには、いわゆる自在継手を用いることができる。また、管状である外郭を形成するケース21、22の内側には後で詳しく説明するように各機能を有する部材が備えられている。
照明ヘッド13は、光源を備えることにより光を出射する部位であり、その外観視では、保持部材14、把手15、15、フレーム16、前面パネル17、及びカバー18を備えている。
保持部材14は、フレーム16と第二アーム20とを連結する部材である。本実施形態では弓状に曲げられた部材の凸状の一部が第二アーム20の他端側に取り付けられ、該弓状の両端部がフレーム16に連結されている。第二アーム20と保持部材14とは、その取り付け部分で保持部材14が首振り及び回動自在に取り付けられ、利用時の便宜が図られている。
把手15、15は、フレーム16の背面部(第二アーム20側)から照明ヘッド13の前面側(出光面側)に延在し、いわゆる持ち手を形成する部材である。使用者は当該把手15、15を掴んで照明ヘッド13を引き寄せたり押し戻したりして任意の位置に移動させることができる。
フレーム16は椀状の部材で、その外側には上記のように保持部材14や把手15、15が具備されている。一方、フレームの内側には光源が配置されている。
前面パネル17は、椀状である上記フレーム16の前面側開口部にかぶせられるように配置されるパネルであり、光を透過可能に形成されている。光源から出射された照明光が前面パネル17を透過して照明として出光される。ここで、前面パネル17を透過して出光される光は、フレーム16の内側に設けられた反射板により、光源からの光が反射された反射光であり、当該反射板の作用によりいわゆる無影灯として機能するものとなっている。
カバー18は、前面パネル17の略中央で該前面パネル17の前面側に備えられ、光を透過しない材料により形成されている。カバー18は、特に光源の正面に配置され、光源から直接外部に出光しようとする光を遮断している。
外観において歯科用照明装置10は以上のような構成を備えている。また、上記したように支柱11、第一アーム12、第二アーム20は中空状に形成されて、各種部材がその内側に隠蔽されて配置されている。これにより、外観が良好である歯科用照明装置10を提供することができる。以下、第二アーム20の内側に配置されている各部材について説明する。図2は、図1で示した歯科用照明装置10の第二アーム20のケース21、22を除外して表した図である。また図3は、図2のうち当該第二アーム20の部分を拡大して示した図である。図1〜図3及び適宜示す図を参照しつつ第二アーム20についてさらに詳しく説明する。
第二アーム20は、ケース21、22の他、基体23、23、ブレーキ24、第一保持部材30、ガススプリング40、第二保持部材50、エアシリンダ28、リミットスイッチ29、連結アーム60、65を備えている。
基体23、23は、ケース21、22の内側の長手方向に沿って略平行に延在する2枚の平板状の長尺部材で、後述する連結アーム60、65の基体側軸61、63で、該連結アーム60、65に軸着されるとともに2枚である基体21、22も互いに連結されている。基体23、23は、第二アーム20の内郭の骨子を形成している。
そして、基体23、23の間にブレーキ24、第一保持部材30、ガススプリング40、第二保持部材50、エアシリンダ28、及びリミットスイッチ29が配置されている。また、基体23、23の側面には所定の間隔で孔23a、23a、…が設けられている。これにより、基体23、23の軽量化、すなわち第二アーム20の軽量化を図ることが可能となる。さらに、ガススプリング40と第二保持部材50とが連結される部位には、長手方向に長いスリット23b、23bが設けられている。当該スリット23b、23bについては後で説明する。
ブレーキ24は、第二アーム20の上下動に対して適切な抵抗を与える部材である。具体的には基体23、23に当該抵抗力を作用させて第二アーム20を任意の位置に留めて保持することができる。このようなブレーキ24の作用は、後で詳しく説明するガススプリング40の作用と共通するものであるが、当該ブレーキ24は、ガススプリング40の当該保持力を補助する位置づけで備えられている。これにより、仮にガススプリング40に不具合(ガス抜けによる保持力の低下)があっても、ブレーキ24によって第二アーム20の降下を防止することができる。当該ブレーキはリンク機構に対してその移動・回動に抵抗を与えることができるような機器であれば特に限定されるものではない。その中でも本実施形態では、図4に示したようなブレーキ24を適用している。ブレーキ24は、直方体状の本体25、弾性部材26、26、及び連結部材27、27、27、27を有している。本体25には、その上下を貫通する孔25b、25b、25b、25bが設けられ、ここにネジ等の固定部材を通して本体25をケース22に固定する。さらに、本体25には、2枚の基体間を渡す方向に貫通孔25aが設けられこの中に弾性部材26、26が挿入されるとともに、その両端を連結部材27、27、27、27でおさえる。また、連結部材27、27、27、27はその一端が本体25から突出するように形成されており、当該突出した部分が、基体23、23の孔23b、23b、…内に挿入され基体23、23とブレーキ24とが連結される。これにより、ブレーキ24は、ケース22と基体23、23の両方に連結されて、後述するリンク機構においてブレーキをかける役割を有する。
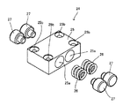
第一保持部材30は、ガススプリング40の一端を保持する部材である。図5には第一保持部材30、ガススプリング40、及び第二保持部材50が組み合わされたときの図、図6には第一保持部材30の分解斜視図をそれぞれ示した。図6からわかるように、第一保持部材30は、固定部材31、連結部材32、連結棒35、及び昇降操作部材36を備えている。
固定部材31は、門型のブロック状の部材でその一側面からこれに対向する側面に貫通し、下面側にも開口する溝31bが設けられている。また、固定部材31には、該固定部材31の上面から溝31bに貫通する孔31aが備えられている。さらには固定部材31の上面の4角近傍にも孔31c、31c、…が設けられており、不図示のねじにより、固定部材31とケース22とを連結している。これにより、ガススプリング40の一端側が固定部材31を介してケース22と連結する。
連結部材32は、略球状で上下方向に貫通するネジ孔33aを具備する昇降部33と、断面コ字状のガススプリング連結部34とが備えられる。ガススプリング連結部34の対向する片の先端部には、底面が半円状である溝34a、34aが設けられている。
連結棒35は、丸棒であり、後述するようにガススプリング40の一端の貫通孔43aに通される。昇降操作部材36は円柱状の部材で、その外周面にはネジ溝36aが形成されている。そしてその上面には工具を差し込み、操作するための操作部36bが設けられている。
このような部材を有する第一保持部材30は、例えば次のように組み合わされる。すなわち雄ネジ状である昇降操作部材36のネジ溝36aが、雌ネジ状であるネジ孔33aに螺合して昇降部33と連結される。このとき、図6にDで示した溝31bの幅は、図6にCで示した昇降部33の幅より大きく形成されているので、昇降操作部材36の回動操作により連結部材32が溝31b内を昇降することが可能となっている。これにより連結部材32に連結されるガススプリング40の一端が固定部材31を介してケース22に固定される。
ガススプリング40は、圧縮ばねタイプの通常のガススプリングである。図7には、ガススプリング40の外観図を示した。ガススプリング40は、シリンダ41、ロッド42、ロッド側連結部43、及びシリンダ側連結部44が設けられている。すなわち、ロッド42がシリンダ41内に入子式に組み合わされ、ロッド42がシリンダ41内に侵入することにより、シリンダ41内に具備された高圧ガスが圧縮される。これにより当該ガススプリング40は反力を発生する。また、ガススプリング40を他の機器に連結するとともに、ここに生じた反力を当該他の機器にも作用させるために、シリンダ41及びロッド42のそれぞれにシリンダ側連結部44、及びロッド側連結部43が取りつけられている。具体的には、シリンダ側連結部44、及びロッド側連結部43のそれぞれに貫通孔44a、43aが設けられ、後述するようにここに連結棒が差し込まれる。
第二保持部材50は、ガススプリング40の他端を保持し、これを基体23、23に固定する部材である。図8に第二保持部材50の分解斜視図を示した。第二保持部材50は図8からわかるように、連結部材51、連結棒54、おさえ部材55、55、操作部材56、及び固定部材57を有している。
連結部材51はさらに棒体52と、ガススプリング連結部53とを備えている。棒体52は丸棒であり、その外周面はネジ溝が設けられたネジ部52aとされている。一方、ガススプリング連結部53は、棒体52の一端に取り付けられた部材で断面コ字状の部材である。当該断面コ字状である真中に備えられる片の外側が棒体52の一端面に取り付けられている。また、断面コ字状である対向する片の先端部には、底面が半円状である溝53a、53aが設けられている。
連結棒54は丸棒であり、その径はガススプリング連結部53の溝53a、53aの内側に挿入することができる大きさとなっている。また、連結棒54の両方の端部54a、54aは若干細く形成されている。この端部54a、54aの径は、上記した基体23、23のスリット23b、23b(図3参照)と略同一、又は若干小さいものとされている。
おさえ部材55、55は環状の部材で、その内側に連結棒54を挿入することができる。これにより後述するように、連結部材51、連結棒54、及びガススプリング40の連結を安定したものとすることができる。
操作部材56は厚肉円筒状の部材で、その内面には連結部材51のネジ部52aに螺合するネジ溝56aが形成されている。また、操作部材56の外周面には、孔56b、56b、…が設けられている。これにより操作部材56を連結部材51のネジ部52aに螺合した状態で当該孔56b、56b、…に工具等を差し込んで操作部材56を回動させることができる。
固定部材57は、厚肉円筒状である円筒部57a、及び固定部57c、57cを有している。円筒部57aの貫通孔57bの径は、連結部材51の棒体52の径より大きく、操作部材56の外周の径よりも小さく形成されている。これにより、操作部材56は固定部材57の貫通孔57bの内側に入れずに該固定部材57の一方側に留まるとともに、連結部材51の棒体52は、貫通孔57b内を移動することが可能となる。
固定部57cは円筒部57aの外周面の対向する位置から該外周面に立設するような形状となっている。これにより固定部材57の一方向の幅が広げられる。当該広げられた幅の大きさは、上記した基体23、23(図3参照)間と略同じになるようにされている。また、固定部57cの端面にはネジ穴57d、57dが設けられ、ここに不図示のネジがはめ込まれて基体23、23(図3参照)に固定される。これにより第二保持部材50が基体23、23に固定され、これを介してガススプリング40の他端も基体23、23に固定される。
ここまで説明した第一保持部材30、ガススプリング40、及び第二保持部材50の組み立ては以下に説明するようにおこなわれる。図5は、当該第一保持部材30、ガススプリング40、及び第二保持部材50が組み合わされた場面で、これらが基体23、23(図3参照)に取り付けられたときの姿勢を表した図である。また、図9は図5にEで示した部位を拡大した図、図10は図5にFで示した部位を拡大した図である。
ガススプリング40と第二保持部材50との連結は次の通りである。すなわち、図5、図9に示したように、ガススプリング40のシリンダ側連結部44の貫通孔44a(図7参照)に連結棒54が通される。そして連結棒54の両端部にはおさえ部材55、55が嵌め込まれる。このとき連結棒54の端部54a、54aはおさえ部材55、55の外に突出するように該おさえ部材55、55が嵌め込まれる。このように連結棒54、及びおさえ部材55、55がガススプリング40のシリンダ側連結部44に取り付けられた状態で、シリンダ側連結部44の先端がガススプリング連結部53のコ字状の内側に挿入されるとともに、連結棒54が2つの溝53a、53a内に渡されるように配置される。これにより、通常は、ガススプリング40と第二保持部材50とは連結されているが、図9にGで示した矢印の方向にガススプリング40を第二保持部材50から抜き取ることができる。また連結棒54の小径である端部54a、54aは、基体23、23のスリット23b、23b内に配置される(図3参照)。
一方、棒体52のネジ部52aには操作部材56が螺合されるとともに、該棒体52の端部は基体23、23に固定された固定部材57の貫通孔57bに通される。
ガススプリング40と第一保持部材30との連結は次の通りである。すなわち、図5、図10に示したように、ガススプリング40のロッド側連結部43の貫通孔43a(図7参照)に連結棒35が通される。このように連結棒35がガススプリング40のロッド側連結部43に取り付けられた状態で、ロッド側連結部43の先端がガススプリング連結部34のコ字状である内側に挿入されるとともに、連結棒35が2つの溝34a、34a内に渡されるように配置される。これにより、通常は、ガススプリング40と第一保持部材30とは連結されているが、図10にHで示した矢印の方向にガススプリング40を第一保持部材30から抜き取ることができる。
一方、連結部材32の昇降部33は固定部材31の下方に配置されるとともに、ネジ孔33aが昇降操作部材36のネジ溝に螺合される。ここで、昇降部33は、固定部材31の溝31b内を昇降することができるが、ガススプリング40が機能している状態(通常の使用状態)においては、昇降部33は、固定部材31の下方に配置される。
また、固定部材31は不図示のネジによってケース22と連結しており、ここに図5、図10に矢印Kで示したガススプリング40の反力を作用させている。これにより、当該反力が、リンク機構を介して第二アーム20に対してその動きを妨げるいわゆるブレーキとして作用して保持力を生じ、第二アーム20を所定位置に保持させることができる。
ここで、通常の状態においてこのような反力を生じさせるため、図5にEで示した部分からわかるように、棒体52のより多くの部分を固定部材57よりガススプリング40側に配置させる。これによりガススプリング40のシリンダ41が図5にJで示した矢印方向に移動し、その移動量に応じた反力を発生させることができる。棒体52を移動させるためにはここに螺合している操作部材56を回動させることによりおこなう。このように、歯科用照明装置10では、ガススプリング40の反力、すなわちアームの保持力を容易に調整することも可能である。
図3に戻り、引き続き基体23、23に備えられる部材について説明する。エアシリンダ28は、第二アーム20の移動を手動によらず例えば不図示のパネルスイッチ等で上下させるための動力源である。従って、歯科用照明装置10では、照明ヘッド13の把手15、15を掴んで直接照明ヘッド13を上下させる他、不図示のパネルスイッチ等によっても移動されることができるように構成されている。
リミットスイッチ29は、上記エアシリンダ28を用いて第二アーム20を上下させたときに、照明ヘッド13や第二アーム20が人や他の部材、機器に衝突しないようにその移動範囲を制限するスイッチである。これにより、手動によらない照明ヘッド13の移動における安全が図られている。
連結アーム60は、第二アーム20を第一アーム12に連結する部材で、その一端側が第一アーム12に、他端側が第二アーム20にそれぞれ軸着されている。ここで、連結アーム60と第二アーム20との連結は次のように行われている。図11に説明のための図を示した。連結アーム60は、第二アーム20と2つの軸、すなわち基体側軸61とケース側軸62により連結されている。図11aに示したように、連結アーム60と基体23、23とは基体側軸61により軸着されている。一方、図11bに示したように連結アーム60とケース22とはケース側軸62により軸着されている。これにより後述するようなリンク機構が形成される。
連結アーム65は、第二アーム20を照明ヘッド13に連結する部材で、その一端側が照明ヘッド13に、他端側が第二アーム20にそれぞれ軸着されている。ここで、連結アーム65と第二アーム20との連結は次のように行われている。図12に説明のための図を示した。連結アーム65は、第二アーム20と2つの軸、すなわち基体側軸63とケース側軸64により連結されている。図12(a)に示したように、連結アーム65と基体23、23とは基体側軸63により軸着されている。一方、図12(b)に示したように連結アーム60とケース22とはケース側軸64により軸着されている。これにより後述するようなリンク機構が形成される。
以上説明したような第二アーム20により次のようなリンク機構が形成される。図13に当該リンク機構を概念的に示した。すなわち、基体23、23、連結アーム65、ケース22、及び連結アーム60により4節のリンク機構が形成される。そして基体23、23とケース22とを渡すようにブレーキ24及びガススプリング40が設けられており、4節リンク機構の動きを規制している。これにより第二アーム20を所定の位置に保持することが可能となる。
以上説明したように、歯科用照明装置10では、第一保持部材30と第二保持部材50とによりガススプリング40を挟持している。したがって、ガススプリング40の交換を容易にして保守性に優れるものとすることができる。以下に具体的にガススプリング40をとりはずす手順について説明する。
はじめに通常の状態である図5に示した姿勢から第二保持部材50の操作部材56を回動させて、図14に示した状態にする。これにより、操作部材56とネジ部52aとの関係からガススプリング連結部53、及びガススプリング40のシリンダ部41が図14に矢印Lで示した方向に移動する。シリンダ部41の当該矢印Lの方向への移動はガススプリング40が生じる反力を下げる方向への移動であるから、これによりガススプリング40の反力を下げることができる。このとき、基体23、23のスリット23b、23b内に配置されている連結棒54の端部54a、54aは当該スリット23b、23b内を移動する。
次に第一保持部材30において、図15aに示した姿勢から昇降操作部材36を操作して図15bに示した姿勢とする。すなわち昇降操作部材36を回動させて連結部材32の昇降部33を上昇させる。これにより当該昇降部33を溝31b内を上昇する。本実施形態ではこのように、連結部材32を昇降可能とすることにより、取り外しの際における他部材への干渉を防止することができる。従って、よりコンパクトに各部材を収めることが可能となる。
これによりガススプリング40のロッド側連結部43と第一保持部材30とを離脱させるとともに、シリンダ側連結部44と第二保持部材50とを離脱可能となる。一方、離脱させたガススプリング40や交換用のガススプリングを第一保持部材30、第二保持部材50に取り付けるには、上記手順を逆におこなえばよい。
このように、本発明の歯科用照明によれば、ガススプリングのメンテナンスや着脱をするに際し、他の部材をはずす必要がない。従って当該メンテナンス、ガススプリングの交換を容易におこなうことが可能となる。
以上、現時点においてもっとも実践的であり、かつ、好ましいと思われる実施形態に関連して本発明を説明したが、本発明は本願明細書中に開示された実施形態に限定されるものではなく、特許請求の範囲及び明細書全体から読み取れる発明の要旨、又は思想に反しない範囲で適宜変更可能であり、そのような変更を伴う歯科用照明装置もまた本発明の技術的範囲に包含されるものとして理解されなければならない。
第一実施形態に係る本発明の歯科用照明装置の外観図である。 図1に示した歯科用照明装置のうち第二アームのケースをはずした図である。 第二アームに注目した図である。 ブレーキの分解斜視図である。 第一保持部材、第二保持部材、及びガススプリングを拡大した図である。 第一保持部材の分解斜視図である。 ガススプリングの外観斜視図である。 第二保持部材の分解斜視図である。 図5にEで示した部分の斜視図である。 図5にFで示した部分の斜視図である。 連結アームと第二アームとの連結を説明するための図である。 連結アームと第二アームとの連結を説明するための図である。 リンク機構の概念図である。 ガススプリングを離脱する手順を説明する図である。 ガススプリングを離脱する手順を説明する図である。
符号の説明
10 歯科用照明装置
11 支柱
12 第一アーム
13 照明ヘッド
14 保持部材
15 把手
16 フレーム
17 前面パネル
18 カバー
20 第二アーム
21 ケース
22 ケース
23 基体
23a 孔
23b スリット
24 ブレーキ
25 本体
25a 貫通孔
25b 孔
26 弾性部材
27 連結部材
28 エアシリンダ
29 リミットスイッチ
30 第一保持部材
31 固定部材
31a 孔
31b 溝
31c 孔
32 連結部材
33 昇降部
33a ネジ孔
34 ガススプリング連結部
34a 溝
35 連結棒
36 昇降操作部材
36a ネジ溝
36b 操作部
40 ガススプリング
41 シリンダ
42 ロッド
43 ロッド側連結部
43a 貫通孔
44 シリンダ側連結部
44a 貫通孔
50 第二保持部材
51 連結部材
52 棒体
52a ネジ部
53 ガススプリング連結部
53a 溝
54 連結棒
54a 端部
55 おさえ部材
56 操作部材
56a ネジ溝
56b 孔
57 固定部材
57a 円筒部
57b 貫通孔
57c 固定部
57d ネジ穴
60 連結アーム
61 基体側軸
62 ケース側軸
63 基体側軸
64 ケース側軸
65 連結アーム

Claims (3)

  1. 口腔内を照明可能な歯科用照明装置であって、光源を有する照明ヘッドと、一端側が前記照明ヘッドに連結され、他端側はリンク機構を備えて回動可能とされるアームと、を備え、
    前記アームは、ケースと、前記ケースの内側に配置され、前記リンク機構に作用して前記アームを所定の位置に留めて保持可能とする保持力を生じるガススプリングと、
    前記ガススプリングの端部に備えられる一対の保持部材と、を有し、
    前記ガススプリングは前記一対の保持部材により挟持されることにより前記リンク機構に対して前記保持力を発生するとともに、前記挟持の状態を解除することにより前記保持力を除荷して該ガススプリングを前記アームから離脱することができることを特徴とする歯科用照明装置。
  2. 前記ガススプリングの前記挟持の状態が解除されることにより、前記リンク機構の構成要素を前記アームから取り外すことなく前記アームから前記ガススプリングを離脱させることができることを特徴とする請求項1に記載の歯科用照明装置。
  3. 前記一対の保持部材は、前記ガススプリングの一端側に備えられる第一保持部材、及び他端側に備えられる第二保持部材であり、前記ガススプリングは前記第一保持部材と前記第二保持部材とにより前記挟持がなされるとともに、
    前記第一保持部材又は前記第二保持部材の少なくとも一方において、前記ガススプリングに接触する部位が、前記ガススプリングが発生させる反力に平行である方向に移動可能に形成されていることを特徴とする請求項1又は2に記載の歯科用照明装置。
JP2008244488A 2008-09-24 2008-09-24 歯科用照明装置 Expired - Fee Related JP5348985B2 (ja)

Priority Applications (1)

Application Number Priority Date Filing Date Title
JP2008244488A JP5348985B2 (ja) 2008-09-24 2008-09-24 歯科用照明装置

Applications Claiming Priority (1)

Application Number Priority Date Filing Date Title
JP2008244488A JP5348985B2 (ja) 2008-09-24 2008-09-24 歯科用照明装置

Publications (2)

Publication Number Publication Date
JP2010075276A true JP2010075276A (ja) 2010-04-08
JP5348985B2 JP5348985B2 (ja) 2013-11-20

Family

ID=42206474

Family Applications (1)

Application Number Title Priority Date Filing Date
JP2008244488A Expired - Fee Related JP5348985B2 (ja) 2008-09-24 2008-09-24 歯科用照明装置

Country Status (1)

Country Link
JP (1) JP5348985B2 (ja)

Citations (5)

* Cited by examiner, † Cited by third party
Publication number Priority date Publication date Assignee Title
JPH0199512A (ja) * 1987-10-13 1989-04-18 Shiroki Corp シート
JPH0522718Y2 (ja) * 1991-12-13 1993-06-10
JPH06324529A (ja) * 1993-05-17 1994-11-25 Canon Inc 上下2分割可能な画像形成装置
JPH11278612A (ja) * 1998-03-27 1999-10-12 Okamura Corp 可動荷台型の垂直貯留装置における付勢手段の取付構造
JP2003334204A (ja) * 2002-05-18 2003-11-25 Carl Zeiss:Fa 医療機器用担持装置

Patent Citations (5)

* Cited by examiner, † Cited by third party
Publication number Priority date Publication date Assignee Title
JPH0199512A (ja) * 1987-10-13 1989-04-18 Shiroki Corp シート
JPH0522718Y2 (ja) * 1991-12-13 1993-06-10
JPH06324529A (ja) * 1993-05-17 1994-11-25 Canon Inc 上下2分割可能な画像形成装置
JPH11278612A (ja) * 1998-03-27 1999-10-12 Okamura Corp 可動荷台型の垂直貯留装置における付勢手段の取付構造
JP2003334204A (ja) * 2002-05-18 2003-11-25 Carl Zeiss:Fa 医療機器用担持装置

Also Published As

Publication number Publication date
JP5348985B2 (ja) 2013-11-20

Similar Documents

Publication Publication Date Title
JP5829764B2 (ja) 照明装置
US5870081A (en) Mouse housing structure
JP6725580B2 (ja) ロボット用重力バランサおよびロボット
US20200315739A1 (en) Releasable Attachment Device for Coupling to Medical Devices and Related Systems and Methods
JP4078518B2 (ja) 医療用顕微鏡
KR101007903B1 (ko) 관절 구조가 개선된 스탠드 장치
JP6303517B2 (ja) プロジェクター支持装置
JP5348985B2 (ja) 歯科用照明装置
JP2022517545A (ja) 医療器具を支持するための支持アーム装置
CN114711980B (zh) 腔镜手术摄像头支撑系统
JP2009245615A (ja) 照明器具
JP5246920B2 (ja) 照明器具
JPH02239854A (ja) 手術用器具支持装置
JP2005007189A (ja) 手術器具保持装置
JP6612671B2 (ja) ベッド用側柵の固定部材
JP4579090B2 (ja)
CN220089534U (zh) 一种用于外科手术的支架
JP2000041754A (ja) 机、及びこれに用いる棚装置の利用方法
CN114869477B (zh) 一种机械臂末端夹持装置及具有其的手术导航机器人
JP2001137258A (ja) 医療器具保持装置
JP2003290141A (ja) 内視鏡用光源装置
JP7360761B1 (ja) 手術支援装置
JP4215680B2 (ja) 耳鼻科用顕微鏡装置
JP3873083B2 (ja) 転倒防止装置
JP5172533B2 (ja) 機器保持装置用のエアースイッチ構造

Legal Events

Date Code Title Description
RD01 Notification of change of attorney

Free format text: JAPANESE INTERMEDIATE CODE: A7421

Effective date: 20101101

A621 Written request for application examination

Free format text: JAPANESE INTERMEDIATE CODE: A621

Effective date: 20110616

A131 Notification of reasons for refusal

Free format text: JAPANESE INTERMEDIATE CODE: A131

Effective date: 20130115

A521 Request for written amendment filed

Free format text: JAPANESE INTERMEDIATE CODE: A523

Effective date: 20130318

A131 Notification of reasons for refusal

Free format text: JAPANESE INTERMEDIATE CODE: A131

Effective date: 20130507

A521 Request for written amendment filed

Free format text: JAPANESE INTERMEDIATE CODE: A523

Effective date: 20130704

TRDD Decision of grant or rejection written
A01 Written decision to grant a patent or to grant a registration (utility model)

Free format text: JAPANESE INTERMEDIATE CODE: A01

Effective date: 20130806

A61 First payment of annual fees (during grant procedure)

Free format text: JAPANESE INTERMEDIATE CODE: A61

Effective date: 20130820

R150 Certificate of patent or registration of utility model

Ref document number: 5348985

Country of ref document: JP

Free format text: JAPANESE INTERMEDIATE CODE: R150

Free format text: JAPANESE INTERMEDIATE CODE: R150

R250 Receipt of annual fees

Free format text: JAPANESE INTERMEDIATE CODE: R250

R250 Receipt of annual fees

Free format text: JAPANESE INTERMEDIATE CODE: R250

LAPS Cancellation because of no payment of annual fees