JP2010075135A - 魚釣用スピニングリール - Google Patents

魚釣用スピニングリール Download PDF

Info

Publication number
JP2010075135A
JP2010075135A JP2008249691A JP2008249691A JP2010075135A JP 2010075135 A JP2010075135 A JP 2010075135A JP 2008249691 A JP2008249691 A JP 2008249691A JP 2008249691 A JP2008249691 A JP 2008249691A JP 2010075135 A JP2010075135 A JP 2010075135A
Authority
JP
Japan
Prior art keywords
spool
state
drag
switching
shaft
Prior art date
Legal status (The legal status is an assumption and is not a legal conclusion. Google has not performed a legal analysis and makes no representation as to the accuracy of the status listed.)
Granted
Application number
JP2008249691A
Other languages
English (en)
Other versions
JP4928523B2 (ja
Inventor
Naoki Hoshi
直樹 星
Current Assignee (The listed assignees may be inaccurate. Google has not performed a legal analysis and makes no representation or warranty as to the accuracy of the list.)
Globeride Inc
Original Assignee
Globeride Inc
Priority date (The priority date is an assumption and is not a legal conclusion. Google has not performed a legal analysis and makes no representation as to the accuracy of the date listed.)
Filing date
Publication date
Application filed by Globeride Inc filed Critical Globeride Inc
Priority to JP2008249691A priority Critical patent/JP4928523B2/ja
Publication of JP2010075135A publication Critical patent/JP2010075135A/ja
Application granted granted Critical
Publication of JP4928523B2 publication Critical patent/JP4928523B2/ja
Expired - Fee Related legal-status Critical Current
Anticipated expiration legal-status Critical

Links

Images

Abstract

【課題】リール全体を大型化することなく十分なドラグ力が得られ、誤動作が生じることのない魚釣用スピニングリールを提供する。
【解決手段】魚釣用スピニングリールは、スプール軸3aに設置され、釣糸が巻回される釣糸巻回胴部3Cを備えたスプール3と、ハンドルの巻き取り操作で回転し、釣糸案内部を介してスプール3に釣糸を巻回可能とするロータと、スプール3をドラグ作動状態とフリー状態に切換える切換機構25と、を有する。そして、スプール3の釣糸巻回胴部3Cの後方側に、釣糸巻回胴部3Cに対して回転可能となるように切換機構25の切換部材を設け、切換部材27の回転操作でスプール3をドラグ作動状態からフリー状態に切換可能としたことを特徴とする。
【選択図】図2

Description

本発明は、スプールの回転に抵抗を与えるドラグ機構を設けた魚釣用スピニングリールに関する。
魚釣用スピニングリールの中には、釣糸が巻回されるスプールに回転抵抗を与えるドラグ機構を、作動状態(スプールに対してドラグ力が作用する状態)と、非作動状態(スプールフリー状態;スプールが完全にフリーになる状態とサブドラグ機構によってドラグ力が作用する状態を含む)とに切換える切換機構を備えたものが知られている。例えば、特許文献1には、切換機構を、スプールとスプール軸との間に設けて、リール本体内における各種駆動機構系統の簡素化を図り、リール本体の小型・軽量化を可能にした魚釣用スピニングリールが開示されている。
この公知技術の切換機構は、スプールの前部中央に押しボタン式の操作部材を設け、この操作部材を後方に向けて押圧操作することで、ドラグ作動状態の連結系統を解除してスプールフリー状態に切換えるよう構成されている。また、この公知の魚釣用スピニングリールは、ハンドルの回転操作に連動するロータの巻き取り方向の回転によって、スプールフリー状態からドラグ作動状態に復帰させる復帰機構を備えている。
特開平3−53836号
上記した構成の魚釣用スピニングリールでは、スプール前部の中央部に切換用のボタンを設ける構成のため、ドラグ機構のスペースが制約されてしまい、十分なドラグ力を維持することができない。この場合、十分なドラグ力を確保するためには、更にスペースが必要になると共に、ボタンのストロークの分、前後方向にスペースが必要になるため、リール全体が大型、重量化してしまう。
また、実用時や釣場移動時、或いは携帯時等に、ボタンに他物が当たって誤動作(ドラグ作動状態からスプールフリー状態となる誤動作)してしまう可能性がある。
さらに、上記した構成の魚釣用スピニングリールでは、スプールフリー状態からドラグ作動状態に復帰させるには、ハンドルを巻き取り操作するか、或いは押し込まれた状態にあるボタン式の操作部材を回動操作する必要がある。しかし、このような復帰操作では、スプールフリー状態で仕掛けを繰り出し中、或いは仕掛けを所定のポイントに着水させた直後に魚が食いついたとき、迅速にドラグ作動状態に復帰させてタイムリーな合わせ操作を行うことが困難であり、釣果に影響を及ぼしてしまう。
本発明は、上記した問題に基づいてなされたものであり、スプールに回転抵抗を与えるドラグ機構を作動状態から非作動状態に切換える切換機構を設けた魚釣用スピニングリールにおいて、リール全体を大型化することなく十分なドラグ力が得られ、誤動作が生じることのない魚釣用スピニングリールを提供することを目的とする。
上記した目的を達成するために、本発明に係る魚釣用スピニングリールは、スプール軸に設置され、釣糸が巻回される釣糸巻回胴部を備えたスプールと、ハンドルの巻き取り操作で回転し、釣糸案内部を介して前記スプールに釣糸を巻回可能とするロータと、前記スプールをドラグ作動状態とフリー状態に切換える切換機構と、を有しており、前記スプールの釣糸巻回胴部の後方側に、釣糸巻回胴部に対して回転可能となるように前記切換機構の切換部材を設け、前記切換部材の回転操作で前記スプールをドラグ作動状態からフリー状態に切換可能としたことを特徴とする。
上記した構成の魚釣用スピニングリールでは、切換機構の切換操作によって、スプールを、ドラグ作動状態(メインドラグ機構によるドラグ力調節が可能な状態)から、フリー状態(サブドラグ機構によるドラグ調節が可能な状態)へ切換えることが可能となっている。前記切換機構の切換部材は、釣糸巻回胴部の後方側に、釣糸巻回胴部に対して回転可能となるように設けられているため、スプール前方に配設されるドラグ機構(メインドラグ機構)に影響を与えることがなく、ドラグ機構のスペースを確保して、十分なドラグ力を発揮させることが可能となる。また、切換部材は、釣糸巻回胴部の後方側で回転操作可能に設けられていることから、他物に当たっても切換機構が誤動作するようなことが防止される。
本発明によれば、スプールに回転抵抗を与えるドラグ機構を作動状態から非作動状態に切換える切換機構を設けた構成において、リール全体を大型化することなく十分なドラグ力が得られ、誤動作が生じることのない魚釣用スピニングリールが得られる。
以下、本発明に係る魚釣用スピニングリールの実施形態について、添付図面を参照して説明する。
図1から図13は、本発明に係る魚釣用スピニングリールの一実施の形態を示す図であり、図1は、魚釣用スピニングリールの内部構成を示す図、図2は、図1の主要部を拡大した図、図3は、図2のA−A線に沿った断面図、図4は、図2のB−B線に沿った断面図、図5(a)は、図2のC−C線に沿った断面図、図5(b)は、図5(a)を矢印D方向から見た図、図6は、図2のE−E線に沿った断面図、図7(a)は、図6のF−F線に沿った断面図、図7(b)は、変形例を示す図、図8は、図2のG−G線に沿った断面図(ドラグ作動状態)、図9は、図2のG−G線に沿った断面図(スプールフリー状態)、図10は、切換部材の操作部分の構成を示す図、図11は、スプールフリー状態時における継脱機構の状態を示す図、図12(a)は、サブドラグ機構の主要部の拡大図であり、スプールに対する抵抗力が大きい状態を示す図、図12(b)は、スプールに対する抵抗力が小さい状態を示す図、そして、図13は、スプールをスプール軸から取り外した状態を示す図である。
魚釣用スピニングリールのリール本体1には、釣竿に装着されるリール脚1Aが一体形成されており、その前方には、回転可能に支持され、釣糸案内部2aを装着した一対のアーム部2Aを具備するロータ2と、ロータ2の回転運動と同期して前後動可能に支持され、釣糸が巻回されるスプール3が配設されている。
リール本体1内には、ハンドル軸(駆動軸)4が回転可能に支持されており、その突出端部には、ハンドル5が取り付けられている。また、ハンドル軸4には、ハンドル軸4に取り付けられ、内歯が形成されたドライブギヤ7と、このドライブギヤ7に噛合すると共にハンドル軸4と直交する方向に延出し、内部に軸方向に延出する空洞部が形成されたピニオンギヤ9とを備えた巻き取り駆動機構が係合している。
前記ピニオンギヤ9は、軸受9a,9bを介してリール本体内に回転可能に支持されており、その先端側において固定部材9cによって前記ロータ2を固定し、ロータ2を一体回転するように連結している。そして、その空洞部には、ハンドル軸4と直交する方向に延出し、先端側に前記スプール3を装着したスプール軸3aが軸方向に移動可能に挿通されている。また、前記ピニオンギヤ9には、スプール3(スプール軸3a)を前後往復動させるための公知の往復動装置10が係合している。
前記往復動装置10は、リール本体内に回転可能に支持され、スプール軸3aと平行に延出する螺軸(ウォームシャフト)12と、前記スプール軸3aの後部に回転不能で軸方向移動可能に係合される摺動子13とを備えている。前記螺軸12の前端部には、前記ピニオンギヤ9と噛合する連動歯車15が設けられており、前記ハンドル5を回転操作することで、螺軸12は、前記ドライブギヤ7、ピニオンギヤ9及び連動歯車15を介して回転駆動される。そして、前記螺軸12の周面には、軸方向に沿って螺旋状のカム溝12aが形成されており、このカム溝12aに、前記摺動子13に収容保持された係合ピンが係合することで、スプール軸3a(スプール3)は、ハンドル5の巻き取り操作により前後に往復動される。
また、リール本体1内には、ロータ2の逆回転を防止する逆転防止機構が設置されている。この逆転防止機構は、公知のように、前記ピニオンギヤ9の外周側に設置される転がり式の一方向クラッチ16と、転がり式一方向クラッチの外輪の外周に回り止め固定されたラチェット17とを備えており、リール本体1の後方側に設置された切換レバー18を切換操作することで、リール本体1に支持されたストッパ17aを介してラチェット17を回転可能/回転不能状態に切換え、これによりロータ2を正逆転可能状態/逆転防止状態に切換えるようになっている。
上記した構成により、ハンドル5を巻き取り操作すると、ロータ2は、ドライブギヤ7及びピニオンギヤ9を介して回転駆動され、かつ、スプール3は、ドライブギヤ7、ピニオンギヤ9及び往復動装置10を介して前後方向に往復駆動され、スプール3には、回転するロータ2の釣糸案内部2aを介して均等に釣糸が巻回される。
前記スプール3の前方側には、スプール3が釣糸繰り出し方向に回転した際、その回転に制動力を付与するドラグ機構(メインドラグ機構)20が設置されている。このメインドラグ機構20は、スプール3の前端側に形成される内部空間領域(凹部3A)内に設置されており、スプール軸3aに対して回転可能に外嵌され、後述するように切換機構によって固定状態に切換えられる筒軸21と、スプール3と筒軸21との間で所定の摩擦力を作用させ、スプール3の回転に制動力を付与する制動部材22とを備えている。
前記制動部材22は、一般的なドラグ機構と同様、スプール3の前端面に沿って回転可能に支持された制動力調節用のツマミ(メインドラグ機構の調節体)20Aの回転操作によって軸方向に押圧され、その押圧力によって、スプール3の凹部3Aの底面3Bに当て付けられて、スプール軸3aと共に固定状態となる筒軸21との間で所望の制動力(ドラグ力)を生じさせる。すなわち、前記制動部材22は、スプール3の内周面に一体的に固定されるスプールワッシャ、筒軸21の外面に一体的に固定される筒軸ワッシャ、及び両ワッシャ間に介在される摩擦板(ライニング材)等を備えて構成されており、前記メイン調節体20Aを回転操作することで、軸方向に移動可能なナット20a及び付勢バネ20bを介して押圧体23を制動部材22に対して所望の押圧力で当接させる。
これにより、筒軸21が固定状態に切換えられたときにメイン調節体20Aを回転操作することで、スプール3には、固定された状態の筒軸21とスプール3との間に介在される制動部材22によって、所望の制動力を作用させることが可能となり、また、前記筒軸21がフリー状態にされたとき、メインドラグ機構20のドラグ力はフリー(スプールフリー状態)となる。
なお、前記筒軸21は、図13に示すように、スプール3と一体となって、スプール軸3aに対して着脱することが可能となっている。具体的には、スプール軸3aの前端部には、小径部3bが形成されており、この部分に、筒軸21に設けられているリング状の板バネ21aを係合させている。前記板バネ21aは、筒軸21の先端部に付勢バネ21cを介在させて設けられているプッシュボタン21bを、付勢バネ21cの付勢力に抗して軸方向に押圧することで、プッシュボタン21bの端部に形成されている傾斜部21dを介して径方向外方に拡げられるようになっている。すなわち、プッシュボタン21bを押圧操作することで、板バネ21aと小径部3bとの係合関係が解除され、スプール3は、筒軸21と共にスプール軸3aから容易に取り外すことが可能となっている。
前記筒軸21は、切換機構25によって、スプール軸3aに対して固定状態/フリー状態に切換えられるようになっている。
以下、切換機構25の構成について説明する。
前記切換機構25は、スプール3とスプール軸3aとの間に設けられ、スプール3を、ドラグ作動状態と非作動状態(スプールフリー状態)に切換えるように構成されていれば良い。本実施形態では、以下に詳述するように、スプール3の後方に、リング状でスプール軸周りに回転可能な切換部材27を設け、スプール3のドラグ作動状態時に、切換部材27を回転操作(回動操作)することで、前記筒軸21をスプール軸3aに対してフリー状態に切換可能とするよう構成されている。
この場合、リング状に構成される切換部材27の主要部は、スプール3の釣糸巻回胴部3C(釣糸巻回胴部3Cは、後フランジ3Dと前フランジ3Eによって形成される)の後方側に、釣糸巻回胴部3Cに対して回転可能に設けられており、実際に切換操作する(スプールをドラグ作動状態から非作動状態へ切換操作する)部分は、後フランジ3Dの後方側で、外観上、一般的に公知であるスプールのスカート部分と同様な形状に構成されたスカート状の円筒部27Aとなっている。すなわち、本実施形態の切換部材27の操作部分(円筒部27A)は、一般的なスプールにおけるスカート部を構成していることから、リール本体に対して、レバーやダイヤルのような新たな操作部が突出したり、露出するような構成ではない。
また、上記した切換部材27は、スカート状の円筒部27Aの後フランジ3D側の端部において、スプール軸と直交する方向に屈曲されて後フランジ3Dと対向する対向面27Bと、前記対向面27Bから垂直に立ち上げられ、釣糸巻回胴部3Cの内側に位置する小径円筒部27Cとを備えている。
前記切換機構25は、さらに、切換部材27を回転可能に保持する支持部材30を備えている。
前記支持部材30は、スプール軸3aに対して断面非円形状の嵌合孔30aによって回り止め固定されると共に(図6参照)、スプール軸3aに対して軸方向の移動が規制された固定部30Aと、固定部30Aからリール本体側に向けて延出し、スプール3の後フランジ3Dの後方側に位置する略円筒状に形成された円筒部30Bとを備えている。
前記切換部材27は支持部材30を覆うように形成されており、スプール軸3aの前端側から支持部材30に被せた状態で、抜け止め支持部プレート32を固定部30Aに対してビス33で止めることで、切換部材27は支持部材30に対して抜け止め支持されている。
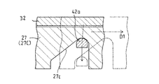
前記切換部材27の対向面27Bには、図6に示すように、その中央領域に円形の開口27aが形成されており、その周囲に円弧状の開口27bが周方向に所定間隔をおいて3箇所形成されている。前記円形の開口27aには、支持部材30の固定部30Aが嵌合しており、前記円弧状の開口27bには、固定部30Aに形成された回動規制部30bが位置している。この回動規制部30bは、切換部材27の円弧状の開口27bに周方向に対して遊度を持って嵌合しており、これにより、切換部材27は、周方向(D1/D2方向)に対して所定の角度だけ回動操作可能となっている。
なお、図において、矢印D1方向は、メインドラグ機構20のON状態からOFF状態への切換え作動方向であり、矢印D2方向は、メインドラグ機構20のOFF状態からON状態への切換え作動方向を示している。
前記支持部材30と前記筒軸21との間には、継脱機構40が設置されており、支持部材30と筒軸21との連結状態を継脱するようにしている。この場合、本実施形態の継脱機構40は、支持部材30の固定部30Aに対してビス41によって回動可能に支持されるストッパ42と、ストッパ42が継脱可能なラチェット43とを備えている。
前記ストッパ42は、図2、図4及び図6に示すように、スプール軸3aに沿った面内で回動可能となっており、スプール軸3aに対して回転可能に配置されるラチェット43に対して継脱されるようになっている。本実施形態では、ラチェット43に対して継脱されるストッパ42は、図2及び図4に示すように、180°間隔で2箇所設置されている(ストッパ42は1箇所のみであっても良い)。また、それぞれのストッパ42は、固定部30Aに支持されるにあたり、一方向バネ44によって、常時、ラチェット43に継合する方向に付勢された状態となっている。
前記ラチェット43は、抜け止め支持プレート32の表面部に設置されるワッシャ45を介在させて配置されており、前記筒軸21に対して係合状態となる連結部43aに対してビス43bによって固定されている(ラチェット43と連結部43aは、別体として構成されているが、両者は一体化された構成であっても良い)。この場合、連結部43aの筒軸側には、図5に示すように、径方向に沿って突出した係合部43cが一体形成されており、この係合部43cは、筒軸21の端部に形成された径方向凹溝21fに係合されるようになっている。すなわち、スプール3を、スプール軸3aに対して装着すると、径方向凹溝21fが係合部43cと係合し、筒軸21と連結部43a(ラチェット43)は、一体化されるようになっている。
なお、前記抜け止め支持プレート32には、ストッパ42が回動可能となるように、図4に示すように、ストッパ42を挿通させる長孔32aが形成されている。
上記した一対のストッパ42は、支持部材30の固定部30Aに支持されており、一方向バネ44によって、常時、ラチェット43に係合していることから、ラチェット43は回転ができない固定状態に維持されている。このため、ラチェット43に係合する筒軸21も固定状態となっており、上述したように、スプール3に対してメインドラグ機構20のドラグ力を作用させることが可能な状態となっている。
各ストッパ42は、前記切換部材27の回動操作によって、一方向バネ44の付勢力に抗して離反させることが可能となっている。すなわち、図2及び図3に示すように、固定部30Aに対してビス41によって回動可能な各ストッパ42には、係合突起42aが一体形成されており、この係合突起42aは、切換部材27の小径円筒部27Cに形成された傾斜開口27cから露出された状態となっている。このため、切換部材27を図3の矢印D1方向に回動操作すると、係合突起42aは、図3の鎖線で示すように、傾斜開口27cの傾斜面によって強制的に押下げられ、各ストッパ42は、一方向バネ44の付勢力に抗して回動され、ラチェット43から離反する(筒軸21は、フリー状態に切換えられる)。
上記したように、切換部材27は、図6に示すように、D1/D2方向に回動操作することで、ストッパ42とラチェット43を継合/離脱させ、筒軸21を固定状態/フリー状態に切換えできるようになっている。この場合、継合/離脱位置を規定する切換え位置を保持できるように、保持機構を設けておくことが好ましい。
この保持機構は、例えば、図6及び図7(a)に示すように、支持部材30の円筒部30Bの表面領域に凹所30dを形成し、ここに付勢バネ47によって保持部材48を保持させておくと共に、切換部材27の対向面27Bに、切換え位置に対応して、周方向に2箇所の係合孔27dを形成することで構成可能である。すなわち、切換部材27をD1/D2方向に回動操作して切換え位置になったときに、保持部材48が係合孔27dと係合することで、切換部材27の切換え位置を保持させておくことが可能となる。
なお、保持機構については、図7(a)に示す構成以外にも種々変形することが可能であり、例えば、図7(b)に示すように、支持部材30の円筒部30Bの表面領域に凹所30d´を形成しておき、ここに弾性変形する板バネ48´を保持して、係合孔27dと係合させる構成であっても良い。
また、切換部材27を回動操作して、スプールの状態を切換えるに際しては、その状態が、使用者にとって容易に把握できるように構成しておくことが好ましい。例えば、本実施形態では、切換部材27のスカート状の円筒部27Aの後端側に、周方向に沿って、所定間隔で開口孔27fが形成されており(図10参照)、この開口孔27fを介して、切換部材27の回動操作位置が目視によって把握できるよう構成されている。具体的には、支持部材30の円筒部30Bの後端側外周面に、切換部材27がドラグ作動状態となったときに、開口孔27fを通して露出する色彩等が形成されており、切換部材27を回動操作して、スプールフリー状態となったとき、その色彩が視認できないようになっている。
また、スプール3は、メインドラグ機構20がON状態からOFF状態へ切換え操作された際、フリーに回転することが可能となっている。この場合、スプール3のフリー回転に節度(クリック音での報知)が生じるように節度機構を設けておくことが好ましい。
この節度機構は、例えば、図2及び図6に示すように、支持部材30の円筒部30Bの表面領域に凹所30eを形成し、ここに付勢バネを介在させてクリックピン49を軸方向に向けて弾性保持させておくことで構成することが可能である。すなわち、前記切換部材27の対向面27Bに、切換え操作範囲に沿って円弧状の溝27eを形成してクリックピン49を挿通させ、このクリックピン49を、スプール3の後フランジ3Dの裏面に周方向に沿って形成された凹凸部3h(図13参照)に当接させることで、スプール3の回転に節度を持たせる(クリック音の発生)ことが可能となる。
また、スプール3の釣糸巻回胴部3Cの後方側(詳細には、釣糸巻回胴部3Cを規定する後フランジ3Dの後方側)には、スプール3がフリー回転状態に切換えられた際、スプール3の回転に対して補助的にドラグ力を作用させるサブドラグ機構50が配設されている。このため、サブドラグ機構50は、上述したメインドラグ機構20とは、構造的に関連することはなく、分離した位置に配設されている。
以下、サブドラグ機構50の構成について説明する。
サブドラグ機構50は、前記切換部材27のスカート状の円筒部27Aの内側で円筒状に構成され、円筒部27Aの内周面に沿ってスプール軸周りに回転操作可能な操作部(サブドラグ機構の調節体)51と、調節体51を回転操作した際、その回転操作量に応じて、スプール3に対して直接、摩擦力を作用させる可動押圧体(摩擦作動体)53とを備えている。
前記スカート状の円筒部27Aには、前記開口孔27fの上方に、周方向に沿って調節体51を露出させるように操作開口27gが形成されており(図10参照)、この操作開口27gを介して調節体51を把持して回転操作できるように構成されている。このため、調節体51の表面には、把持した指が滑らないように、ローレット等の高摩擦部51aを形成しておくことが好ましい。
前記可動押圧体53は、硬質樹脂等によって略リング状に形成されており、後フランジ3Dの裏面に対して所望の押圧力によって圧接されるようになっている。本実施形態では、図6に示すように、可動押圧体53の圧接部53aは、周方向に沿って円弧状に3箇所形成されており、可動押圧体53は、圧接部53aが切換部材27の対向面27Bに形成された円弧状の開口27hを介して露出するように、支持部材30の円筒部30Bに保持されている。すなわち、スプール3に対して、補助的に作用するドラグ力は、スプールの後フランジ3Dに対して、直接作用する構成となっており、その圧接部53aは、好ましくは巻回胴部3Bよりも径方向外側となるように設定されている。
前記スプール軸周りに回転操作される調節体51の内面には、軸方向に沿って突起51bが形成されており(形成個数については限定されない)、この突起51bには、リング状に形成された回転移動体55が係合されている。この回転移動体55は、その内面に雌ネジ部55aが形成されており、この雌ネジ部55aは、支持部材30の円筒部30Bの下方側外周面に形成された雄ネジ部30fと螺合されている。
前記可動押圧体53は、Oリング57を介在させた状態で、回転移動体55から押圧力が付与されるようになっている。すなわち、前記調節体51を回転操作することで、回転移動体55は、雄ネジ部30fと雌ネジ部55aとの螺合関係によって、回転しながら軸方向に移動するようになっており、可動押圧体53には、Oリング57を介して回転移動体55から軸方向の力が作用する。これにより、調節体51を回転操作することで、図12(a)及び(b)に示すように、可動押圧体53の後フランジ3Dに対する押圧力を調節して、フリー状態にあるスプール3に対して所望のドラグ力を作用させることが可能となる。
また、調節体51を回転操作する際、その回転に節度(クリック音での報知)が生じるように節度機構を設けておくことが好ましい。
この節度機構は、例えば、図2に示すように、支持部材30の円筒部30Bの外周面領域に凹所を形成し、ここに付勢バネを介在させてクリックピン59を径方向外方に向けて弾性保持させておくことで構成することが可能である。すなわち、回転移動体55の内周面に沿って、クリックピン59が弾発付勢される凹凸部を形成しておくことで、調節体51の回転に節度を持たせる(クリック音の発生)ことが可能となる。
上述したように、スプール3をドラグ作動状態からフリー状態に切換えるには、切換部材27を回動操作(図6;D1方向)して、ストッパ42とラチェット43の継合関係を解除すれば良く、また、切換部材27を逆向きに回動操作(図6;D2方向)することでスプール3をフリー状態からドラグ作動状態に復帰させることが可能となる。
本実施形態では、この復帰操作を、切換部材27のD2方向への回動操作以外にも、ハンドル5の釣糸巻き取り方向の回転操作によっても行えるように、復帰機構60を配設している。
以下、復帰機構60の構成について説明する。
本実施形態の復帰機構60は、ロータ2に一体形成される一対のアーム部2Aとスプール軸3aとの間に設置される公知の糸落ち防止部材(ラインガードとも称する)61に関連して設けられている。
前記糸落ち防止部材61は、前記スプール軸3aに対して回転可能に支持されており、前記一対のアーム部2Aのそれぞれの内面側に形成された長手溝2dに係合する係合部62を具備して、ロータ2が回転した際、ロータ2と共に一体回転するようになっている。また、糸落ち防止部材61は、略リング状に形成された連動体65に保持されている。この場合、糸落ち防止部材61は、連動体65に対して、後述するノンデッドポイント機構によって、周方向に相対移動可能に保持されている。
前記連動体65は、前記支持部材30に対して、止めビス64を介して支持部材30に固定されたリング状のリテイナ64aによって、回転可能に軸方向に抜け止め保持されている。このため、連動体65は、糸落ち防止部材61と一体的にスプール軸3aに対して回転可能であり、糸落ち防止部材61は、連動体65と一体的になって、スプール軸3aに対して軸方向に移動しないように保持されている。すなわち、糸落ち防止部材61は、連動体65と共にスプール軸3aの往復動に伴って軸方向に一体的に往復動し、かつスプール3に巻回される釣糸がスプール3内に入り込むこと、及びスプール軸3aに絡み付くことを防止している。
前記連動体65のスプール側表面部には、図8及び図9に示すように、周方向に沿って復帰用突部66が所定間隔をおいて6箇所形成されている。この復帰用突部66は、ハンドルを釣糸巻き取り方向に回転操作した際、糸落ち防止部材61と一体回転する連動体65と共に回転し、後述する復帰作動部材をキックする役目を有する。このため、復帰用突部66には、糸落ち防止部材61の釣糸巻き取り方向(図8、及び図9の矢印D2方向)側に、傾斜面66aが形成されている。
一方、前記支持部材30の円筒部30Bの表面には、周方向に所定間隔をおいて3つの復帰作動部材70が支持されている。各復帰作動部材70は、図2、図6及び図13に示すように、支軸71を介して円筒部30Bの表面に回動可能に支持されると共に、一方向バネ72によって、図6において、反時計回り方向に回動付勢されている。
また、復帰作動部材70には、切換部材27の対向面27Bに向けて作動突起70aが形成されており、この作動突起70aは、対向面27Bに形成された作動孔27kに係合されている。この作動突起70aは、図6において、切換部材27がD1方向に回動操作された際(スプールフリー状態への切換操作)、作動孔27kによって押圧され、一方向バネ72の付勢力に抗して時計回り方向に回動される。この状態で、作動突起70aの下端部は、図8から図9に示すように、前記復帰用突部66の回転軌跡内に入り込む。
これにより、ハンドル5を巻き取り操作すると、糸落ち防止部材61及び連動体65は、図9の矢印D2方向に回転するため、作動突起70aの下端部は、連動体65に設けられた復帰用突部66によってキックされ、前記対向面27Bに形成された作動孔27kを介して、切換部材27をD2方向に回転させて、スプール3をドラグ作動状態に自動復帰させる。
なお、図8及び図9に示すように、糸落ち防止部材61と連動体65との間に、周方向付勢バネ75を介在させることで、連動体65は、糸落ち防止部材61に対して所定範囲、相対回転可能となっていることが好ましい。すなわち、これらの図に示すように、糸落ち防止部材61の内面側には、周方向に沿って所定間隔で円弧状の凹所61cが形成されており、この凹所61c内に連動体65の外周に突出形成された突片65cを配設し、ここに周方向付勢バネ75を介在させている。
これにより、図6において、切換部材27をD1方向に回動操作してスプールフリー状態へ切換操作しようとした際、復帰用突部66が作動突起70aの侵入位置に存在していても、連動体65は、周方向付勢バネ75の付勢力に抗して回転可能となっているため、切換部材27の回動操作時において、切換操作が行い難くなること、すなわちデッドポイントが生じることが防止される。
以上のように構成される魚釣用スピニングリールの作用について説明する。
通常、魚釣用スピニングリールは、ドラグ作動状態として使用される。このとき、スプール3、すなわち繰り出される釣糸には、メインドラグ機構20によって所定のドラグ力が作用した状態となる。上述したように、ドラグ作動状態では、図2に示すように、ラチェット43に対してストッパ42が係合状態にあり、筒軸21は、固定された状態となっている。このため、メイン調節体20Aを回転操作することで、固定された状態の筒軸21とスプール3との間に介在される制動部材22によって、スプール3に対して所望の制動力を作用させることが可能となる。
前記メインドラグ機構20が設置される部分には、従来のように、サブドラグ機構を径方向内側に配設しないため、スプール(リール全体)を大型化することなく、また、スプールの凹部3A内に大径の摩擦部材を設置できるため、十分なドラグ力を維持、発揮させることが可能となる。
なお、上記したようなドラグ作動状態では、スカート部分(切換部材27の円筒部27A)に形成される開口孔27fを通して色彩が視認できることから、操作者は、現在のスプールの状態を容易に把握することが可能となる。
そして、ドラグ作動状態からスプールフリー状態に切換えるべく、切換部材27の円筒部27Aを把持して回動操作すると(図3及び図6の矢印D1方向)、継脱機構40を構成するストッパ42の係合突起42aは、切換部材27の小径円筒部27Cに形成された傾斜開口27cの傾斜面によって強制的に押下げられる。これにより、各ストッパ42は、一方向バネ44の付勢力に抗して回動され、ラチェット43から離反し、筒軸21はフリー状態に切換えられる(図11参照)。このとき、スプール3は、フリー回転可能な状態になるため、スプール3には、メインドラグ機構20の制動力が作用しない状態となっている。
このように、ドラグ作動状態からスプールフリー状態に切換える切換部材27は、スプールの釣糸巻回胴部3Cの後方側において、回転(回動)可能となるように設置されているため、スプール周辺部の可及的コンパクト化が可能になると共に、スプール回りを大型化することが無く、十分なドラグ力を発揮できるドラグ機構(メインドラグ機構)を装備することができる。特に、本実施形態では、実際に切換操作する部分(円筒部27A)は、スプール3のスカート部を構成しているため、外観の向上が図れると共に、余分な操作部材が露出したり突出することもないので、リール全体をコンパクトにすることが可能となる。
また、切換部材27は、従来技術のように、スプールの前方において、押圧されるプッシュ式ではないため、他物に当たっても、切換機構25が誤動作するようなこともない。
上記したスプール3のフリー回転可能状態では、サブドラグ機構50によって補助的にドラグ力を作用させることが可能となっている。図10に示すように、切換部材27の円筒部27Aに形成された操作開口27gから露出している調節体51を把持して回転操作することで、回転移動体55を介して可動押圧体53は、後フランジ3Dの裏面に対して所望の押圧力によって圧接される。
図12(a)は、サブドラグ機構50によるドラグ力が小さい状態(可動押圧体による圧接力が弱い状態)を示し、図12(b)は、サブドラグ機構50によるドラグ力が大きい状態(可動押圧体による圧接力が強い状態)を示している。
このように、フリー状態にあるスプール3に対して、補助的に作用するドラグ力は、リング状の部材を介してスプール3の後フランジ3Dに対して直接作用させる構成となっているため、制動部材となる可動押圧体53の構成が簡略化され、スペースを効率的に利用することが可能となる。また、可動押圧体53による後フランジ3Dに対する圧接部53aは、巻回胴部3Bよりも径方向外側となっているため、スプール3に対して安定したドラグ力を作用させることが可能となる。
また、サブドラグ機構50の調節体51は、スプール3の後方側に配設されるため、メインドラグ機構20の調節体20Aとの間で誤操作することがなくなり、ドラグ力の調節操作性の向上が図れるようになる。特に、サブドラグ機構の調節体51は、スプール3の後方側(釣糸巻回胴部の後方側)において、スプール軸周りに回転操作可能に設置されているため、その操作部が把持し易くなると共に容易に回転操作することができ、ドラグ力の調節操作が行い易くなる。
そして、上記したスプールフリー状態は、切換部材27の円筒部27Aを把持して、図3及び図6の矢印D2方向に回動操作することで、再び、ドラグ作動状態に復帰させることが可能である。すなわち、切換部材27を矢印D2方向に回動操作することで、各ストッパ42は、傾斜開口27cによる規制が解除され、一方向バネ44の付勢力によってラチェット43と係合し、筒軸21は固定状態に切換えられる。
このように、スプール3のスカート部分は、実用時において把持し易い部分となっていることから、手動操作によって、スプールフリー状態からドラグ作動状態に復帰させ易くなる。すなわち、スプールフリー状態で仕掛けを繰り出し中、或いは仕掛けを所定のポイントに着水させた直後に魚が食いついたとき、そのままスプールのスカート部分を回動操作するだけで、迅速にドラグ作動状態に復帰させることができるので、タイムリーな合わせ操作を瞬時に行えるようになり、釣果を向上することが可能となる。
なお、上記した切換部材27の回動操作以外にも、ハンドル5を釣糸巻き取り方向に回転操作しても、上述した復帰機構60の作用によって、ドラグ作動状態に自動復帰させることが可能である。すなわち、ハンドル5を釣糸巻き取り方向に回転操作することで、上述したように、糸落ち防止部材61、連動体65、復帰作動部材70等の作用によって、スプールフリー状態からドラグ作動状態に自動復帰させることが可能となっている。
このように、復帰機構60は、スプール軸3aと連動して前後動する糸落ち防止部材61に設けられる構成であるため、前後動するスプール3のストロークを考慮して前後動方向に沿って長く形成する必要がなくなる。すなわち、復帰機構60をスプール軸方向に沿ってコンパクト化することが可能となり、スプール回りが大型・重量化するようなことはない。
以上、本発明の実施形態について説明したが、本発明は、上記した実施形態に限定されることはなく、種々変形することが可能である。
本発明は、スプール3をドラグ作動状態からフリー状態に切換可能とする切換部材を、スプールの釣糸巻回胴部の後方側で回転可能となる配設されていれば良く、スプールをドラグ作動状態/フリー状態に切換える切換機構25の構成については適宜変形することが可能である。例えば、切換機構25を構成する継脱機構40については、上述した実施形態のようなストッパとラチェット以外にも、転がり式一方向クラッチを用いる等、種々変形することが可能である。また、切換部材27や支持部材30の構成についても、上述した実施形態の構造に限定されることはなく、種々変形することが可能である。
また、本実施形態では、切換部材27は、周方向に所定の範囲、回動操作(回転操作に含まれる)するだけで、スプールをドラグ作動状態/フリー状態に切換可能となっていたが、その操作量については限定されることはない。例えば、360°以上に亘って回転操作することで切換えが成される構造であっても良い。
さらに、上記した実施形態では、糸落ち防止部材を利用して復帰機構を設けたが、そのような復帰機構を設置しない構成であっても良い。また、復帰機構は、糸落ち防止部材以外の部材を用いて構成されていても良い。
本発明に係る魚釣用スピニングリールの一実施の形態を示す図であり、内部構成を示す図。 図1の主要部を拡大した図。 図2のA−A線に沿った断面図。 図2のB−B線に沿った断面図。 (a)は、図2のC−C線に沿った断面図、(b)は、図(a)を矢印D方向から見た図。 図2のE−E線に沿った断面図。 (a)は、図6のF−F線に沿った断面図、(b)は、変形例を示す図。 図2のG−G線に沿った断面図(ドラグ作動状態)。 図2のG−G線に沿った断面図(スプールフリー状態)。 切換部材の操作部分の構成を示す図。 スプールフリー状態時における継脱機構の状態を示す図。 (a)は、サブドラグ機構の主要部の拡大図であり、スプールに対する抵抗力が大きい状態を示す図、(b)は、スプールに対する抵抗力が小さい状態を示す図。 スプールをスプール軸から取り外した状態を示す図。
符号の説明
1 リール本体
2 ロータ
3 スプール
3C 釣糸巻回胴部
3D 後フランジ
3a スプール軸
20 メインドラグ機構
20A 調節体
21 筒軸
25 切換機構
27 切換部材
30 支持部材
40 継脱機構
50 サブドラグ機構
51 調節体
53 可動押圧体
60 復帰機構
61 糸落ち防止部材

Claims (3)

  1. スプール軸に設置され、釣糸が巻回される釣糸巻回胴部を備えたスプールと、ハンドルの巻き取り操作で回転し、釣糸案内部を介して前記スプールに釣糸を巻回可能とするロータと、前記スプールをドラグ作動状態とフリー状態に切換える切換機構と、を有する魚釣用スピニングリールにおいて、
    前記スプールの釣糸巻回胴部の後方側に、釣糸巻回胴部に対して回転可能となるように前記切換機構の切換部材を設け、
    前記切換部材の回転操作で前記スプールをドラグ作動状態からフリー状態に切換可能としたことを特徴とする魚釣用スピニングリール。
  2. 前記切換部材は、前記スプールの釣糸巻回胴部の後方側に位置したスカート部を構成していることを特徴とする請求項1に記載の魚釣用スピニングリール。
  3. 前記切換部材の回転操作で、前記スプールをフリー状態からドラグ作動状態に切換可能としたことを特徴とする請求項1又は2に記載の魚釣用スピニングリール。
JP2008249691A 2008-09-29 2008-09-29 魚釣用スピニングリール Expired - Fee Related JP4928523B2 (ja)

Priority Applications (1)

Application Number Priority Date Filing Date Title
JP2008249691A JP4928523B2 (ja) 2008-09-29 2008-09-29 魚釣用スピニングリール

Applications Claiming Priority (1)

Application Number Priority Date Filing Date Title
JP2008249691A JP4928523B2 (ja) 2008-09-29 2008-09-29 魚釣用スピニングリール

Publications (2)

Publication Number Publication Date
JP2010075135A true JP2010075135A (ja) 2010-04-08
JP4928523B2 JP4928523B2 (ja) 2012-05-09

Family

ID=42206370

Family Applications (1)

Application Number Title Priority Date Filing Date
JP2008249691A Expired - Fee Related JP4928523B2 (ja) 2008-09-29 2008-09-29 魚釣用スピニングリール

Country Status (1)

Country Link
JP (1) JP4928523B2 (ja)

Citations (7)

* Cited by examiner, † Cited by third party
Publication number Priority date Publication date Assignee Title
JPS52116591A (en) * 1976-03-25 1977-09-30 Hajime Togashi Hull construction of high speed surface flying boat
JPS53122583A (en) * 1977-04-01 1978-10-26 Daiwa Seiko Co Spinning reels for angling
JPS5885966A (ja) * 1981-11-09 1983-05-23 スタ−ル・ソシエテ・アノニム 録音及び/又は再生装置におけるカセット又はディスクの挿入放出装置
JPH0353836A (ja) * 1989-07-20 1991-03-07 Daiwa Seiko Inc 魚釣用スピニングリール
JPH0937687A (ja) * 1995-07-27 1997-02-10 Abu Ab 釣糸スプール組立体
JPH10327723A (ja) * 1997-06-04 1998-12-15 Ryobi Ltd 魚釣用スピニングリールのドラッグ機構
JP2002125547A (ja) * 2000-10-20 2002-05-08 Daiwa Seiko Inc 魚釣用スピニングリール

Patent Citations (7)

* Cited by examiner, † Cited by third party
Publication number Priority date Publication date Assignee Title
JPS52116591A (en) * 1976-03-25 1977-09-30 Hajime Togashi Hull construction of high speed surface flying boat
JPS53122583A (en) * 1977-04-01 1978-10-26 Daiwa Seiko Co Spinning reels for angling
JPS5885966A (ja) * 1981-11-09 1983-05-23 スタ−ル・ソシエテ・アノニム 録音及び/又は再生装置におけるカセット又はディスクの挿入放出装置
JPH0353836A (ja) * 1989-07-20 1991-03-07 Daiwa Seiko Inc 魚釣用スピニングリール
JPH0937687A (ja) * 1995-07-27 1997-02-10 Abu Ab 釣糸スプール組立体
JPH10327723A (ja) * 1997-06-04 1998-12-15 Ryobi Ltd 魚釣用スピニングリールのドラッグ機構
JP2002125547A (ja) * 2000-10-20 2002-05-08 Daiwa Seiko Inc 魚釣用スピニングリール

Also Published As

Publication number Publication date
JP4928523B2 (ja) 2012-05-09

Similar Documents

Publication Publication Date Title
KR101692836B1 (ko) 스피닝 릴의 드랙 전환 장치
JP6166558B2 (ja) 両軸受リール
JP2014176301A5 (ja)
JP2010279334A5 (ja)
JP6177550B2 (ja) 両軸受リールのスプール制動装置及び両軸受リール
JP2014176360A5 (ja)
KR101394981B1 (ko) 스피닝 릴의 드래그 장치
TWI624224B (zh) Double bearing reel reel brake device and double bearing reel
JP4928522B2 (ja) 魚釣用スピニングリール
JP4928523B2 (ja) 魚釣用スピニングリール
JP4870101B2 (ja) 魚釣用スピニングリール
JP4863716B2 (ja) スピニングリールのロータ制動装置
JP5083905B2 (ja) 魚釣用スピニングリール
JP2007185130A5 (ja)
JPH082226B2 (ja) 魚釣用スピニングリール
JP4772979B2 (ja) 両軸受リール
JP3827517B2 (ja) 魚釣用スピニングリール
JP2010081857A (ja) 魚釣用スピニングリール
JP2003079294A (ja) スピニングリール
TWI763961B (zh) 雙軸承捲線器
JP4870106B2 (ja) 魚釣用スピニングリール
JP3566551B2 (ja) 魚釣用スピニングリール
EP3170389B1 (en) Fishing reel
JPH0746151Y2 (ja) 魚釣用スピニングリールのドラグ機構の切換装置
JP3838552B2 (ja) クローズドフェースリール

Legal Events

Date Code Title Description
A621 Written request for application examination

Free format text: JAPANESE INTERMEDIATE CODE: A621

Effective date: 20101227

A977 Report on retrieval

Free format text: JAPANESE INTERMEDIATE CODE: A971007

Effective date: 20111209

TRDD Decision of grant or rejection written
A01 Written decision to grant a patent or to grant a registration (utility model)

Free format text: JAPANESE INTERMEDIATE CODE: A01

Effective date: 20120119

A01 Written decision to grant a patent or to grant a registration (utility model)

Free format text: JAPANESE INTERMEDIATE CODE: A01

A61 First payment of annual fees (during grant procedure)

Free format text: JAPANESE INTERMEDIATE CODE: A61

Effective date: 20120210

FPAY Renewal fee payment (event date is renewal date of database)

Free format text: PAYMENT UNTIL: 20150217

Year of fee payment: 3

R150 Certificate of patent or registration of utility model

Free format text: JAPANESE INTERMEDIATE CODE: R150

R250 Receipt of annual fees

Free format text: JAPANESE INTERMEDIATE CODE: R250

R250 Receipt of annual fees

Free format text: JAPANESE INTERMEDIATE CODE: R250

R250 Receipt of annual fees

Free format text: JAPANESE INTERMEDIATE CODE: R250

LAPS Cancellation because of no payment of annual fees