JP2010074007A - 電力用機器及びその輸送方法 - Google Patents

電力用機器及びその輸送方法 Download PDF

Info

Publication number
JP2010074007A
JP2010074007A JP2008241640A JP2008241640A JP2010074007A JP 2010074007 A JP2010074007 A JP 2010074007A JP 2008241640 A JP2008241640 A JP 2008241640A JP 2008241640 A JP2008241640 A JP 2008241640A JP 2010074007 A JP2010074007 A JP 2010074007A
Authority
JP
Japan
Prior art keywords
main body
space
tank
transport
body tank
Prior art date
Legal status (The legal status is an assumption and is not a legal conclusion. Google has not performed a legal analysis and makes no representation as to the accuracy of the status listed.)
Granted
Application number
JP2008241640A
Other languages
English (en)
Other versions
JP5238425B2 (ja
Inventor
Hiroyuki Maejima
宏行 前嶋
Toshiyuki Saida
敏之 才田
Osamu Hosokawa
修 細川
Current Assignee (The listed assignees may be inaccurate. Google has not performed a legal analysis and makes no representation or warranty as to the accuracy of the list.)
Toshiba Corp
Original Assignee
Toshiba Corp
Priority date (The priority date is an assumption and is not a legal conclusion. Google has not performed a legal analysis and makes no representation as to the accuracy of the date listed.)
Filing date
Publication date
Application filed by Toshiba Corp filed Critical Toshiba Corp
Priority to JP2008241640A priority Critical patent/JP5238425B2/ja
Publication of JP2010074007A publication Critical patent/JP2010074007A/ja
Application granted granted Critical
Publication of JP5238425B2 publication Critical patent/JP5238425B2/ja
Expired - Fee Related legal-status Critical Current
Anticipated expiration legal-status Critical

Links

Images

Landscapes

  • Housings And Mounting Of Transformers (AREA)

Abstract

【課題】輸送用蓋部材に加わる内外圧力差を無くして輸送用蓋部材の小型軽量化を実現し、真空引き及び真空置換による品質の安定化を図ると共に、輸送時の重量及び寸法を縮小することができる電力用機器及びその輸送方法を提供する。
【解決手段】輸送用蓋部材70は、本体タンク5及び蓋側タンク6の端面部に対し密着可能であって、実用上十分な気密性を有している。輸送用蓋部材70を本体タンク5及び蓋側タンク6に取り付けた状態で、バルブ9操作により本体タンク5及び蓋側タンク6に対し真空引き及び真空置換を同時に行う。
【選択図】図1

Description

本発明は、分割可能な密閉圧力容器を有する電力用機器及びその輸送方法に係り、特に、密閉圧力容器の分割輸送時に、専用の蓋部材を用いた電力用機器及びその輸送方法に関するものである。
一般に、ガス絶縁変圧器(GIT)やガス絶縁開閉装置(GIS)、ガス遮断器(GCB)といった電力用機器は、大地電位の密閉圧力容器が設けられており、絶縁性ガスが封入されている。この密閉圧力容器の内部には、変圧器や開閉装置あるいは遮断器を構成する導体、絶縁物、巻線などの部品が組み込まれて製作されている。
密閉圧力容器に封入される絶縁性ガスとしては、SF6ガスが多く用いられている。SF6ガスは、毒性が無く、不燃性ガスであることから、万一気密が破れて大気に放出した場合でも、周囲環境に与える影響が小さい。そのため、内部故障による火災の可能性が極めて小さく、高い需要を得ている。
したがって、屋外に設置される電力用機器に適用されるだけではなく、火災や有害ガスへのリスクが大きい密閉空間(例えば地下変電所)などに設置される電力用機器にも、広く採用されている。具体的には、ガス絶縁変圧器(GIT)では、330kV−400MVAクラスの大容量電力用変圧器などが実用化されている。
ところで電力需要が増大する近年、電力用機器の分野では、さらなる高電圧化や大容量化が期待されており、それに応じて機器の大型化、重量化が進む傾向にある。一方、大型で重い電力用機器を機器の製造工場から据付現場まで輸送する場合、実際には様々な輸送制限を考慮しなくてはならない。特に、輸送重量や輸送寸法は製品の輸送許認可を取得する上で非常に重要なパラメータとなっている。
ここで、図11、図12を用いて、一般的な電力用機器の輸送方法について、具体的に説明する。図11はガス絶縁変圧器の輸送姿図の例を示している。図11に示すように、ガス絶縁変圧器は、円筒形状の主胴部を有する密閉圧力容器1内部に、絶縁性ガス2が高圧で充填されると共に、鉄心や巻線及び絶縁物を含む主要構造部3が収納されている。
密閉圧力容器1は、絶縁性ガス2の高圧力に耐え得る構造物からなため、相当に重く、容器1内部に収納される主要構造部3も、鉄心を初めとしてかなりの重量がある。そのため、主要構造部3を組み込んだ密閉圧力容器1は、ガス絶縁変圧器を構成する部材の中で、輸送外形および輸送重量が最も大きくなることが多い。そこでガス絶縁変圧器を輸送する場合には、冷却器などの外装品(図示せず)を全て外し、密閉圧力容器1だけにして(主要構造部3は収納したまま)、輸送するのが一般的である。
また、密閉圧力容器1を輸送する場合の準備段階として、輸送中の製品に対する異物や水分を管理するといった品質面の要求から、通常は、密閉圧力容器1を密閉した状態で真空引きし、その後、ゲージでゼロ気圧ないし低ガス圧の乾燥空気、不活性ガスあるいは絶縁性ガスを容器1内部に封入して、真空置換を行っている。このような真空引き及び真空置換を実施した上で密閉圧力容器1を輸送する方法は、上記のガス絶縁変圧器に限らず、ガス絶縁開閉装置やガス遮断器といった電力用機器においても適用されている。
先に述べたように、昨今では、電力用機器に対して高電圧・大容量化へのニーズが高まっており、それに伴って電力用機器は益々大型化、重量化している。このため、密閉圧力容器1から全ての外装品を取り除いたとしても、密閉圧力容器1そのものの重さや大きさが輸送制限を超える可能性が出てきた。
つまり、密閉圧力容器1の大型化、重量化が進むことで、密閉圧力容器1の輸送条件が厳しくなる。その結果、密閉圧力容器1自体の重さや大きさが、電力用機器の高圧化及び大容量化を制約する要因となる事例が見受けられようになってきた。
そこで従来では、密閉圧力容器1の重さや大きさが増大しても、輸送制限をクリアすべく、密閉圧力容器1を複数部分に分割して輸送ユニットとし、各輸送ユニットの重量及び寸法を輸送制限内に収めて、確実に輸送するといった技術、例えば、特許文献1などが提案されている。
具体的には、図11に示すように、密閉圧力容器1を本体タンク5と蓋側タンク6とに2分割する。本体タンク5は円筒形状の主胴部を含んでおり主要構造部3全体を収納するようになっている。また、蓋側タンク6は密閉圧力容器1の一方の端面部分を含み、本体タンク5から見て、ちょうど蓋のようになっており、蓋側タンク6の内部空間には何も収納されていない。
このように2分割可能な密閉圧力容器1は、輸送時に本体タンク5から蓋側タンク6を取り外し、本体タンク5と蓋側タンク6とを別々に輸送することができる。したがって、密閉圧力容器1のままでは重さや大きさが輸送制限を超えていたとしても、これを2つに分けることで、本体タンク5及び蓋側タンク6の両方を、輸送制限の範囲に収めることができる。
また、主要構造部3を収納する本体タンク5に関しては、これを輸送する際、図12に示すように、本体タンク5側の端部には蓋側タンク6に代えて、蓋側タンク6よりも軽量な輸送用蓋部材7を実用上十分な気密性能を持って本体タンク5に取り付け、本体タンク5の密閉状態を維持している。
すなわち、輸送用蓋部材7を本体タンク5に気密性を持って取り付けることで、本体タンク5に収納した主要構造部3の品質を確保している。輸送用蓋部材7は、蓋側タンク6よりも軽い平板部材からなる。そもそも輸送時の重量及び寸法の低減を目的として、密閉圧力容器1を本体タンク5と蓋側タンク6とに分割したので、蓋側タンク6に代わる輸送用蓋部材7は、軽ければ軽いほど良い。
特開平8−241819号公報
しかしながら、以上の従来技術には、次のような課題が指摘されていた。前述した通り、輸送中の製品内部の異物管理や水分管理など、主として品質面の要求から、輸送の準備段階として、密閉圧力容器1に対して真空引き及び真空置換を行っている。これらの操作は、密閉圧力容器1を分割した場合でも同様である。
したがって、従来では、輸送用蓋部材7を取り付けて本体タンク5を密閉し、この状態で本体タンク5の真空引きを行い、続いて、真空状態の本体タンク5内部に対しゲージでゼロ気圧ないし低ガス圧のガスを封入して真空置換を行っていた。
ところで、電力用機器が大型化すれば、本体タンク5も大径化し、それに被せる輸送用蓋部材7も本体タンク5に応じて大きくなる。この時、輸送用蓋部材7の断面積の大きさに比例して輸送用蓋部材7にかかる圧力は増大することになる。
例えば、真空引きを行う過程で、輸送用蓋部材7には最大で、大気圧×蓋部材7の断面積分の力が内向きにかかる。また、真空置換作業時のガス封入の圧力に関しても、輸送用蓋部材7の断面積が増大すれば、それに比例して大きくなる。
輸送用蓋部材7が大きくなれば、輸送用蓋部材7に付与される圧力も大きくなり、それに従って、輸送用蓋部材7に要求される機械的強度も高くなる。そこで、輸送用蓋部材7を強度のある材料で作ったり、リブなどの強度向上構造を採用したりするなどの対策をとっている。したがって、輸送用蓋部材7の製造コストが増大した。
しかも、輸送用蓋部材7が大きいということは、輸送用蓋部材7の本来の目的である輸送時の重量及び寸法の低減効果が得られていないことに他ならない。その結果、輸送用蓋部材7を含む本体タンク5の重量及び寸法が増大してしまい、電力用機器の輸送作業が困難になるといった不具合が生じた。
本発明は、上記の問題点を解消するために提案されたものであり、その目的は、輸送用蓋部材を蓋側タンクと共に本体タンクに取り付けた状態で真空引き及び真空置換を行い、その際、輸送用蓋部材を挟んだ内外の空間を同圧力とすることで、輸送用蓋部材に加わる圧力差を無くして輸送用蓋部材の小型軽量化を実現し、これにより、真空引き及び真空置換の実施により品質の安定化を図ると共に、輸送時の重量及び寸法を大幅に縮小した、電力用機器及びその輸送方法を提供することにある。
上記の目的を達成するために、本発明は、密閉圧力容器内部に絶縁性ガスを充填すると共に鉄心及び巻線を含む内部構造物を収納し、前記密閉圧力容器は本体タンクと、該本体タンクに被せる蓋側タンクとに分割可能であり、輸送時には前記蓋側タンクを前記本体タンクから取り外し、これに代えて輸送用蓋部材を実用上十分な気密性能を持って前記本体タンクに取り付けるようにした電力用機器であって、前記本体タンクの内部空間を主空間、前記蓋側タンクの内部空間を従空間と定義して、これら主空間及び従空間に対し、真空状態とする真空引き、並びに真空状態に所定のガスを封入する真空置換を行うためのバルブを具備した電力用機器において、前記本体タンクに前記輸送用蓋部材及び前記蓋側タンクの両方を取り付けた状態で、前記バルブを操作して、前記真空引きを前記主空間及び前記従空間に対して同時に行い、且つ前記真空置換を前記主空間及び前記従空間に対して同時に行うようにしたことを特徴としている。
また、本発明は、電力用機器の輸送方法として捉えることもできる。すなちわ、前記本体タンクに前記輸送用蓋部材及び前記蓋側タンクの両方を取り付けた状態で、前記バルブを操作して、前記真空引きを前記主空間及び前記従空間に対して同時に行い、さらに、前記本体タンクに前記輸送用蓋部材及び前記蓋側タンクの両方を取り付けた状態のまま、前記バルブを操作し、前記主空間の圧力が所定の輸送圧力に達するまでガスを封入して、前記真空置換を前記主空間及び前記従空間に対して同時に行い、続いて、前記蓋側タンクを前記本体タンクから取り外し、前記輸送用蓋部材を前記本体タンクに取り付けた状態で前記本体タンクを輸送することを特徴とするものである。
以上のような本発明の電力用機器及びその輸送方法では、本体タンクと蓋側タンクを分割してから本体タンクに輸送用蓋部材を取り付けるのではなく、本体タンクに対し蓋側タンクと輸送用蓋部材の両方を取り付ける。この状態で、バルブを操作し、真空引き及び真空置換を、主空間及び従空間に対して同時に行っている。このため、本体タンク側の主空間及び蓋側タンク側の従空間は、同程度の圧力となる。これにより、真空引きから真空置換までの一連の作業工程において、輸送用蓋部材の内外圧力差を、ほぼゼロ、あるいは非常に小さく抑えることができる。
すなわち、真空引き及び真空置換の実施に際しての、輸送用蓋部材に対する機械力を弱めることができる。このため、輸送用蓋部材は大きな機械的強度を持つ必要なくなり、たとえ電力用機器が大型化しても、小型軽量化を進めることが可能となる。
その結果、輸送用蓋部材にて密閉した本体タンクは、輸送重量及び寸法を、大幅に縮小することができ、輸送制限を超える心配がない。しかも、輸送の前段階で真空引き及び真空置換を確実に行うので、優れた品質を確保することが可能である。
本発明の電力用機器及びその輸送方法によれば、輸送用蓋部材を蓋側タンクと共に本体タンクに取り付けた状態で、輸送用蓋部材の内外の空間を同圧力としながら真空引き及び真空置換を行うことにより、これらの作業時に輸送用蓋部材で圧力が加わることがなく、輸送用蓋部材の小型軽量化を進めることが可能となり、品質確保を維持しつつ、輸送時の重量及び寸法を大幅に低減することができる。
以下、本発明に係る実施形態の一例について、図面を参照して具体的に説明する。なお、下記の実施形態の基本的な構成は、いずれも、図11及び図12にて示したガス絶縁変圧器と同様であって、同一部材に関しては同一符号を付して説明は省略する。
(1)第1の実施形態
[1−1]構成
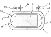
図1〜図5の断面図を用いて、第1の実施形態について説明する。第1の実施形態は、図11及び図12のガス絶縁変圧器と同じく、輸送時に、本体タンク5から蓋側タンク6を取り外し、蓋側タンク6に代えて輸送用蓋部材70を本体タンク5に取り付けるようにしたものである。
輸送用蓋部材70は、第1の実施形態の構成上の特徴の1つであって、気密性能を有する軽量な薄板又はフィルムからなる。輸送用蓋部材70は、本体タンク5及び蓋側タンク6の端面部に対し密着可能に構成されており、タンク5、6に取り付けられた時、両者間で実用上十分な気密性が確保される。
このような気密性を持つ輸送用蓋部材70が本体タンク5及び蓋側タンク6に取り付けられた状態のまま、本体タンク5及び蓋側タンク6に対し真空引き及び真空置換を行う点も、第1の実施形態の特徴である。なお、真空置換時に封入されるガスは、乾燥空気あるいはSF6ガスである。
さらに、第1の実施形態では、本体タンク5の内部空間を主空間A、蓋側タンク6の内部空間を従空間Bと定義しており、これら主空間A及び従空間Bに対し、真空引き及び真空置換を行うためのバルブ8a、8b、9が設けられている。
バルブ8a(図1〜図5に図示)は本体タンク5側面部の蓋側タンク6近傍に配置され、バルブ8b(図2、図3、図5に図示)は蓋側タンク6の側面部に配置されている。これらバルブ8a、8bには主空間A及び従空間Bを互いに連通する共通配管10(図3、図5に図示)が接続されており、バルブ8a、8bが開くと、共通配管10を介して本体タンク5内の主空間Aと蓋側タンク6内の従空間Bとが導通されるようになっている。
バルブ9は、本体タンク5側面部の蓋側タンク6とは反対側の端部付近に配置されており、ガス配管11に取り付けられている。ガス配管11は本体タンク5に接続されている。主空間A及び従空間Bに対する真空引き操作及び真空置換操作は、このバルブ9の操作により行われる。
また、バルブ9からの操作により真空引き及び真空置換を実行する時、バルブ8a、8bは開いた状態にあり、主空間A及び従空間Bは共通配管10によって連通するので、真空引きが終了する時点及び真空置換が終了する時点で、両空間A、Bの圧力は同程度となる。
[1−2]輸送時の準備手順
続いて、第1の実施形態における輸送時の準備手順について説明する。まず、図1に示す段階では、輸送用蓋部材70が本体タンク5の端面部と実用上十分な気密性を持つよう密着して取りつけられている。
図2では、輸送用蓋部材70に対し蓋側タンク6が、実用上十分な気密性を持つよう密着して取りつけられる。図1及び図2の段階では、バルブ8a、8b、9は全て閉じており、バルブ8a、8bに共通配管10は接続されていない。
図3では、本体タンク5側の主空間Aのガスを真空引きする工程から真空置換する工程までを示す。まず、バルブ8a、8bに対して共通配管10を取り付け、バルブ8a、8bを開けて共通配管10によって本体タンク5内の主空間Aと蓋側タンク6内の従空間Bとを連通する。
さらに、バルブ9を開け、主空間A及び従空間Bに対して同時に真空引き操作を行う。そして、主空間Aと従空間Bが共に真空状態となった時点で、バルブ9の操作により主空間A及び従空間Bの真空引きを同時に終了する。
以上のような真空引き作業の終了後、本体タンク5側の主空間Aを、真空状態から乾燥空気あるいはSF6ガスと置換する真空置換を行う。この場合には、バルブ8a、8bを開けて共通配管10より主空間Aと従空間Bを連通する。そして、バルブ9を開け、主空間Aから共通配管10を通って従空間Bへと、乾燥空気あるいはSF6ガスを封入していき、主空間A及び従空間Bに対してほぼ同時に真空置換を行う。
このようにしてガス封入による加圧が進行していき、本体タンク5内の主空間Aの圧力が所定の輸送圧力まで高まった時点で、より詳しくは、主空間A内のガス圧力と大気圧との差圧が、ほぼゼロとなるところまで加圧が進んだところで、バルブ8a、8b、9を閉じ、真空置換作業が終了する。
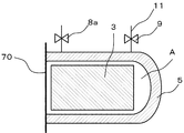
図4に示すように、真空置換が終了した時点で、蓋側タンク6を本体タンク5から取り外す。また、共通配管10をバルブ8aから取り外す。このとき、バルブ8bは蓋側タンク6側に取り付けておく。そして、輸送用蓋部材70を本体タンク5に取り付け、この状態で本体タンク5を輸送する。また、蓋側タンク6は、バルブ8bを取り付けたまま、本体タンク5とは別に輸送する。
[1−3]輸送後の据付手順
現地到着後、本体タンク5から輸送用蓋部材70を撤去し、本体タンク5に蓋側タンク6を再び取り付ける。さらに、共通配管10及びバルブ8bを本体タンク5側のバルブ8aと連結させ、分割前の状態である密閉圧力容器1に戻す(図5参照)。そして、バルブ8a、8bを開けて共通配管10より主空間Aと従空間Bを連通し、バルブ9を開け、密閉圧力容器1の内部空間を真空引きする。
密閉圧力容器1の内部空間が真空状態となった後、バルブ8a、8bを開けたまま、バルブ9の操作により主空間AにSF6ガスを封入し、共通配管10を通過して従空間BまでSF6ガスを封入する。そして、SF6ガスによる密閉圧力容器1の内部圧力が定格圧力に達した時点で、SF6ガスの封入作業を完了する。
[1−4]作用効果
以上のような第1の実施形態における作用効果は次の通りである。すなわち、本実施形態では、蓋側タンク6を取り外した本体タンク5に対して輸送用蓋部材70を取り付けるのではなく、本体タンク5と蓋側タンク6との間に挟むようにして輸送用蓋部材70を密着して取り付けておき、この状態のまま、バルブ9の操作によって、真空引き及び真空置換を行う。
真空引きから真空置換までの一連の作業工程中、主空間A及び従空間Bは共通配管10にて連通しているため、主空間Aと従空間Bの内部圧力はほぼ同一であり、輸送用蓋部材70に対する内外圧力差は、ほぼゼロ、あるいは極めて小さい。
このように本体タンク5と蓋側タンク6とを連結した状態で真空引き及び真空置換を実施することにより、両タンク5、6間の輸送用蓋部材70に加わる圧力を抑制することができ、輸送用蓋部材70の機械的強度は非常に小さくて済む。実際に、輸送用蓋部材70が必要とする機械的強度は、真空置換後の主空間Aの輸送圧力と、大気圧との差圧に耐えられる程度で良くなる。
その結果、仮に電力用機器が大型化したとしても、輸送用蓋部材70を小型軽量化することは容易であり、従来例のものと比べて、格段に薄型化、軽量化を進めた薄板もしくはフィルムであっても、十分に対応可能である。
上述したように、本実施形態によれば、輸送用蓋部材70にて密閉した本体タンク5の輸送重量及び寸法を、大幅に縮小することが可能となり、輸送制限を超える心配がない。したがって、本体タンク5の輸送効率を高めることができ、輸送コストの低減に寄与することができる。また、本実施形態では、輸送の準備段階で真空引き及び真空置換を確実に行っているので、品質確保の面からも問題がなく、優れた信頼性を獲得することができる。
なお、以上の第1の実施形態では、バルブ9の操作にて真空引き及び真空置換を行っているが、同時にバルブ8a、8bの操作によって真空引き及び真空置換を行うようにしてもよく、真空引き及び真空置換に要する作業時間の短縮化を図ることが可能である。
(2)第2の実施形態
[2−1]構成
図6の断面図を用いて、第2の実施形態について説明する。第2の実施形態は、前記第1の実施形態において本体タンク5に設置したバルブ9を省き、共通配管10に設けたバルブ8a、8bの操作により真空引き及び真空置換を行うようにしたものである。
[2−2]作用効果
以上の第2の実施形態によれば、バルブ9が不要となるので、上記第1の実施形態と同じ作用効果を、第1の実施形態よりも少ないバルブ数で実現することが可能となる。したがって、本体タンク5の製作工数が低減し、コスト的に有利となって経済性が向上する。
(3)第3の実施形態
[3−1]構成
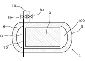
続いて、図7及び図8を参照して第3の実施形態について説明する。第3の実施形態の特徴は、図7に示すように、共通配管10のバルブ8b(蓋側タンク6側)に代えて、輸送用蓋部材70のフランジ部71に仕切り弁51aが設けられている点にある。
この仕切り弁51a部分の詳細を図8に示す。図8に示すように、仕切り弁51aは共通配管10及びバルブ8aを介して本体タンク5内の主空間Aと導通し、蓋側タンク6内の従空間Bとは非導通となっている。ここで、仕切り弁51aから従空間Bの真空引き及びガス封入による真空置換を操作するようになっている。
[3−2]作用効果
上記の第3の実施形態においては、仕切り弁51aからの操作によって従空間Bの真空引き及び真空置換が可能なので、蓋側タンク6側にガス処理用のバルブ8bを取り付ける必要がない。
したがって、最終製品の一部を成す蓋側タンク6に取り付けるバルブ数を削減することができる。このため、上記第1の実施形態と同じ作用効果を、より少ないバルブ数で実現できる。すなわち、最終製品の製作工数を削減可能である。しかも、蓋側タンク6に関しては部材を全く取り付けていないので、その製造コストを抑えることができ、いっそう優れた経済性が得られる。
(4)第4の実施形態
[4−1]構成
さらに、図9及び図10を用いて第4の実施形態について説明する。第4の実施形態は、図9に示すように、共通配管10のバルブ8a(本体タンク5側)に代えて、輸送用蓋部材70のフランジ部71に仕切り弁51bが設けられている点にある。
この仕切り弁51b部分の詳細を図10に示す。図10に示すように、仕切り弁51bは、前記第4の実施形態の仕切り弁51aとは反対に、本体タンク5内の主空間Aと非導通し、蓋側タンク6内の従空間Bと導通となっている。すなわち、仕切り弁51bから主空間Aの真空引き操作及びガス封入による真空置換操作を行うようになっている。
[4−2]作用効果
上記のような第4の実施形態によれば、仕切り弁51bによって主空間Aの真空引き及びガス封入による真空置換が可能となり、本体タンク5側へのガス処理用バルブ8a、9及びガス配管11の取り付けは不要である。したがって、最終製品の一部を成す本体タンク5に取り付ける部材を削減することができる。つまり、輸送制限が問題となる本体タンク5に関して、新たに部材を取り付ける必要が全くなく、経済性の向上と同時に、本体タンク5の小型軽量化に貢献することができる。
(5)他の実施形態
本発明は、上述した実施形態に限定されるものではなく、各部材の構成や材料、形状、あるいは配置数等は適宜変更可能である。例えば、本体タンク5側の主空間Aが大気圧よりも0〜0.05MPa程度負圧であるように設定し、輸送用蓋部材70の機械的強度をこの負圧状態に耐え得るようにしてもよい。
本体タンク5内部を真空状態から乾燥空気あるいはSF6ガスと置換する際の所要時間、すなわち真空置換作業にかかる作業時間は、本体タンク5の最終到達圧力が低いほど短時間で済む。このため、本体タンク5側の主空間Aを大気圧よりも0〜0.05MPa程度負圧とすれば、主空間Aの圧力を大気圧まで上げる場合と比べて、ガス封入作業時間を少しでも短縮可能である。
しかも、蓋側タンク6を外す際に、輸送用蓋部材70の内外の圧力差が若干あったとしても、輸送用蓋部材70は、0.05MPa程度までの負圧に耐え得る機械的強度を持つため、強固であり、破損を防止でき、優れた信頼性を発揮できる。しかも、輸送用蓋部材70の内外の圧力調整に際して、高い精度で調整を行う必要がなくなり、作業効率を高めることができる。
また、以上の実施形態とは逆に、本体タンク5側の主空間Aが大気圧よりも0〜0.05MPa程度正圧であるように設定し、輸送用蓋部材70の機械的強度をこの正圧状態に耐え得るようにした実施形態も包含する。
このような実施形態によれば、輸送用蓋部材70は、0.05MPa程度までの正圧に耐え得る機械的強度を持つため、やはり強固であって、前述した実施形態と同じく、破損防止効果があり、圧力調整作業の信頼性を高めることができる。これに加えて、本体タンク5内のガス圧力が大気圧より大きいことを確認しながら輸送作業を行う必要がなくなり、輸送作業の負担が軽減するといったメリットがある。
本発明に係る第1の実施形態の断面図(輸送用蓋部材を取り付けた状態)。 第1の実施形態の断面図(蓋側タンクを取付けた状態)。 第1の実施形態の断面図(共通配管を取付けた状態)。 第1の実施形態の断面図(蓋側タンクを外した輸送荷姿)。 第1の実施形態の断面図(輸送後現地据え付け状態)。 本発明に係る第2の実施形態の断面図。 本発明に係る第3の実施形態の断面図。 第3の実施形態の要部断面図。 本発明に係る第4の実施形態の断面図。 第4の実施形態の要部断面図。 一般的なガス絶縁変圧器の断面図。 一般的なガス絶縁変圧器の断面図(輸送用蓋部材を取り付けた状態)。
符号の説明
1…密閉圧力容器
2…絶縁性ガス
3…主要構造部
5…本体タンク
51a、51b…仕切り弁
6…蓋側タンク
7、70…輸送用蓋部材
71…フランジ
8a、8b、9…バルブ
10…共通配管
11…ガス配管
A…主空間
B…従空間

Claims (7)

  1. 密閉圧力容器内部に絶縁性ガスを充填すると共に鉄心及び巻線を含む内部構造物を収納し、前記密閉圧力容器は本体タンクと、該本体タンクに被せる蓋側タンクとに分割可能であり、輸送時には前記蓋側タンクを前記本体タンクから取り外し、これに代えて輸送用蓋部材を実用上十分な気密性能を持って前記本体タンクに取り付けるようにした電力用機器であって、前記本体タンクの内部空間を主空間、前記蓋側タンクの内部空間を従空間と定義して、これら主空間及び従空間に対し、真空状態とする真空引き、並びに真空状態に所定のガスを封入する真空置換を行うためのバルブを具備した電力用機器において、
    前記本体タンクに前記輸送用蓋部材及び前記蓋側タンクの両方を取り付けた状態で、前記バルブを操作して、前記真空引きを前記主空間及び前記従空間に対して同時に行い、且つ前記真空置換を前記主空間及び前記従空間に対して同時に行うようにしたことを特徴とする電力用機器。
  2. 前記輸送用蓋部材は、気密性能を有する薄板又はフィルムからなることを特徴とする請求項1に記載の電力用機器。
  3. 前記主空間及び前記従空間を互いに連通する共通配管を設置し、
    前記共通配管に前記バルブを設けたことを特徴とする請求項1又は2に記載の電力用機器。
  4. 前記輸送用蓋部材に前記バルブを設けたことを特徴とする請求項1〜3のいずれか1項に記載の電力用機器。
  5. 前記真空置換時の前記主空間の圧力を大気圧よりも0〜0.05MPa程度、正圧又は負圧に設定し、
    前記輸送用蓋部材は、前記本体タンクに取り付けた状態で、前記正圧又は負圧に耐える機械的強度を備えたことを特徴とする請求項1〜4のいずれか1項に記載の電力用機器。
  6. 前記真空置換時に、乾燥空気、不活性ガスあるいは絶縁性ガスを封入したことを特徴とする請求項1〜5のいずれか1項に記載の電力用機器。
  7. 密閉圧力容器内部に絶縁性ガスを充填すると共に鉄心及び巻線を含む内部構造物を収納し、前記密閉圧力容器は本体タンクと、該本体タンクに被せる蓋側タンクとに分割可能であり、輸送時には前記蓋側タンクを前記本体タンクから取り外し、これに代えて輸送用蓋部材を実用上十分な気密性能を持って前記本体タンクに取り付けるようにした電力用機器の輸送方法であって、前記本体タンクの内部空間を主空間、前記蓋側タンクの内部空間を従空間と定義して、これら主空間及び従空間に対し、真空状態とする真空引き、並びに真空状態に所定のガスを封入する真空置換を行うためのバルブを具備した電力用機器の輸送方法において、
    前記本体タンクに前記輸送用蓋部材及び前記蓋側タンクの両方を取り付けた状態で、前記バルブを操作して、前記真空引きを前記主空間及び前記従空間に対して同時に行い、
    さらに、前記本体タンクに前記輸送用蓋部材及び前記蓋側タンクの両方を取り付けた状態のまま、前記バルブを操作し、前記主空間の圧力が所定の輸送圧力に達するまでガスを封入して、前記真空置換を前記主空間及び前記従空間に対して同時に行い、
    続いて、前記蓋側タンクを前記本体タンクから取り外し、
    前記輸送用蓋部材を前記本体タンクに取り付けた状態で前記本体タンクを輸送することを特徴とする電力用機器の輸送方法。
JP2008241640A 2008-09-19 2008-09-19 電力用機器及びその輸送方法 Expired - Fee Related JP5238425B2 (ja)

Priority Applications (1)

Application Number Priority Date Filing Date Title
JP2008241640A JP5238425B2 (ja) 2008-09-19 2008-09-19 電力用機器及びその輸送方法

Applications Claiming Priority (1)

Application Number Priority Date Filing Date Title
JP2008241640A JP5238425B2 (ja) 2008-09-19 2008-09-19 電力用機器及びその輸送方法

Publications (2)

Publication Number Publication Date
JP2010074007A true JP2010074007A (ja) 2010-04-02
JP5238425B2 JP5238425B2 (ja) 2013-07-17

Family

ID=42205504

Family Applications (1)

Application Number Title Priority Date Filing Date
JP2008241640A Expired - Fee Related JP5238425B2 (ja) 2008-09-19 2008-09-19 電力用機器及びその輸送方法

Country Status (1)

Country Link
JP (1) JP5238425B2 (ja)

Citations (8)

* Cited by examiner, † Cited by third party
Publication number Priority date Publication date Assignee Title
JPS5086632U (ja) * 1973-12-14 1975-07-23
JPS6273609A (ja) * 1985-09-27 1987-04-04 Toshiba Corp 分割型変圧器
JPH06181126A (ja) * 1992-12-11 1994-06-28 Aichi Electric Co Ltd 中性点接地装置
JPH0837111A (ja) * 1994-07-25 1996-02-06 Toshiba Corp 分解輸送変圧器の輸送装置
JPH08167527A (ja) * 1994-12-15 1996-06-25 Meidensha Corp 分割形変圧器
JPH08241819A (ja) * 1995-03-06 1996-09-17 Toshiba Corp ガス絶縁変圧器
JP2002025838A (ja) * 2000-07-04 2002-01-25 Hitachi Ltd 絶縁物の絶縁処理作業法
JP2007317751A (ja) * 2006-05-23 2007-12-06 Toshiba Corp ガス絶縁静止誘導電気機器

Patent Citations (8)

* Cited by examiner, † Cited by third party
Publication number Priority date Publication date Assignee Title
JPS5086632U (ja) * 1973-12-14 1975-07-23
JPS6273609A (ja) * 1985-09-27 1987-04-04 Toshiba Corp 分割型変圧器
JPH06181126A (ja) * 1992-12-11 1994-06-28 Aichi Electric Co Ltd 中性点接地装置
JPH0837111A (ja) * 1994-07-25 1996-02-06 Toshiba Corp 分解輸送変圧器の輸送装置
JPH08167527A (ja) * 1994-12-15 1996-06-25 Meidensha Corp 分割形変圧器
JPH08241819A (ja) * 1995-03-06 1996-09-17 Toshiba Corp ガス絶縁変圧器
JP2002025838A (ja) * 2000-07-04 2002-01-25 Hitachi Ltd 絶縁物の絶縁処理作業法
JP2007317751A (ja) * 2006-05-23 2007-12-06 Toshiba Corp ガス絶縁静止誘導電気機器

Also Published As

Publication number Publication date
JP5238425B2 (ja) 2013-07-17

Similar Documents

Publication Publication Date Title
JP4709062B2 (ja) タンク形真空遮断器
JP6044645B2 (ja) 真空遮断器
TW512565B (en) Switch gear and power switching apparatus
WO2012115902A2 (en) Dry-type network transformer
JP5238425B2 (ja) 電力用機器及びその輸送方法
CN101834087A (zh) 改进型高压断路器
CN106716146B (zh) 气体中的浸油有源部分设计
KR101289837B1 (ko) 가스로 절연된 센서 모듈
CN101950670A (zh) 高压电力电容器装置及其制作方法
EP3404678B1 (en) High voltage assembly and method to operate the high voltage assembly
WO2016082863A1 (en) Valve unit for power converter station
CN101877273B (zh) 电压互感器
EP2975413B1 (en) Active part of an RC voltage divider
WO2013113374A1 (en) Removable under pressure transportation supports for pure gas wall bushings
CN109160052B (zh) 一种gis母线管道运输工装结构
JP2626952B2 (ja) 中性点接地装置
JP7302346B2 (ja) 静止誘導電器及び静止誘導電器の気泡除去方法
JPH0837111A (ja) 分解輸送変圧器の輸送装置
JPH025604Y2 (ja)
JP4088376B2 (ja) 計器用変圧器の輸送装置及び輸送方法
JPH0693408B2 (ja) 負荷時タツプ切換変圧器
JP2013059213A (ja) 接続装置
JPS6343720Y2 (ja)
JP2002025838A (ja) 絶縁物の絶縁処理作業法
JPH06283347A (ja) 分割型変圧器

Legal Events

Date Code Title Description
A621 Written request for application examination

Free format text: JAPANESE INTERMEDIATE CODE: A621

Effective date: 20110916

A977 Report on retrieval

Free format text: JAPANESE INTERMEDIATE CODE: A971007

Effective date: 20130131

TRDD Decision of grant or rejection written
A01 Written decision to grant a patent or to grant a registration (utility model)

Free format text: JAPANESE INTERMEDIATE CODE: A01

Effective date: 20130305

A61 First payment of annual fees (during grant procedure)

Free format text: JAPANESE INTERMEDIATE CODE: A61

Effective date: 20130401

FPAY Renewal fee payment (event date is renewal date of database)

Free format text: PAYMENT UNTIL: 20160405

Year of fee payment: 3

LAPS Cancellation because of no payment of annual fees