JP2010071797A - 画像処理による車両のホイル位置計測装置 - Google Patents

画像処理による車両のホイル位置計測装置 Download PDF

Info

Publication number
JP2010071797A
JP2010071797A JP2008239520A JP2008239520A JP2010071797A JP 2010071797 A JP2010071797 A JP 2010071797A JP 2008239520 A JP2008239520 A JP 2008239520A JP 2008239520 A JP2008239520 A JP 2008239520A JP 2010071797 A JP2010071797 A JP 2010071797A
Authority
JP
Japan
Prior art keywords
foil
vehicle
line sensor
wheel
image processing
Prior art date
Legal status (The legal status is an assumption and is not a legal conclusion. Google has not performed a legal analysis and makes no representation as to the accuracy of the status listed.)
Granted
Application number
JP2008239520A
Other languages
English (en)
Other versions
JP5228731B2 (ja
Inventor
Makoto Niwakawa
誠 庭川
Minoru Kobayashi
小林  実
Current Assignee (The listed assignees may be inaccurate. Google has not performed a legal analysis and makes no representation or warranty as to the accuracy of the list.)
Meidensha Corp
Meidensha Electric Manufacturing Co Ltd
Original Assignee
Meidensha Corp
Meidensha Electric Manufacturing Co Ltd
Priority date (The priority date is an assumption and is not a legal conclusion. Google has not performed a legal analysis and makes no representation as to the accuracy of the date listed.)
Filing date
Publication date
Application filed by Meidensha Corp, Meidensha Electric Manufacturing Co Ltd filed Critical Meidensha Corp
Priority to JP2008239520A priority Critical patent/JP5228731B2/ja
Publication of JP2010071797A publication Critical patent/JP2010071797A/ja
Application granted granted Critical
Publication of JP5228731B2 publication Critical patent/JP5228731B2/ja
Expired - Fee Related legal-status Critical Current
Anticipated expiration legal-status Critical

Links

Images

Landscapes

  • Length Measuring Devices By Optical Means (AREA)

Abstract

【課題】より正確に且つ高精度に性能試験中の車両のホイル位置を計測することが可能な画像処理による車両のホイル位置計測装置を提供する。
【解決手段】ローラ21上に設置されホイル11を回転させて性能試験を行う車両1のホイル11の位置を計測する車両のホイル位置計測装置を、回転する前記ホイル11に対向する位置に走査方向が水平方向または鉛直方向となるように且つその視野が前記ホイル11の外周縁と二箇所で交差するように設置されて、回転する前記ホイル11を撮像するラインセンサ3と、前記ラインセンサ3によって取得した画像上に前記ホイル11の外周縁を検出し、検出した前記ホイル11の外周縁の位置及び検出した前記ホイル11の外周縁間の距離に基づいて前記ホイル11の位置を算出する画像処理部4とから構成した。
【選択図】図1

Description

本発明は、画像処理による車両のホイル位置計測装置に関し、とくに、シャシーダイナモメータ上で走行する車両のホイルの位置を計測する画像処理による車両のホイル位置計測装置に関する。
室内等で自動車等の車両に道路走行を模擬させてエンジン性能の検査等を行う装置としてシャシーダイナモメータが知られている。シャシーダイナモメータは、ピットにローラをその頂部が床面と同等の高さとなるように配置し、タイヤがローラの真上に位置するように車両を固定して各種走行条件でタイヤを駆動させ、車両の動力性能等を検査する装置である。
このようなシャシーダイナモメータにあっては、平らな道路走行を模擬するためタイヤの中心が常にローラの真上に設置されていることが望ましい。しかし、動力性能試験中においては、各種タイヤの駆動力の変動によって車両がローラの前後方向に移動する場合がある。このような場合、タイヤの中心がローラの真上からずれることにより、試験における計測値に誤差が生じるおそれがあった。
従来、このような問題に対処する手段として、タイヤの外周や、ホイルとタイヤの継ぎ目、又はホイルに設けられた継ぎ目の画像を取得し、画像処理でホイル中心を計測し車両の設置状態を判定する技術が開示されている(例えば、特許文献1参照)。レーザなどの他の計測手段ではホイル中心計測が困難であるため、特許文献1に開示されているような画像処理を使用する計測手段は有効な手法である。
特開2005−351730号公報
しかしながら、特許文献1に記載されるような従来の手法においては、ホイルの外周や、ホイルとタイヤの継ぎ目、又はホイルに設けられた継ぎ目の画像を処理してホイル中心を計測する技術であるため、ホイル全体を撮像する必要がある。そのため、撮像された画像はホイル中心が小さく写り、高精度にホイルの中心を計測することが困難であった。また、ホイルの汚れや照明状態の変動の影響によって、ホイル中心を誤計測するおそれもあった。
更に、ホイルの形状を基にホイルの中心を求める構成としているが、ホイルの形状の中心と実際の回転中心とはその位置が異なる場合がある。例えば、ホイルバランスが不均一であるホイルの形状中心と、実際の動的な回転中心は数mm単位でズレている場合がある。このように、ホイルの形状の中心が正確な回転中心ではない場合、ホイルの形状の中心と回転中心とのずれが原因となってエンジン性能検査において計測誤差が生じ、正確な検査結果が得られないおそれがあった。
このようなことから本発明は、より正確に且つ高精度に性能試験中の車両の位置を計測することが可能な画像処理による車両のホイル位置計測装置を提供することを目的とする。
上記の課題を解決するための第1の発明に係る画像処理による車両のホイル位置計測装置は、ローラ上に設置されホイルを回転させて性能試験を行う車両のホイルの位置を計測するホイル位置計測装置であって、回転する前記ホイルに対向する位置に走査方向が水平方向または鉛直方向となるように且つその視野が前記ホイルの外周縁と二箇所で交差するように設置されて、回転する前記ホイルを撮像するラインセンサと、前記ラインセンサによって取得した画像上に前記ホイルの外周縁を検出し、検出した前記ホイルの外周縁の位置に基づいて前記ホイルの前記走査方向の位置を算出する一方、検出した前記ホイルの外周縁間の距離に基づいて前記ホイルの前記走査方向と直交する方向の位置を算出する画像処理手段とからなることを特徴とする。
上記の課題を解決するための第2の発明に係る画像処理による車両のホイル位置計測装置は、ローラ上に設置されホイルを回転させて性能試験を行う車両のホイルの位置を計測するホイル位置計測装置であって、前記ホイルに対向する位置に走査方向が水平方向となるように且つその視野が前記ホイルの外周縁と一箇所で交差するように配置されて、回転する前記ホイルを撮像する第一のラインセンサと、前記ホイルに対向する位置に走査方向が鉛直方向となるように且つその視野が前記ホイルの外周縁と一箇所で交差するように配置されて、回転する前記ホイルを撮像する第二のラインセンサと、前記第一のラインセンサによって取得した画像上の前記ホイルの外周縁の位置及び前記第二のラインセンサによって取得した画像上の前記ホイルの外周縁の位置を検出し、検出した前記ホイルの二つの外周縁の位置に基づいて前記ホイルの水平方向の位置及び鉛直方向の位置をそれぞれ算出する画像処理手段とからなることを特徴とする。
上記の課題を解決するための第3の発明に係る画像処理による車両のホイル位置計測装置は、第1または第2の発明において、前記画像処理手段によって算出した車両の位置の変化に基づいて前記車両の移動速度を算出する演算手段を備えることを特徴とする。
上記の課題を解決するための第4の発明に係る画像処理による車両のホイル位置計測装置は、第1乃至第3のいずれかの発明において、前記画像処理手段において算出した車両の位置の変化に基づいて移動加速度を算出する演算手段を備えることを特徴とする。
上述した第1の発明に係る画像処理による車両のホイル位置計測装置によれば、ローラ上に設置されホイルを回転させて性能試験を行う車両のホイルの位置を計測するホイル位置計測装置を、回転する前記ホイルに対向する位置に走査方向が水平方向または鉛直方向となるように且つその視野が前記ホイルの外周縁と二箇所で交差するように設置されて、回転する前記ホイルを撮像するラインセンサと、前記ラインセンサによって取得した画像上に前記ホイルの外周縁を検出し、検出した前記ホイルの外周縁の位置に基づいて前記ホイルの前記走査方向の位置を算出する一方、検出した前記ホイルの外周縁間の距離に基づいて前記ホイルの前記走査方向と直交する方向の位置を算出する画像処理手段とから構成したので、従来に比較して非接触でより高精度にシャシーダイナモメータによる試験走行中の車両のホイルの位置を検出することができる。
また、上述した第2の発明に係る画像処理による車両のホイル位置計測装置によれば、ローラ上に設置されホイルを回転させて性能試験を行う車両のホイルの位置を計測するホイル位置計測装置を、前記ホイルに対向する位置に走査方向が水平方向となるように且つその視野が前記ホイルの外周縁と一箇所で交差するように配置されて、回転する前記ホイルを撮像する第一のラインセンサと、前記ホイルに対向する位置に走査方向が鉛直方向となるように且つその視野が前記ホイルの外周縁と一箇所で交差するように配置されて、回転する前記ホイルを撮像する第二のラインセンサと、前記第一のラインセンサによって取得した画像上の前記ホイルの外周縁の位置及び前記第二のラインセンサによって取得した画像上の前記ホイルの外周縁の位置を検出し、検出した前記ホイルの二つの外周縁の位置に基づいて前記ホイルの水平方向の位置及び鉛直方向の位置をそれぞれ算出する画像処理手段とから構成したので、従来に比較して非接触でより高精度にシャシーダイナモメータによる試験走行中の車両のホイルの位置を検出することができる。
また、上述した第3の発明に係る画像処理による車両のホイル位置計測装置によれば、前記画像処理手段によって算出した車両の位置の変化に基づいて前記車両の移動速度を算出する演算手段を備えるため、第1又は第2の発明による効果に加えて、シャシーダイナモメータによる試験走行に係る車両のホイルの回転速度をより高精度に検出することができる。
また、上述した第4の発明に係る画像処理による車両のホイル位置計測装置によれば、前記画像処理手段において算出した車両の位置の変化に基づいて移動加速度を算出する演算手段を備えるため、第1乃至第3の発明による効果に加えて、シャシーダイナモメータによる試験走行に係る車両のホイルの回転加速度をより高精度に検出することができる。
本発明の実施の形態を以下の実施例において詳細に説明する。
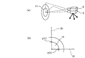
図1乃至図5を用いて本発明の第1の実施例を詳細に説明する。図1は本実施例に係る画像処理による車両位置計測装置の設置例を示す概略構成図、図2は本実施例におけるホイルとラインセンサの視野の関係を示す説明図、図3は本実施例に係る車両位置計測装置の概略の構成を示すブロック図、図4は本実施例において得られるラインセンサ画像の一例を示す説明図、図5は本実施例に係る車両位置計測装置における車両位置の算出工程を示すフローチャートである。
図1に示すように、本実施例に係る画像処理による車両位置計測装置は、各種走行条件で車両1のホイル11を駆動させて自動車の動力性能試験を行うシャシーダイナモメータ2とともに用いるものであり、シャシーダイナモメータ2上に設置された車両1のホイル11を撮像するラインセンサ3、および、該ラインセンサ3によって取得した画像を解析して動力性能試験時における車両1の位置を出力する画像処理部4とから構成される。
シャシーダイナモメータ2は、頂部が床面(図示せず)とほぼ同一の高さを維持するように設けられた回転体であるローラ21と、該ローラ21の回転の動力源であるダイナモメータ22、および、該ダイナモメータ22のトルク(及び速度)を制御するシャシーダイナモメータ(CHDY)制御装置23とを備え、例えば、上り坂を再現する場合は吸収トルクを大きく、下り坂を再現する場合は吸収トルクを小さくする等により、実際の路上を再現するように構成されている。
ラインセンサ3はホイル11に対向する位置に、図2に示す走査方向sが水平方向に沿うように、且つ、その視野31がホイル11の外周縁と二箇所で交差するように配置されている。ここで、ラインセンサ3は、その視野31が動力性能試験中においてホイル11の回転中心から上端までの間、又は回転中心から下端までの間のほぼ中間位置を撮像するように設置すると好適である。
なお、図2(b)に示した二点鎖線は、ホイル11の位置が変化した場合の例を誇張して示すものである。図2(b)から、ホイル11が前後および鉛直方向に移動することにより、ラインセンサ3の視野31におけるホイル11の外周縁の位置x1(t),x2(t)及び該ホイル11の外周縁の位置x1(t),x2(t)間の距離W(t)が変化することがわかる。
そして画像処理部4は、図3に示すように、ラインセンサ3が撮像した画像を処理メモリ45に保存する画像入力部41と、変換係数kx,kyの入力を行う変換係数入力部42と、ラインセンサ3から入力された画像を時系列的に並べてなるラインセンサ画像(図4参照)上におけるホイル11の外周縁の位置x1(t)、x2(t)に対応する位置u1(t),u2(t)を検出するホイル位置検出部43と、変換係数kx,ky及びラインセンサ画像上のホイル11の外周縁の位置u1(t),u2(t)に基づいてホイル11の実際の位置(x(t),y(t))を算出する距離換算部44と、画像データ、変換係数、位置データ等を記憶する処理メモリ45とを備えている。
ここで、上記変換係数kx,kyは図4に示すラインセンサ画像上のホイル11の外周縁の位置u1(t),u2(t)から実際の車両1の位置(x(t),y(t))を求めるために予め実験的に算出した係数である。
以下に、図5を用いて画像処理部4による処理の流れを具体的に説明する。図5に示すように、まず画像入力部41においてラインセンサ3が撮像した画像を連続的に取り込み時系列的に並べて図4に示すようなラインセンサ画像を生成し、これを画像データとして処理メモリ45に保存する(ステップS1)。
続いて、ホイル位置検出部43において、処理メモリ45から画像データを取り出し、この画像データに対して二値化処理、またはパターンマッチング処理を施してラインセンサ画像上のホイル11の軌跡を抽出し、時刻tにおけるホイル11の外周縁のラインセンサ画像上の位置u1(t),u2(t)を検出し、検出結果を位置データとして処理メモリ45に保存する(ステップS2)。
なお、例えばパターンマッチング処理によりラインセンサ画像からホイル11の前後の周縁の位置を検出する場合は、予めラインセンサ画像上に表示されるホイル11の軌跡を登録しておき、登録画像を図4に示すラインセンサ画像中に探索して、登録画像と一致する部分をホイル11として抽出し、抽出したラインセンサ画像上のホイル11の両端をホイル11の外周縁の位置として検出すればよい。
続いて、距離換算部44において、処理メモリ45から位置データと変換係数kx,kyとを取り出し、取り出した位置データ及び変換係数kx,kyを用いて実際のホイル11の中心の位置を算出する(ステップS3)。
なお、上記変換係数kx,kyは、例えば、シャシーダイナモメータ2上に設置された車両1の試験走行を行う前に実際に車両1を移動させ、実際の移動量と、ラインセンサ画像上のホイル11の外周縁の位置の変化量とを比較することにより算出することができる。
即ち、例えば、車両1の静止時におけるホイル11の中心を原点、ラインセンサ3の視野31と交差するホイル11の外周縁の中心P(0,y0)を動力性能試験を行う前のホイル11の基準の位置とし、このときのラインセンサ画像上のホイル11の外周縁の位置及び該ホイル11の外周縁間の距離をu10,u20及びw0(=u20−u10)とする一方、車両1を移動させた後の基準点Pの位置を(x,y)、このときのラインセンサ画像上のホイル11の外周縁の位置及びホイル11の外周縁間の距離をu1,u2及びw(=u2−u1)とすると、変換係数kx,kyは次式(1)、(2)を用いて求めることができる。
x=x/((u1+u2)/2−(u10+u20)/2) …(1)
y=(y−y0)/(w−w0) …(2)
そして、距離換算部44において、上記kx、ky、時刻tにおけるラインセンサ画像上のホイル11の外周縁の位置u1(t),u2(t)、及び時刻tにおけるラインセンサ画像上のホイル11の外周縁間の距離w(t)(=u2(t)−u1(t))を用いて次式(3)、(4)の演算を行うことにより、時刻tにおけるホイル11の中心位置(x(t),y(t))を算出することができる。
x(t)=kx((u1(t)+u2(t))/2−(u10+u20)/2) …(3)
y(t)=ky(w(t)−w0)−y0 …(4)
2次元の画像を撮影できる一般的なエリアカメラは、サンプリング周波数が60fps程度である。これに対してラインセンサは一次元の位置を計測するのみである一方、エリアカメラに比較して高解像度かつ高い撮像周波数で撮影できるという利点がある。
本実施例によれば、上述したように高解像度かつ高い撮像周波数での撮影が可能な一台のラインセンサ3を使用してホイル11を撮像した画像を解析し、ラインセンサ画像上のホイル11の外周縁の位置と、ラインセンサ画像上のホイル11の外周縁間の距離とからホイル11の実際の位置を算出する構成とし、一台のラインセンサを用いた簡素な構造で、動力性能試験中のホイル11の一方向の位置のみならず二方向(本実施例では前後方向及び鉛直方向)の位置を、従来に比較してコストを抑制しつつ高性能に計測することができる。
図6乃至図8を用いて本発明の第2の実施例について説明する。図6は本実施例に係る画像処理による車両位置計測装置の設置例を示す概略構成図、図7は本実施例におけるホイルとラインセンサの視野の関係を示す説明図、図8は本実施例において得られるラインセンサ画像の一例を示す説明図である。
本実施例は、図1に示す実施例1の車両位置計測装置に比較してラインセンサの構成が異なるものである。その他の構成は図1,3,5に示し上述した構成と概ね同様であり、以下、同様の作用を奏する部材には同一の符号を付して重複する説明は適宜省略し、異なる点を中心に説明する。
図6に示すように、本実施例は、実施例1に比較して、ラインセンサ(以下、第一のラインセンサという)3の配置を変更するとともに、新たに第二のラインセンサ5を設けたものである。
具体的には、図7に示すように、第一のラインセンサ3をその視野31がホイル11の外周縁と一箇所で交差するように配置するとともに、第二のラインセンサ5を、その走査線方向sが鉛直方向に沿うように、且つ、その視野51がホイル11の外周縁と一箇所で交差するように配置したものであって、それぞれのラインセンサ3,5が撮像した画像を時系列的に並べて図8(a),(b)に示すようなラインセンサ画像を取得し、得られたラインセンサ画像を画像処理部4において解析することにより、動力性能試験中のホイル11の位置を検出することを特徴としている。
即ち、本実施例において画像処理部4では、画像入力部41において、第一、第二のラインセンサ3,5からそれぞれ入力した画像を画像データとして処理メモリ45に保存する。
そして、ホイル位置検出部43では、処理メモリ45から取り出した二つの画像データに対してそれぞれ二値化処理、またはパターンマッチング処理を施してラインセンサ3,5からそれぞれ得られるラインセンサ画像上のホイルの軌跡を抽出し、第一のラインセンサ3から得られるラインセンサ画像上の、視野31と交差するホイル11の外周縁の位置x(t)に対応する位置ux(t)、第二のラインセンサ5から得られるラインセンサ画像上の、視野51と交差するホイル11の外周縁の位置y(t)に対応するラインセンサ画像上の位置uy(t)をそれぞれ検出して、これらを位置データとして処理メモリ45に保存する。
そして、距離換算部44において、処理メモリ45から位置データと変換係数kx,kyとを取り出し、取り出した位置データ及び変換係数kx,kyを用いて実際のホイル11の位置を算出する。
なお、本実施例において上記変換係数kx,kyは、シャシーダイナモメータ2上に設置された車両1の試験走行を行う前に実際に車両1を移動させ、実際の移動量と、ラインセンサ画像上のホイル11の位置の変化量とを比較することにより算出することができ、例えば、ホイル11の中心を原点として、車両1の静止時においてラインセンサ3,5の視野31,51と交差するホイル11の外周縁の位置をx0,y0、このときのそれぞれのラインセンサ画像上のホイル11の外周縁の位置をux0,uy0、車両1を移動させた後のホイル11の外周縁の位置をx,y、このときのラインセンサ画像上のホイル11の外周縁の位置をux,uyとすると、変換係数kx,kyは次式(5)、(6)で求めることができる。
x=(x−x0)/(ux−ux0) …(5)
y=(y−y0)/(uy−uy0) …(6)
そして、上記kx、kyと、時刻tにおけるそれぞれのラインセンサ画像上のホイル11の外周縁の位置ux(t),uy(t)を用いて次式(7)、(8)の演算を行うことにより、時刻tにおける実際のホイル11の中心位置(x(t),y(t))を算出することができる。
x(t)=kx(ux(t)−ux0) …(7)
y(t)=ky(wy(t)−uy0) …(8)
上述した本実施例に係る画像処理による車両位置計測装置によれば、高解像度かつ高い撮像周波数での撮影が可能な二台のラインセンサ3,5を使用してホイル11を撮像した画像を解析し、ラインセンサ画像上のホイル11の外周縁の位置からホイル11の実際の位置を算出する構成とし、二台のラインセンサを用いて、動力性能試験中のホイル11の二方向(本実施例では前後方向及び鉛直方向)の位置を、従来に比較してコストを抑制しつつ高性能に計測することができるという利点がある。
本発明の第4の実施例について説明する。本実施例は、上述した実施例1乃至実施例3のいずれかにおいて、算出された車両1の位置データに基づいて動力性能試験時における車両1の移動速度、及び移動加速度を算出する演算手段を備える例である。その他の構成は上述した実施例1乃至実施例3において説明したものと同様であり、重複する説明は省略する。
本実施例は、実施例1又は実施例2の画像処理による車両位置計測装置がラインセンサ3を用いて撮像した画像に基づいて車両1の位置を計測する構成であることから、図3に示し上述した画像処理部4において高いサンプリング周波数の位置データが得られることに着目してなされたものであり、上記位置データを用いて動力性能試験時における車両1の移動速度、移動加速度、及び質量が一定である場合は力を高精度に算出することができる。
なお、移動速度、移動加速度は、画像処理部4において算出した位置データを微分することにより得ることができるが、ラインセンサ3(ラインセンサ5)のサンプリング周波数が高いために、上記位置データから得られた移動速度のデータや移動加速度のデータは重畳されて周波数の事象解析が困難となる場合が考えられる。そのため、演算手段として、図9に示すように、画像処理部4において算出した位置x(t)のデータをローパス(LP)フィルタ6−1及びバンドパス(BP)フィルタ6−2〜6−nによって複数の周波数帯に分割し、分割された位置データをそれぞれの周波数帯域に対応するように設けられた微分器7−1〜7−nに入力するようにしても良い。
エリアカメラによって撮像した画像を用いて動力性能試験時における車両1の位置を計測する従来の構造においては、膨大なデータを画像処理する必要があったため、動力性能試験中に例えばスロットル開度やその他のデータと連動して車両1の位置をサンプリングすることが困難であったが、本実施例によれば、ラインセンサ3(ラインセンサ5)を用いることによりデータの容量を低減させることができるとともに、車両1の位置を高精度に計測することができるものであって、画像処理部4における処理速度を向上させることができるため全てのデータを同時間軸でサンプリングすることができ、動力性能試験をより高精度に実施することが可能となる。
このように、本発明は、ホイル11を撮像するラインセンサ3(及びラインセンサ5)と、このラインセンサ3(及びラインセンサ5)が撮像した画像を解析する画像処理部4とを備えてホイル11の位置を検出するものであり、簡素な構成で高精度にシャシーダイナモメータ2を用いた動力性能試験中の車両1のホイル11の位置を計測することができる。
本発明は、画像処理による車両位置及び加速度計測装置に関し、とくに、シャシーダイナモメータ上で走行する車両の位置及び加速度を計測する画像処理による車両位置計測装置に適用して好適なものである。
本発明の実施例1に係る画像処理による車両位置計測装置の一例を示す概略構成図である。 図2(a)は本発明の第1の実施例におけるホイルとラインセンサの設置例を示す説明図、図2(b)はホイルの移動に伴うホイルとラインセンサ視野の関係の一例を示す説明図である。 本発明の実施例1に係る画像処理による車両位置計測装置の概略構造を示すブロック図である。 本発明の実施例1において得られるラインセンサ画像の一例を模式的に示す説明図である。 本発明の実施例1に係る画像処理部における処理の流れを示すフローチャートである。 本発明の実施例2に係る画像処理による車両位置計測装置の一例を示す概略構成図である。 図7(a)は本発明の実施例3におけるホイルとラインセンサの設置例を示す説明図、図7(b)はホイルの移動に伴うホイルとラインセンサ視野の関係の一例を示す説明図である。 図8(a)は本発明の実施例2において第一のラインセンサから得られるラインセンサ画像の一例を模式的に示す説明図、図8(b)は本発明の実施例2において第二のラインセンサから得られるラインセンサ画像の一例を模式的に示す説明図である。 本発明の実施例3において位置データを周波数帯域で分割する例を示す説明図である。
符号の説明
1 車両
2 シャシーダイナモメータ
3,5 ラインセンサ
4 画像処理部
11 ホイル
21 ローラ
22 ダイナモメータ
23 シャシーダイナモメータ制御装置
31,51 ラインセンサの視野
41 画像入力部
42 変換係数入力部
43 ホイル位置検出部
44 距離換算部
45 処理メモリ

Claims (4)

  1. ローラ上に設置されホイルを回転させて性能試験を行う車両のホイルの位置を計測するホイル位置計測装置であって、
    回転する前記ホイルに対向する位置に走査方向が水平方向または鉛直方向となるように且つその視野が前記ホイルの外周縁と二箇所で交差するように設置されて、回転する前記ホイルを撮像するラインセンサと、
    前記ラインセンサによって取得した画像上に前記ホイルの外周縁を検出し、検出した前記ホイルの外周縁の位置に基づいて前記ホイルの前記走査方向の位置を算出する一方、検出した前記ホイルの外周縁間の距離に基づいて前記ホイルの前記走査方向と直交する方向の位置を算出する画像処理手段と
    からなることを特徴とする画像処理による車両のホイル位置計測装置。
  2. ローラ上に設置されホイルを回転させて性能試験を行う車両のホイルの位置を計測するホイル位置計測装置であって、
    前記ホイルに対向する位置に走査方向が水平方向となるように且つその視野が前記ホイルの外周縁と一箇所で交差するように配置されて、回転する前記ホイルを撮像する第一のラインセンサと、
    前記ホイルに対向する位置に走査方向が鉛直方向となるように且つその視野が前記ホイルの外周縁と一箇所で交差するように配置されて、回転する前記ホイルを撮像する第二のラインセンサと、
    前記第一のラインセンサによって取得した画像上の前記ホイルの外周縁の位置及び前記第二のラインセンサによって取得した画像上の前記ホイルの外周縁の位置を検出し、検出した前記ホイルの二つの外周縁の位置に基づいて前記ホイルの水平方向の位置及び鉛直方向の位置をそれぞれ算出する画像処理手段と
    からなることを特徴とする画像処理による車両のホイル位置計測装置。
  3. 前記画像処理手段によって算出した車両の位置の変化に基づいて前記車両の移動速度を算出する演算手段を備える
    ことを特徴とする請求項1又は請求項2のいずれか1項に記載の画像処理による車両のホイル位置計測装置。
  4. 前記画像処理手段において算出した車両の位置の変化に基づいて移動加速度を算出する演算手段を備える
    ことを特徴とする請求項1乃至請求項3のいずれか1項に記載の画像処理による車両のホイル位置計測装置。
JP2008239520A 2008-09-18 2008-09-18 画像処理による車両のホイル位置計測装置 Expired - Fee Related JP5228731B2 (ja)

Priority Applications (1)

Application Number Priority Date Filing Date Title
JP2008239520A JP5228731B2 (ja) 2008-09-18 2008-09-18 画像処理による車両のホイル位置計測装置

Applications Claiming Priority (1)

Application Number Priority Date Filing Date Title
JP2008239520A JP5228731B2 (ja) 2008-09-18 2008-09-18 画像処理による車両のホイル位置計測装置

Publications (2)

Publication Number Publication Date
JP2010071797A true JP2010071797A (ja) 2010-04-02
JP5228731B2 JP5228731B2 (ja) 2013-07-03

Family

ID=42203729

Family Applications (1)

Application Number Title Priority Date Filing Date
JP2008239520A Expired - Fee Related JP5228731B2 (ja) 2008-09-18 2008-09-18 画像処理による車両のホイル位置計測装置

Country Status (1)

Country Link
JP (1) JP5228731B2 (ja)

Cited By (2)

* Cited by examiner, † Cited by third party
Publication number Priority date Publication date Assignee Title
CN101858828A (zh) * 2010-05-31 2010-10-13 吴明 轻重车型通用底盘测功机
CN110546456A (zh) * 2017-04-20 2019-12-06 百斯巴特有限责任公司 用于底盘测量的方法和设备

Citations (6)

* Cited by examiner, † Cited by third party
Publication number Priority date Publication date Assignee Title
JPS62177410A (ja) * 1985-12-30 1987-08-04 アンスティチュ ナショナル ドゥ ルシェルシュ シュル レ トランスポール エ ラール セキュリテ 自動車のタイヤの変形を測定するための装置
JPH07125513A (ja) * 1993-11-02 1995-05-16 Bridgestone Corp 円環体の自動装着方法及び装置
JP2005351730A (ja) * 2004-06-10 2005-12-22 Horiba Ltd 車両設置状態判定装置
WO2006057363A1 (ja) * 2004-11-26 2006-06-01 Honda Motor Co., Ltd. 車両用灯体検査装置および検査方法
JP2007331641A (ja) * 2006-06-16 2007-12-27 Bridgestone Corp 支持リムへのタイヤの芯合わせ方法および装置
JP2009222679A (ja) * 2008-03-18 2009-10-01 Ono Sokki Co Ltd 車両位置検出装置及び車両位置検出方法

Patent Citations (6)

* Cited by examiner, † Cited by third party
Publication number Priority date Publication date Assignee Title
JPS62177410A (ja) * 1985-12-30 1987-08-04 アンスティチュ ナショナル ドゥ ルシェルシュ シュル レ トランスポール エ ラール セキュリテ 自動車のタイヤの変形を測定するための装置
JPH07125513A (ja) * 1993-11-02 1995-05-16 Bridgestone Corp 円環体の自動装着方法及び装置
JP2005351730A (ja) * 2004-06-10 2005-12-22 Horiba Ltd 車両設置状態判定装置
WO2006057363A1 (ja) * 2004-11-26 2006-06-01 Honda Motor Co., Ltd. 車両用灯体検査装置および検査方法
JP2007331641A (ja) * 2006-06-16 2007-12-27 Bridgestone Corp 支持リムへのタイヤの芯合わせ方法および装置
JP2009222679A (ja) * 2008-03-18 2009-10-01 Ono Sokki Co Ltd 車両位置検出装置及び車両位置検出方法

Cited By (3)

* Cited by examiner, † Cited by third party
Publication number Priority date Publication date Assignee Title
CN101858828A (zh) * 2010-05-31 2010-10-13 吴明 轻重车型通用底盘测功机
CN110546456A (zh) * 2017-04-20 2019-12-06 百斯巴特有限责任公司 用于底盘测量的方法和设备
CN110546456B (zh) * 2017-04-20 2021-11-30 百斯巴特有限责任公司 用于底盘测量的方法和设备

Also Published As

Publication number Publication date
JP5228731B2 (ja) 2013-07-03

Similar Documents

Publication Publication Date Title
CN1210541C (zh) 用于评价相互联接部件的轴承或者活节中间隙的方法和装置
US9097514B2 (en) Device and method for inspecting tyre shape
CN102753313B (zh) 用于在车辆上确定间距的方法和装置
JP5387202B2 (ja) タイヤ解析システムおよびタイヤ解析方法
JP2003505681A (ja) 自動車のホイールジオメトリ及び/又は軸線ジオメトリを規定する装置
JP5533216B2 (ja) タイヤ性能測定システム及びタイヤ性能測定方法
JP2003207319A (ja) レール断面形状測定装置
CN107367228A (zh) 用于分析和检测物体几何特征的设备和方法
JP5444879B2 (ja) シャシーダイナモメータ
JP6966198B2 (ja) 車両試験装置、車両試験方法及び車両試験装置用プログラム
JPH1038533A (ja) タイヤの形状測定装置とその方法
CN105051486B (zh) 形状检查装置
JP2006064690A (ja) 管内面形状測定装置
JP5228731B2 (ja) 画像処理による車両のホイル位置計測装置
JP6040770B2 (ja) タイヤ解析システムおよび解析方法
JP2008096152A (ja) ラジアルランアウト測定装置、及び、ラジアルランアウトの測定方法
JP6638353B2 (ja) 重錘位置検出装置及び方法
JP5857481B2 (ja) タイヤ状態検出方法及び装置
JP4802967B2 (ja) 画像処理による車両のホイル中心位置計測装置
JP2009198370A (ja) 画像処理による非接触式位置計測装置
JPH07174672A (ja) 車輪踏面欠陥検査装置
JP5446502B2 (ja) シャシーダイナモメータ
JP5605491B2 (ja) シャシーダイナモメータ
US9772259B2 (en) Method for calibrating an X-ray testing system for a tire type and method for checking the position of cords in a tire
JP5017919B2 (ja) 検査装置及び検査方法

Legal Events

Date Code Title Description
A621 Written request for application examination

Free format text: JAPANESE INTERMEDIATE CODE: A621

Effective date: 20110510

A131 Notification of reasons for refusal

Free format text: JAPANESE INTERMEDIATE CODE: A131

Effective date: 20121204

A521 Request for written amendment filed

Free format text: JAPANESE INTERMEDIATE CODE: A523

Effective date: 20130131

TRDD Decision of grant or rejection written
A01 Written decision to grant a patent or to grant a registration (utility model)

Free format text: JAPANESE INTERMEDIATE CODE: A01

Effective date: 20130219

A61 First payment of annual fees (during grant procedure)

Free format text: JAPANESE INTERMEDIATE CODE: A61

Effective date: 20130304

FPAY Renewal fee payment (event date is renewal date of database)

Free format text: PAYMENT UNTIL: 20160329

Year of fee payment: 3

R150 Certificate of patent or registration of utility model

Ref document number: 5228731

Country of ref document: JP

Free format text: JAPANESE INTERMEDIATE CODE: R150

Free format text: JAPANESE INTERMEDIATE CODE: R150

LAPS Cancellation because of no payment of annual fees