JP2010071050A - 建築物用面構成体 - Google Patents

建築物用面構成体 Download PDF

Info

Publication number
JP2010071050A
JP2010071050A JP2008243031A JP2008243031A JP2010071050A JP 2010071050 A JP2010071050 A JP 2010071050A JP 2008243031 A JP2008243031 A JP 2008243031A JP 2008243031 A JP2008243031 A JP 2008243031A JP 2010071050 A JP2010071050 A JP 2010071050A
Authority
JP
Japan
Prior art keywords
long
connecting frame
long member
groove
members
Prior art date
Legal status (The legal status is an assumption and is not a legal conclusion. Google has not performed a legal analysis and makes no representation as to the accuracy of the status listed.)
Granted
Application number
JP2008243031A
Other languages
English (en)
Other versions
JP4778030B2 (ja
Inventor
Katsuji Tsutsumi
勝次 堤
Current Assignee (The listed assignees may be inaccurate. Google has not performed a legal analysis and makes no representation or warranty as to the accuracy of the list.)
Individual
Original Assignee
Individual
Priority date (The priority date is an assumption and is not a legal conclusion. Google has not performed a legal analysis and makes no representation as to the accuracy of the date listed.)
Filing date
Publication date
Application filed by Individual filed Critical Individual
Priority to JP2008243031A priority Critical patent/JP4778030B2/ja
Publication of JP2010071050A publication Critical patent/JP2010071050A/ja
Application granted granted Critical
Publication of JP4778030B2 publication Critical patent/JP4778030B2/ja
Expired - Fee Related legal-status Critical Current
Anticipated expiration legal-status Critical

Links

Images

Landscapes

  • Load-Bearing And Curtain Walls (AREA)

Abstract

【課題】免震機能を有するとともに加工工数が少なくて低コストにて構成でき、また間伐材を使用することが可能な構成の建築物用面構成体を提供する。
【解決手段】複数の長尺部材2を並列配置し、各長尺部材2の並列方向の両側部に長手方向に沿って形成した溝7に帯板状の接続部材3を嵌合して各長尺部材2を相互に接続してなる建築物用面構成体1であって、長尺部材2の並列方向に延びる連結枠部材5を長尺部材2の両端部に配設し、各長尺部材2の端部と連結枠部材5とをそれぞれ1本の締結ボルト15にて連結し、所要の長尺部材2に形成した溝7の底面7aとその溝7に嵌合する接続部材3の側面との間にその略全長にわたって延びるゴム状弾性体16を圧接状態で配置した。
【選択図】図2

Description

本発明は、建築物の壁面やそれを構成するパネルなどの建築物用面構成体に関し、特に免震機能を有し、また間伐材の有効利用を図ることもできる建築物用面構成体に関するものである。
近年、山林の保守が適切に行われていないことが、土砂崩れなどの災害の原因の一つであることが改めて認識されるようになっている。そのため、山林の間伐を行う必要性が強く認識されているが、大量の間伐材を経済的に成り立つように利用するシステムがないため、間伐を行う人件費を賄うことができず、その結果間伐が十分に行われていない山林が増え、間伐されてもそのまま放置されていることが多いという現実があり、間伐材の有効利用分野の開拓が要請されている。
そこで、間伐材を使用して建築用パネルを構成することが考えられている。すなわち、複数の間伐材の外周面に長手方向に沿って板状の接続材を嵌め込む溝を直径方向に一対設け、間伐材の溝に接続材を嵌め込むとともに接着剤や釘や木ねじにて固定し、次いでその接続材に次の間伐材の溝を嵌め込むとともにこの次の間伐材から接続材を貫通して先の間伐材まで達する釘や木ねじにて固定するという構成を繰り返すことで、複数の間伐材が並列配置されるとともに接続材にて相互に接続してなる建築用パネルが提案されている。さらに、この建築用パネルの間伐材配列方向の強度を確保するため、両端に雄ねじを形成した鉄筋やボルトを各間伐材を貫通させて配設し、両端の雄ねじにナットを螺合して両端間を締結固定したものが提案されている(例えば、特許文献1参照)。
特開2007−40068号公報
ところで、間伐材は曲がっていたり、太さが変化するとともに太さにばらつきがあり、また節などにより凹凸もあるため、上記特許文献1では間伐材の表面を削って直径をほぼ等しくしており、その上で外面から所定深さの溝を形成しているため、加工工数が多くなって手間とコストがかかるとともに、外面部分が削られることで耐久性が大幅に低下するという問題がある。
また、間伐材と接続材を接着剤や釘や木ねじにて固定し、さらに次の間伐材から接続材を貫通して先の間伐材まで達する釘や木ねじにて固定する接続作業に手間がかかり、しかもそのように接続しても間伐材の並列方向にパネルとしての強度を確保するのは困難であるという問題があり、またパネルを横断する方向に貫通する鉄筋やボルトにて締結する構成では、パネルの製造工数とコストがさらに大きくなってしまい、さらにこのパネルをログハウス等の建築物で使用する際には、さらに加工が必要になるという問題がある。また、そのパネルに免震機能を持たせるという技術思想は認められない。
本発明は、上記従来の課題に鑑み、免震機能を有するとともに加工工数が少なくて低コストにて構成でき、また間伐材を使用することが可能な構成の建築物用面構成体を提供することを目的とする。
本発明の建築物用面構成体は、複数の長尺部材を並列配置し、各長尺部材の並列方向の両側部に長手方向に沿って形成した溝に短冊状の接続部材を嵌合して各長尺部材を相互に接続してなる建築物用面構成体であって、長尺部材の並列方向に延びる連結枠部材を長尺部材の両端部に配設し、各長尺部材の端部と連結枠部材とをそれぞれ1本の締結ボルトにて連結し、所要の長尺部材に形成した溝の底面とその溝に嵌合する接続部材の側面との間にその略全長にわたって延びるゴム状弾性体を圧接状態で配置したものである。
この構成によれば、長尺部材と接続部材とを長尺部材の側部に形成した溝に接続部材を嵌合させて順次並列配置し、各長尺部材の両端部を連結枠部材にて連結していることで、所要の面強度を有する壁面やパネル面などを構成することができ、かつ長尺部材の端部と連結枠部材とをそれぞれ1本の締結ボルトにて連結するとともに溝の底面と接続部材の側面との間にゴム状弾性体を圧接状態で配置しているので、ゴム状弾性体にてシール性が確保されて雨水や風の透過を防止できるだけでなく、長尺部材の両端部の連結枠部材を相互に平行移動させる方向に過大な往復荷重が作用した場合に、複数の長尺部材と両端の連結枠部材で囲まれた各空間が平行四辺形に変形し、長尺部材間に配置した接続部材の両側のゴム状弾性体に圧縮力とせん断力が発生し、それによって面全体で変形エネルギーが吸収されるとともにゴム状弾性体の復元力によって元の状態に復帰させる作用を奏することになり、加工工数の少ない長尺部材と接続部材と連結枠部材とゴム状弾性体から成る簡単で安価な構成にて、高い免震機能を有する面構成体を得ることができる。
また、長尺部材は、加工木材や木粉を充填材として使用した合成樹脂製押出成形品やアルミ合金などの金属製の押出成形品若しくは引抜成形品や、鋼板の加工品などであっても良いが、長尺部材が間伐材からなると、間伐材の有効利用を図ることができて大幅なコスト低下を図ることができるとともに省資源に寄与することができ、かつその場合に溝の形成に当たって表面から所定深さに形成するのではなく、当該間伐材に設定した仮想軸心から半径方向に等距離の位置に溝底面が位置するように形成することで間伐材に曲がりや太さの変化・ばらつきや表面の凹凸があっても、間伐材の外表面を加工することなく、常に適正に溝を形成することができ、加工工数が少なくて低コストにて構成できるとともに、耐候性の高い木材表面をそのままにして加工しないので耐久性の高い面構成体が得られ、かつ間伐材の並列配置ピッチが間伐材の形状や太さに影響を受けずに所定値に精度良く規定でき、面構成体を高い寸法精度で管理することができ、建築物に容易にかつ高い信頼性をもって適用することができる。
また、各長尺部材の端部に、溝の形成方向と直交する方向の一方の側端からその側端に近い溝の一方の側面の位置に達する切欠凹部を設け、連結枠部材を、少なくともその一部を切欠凹部に係合させて配置し、長尺部材の切欠凹部を形成した端部と連結枠部材の切欠凹部に係合させた部分を締結ボルトにて締結固定すると、各長尺部材の端部と連結枠部材とをそれぞれ1本の締結ボルトで締結固定しながら、各長尺部材と連結枠部材の相互間の角度変位を抑制した状態で強固に連結固定することができて面構成体の変形を効果的に防止することができ、かつ接続部材の端部を長尺部材と連結枠部材によって強固に挟圧固定することができて、より高い面強度の面構成体が得られる。
また、切欠凹部と溝の形成方向と直交する方向の他方の側端との間に長尺部材の端面から凹入穴を形成してナット部材を挿入配置し、かつナット部材のねじ穴に対応して切欠凹部から凹入穴に貫通するボルト穴を形成し、連結枠部材に形成したボルト穴及び長尺部材の端部に形成したボルト穴を通して締結ボルトをナット部材に螺合して長尺部材の端部と連結枠部材を締結固定すると、長尺部材の外表面に締結ボルトの端部やナットなど、金属部材が露出しないので、その腐食を防止できて耐久性を確保できるとともに、綺麗な外観を呈することができる。
また、並列方向両側端の長尺部材が側枠部材にて構成され、四周が連結枠部材と側枠部材で囲まれた壁面形成パネルを構成していると、この壁面形成パネルを規格品として生産することで、建築物の壁面の任意の部分にこの壁面形成パネルを配置することで、免震性能を有する壁面を構成することができる。例えば、この壁面形成パネルを、軸組工法の建築物における両側の柱と上部の梁と下部の梁や土台とで囲まれた空間に配置したり、ツーバイフォー工法の壁面に適用することで、簡単かつ安価に免震壁構造の建築物を構築することができる。
また、連結枠部材は、建築物の土台または梁を構成する横行部材にて構成され、並列方向両側端の長尺部材は建築物の柱材にて構成されていると、建築物の壁面構成に直接適用することで、同様の効果を奏することができる。
長尺部材の両端部間に、連結枠部材と平行に1又は複数の補助連結部材を配置し、補助連結部材と各長尺部材とを補助連結部材を貫通して先端部が長尺部材に貫入係合する結合部材にて結合すると、長尺部材の両端部間で補助連結部材にて長尺部材が連結固定されるので、免震機能を阻害することなくゴム状弾性体の圧縮反力を受けて長尺部材が変形するのを防止することができ、一層面強度の高い面構成体を構成できる。
また、本発明の建築物用面構成体は、複数の長尺部材を並列配置し、各長尺部材の並列方向の両側部に長手方向に沿って形成した溝に短冊状の接続部材を嵌合して各長尺部材を相互に接続し、かつ長尺部材の並列方向に延びる連結枠部材にて各長尺部材を連結してなる建築物用面構成体であって、各長尺部材の端部に、溝の形成方向と直交する方向の一方の側端からその側端に近い溝の一方の側面の位置に達する切欠凹部を設けるとともに、切欠凹部と溝の形成方向と直交する方向の他方の側端との間に長尺部材の端面から凹入穴を形成してナット部材を挿入配置し、かつナット部材に形成した1又は複数のねじ穴に対応して切欠凹部から凹入穴に貫通するボルト穴を形成し、連結枠部材を、少なくともその一部を切欠凹部に係合させて配置し、連結枠部材に形成したボルト穴及び長尺部材の端部に形成したボルト穴を通して締結ボルトをナット部材に螺合して長尺部材の端部と連結枠部材を締結固定したものである。
この構成によると、免震機能を必要とせず、ゴム状弾性体を有していない面構成体において、各長尺部材の端部と連結枠部材とを締結ボルトで締結固定することで、各長尺部材と連結枠部材の相互間の角度変位を抑制した状態で強固に連結固定することができて面構成体の変形を効果的に防止することができ、かつ接続部材の端部を長尺部材と連結枠部材によって強固に挟圧固定することができて、より高い面強度の面構成体が得られ、さらに長尺部材の外表面に締結ボルトの端部やナットなど、金属部材が露出しないので、その腐食を防止できて耐久性を確保できるとともに、綺麗な外観を呈することができる。
本発明によれば、長尺部材と接続部材を順次並列配置し、各長尺部材の両端部を連結枠部材にて連結していることで、所要の面強度を有する壁面やパネル面などを構成することができ、かつ長尺部材の端部と連結枠部材とをそれぞれ1本の締結ボルトにて連結するとともに溝の底面と接続部材の側面との間にゴム状弾性体を圧接状態で配置しているので、連結枠部材を相互に平行移動させる方向に過大な往復荷重が作用した場合にゴム状弾性体にて変形エネルギーを吸収するとともに元の状態に復帰させる作用を面全体で奏することができ、簡単で安価な構成にて高い免震機能を有する面構成体を得ることができる。
以下、本発明の建築物用面構成体の各実施形態について、図1〜図9を参照して説明する。
(第1の実施形態)
まず、本発明の建築物用面構成体を、間伐材を使用した壁面形成パネルに適用した第1の実施形態について、図1〜図7を参照して説明する。
図1(a)(b)において、1は面構成体としての壁面形成パネルであって、間伐材から成る複数の長尺部材2を並列配置するとともに、各長尺部材2、2間を帯板状の接続部材3にて接続してパネル面4が構成されている。パネル面4の上縁部と下縁部には、各長尺部材2の各端部を連結する連結枠部材5が配設され、パネル面4の左右両側縁に位置する長尺部材2は断面矩形状の側枠部材6にて構成されている。
各長尺部材2には、図2〜図5に示すように、その並列方向に沿う直径方向の両側部に長手方向全長にわたって溝7が形成され、隣接する長尺部材2、2の対向する溝7、7に接続部材3の両側部が嵌合され、並列配置された各長尺部材2が接続されている。各長尺部材2の溝7は、図5に示すように、溝底面7aが当該長尺部材2に設定した仮想軸心8から半径方向に等しい距離dの位置に位置するように形成されている。そのため、間伐材から成る長尺部材2に曲がりや太さの変化・ばらつきや表面の凹凸があっても溝底面7aが常に一定位置に位置しており、したがって幅寸法が一定の接続部材3を適用することで、各長尺部材2、2の仮想軸心8間のピッチ間隔は一定となる。なお、間伐材の太さには大きなばらつきがあるが、太さに応じて間伐材をランク付けし、間伐材のランク毎に溝底面7aの仮想軸心8からの距離dを適宜に設定すれば良い。また、左右両側縁に位置する長尺部材2である側枠部材6には、図示は省略しているが、内側の側面にのみ接続部材3の側部が嵌合される溝7が形成されている。
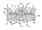
連結枠部材5は、図2、図4に示すように、断面矩形状の枠体部5aの幅方向中央部に接続部材3の端部が嵌合する溝9が形成されるとともにその一側部に突出部5bが突出された断面の全体概略形状がL字型の柱状部材にて構成されている。一方、この連結枠部材5に連結する各長尺部材2の端部には、連結枠部材5の突出部5bが嵌り込んで係合する切欠凹部10が形成されている。すなわち、切欠凹部10は、長尺部材2の端部に、溝7の形成方向と直交する方向の一方の側端からその側端に近い溝7の一方の側面の位置に達するように、かつ突出部5bの高さ寸法と等しい高さ寸法に形成されている。
また、長尺部材2の端部において、切欠凹部10と、溝9の形成方向と直交する方向の他方の側端との間に、長尺部材2の端面から角穴から成る凹入穴11が形成され、この凹入穴11内に外形が矩形のナット部材12が挿入配置されている。また、ナット部材12のねじ穴に対応して切欠凹部10から凹入穴11に貫通するボルト穴13が形成されている。一方、連結枠部材5の突出部5bにボルト穴13に対応して座ぐり部14aを有するボルト穴14が形成されている。かくして、締結ボルト15を、図3及び図4(a)に示すように、連結枠部材5のボルト穴14、及び長尺部材2の端部に形成したボルト穴13を通してナット部材12に螺合して締結することで、連結枠部材5の突出部5bが長尺部材2の端部の切欠凹部10に係合した状態で、各長尺部材2の両端部がそれぞれ1本の締結ボルト15にて連結枠部材5に連結固定されている。
そして、長尺部材2に形成した溝7の底面7aとその溝7に嵌合する接続部材3の側面との間にその略全長にわたって延びるゴム状弾性体16が圧接状態で配置されている。ゴム状弾性体16の材質は、バイトン(フッ素)ゴムやネオプレンゴムなどの合成ゴムが好適であり、また断面形状は矩形状が好適であるが、円形等の他の断面形状であっても良い。なお、本実施形態では全ての長尺部材2の溝7の底面7aと接続部材3の側面との間にゴム状弾性体16を配置した例を示したが、場合によっては所要の長尺部材2と接続部材3の間にのみゴム状弾性体16を配置しても良い。また、ゴム状弾性体16の弾性係数を配置位置によって異ならせても良い。例えば、壁面形成パネル1の幅方向中央部に弾性係数の大きなゴム状弾性体16を配置し、両側に向けて順次弾性係数の小さいゴム状弾性体を配置することで、大きな弾性係数のゴム状弾性体16による作用を確保しつつ側枠部材6に外側に向けて過大な荷重が負荷されて変形が生じるのを抑制するようにしても良い。
以上の構成の壁面形成パネル1によれば、長尺部材2と接続部材3とを長尺部材2の側部に形成した溝7に接続部材3を嵌合させて順次並列配置し、各長尺部材2の両端部を連結枠部材5にて連結していることで、所要の面強度を有するパネルを構成することができる。また、並列方向両側端の長尺部材2を側枠部材6で構成し、四周が連結枠部材5と側枠部材6で囲まれた壁面形成パネル1を構成しているので、この壁面形成パネル1を規格品や受注品などの工場生産品とすることで、建築物の壁面の任意の部分にこの壁面形成パネル1を配置することで簡単かつ安価に壁面を構成することができる。
しかも、長尺部材2の端部と連結枠部材5とをそれぞれ1本の締結ボルト15にて連結するとともに溝7の底面7aと接続部材3の側面との間にゴム状弾性体16を圧接状態で配置しているので、ゴム状弾性体16にてシール性が確保されて雨水や風の透過を防止できるだけでなく、図6に示すように、長尺部材2の両端部の連結枠部材5、5を相互に平行移動させる方向に過大な往復荷重17が作用した場合に、複数の長尺部材2と両端の連結枠部材5で囲まれた各空間が平行四辺形に変形し、それに伴って長尺部材2、2間に配置された接続部材3の両側のゴム状弾性体16に圧縮力とせん断力が発生し、壁面形成パネル1の面全体で変形エネルギーが吸収されるとともにゴム状弾性体16の復元力によって元の状態に復帰させる作用を奏することになり、加工工数の少ない長尺部材2と接続部材3と連結枠部材5とゴム状弾性体16から成る簡単で安価な構成にて、高い免震機能を有する壁面形成パネル1を得ることができる。
また、本実施啓太では、長尺部材2が間伐材から成っているので、間伐材の有効利用を図ることができて大幅なコスト低下を図ることができるとともに省資源に寄与することができ、かつその場合に溝7の形成に当たって表面から所定深さに形成するのではなく、当該間伐材に設定した仮想軸心8から半径方向に等距離の位置に溝底面7aが位置するように形成することで、間伐材に曲がりや太さの変化・ばらつきや表面の凹凸があっても、間伐材の外表面を加工することなく、常に適正に溝7を形成することができる。かくして、加工工数が少なくて低コストにて構成できるとともに、耐候性の高い木材表面をそのままにして加工しないので耐久性の高い面構成体が得られ、かつ不均一な間伐材を用いながら長尺部材2の並列配置ピッチが間伐材の形状や太さに影響を受けずに所定値に精度良く規定でき、壁面形成パネル1を高い寸法精度で管理することができ、建築物に容易にかつ高い信頼性をもって適用することができる。
また、各長尺部材2の端部に、溝7の形成方向と直交する方向の一方の側端からその側端に近い溝7の一方の側面の位置に達する切欠凹部10を設け、連結枠部材5の突出部5bを切欠凹部10に係合させて配置し、長尺部材2の切欠凹部10を形成した端部と連結枠部材5の切欠凹部10に係合させた部分を締結ボルト15にて締結固定しているので、各長尺部材2の端部と連結枠部材5とをそれぞれ1本の締結ボルト15で締結固定しながら、各長尺部材2と連結枠部材5の相互間の角度変位を抑制した状態で強固に連結固定することができて壁面形成パネル1の変形を効果的に防止することができ、かつ接続部材3の端部を長尺部材2と連結枠部材5によって強固に挟圧固定することができて、より高い面強度の壁面形成パネル1が得られる。
また、切欠凹部10と溝7の形成方向と直交する方向の他方の側端との間に長尺部材2の端面から凹入穴11を形成してナット部材12を挿入配置し、かつナット部材12のねじ穴に対応して切欠凹部10から凹入穴11に貫通するボルト穴13を形成し、連結枠部材5に形成したボルト穴14と上記ボルト穴13を通して締結ボルト15をナット部材12に螺合して長尺部材2の端部と連結枠部材5を締結固定しているので、長尺部材2の外表面に締結ボルト15の端部やナット部材12など、金属部材が露出しないので、その腐食を防止できて耐久性を確保できるとともに、綺麗な外観を呈することができる。
以上の壁面形成パネル1の一適用例を、図7を参照して説明する。図7において、軸組工法の建築物において、基礎20上に固定設置された土台18と、上部の梁19と、両側の柱(図示せず)とで囲まれた空間に壁面形成パネル1が配置されるとともに、はめ込み溝やボルト等の適宜結合手段(図示せず)にて一体的に結合されている。このように壁面形成パネル1をこのように配置することで、簡単かつ安価に免震壁構造を有する建築物21を構築することができる。
(第2の実施形態)
次に、本発明の建築物用面構成体の第2の実施形態について、図8、図9を参照して説明する。なお、上記第の実施形態と共通する構成要素については、同一の参照符号を付して説明を省略し、主として相違点についてのみ説明する。
上記第1の実施形態においては、壁面形成パネル1を構成した例を示したが、本実施形態では、本発明の建築物用面構成体を建築物21の壁面22に直接的に適用している。すなわち、図8に示すように、基礎20上の土台18を下部の連結枠部材5とし、梁19を上部の連結枠部材5とし、柱(図示せず)を側枠部材として壁面22が構成されている。なお、下部の連結枠部材5を構成する土台18は方形断面のままで、その幅方向の一側部を長尺部材2の端部の切欠凹部10に係合させており、ボルト穴14は土台18の全幅にわたって貫通形成し、締結ボルト15の頭部を土台18の側面に係合させている。
また、本実施形態では、長尺部材2の両端部間に、連結枠部材5と平行に1又は複数の補助連結部材23を配置し、補助連結部材23と各長尺部材2とをそれぞれ補助連結部材23を貫通して先端部が長尺部材2に貫入係合する1本の結合部材24にて結合している。補助連結部材23は、長尺部材2の端部に形成したものと同様の切欠凹部10に収容配置され、補助連結部材23によっても長尺部材2との間で接続部材3を挟圧固定するように構成されている。このように補助連結部材23にて長尺部材2の両端部間で長尺部材2を1本の結合部材24にて連結固定することで、免震機能を阻害することなく、ゴム状弾性体16の圧縮反力を受けて長尺部材2が変形するのを防止することができ、一層面強度の高い壁面22を構成することができる。
本実施形態の建築物21は、図9に示すように、間伐材から成る長尺部材2が並列配置された壁面22を有しているログハウス風の建築物21となる。図9において、25は壁面22に形成された窓、26は出入口である。また、27は屋根面で、壁面22と同様に間伐材と接続部材からなる壁面構成体を適用しても、その他板葺やスレート葺やトタン葺などを適用しても良い。
以上の実施形態では、長尺部材2が間伐材から成る例についてのみ説明したが、本発明はこれに限定されるものではなく、長尺部材2を加工木材や、木粉を充填材として使用した合成樹脂製押出成形品、やアルミ合金などの金属製の押出成形品若しくは引抜成形品や、鋼板の加工品などを適用することもできる。
また、上記実施形態では、長尺部材2の溝7と接続部材3の間にゴム状弾性体16を配置して免震機能を奏するようにした構成を示したが、特に免震機能を要求されない壁面を構成する場合には、ゴム状弾性体16を無くした構成としても良く、その場合にも長尺部材2の端部と連結枠部材5の結合構成として上記実施形態の構成を適用することで、その作用効果を奏し、特に長尺部材2として間伐材を適用することで低コストにて面強度の高い面構成体を得ることができる。なお、ゴム状弾性体16の代わりに適宜柔らかいゴムや合成樹脂からなるシール材や接着材等を溝7に配置してシール性を高めるようにしても良い。
また、上記実施形態では、ナット部材12を長尺部材2の端面から形成した凹入穴11に配置して締結ボルト15やナットが外部に露出しないようにした構成を示したが、ボルト穴13を長尺部材2の外面まで貫通形成するとともに、外面にナットを収容できる座ぐり穴を形成し、締結ボルト15をナットにて締結固定した後、座ぐり穴にシール材を充填密閉し、外部に金属部材が露出しないようにしても良い。
本発明は、間伐材を適用可能な長尺部材と接続部材と連結枠部材にて所要の面強度を有する壁面やパネル面などを構成することができ、かつ長尺部材の溝底面と接続部材の側面との間にゴム状弾性体を圧接状態で配置し、連結枠部材を相互に平行移動させる方向に過大な往復荷重が作用した場合にゴム状弾性体にて変形エネルギーを吸収して免震機能を奏するように構成していることで、簡単な構成にて高い免震機能を有する面構成体を得ることができるので、耐震性を要求される建築物の壁面などに好適に適用することができるとともに、間伐材の有効利用も図ることができる。
本発明の建築物用面構成体の第1の実施形態の壁面形成パネルを示し、(a)は内面側から見た斜視図、(b)は外面側から見た斜視図。 図1のA部分解拡大斜視図。 図1のB−B矢視拡大横断平面図。 (a)は図3のC−C矢視縦断側面図、(b)は図3のD−D矢視縦断側面図。 間伐材から成る長尺部材を示し、(a)は正面図、(b)は(a)のE−E矢視断面図。 同実施形態の壁面形成パネルの免震作用の説明図。 同実施形態の壁面形成パネルを適用した建築物の要部縦断面図。 本発明の建築物用面構成体を壁面構成に直接適用した第2の実施形態の建築物の要部縦断面図。 同実施形態のログハウス風建築物の斜視図。
符号の説明
1 壁面形成パネル(面構成体)
2 長尺部材
3 接続部材
5 連結枠部材
6 側枠部材
7 溝
7a 底面
8 仮想軸心
10 切欠凹部
11 凹入穴
12 ナット部材
13 ボルト穴
14 ボルト穴
15 締結ボルト
16 ゴム状弾性体
18 土台(横行部材)
19 梁(横行部材)
21 建築物
22 壁面
23 補助連結部材
24 結合部材

Claims (8)

  1. 複数の長尺部材を並列配置し、各長尺部材の並列方向の両側部に長手方向に沿って形成した溝に帯板状の接続部材を嵌合して各長尺部材を相互に接続してなる建築物用面構成体であって、
    長尺部材の並列方向に延びる連結枠部材を長尺部材の両端部に配設し、
    各長尺部材の端部と連結枠部材とをそれぞれ1本の締結ボルトにて連結し、
    所要の長尺部材に形成した溝の底面とその溝に嵌合する接続部材の側面との間にその略全長にわたって延びるゴム状弾性体を圧接状態で配置した
    ことを特徴とする建築物用面構成体。
  2. 長尺部材は間伐材からなり、溝は間伐材の仮想軸心に対してその底面が対称位置に位置するように形成したことを特徴とする請求項1記載の建築物用面構成体。
  3. 各長尺部材の端部に、溝の形成方向と直交する方向の一方の側端からその側端に近い溝の一方の側面の位置に達する切欠凹部を設け、
    連結枠部材を、少なくともその一部を切欠凹部に係合させて配置し、
    長尺部材の切欠凹部を形成した端部と連結枠部材の切欠凹部に係合させた部分を締結ボルトにて締結固定した
    ことを特徴とする請求項1又は2記載の建築物用面構成体。
  4. 切欠凹部と溝の形成方向と直交する方向の他方の側端との間に長尺部材の端面から凹入穴を形成してナット部材を挿入配置し、かつナット部材のねじ穴に対応して切欠凹部から凹入穴に貫通するボルト穴を形成し、
    連結枠部材に形成したボルト穴及び長尺部材の端部に形成したボルト穴を通して締結ボルトをナット部材に螺合して長尺部材の端部と連結枠部材を締結固定した
    ことを特徴とする請求項3記載の建築物用面構成体。
  5. 並列方向両側端の長尺部材が側枠部材にて構成され、四周が連結枠部材と側枠部材で囲まれた壁面形成パネルを構成していることを特徴とする請求項1〜4の何れか1つに記載の建築物用面構成体。
  6. 連結枠部材は、建築物の土台または梁を構成する横行部材にて構成され、並列方向両側端の長尺部材は建築物の柱材にて構成されていることを特徴とする請求項1〜4の何れか1つに記載の建築物用面構成体。
  7. 長尺部材の両端部間に、連結枠部材と平行に1又は複数の補助連結部材を配置し、補助連結部材と各長尺部材とを補助連結部材を貫通して先端部が長尺部材に貫入係合する結合部材にて結合したことを特徴とする請求項1〜5の何れか1つに記載の建築物用面構成体。
  8. 複数の長尺部材を並列配置し、各長尺部材の並列方向の両側部に長手方向に沿って形成した溝に短冊状の接続部材を嵌合して各長尺部材を相互に接続し、かつ長尺部材の並列方向に延びる連結枠部材にて各長尺部材を連結してなる建築物用面構成体であって、
    各長尺部材の端部に、溝の形成方向と直交する方向の一方の側端からその側端に近い溝の一方の側面の位置に達する切欠凹部を設けるとともに、切欠凹部と溝の形成方向と直交する方向の他方の側端との間に長尺部材の端面から凹入穴を形成してナット部材を挿入配置し、かつナット部材に形成した1又は複数のねじ穴に対応して切欠凹部から凹入穴に貫通するボルト穴を形成し、
    連結枠部材を、少なくともその一部を切欠凹部に係合させて配置し、
    連結枠部材に形成したボルト穴及び長尺部材の端部に形成したボルト穴を通して締結ボルトをナット部材に螺合して長尺部材の端部と連結枠部材を締結固定した
    ことを特徴とする建築物用面構成体。
JP2008243031A 2008-09-22 2008-09-22 建築物用面構成体 Expired - Fee Related JP4778030B2 (ja)

Priority Applications (1)

Application Number Priority Date Filing Date Title
JP2008243031A JP4778030B2 (ja) 2008-09-22 2008-09-22 建築物用面構成体

Applications Claiming Priority (1)

Application Number Priority Date Filing Date Title
JP2008243031A JP4778030B2 (ja) 2008-09-22 2008-09-22 建築物用面構成体

Publications (2)

Publication Number Publication Date
JP2010071050A true JP2010071050A (ja) 2010-04-02
JP4778030B2 JP4778030B2 (ja) 2011-09-21

Family

ID=42203086

Family Applications (1)

Application Number Title Priority Date Filing Date
JP2008243031A Expired - Fee Related JP4778030B2 (ja) 2008-09-22 2008-09-22 建築物用面構成体

Country Status (1)

Country Link
JP (1) JP4778030B2 (ja)

Also Published As

Publication number Publication date
JP4778030B2 (ja) 2011-09-21

Similar Documents

Publication Publication Date Title
KR20100021617A (ko) 건설용 모듈식 패널 유닛
CA2860344A1 (en) Wall stud brace
US20130227906A1 (en) Systems and methods for constructing a building structure
JP2020183701A (ja) 座屈拘束ブレース
EP2075391A1 (en) Forms structure, panel support material, panel support material for internal corner, panel support material for external corner and construction method of forms
JP4987776B2 (ja) 建築用パネル接合構造及び方法、建築構造物
JP4778030B2 (ja) 建築物用面構成体
JP2009249809A (ja) 間伐材を用いた面構成体
RU165765U1 (ru) Узел углового соединения
JPH08284310A (ja) 複合梁材
JP2883655B2 (ja) 建築用水平耐力部材
JP6522055B2 (ja) 木軸材構成の耐力面材及びこれを用いた木造軸組構法の耐力面構造
JP4039503B2 (ja) 木造建物
CN210395641U (zh) 一种钢筋混凝土框架梁柱加固节点
JP7743052B2 (ja) 面材耐力壁における面材の取付構造及び面材耐力壁
JP2005226258A (ja) アンカー筋付き定着金物
JPH09125740A (ja) 耐震壁
KR101474747B1 (ko) 스틸 하우스와 같은 구조물의 프레임
JP6378732B2 (ja) 耐震パネル
JP2024076754A (ja) 屋根パネルの固定構造
WO2013187791A1 (ru) Деревянный строительный элемент и стена из таких элементов
JP5413885B2 (ja) 建築物の隅部補強具
JP4726471B2 (ja) ステッチングシステム用ホールドダウン
JP4357444B2 (ja) 薄肉鋼材製梁
JP3275717B2 (ja) 中空構造体

Legal Events

Date Code Title Description
RD04 Notification of resignation of power of attorney

Free format text: JAPANESE INTERMEDIATE CODE: A7424

Effective date: 20110311

RD04 Notification of resignation of power of attorney

Free format text: JAPANESE INTERMEDIATE CODE: A7424

Effective date: 20110331

A621 Written request for application examination

Free format text: JAPANESE INTERMEDIATE CODE: A621

Effective date: 20110513

A871 Explanation of circumstances concerning accelerated examination

Free format text: JAPANESE INTERMEDIATE CODE: A871

Effective date: 20110513

RD02 Notification of acceptance of power of attorney

Free format text: JAPANESE INTERMEDIATE CODE: A7422

Effective date: 20110513

TRDD Decision of grant or rejection written
A975 Report on accelerated examination

Free format text: JAPANESE INTERMEDIATE CODE: A971005

Effective date: 20110615

A01 Written decision to grant a patent or to grant a registration (utility model)

Free format text: JAPANESE INTERMEDIATE CODE: A01

Effective date: 20110617

A01 Written decision to grant a patent or to grant a registration (utility model)

Free format text: JAPANESE INTERMEDIATE CODE: A01

A61 First payment of annual fees (during grant procedure)

Free format text: JAPANESE INTERMEDIATE CODE: A61

Effective date: 20110630

R150 Certificate of patent or registration of utility model

Free format text: JAPANESE INTERMEDIATE CODE: R150

FPAY Renewal fee payment (event date is renewal date of database)

Free format text: PAYMENT UNTIL: 20140708

Year of fee payment: 3

R250 Receipt of annual fees

Free format text: JAPANESE INTERMEDIATE CODE: R250

LAPS Cancellation because of no payment of annual fees