JP2010070405A - ダイヤモンド膜及びその製造方法 - Google Patents
ダイヤモンド膜及びその製造方法 Download PDFInfo
- Publication number
- JP2010070405A JP2010070405A JP2008237624A JP2008237624A JP2010070405A JP 2010070405 A JP2010070405 A JP 2010070405A JP 2008237624 A JP2008237624 A JP 2008237624A JP 2008237624 A JP2008237624 A JP 2008237624A JP 2010070405 A JP2010070405 A JP 2010070405A
- Authority
- JP
- Japan
- Prior art keywords
- diamond
- powder
- film
- dispersion
- substrate
- Prior art date
- Legal status (The legal status is an assumption and is not a legal conclusion. Google has not performed a legal analysis and makes no representation as to the accuracy of the status listed.)
- Granted
Links
Images
Landscapes
- Crystals, And After-Treatments Of Crystals (AREA)
- Carbon And Carbon Compounds (AREA)
- Chemical Vapour Deposition (AREA)
Abstract
【解決手段】基材1上に形成されたダイヤモンド膜2であって、ダイヤモンド膜2の平均膜厚6の値の3/4以上の横方向差し渡しサイズ5を有する突起部4で定義される、膜2の成長面の異常成長ダイヤモンド突起部4が、1cm2当たり100個以下であるダイヤモンド膜2。ダイヤモンド膜2は、立方晶ダイヤモンドと六方晶ダイヤモンドとを含むダイヤモンド粉末を用意する工程と、ダイヤモンド粉末を液体溶媒中で撹拌する工程と、ダイヤモンド粉末を撹拌したダイヤモンド分散液中で基材1表面にダイヤモンドを種付け処理する工程とを備え、しかる後に基材1上に化学的気相合成法により製造される。
【選択図】図1
Description
(1)基材上に形成されたダイヤモンド膜であって、該ダイヤモンド膜の平均膜厚値の3/4以上の横方向差し渡しサイズを有する突起部で定義される、膜成長面の異常成長ダイヤモンド突起部が、1cm2当たり100個以下であることを特徴とする、ダイヤモンド膜。
(2)前記ダイヤモンド膜の、少なくとも基材との界面の一部には、六方晶ダイヤモンドが存在することを特徴とする、前記(1)に記載のダイヤモンド膜。
(4)前記ダイヤモンド粉末を液体溶媒中で撹拌する工程の後に、ダイヤモンド分散液から、ダイヤモンド粉末の凝集体を分離する工程を備えることを特徴とする、前記(3)に記載のダイヤモンド膜の製造方法。
(6)前記ダイヤモンド粉末の粒径は、1nm以上100nm以下であることを特徴とする、前記(3)から(5)のいずれか一項に記載のダイヤモンド膜の製造方法。
(7)前記ダイヤモンド粉末を撹拌する液体溶媒は、水、アルコール又はアセトンの中の一種類、あるいは二種類以上混合したものからなることを特徴とする、前記(3)から(6)のいずれか一項に記載のダイヤモンド膜の製造方法。
(9)前記ダイヤモンド分散液からダイヤモンド粉末の凝集体を分離する工程は、ダイヤモンド分散液を容器中で放置して、沈殿したダイヤモンド粉末の凝集体を取り除く工程を含むことを特徴とする、前記(4)から(7)のいずれか一項に記載のダイヤモンド膜の製造方法。
(10)前記ダイヤモンド分散液を放置する容器は、密封容器であることを特徴とする、前記(9)に記載のダイヤモンド膜の製造方法。
(11)前記ダイヤモンド分散液から分離するダイヤモンド凝集体の直径は0.2μm以上であることを特徴とする、前記(4)から(10)のいずれか一項に記載のダイヤモンド膜の製造方法。
(13)前記ダイヤモンド分散液の溶媒を追加又は蒸発させることによって、ダイヤモンド分散液中のダイヤモンド粉末濃度を、溶媒を追加又は蒸発させる前の0.1倍以上8倍以下に減少、あるいは増加させることを特徴とする、前記(12)記載のダイヤモンド膜の製造方法。
ダイヤモンド核発生密度、直径1μm以上のダイヤモンド粒子の個数は、ダイヤモンド表面を走査型電子顕微鏡で観察し、求めることができる。
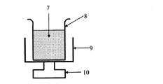
ここでは、本発明の実施例として、ダイヤモンド粉末を用いた基材への種付け処理の例を示す。まず、粒径5〜100nmのダイヤモンド粉末を2g用意し、純水1L中で溶液全体に超音波を印加して撹拌した(図2)。このダイヤモンド粉末は粉末X線回折法で計測した結果、立方晶ダイヤモンドと六方晶ダイヤモンドからなり、六方晶ダイヤモンドがダイヤモンド粉末全体に対して11質量%の割合で含まれていた。また、その純度は質量換算で95%であった。その後、全体を密封容器に移し、遠心分離装置によって、ダイヤモンド粒子の凝集体と、ダイヤモンド分散溶液に分離した(図3)。ダイヤモンド凝集体と、凝集体を分離後に分散液中に残ったダイヤモンド粒子を取り出して透過型電子顕微鏡(TEM)でそれぞれ観察したところ、凝集体の直径は0.2μm以上5μm以下の範囲にあり、分散液中の粒子は直径200nm未満で分散されたままであった。前記、分離の工程の後、ダイヤモンド分散溶液を開放容器に移し、溶媒を半分蒸発させてダイヤモンド粉末の濃度を2倍に増加させた(図4)。濃度調整後のダイヤモンド分散溶液のダイヤモンド粉末濃度は、溶媒1Lに対しダイヤモンド粉末が0.8gであった。次にダイヤモンド成膜用基材として、10×10×3mm3の超硬合金(WC/Co)の平板を用意し、種付けの前処理として、アセトン及び純水で超音波洗浄した後に硝酸に浸して、表面近傍のCoを除去した。この基材を、ダイヤモンド粉末濃度増加後のダイヤモンド分散液に浸し、全体に超音波を印加させて15分間種付け処理を行った(図5)。その後、基材をダイヤモンド分散液から取り出し、大気中で乾燥させた。
ここで比較例として、実施例1における種付け処理に用いるダイヤモンド粉末を、六方晶ダイヤモンドを含まず立方晶ダイヤモンドのみからなる粉末に変更して処理を行った。ダイヤモンド粉末の粒径や、使用した溶媒、分散液の精製方法、種付け処理方法及び時間は先の実施例と同様とした。濃度調整後のダイヤモンド分散溶液のダイヤモンド粉末濃度は、溶媒1Lに対しダイヤモンド粉末が0.008gであった。その後、ダイヤモンドの形成条件・時間も同様の成長を行った。まず、成長時間5分後では、基材表面におけるダイヤモンドの核発生密度が1.0×1010個/cm2以上の領域の面積は0.7mm2に留まり、残る部分の核発生密度は2.5×108〜9.9×109個/cm2であった。さらに、基材上に形成されたダイヤモンド核の中で、直径1μm以上のダイヤモンド粒子は、表面全体を観察した結果110個であった。その後、同条件で60時間ダイヤモンドを成長させたところ実施例1と同様の平均膜厚20μmのダイヤモンド膜が得られた。SEMで成膜後の表面を観察したところ、横方向差し渡しサイズ15μm以上の異常成長粒子は、基材表面全体で110個であった。得られたダイヤモンド膜と基材の界面をTEMで観察した結果、全面立方晶ダイヤモンドからなり、六方晶ダイヤモンドは観察されなかった。
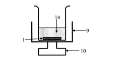
本実施例では、実施例1の図2に示したダイヤモンド粉末を撹拌後の溶液について、密封容器に移し替えてそのまま放置した例を示す。放置する前までのダイヤモンド撹拌液の調製工程は、溶媒にエチルアルコールを使用した点を除いて実施例1と同様である。ダイヤモンド撹拌液は、放置後3日で図3と同様にダイヤモンド粒子の凝集体と、ダイヤモンド分散溶液に分離した。凝集体の直径は0.2μm以上0.4μm以下であった。その後、沈殿したダイヤモンド凝集体部分を取り除いた溶液に、同体積のエチルアルコールを追加してダイヤモンド分散濃度を0.5倍に低下させた(図6)。濃度調整後のダイヤモンド分散溶液のダイヤモンド粉末濃度は、溶媒1Lに対しダイヤモンド粉末が0.02gであった。
本実施例では、六方晶ダイヤモンドの存在比、粒子径、ダイヤモンド粒子分散液の調製法等を変更した例について述べる。それぞれのダイヤモンド分散液条件を実施例1〜2及び比較例1と合わせて表1に示す。
尚、実施例6における5分間核発生後の核発生密度が1×1010個/cm2以上の領域の面積は1.2mm2であった。
2…ダイヤモンド膜
3…ダイヤモンド凝集体
4…異常成長部
5…差し渡しサイズ
6…ダイヤモンド膜厚
7…ダイヤモンド攪拌液
8…攪拌容器
9…超音波振動板
10…超音波発生器
11…密封容器
12…ダイヤモンド分散液
13…ダイヤモンド凝集体
14…ダイヤモンド粒子濃縮液
15…ダイヤモンド濃度低下液
Claims (15)
- 基材上に形成されたダイヤモンド膜であって、
該ダイヤモンド膜の平均膜厚値の3/4以上の横方向差し渡しサイズを有する突起部で定義される、膜成長面の異常成長ダイヤモンド突起部が、
1cm2当たり100個以下であることを特徴とする、
ダイヤモンド膜。 - 前記ダイヤモンド膜の、少なくとも基材との界面の一部には、六方晶ダイヤモンドが存在することを特徴とする、
請求項1に記載のダイヤモンド膜。 - 請求項1又は2記載のダイヤモンド膜を化学的気相合成法によって基材上に製造する方法であって、
立方晶ダイヤモンドと六方晶ダイヤモンドとを含むダイヤモンド粉末を用意する工程と、
前記ダイヤモンド粉末を液体溶媒中で撹拌する工程と、
前記ダイヤモンド粉末を撹拌した溶液であるダイヤモンド分散液中で基材表面にダイヤモンドを種付け処理する工程とを備え、
しかる後に基材上に化学的気相合成法によってダイヤモンド膜を形成することを特徴とする、
ダイヤモンド膜の製造方法。 - 前記ダイヤモンド粉末を液体溶媒中で撹拌する工程の後に、ダイヤモンド分散液から、ダイヤモンド粉末の凝集体を分離する工程を備えることを特徴とする、
請求項3に記載のダイヤモンド膜の製造方法。 - 前記ダイヤモンド粉末を液体溶媒中で撹拌する工程は、溶液全体に超音波を印加する工程を含むことを特徴とする、
請求項3又は4に記載のダイヤモンド膜の製造方法。 - 前記ダイヤモンド粉末の粒径は、1nm以上100nm以下であることを特徴とする、
請求項3から5のいずれか一項に記載のダイヤモンド膜の製造方法。 - 前記ダイヤモンド粉末を撹拌する液体溶媒は、水、アルコール又はアセトンの中の一種類、あるいは二種類以上混合したものからなることを特徴とする、
請求項3から6のいずれか一項に記載のダイヤモンド膜の製造方法。 - 前記ダイヤモンド分散液からダイヤモンド粉末の凝集体を分離する工程は、ダイヤモンド分散液を遠心分離してダイヤモンド粉末の凝集体を取り除く工程を含むことを特徴とする、
請求項4から7のいずれか一項に記載のダイヤモンド膜の製造方法。 - 前記ダイヤモンド分散液からダイヤモンド粉末の凝集体を分離する工程は、ダイヤモンド分散液を容器中で放置して、沈殿したダイヤモンド粉末の凝集体を取り除く工程を含むことを特徴とする、
請求項4から7のいずれか一項に記載のダイヤモンド膜の製造方法。 - 前記ダイヤモンド分散液を放置する容器は、密封容器であることを特徴とする、
請求項9に記載のダイヤモンド膜の製造方法。 - 前記ダイヤモンド分散液から分離するダイヤモンド凝集体の直径は0.2μm以上であることを特徴とする、請求項4から10のいずれか一項に記載のダイヤモンド膜の製造方法。
- 前記ダイヤモンド凝集体を分離した後に、ダイヤモンド分散液の溶媒を追加又は蒸発させることにより、ダイヤモンド分散液中のダイヤモンド粉末濃度を減少、あるいは増加させることを特徴とする、
請求項4から11のいずれか一項に記載のダイヤモンド膜の製造方法。 - 前記ダイヤモンド分散液の溶媒を追加又は蒸発させることによって、ダイヤモンド分散液中のダイヤモンド粉末濃度を、溶媒を追加又は蒸発させる前の0.1倍以上8倍以下に減少、あるいは増加させることを特徴とする、
請求項12に記載のダイヤモンド膜の製造方法。 - 前記ダイヤモンドを種付け処理する工程に用いるダイヤモンド分散液のダイヤモンド粉末濃度は、溶媒1Lに対しダイヤモンド粉末が0.01g以上80g以下であることを特徴とする、請求項3から13のいずれか一項に記載のダイヤモンド膜の製造方法。
- 前記方法で基材に対して種付け処理した後、熱フィラメントCVD法により、H2に対するCH4比率1%でダイヤモンドを5分間形成した際、
基材表面に、ダイヤモンドの成長核密度が1cm2当たり1×1010個以上の領域が少なくとも1mm2以上存在し、
かつ、直径1μm以上のダイヤモンド粒子が1cm2当たり100個以下であることを特徴とする、
請求項3から14のいずれか一項に記載のダイヤモンド膜の製造方法。
Priority Applications (1)
| Application Number | Priority Date | Filing Date | Title |
|---|---|---|---|
| JP2008237624A JP4984263B2 (ja) | 2008-09-17 | 2008-09-17 | ダイヤモンド膜及びその製造方法 |
Applications Claiming Priority (1)
| Application Number | Priority Date | Filing Date | Title |
|---|---|---|---|
| JP2008237624A JP4984263B2 (ja) | 2008-09-17 | 2008-09-17 | ダイヤモンド膜及びその製造方法 |
Publications (2)
| Publication Number | Publication Date |
|---|---|
| JP2010070405A true JP2010070405A (ja) | 2010-04-02 |
| JP4984263B2 JP4984263B2 (ja) | 2012-07-25 |
Family
ID=42202551
Family Applications (1)
| Application Number | Title | Priority Date | Filing Date |
|---|---|---|---|
| JP2008237624A Expired - Fee Related JP4984263B2 (ja) | 2008-09-17 | 2008-09-17 | ダイヤモンド膜及びその製造方法 |
Country Status (1)
| Country | Link |
|---|---|
| JP (1) | JP4984263B2 (ja) |
Cited By (4)
| Publication number | Priority date | Publication date | Assignee | Title |
|---|---|---|---|---|
| JP2016161945A (ja) * | 2015-03-04 | 2016-09-05 | ロッキード マーティン コーポレイションLockheed Martin Corporation | 光導波路を備えた無金属モノリシックエピタキシャルグラフェンオンダイヤモンドpwb |
| WO2019017330A1 (ja) * | 2017-07-21 | 2019-01-24 | 株式会社Sumco | ダイヤモンド積層シリコンウェーハの製造方法およびダイヤモンド積層シリコンウェーハ |
| CN115181957A (zh) * | 2022-08-25 | 2022-10-14 | 北京爱克瑞特金刚石工具有限公司 | 一种功能性金刚石微纳米粉体及复合体的制备和应用 |
| US12337392B2 (en) | 2020-05-28 | 2025-06-24 | Kyocera Corporation | Coated tool and cutting tool including the same |
Families Citing this family (1)
| Publication number | Priority date | Publication date | Assignee | Title |
|---|---|---|---|---|
| JP7338143B2 (ja) | 2018-10-31 | 2023-09-05 | 東洋製罐グループホールディングス株式会社 | 金属塑性加工用治具 |
Citations (4)
| Publication number | Priority date | Publication date | Assignee | Title |
|---|---|---|---|---|
| JPH03275596A (ja) * | 1990-03-26 | 1991-12-06 | Agency Of Ind Science & Technol | 水素プラズマジェットを用いた六方晶ダイヤモンドの合成法 |
| JPH06172089A (ja) * | 1992-12-08 | 1994-06-21 | Sumitomo Electric Ind Ltd | ダイヤモンドの合成法 |
| JPH1081589A (ja) * | 1996-06-12 | 1998-03-31 | Matsushita Electric Ind Co Ltd | ダイヤモンド膜およびその製造方法 |
| JP2005306617A (ja) * | 2004-04-16 | 2005-11-04 | Matsushita Electric Ind Co Ltd | ダイヤモンド薄膜およびその製造方法 |
-
2008
- 2008-09-17 JP JP2008237624A patent/JP4984263B2/ja not_active Expired - Fee Related
Patent Citations (4)
| Publication number | Priority date | Publication date | Assignee | Title |
|---|---|---|---|---|
| JPH03275596A (ja) * | 1990-03-26 | 1991-12-06 | Agency Of Ind Science & Technol | 水素プラズマジェットを用いた六方晶ダイヤモンドの合成法 |
| JPH06172089A (ja) * | 1992-12-08 | 1994-06-21 | Sumitomo Electric Ind Ltd | ダイヤモンドの合成法 |
| JPH1081589A (ja) * | 1996-06-12 | 1998-03-31 | Matsushita Electric Ind Co Ltd | ダイヤモンド膜およびその製造方法 |
| JP2005306617A (ja) * | 2004-04-16 | 2005-11-04 | Matsushita Electric Ind Co Ltd | ダイヤモンド薄膜およびその製造方法 |
Cited By (6)
| Publication number | Priority date | Publication date | Assignee | Title |
|---|---|---|---|---|
| JP2016161945A (ja) * | 2015-03-04 | 2016-09-05 | ロッキード マーティン コーポレイションLockheed Martin Corporation | 光導波路を備えた無金属モノリシックエピタキシャルグラフェンオンダイヤモンドpwb |
| WO2019017330A1 (ja) * | 2017-07-21 | 2019-01-24 | 株式会社Sumco | ダイヤモンド積層シリコンウェーハの製造方法およびダイヤモンド積層シリコンウェーハ |
| JP2019019044A (ja) * | 2017-07-21 | 2019-02-07 | 株式会社Sumco | ダイヤモンド積層シリコンウェーハの製造方法およびダイヤモンド積層シリコンウェーハ |
| CN111051579A (zh) * | 2017-07-21 | 2020-04-21 | 胜高股份有限公司 | 金刚石层叠硅晶片的制造方法及金刚石层叠硅晶片 |
| US12337392B2 (en) | 2020-05-28 | 2025-06-24 | Kyocera Corporation | Coated tool and cutting tool including the same |
| CN115181957A (zh) * | 2022-08-25 | 2022-10-14 | 北京爱克瑞特金刚石工具有限公司 | 一种功能性金刚石微纳米粉体及复合体的制备和应用 |
Also Published As
| Publication number | Publication date |
|---|---|
| JP4984263B2 (ja) | 2012-07-25 |
Similar Documents
| Publication | Publication Date | Title |
|---|---|---|
| US5082359A (en) | Diamond films and method of growing diamond films on nondiamond substrates | |
| CN110885968B (zh) | 金刚石涂层的制备方法及其制得的金刚石涂层、刀具 | |
| KR101019029B1 (ko) | 그라핀 하이브리드 물질 및 그 제조 방법 | |
| Mitura | Nucleation of diamond powder particles in an RF methane plasma | |
| JP4984263B2 (ja) | ダイヤモンド膜及びその製造方法 | |
| JPH0881299A (ja) | 弓そりを低下させた合成ダイヤモンド皮膜とその製造方法 | |
| WO2008047728A1 (en) | Laminate, abrasive and grinding materials made by using the same, and process for formation of the laminate | |
| CN113445024B (zh) | 一种金刚石涂层的制备方法、金刚石涂层及刀具 | |
| Mallik et al. | Detonation nanodiamond seeding technique for nucleation enhancement of CVD diamond—Some experimental insights | |
| US20100093171A1 (en) | Fabrication cubic boron nitride cone-microstructures and their arrays | |
| Saha et al. | Growth of diamond-like carbon films with significant nanocrystalline phases in a low-pressure high-density CH4 plasma in ICP-CVD: effect of negative dc substrate bias | |
| JP3638600B2 (ja) | ダイヤモンドでコートされた形のある物品の製造 | |
| Varga et al. | Study of diamond film nucleation by ultrasonic seeding in different solutions | |
| JPS62138395A (ja) | ダイヤモンド膜の製造方法 | |
| JP4374593B2 (ja) | カーボンナノチューブ摺動部材及びその製造方法 | |
| JPH04132691A (ja) | ダイヤモンド微粉末を種結晶とする気相法ダイヤモンド薄膜の製造法 | |
| Zolotukhin et al. | Nanodiamond films with dendrite structure formed by needle crystallites | |
| Tiwari et al. | The synthesis of diamond films on adamantane-coated Si substrate at low temperature | |
| Hoffman et al. | Aspects of nucleation and growth of diamond films on ordered and disordered sp 2 bonded carbon substrates | |
| Wan et al. | Ultra-high-density Ge quantum dots on insulator prepared by high-vacuum electron-beam evaporation | |
| WO2008035468A1 (fr) | FILM DE NANODIAMANT MINCE AYANT UNE CONDUCTIVITÉ DU TYPE n ET PROCÉDÉ DE FABRICATION DE CELUI-CI | |
| Kim et al. | Ultra thin CVD diamond film deposition by electrostatic self-assembly seeding process with nano-diamond particles | |
| Park et al. | Effect of the substrate bias in diamond deposition during hot filament chemical vapor deposition: approach by non-classical crystallization | |
| CN107340307A (zh) | 分析β‑SiC过渡层对金刚石膜形核生长影响的方法 | |
| Ali et al. | Effect of surface treatment on hot-filament chemical vapour deposition grown diamond films |
Legal Events
| Date | Code | Title | Description |
|---|---|---|---|
| A625 | Written request for application examination (by other person) |
Free format text: JAPANESE INTERMEDIATE CODE: A625 Effective date: 20100624 |
|
| A977 | Report on retrieval |
Free format text: JAPANESE INTERMEDIATE CODE: A971007 Effective date: 20111117 |
|
| A131 | Notification of reasons for refusal |
Free format text: JAPANESE INTERMEDIATE CODE: A131 Effective date: 20111122 |
|
| A521 | Written amendment |
Free format text: JAPANESE INTERMEDIATE CODE: A523 Effective date: 20120113 |
|
| TRDD | Decision of grant or rejection written | ||
| A01 | Written decision to grant a patent or to grant a registration (utility model) |
Free format text: JAPANESE INTERMEDIATE CODE: A01 Effective date: 20120409 |
|
| A01 | Written decision to grant a patent or to grant a registration (utility model) |
Free format text: JAPANESE INTERMEDIATE CODE: A01 |
|
| A61 | First payment of annual fees (during grant procedure) |
Free format text: JAPANESE INTERMEDIATE CODE: A61 Effective date: 20120412 |
|
| R150 | Certificate of patent or registration of utility model |
Free format text: JAPANESE INTERMEDIATE CODE: R150 Ref document number: 4984263 Country of ref document: JP Free format text: JAPANESE INTERMEDIATE CODE: R150 |
|
| FPAY | Renewal fee payment (event date is renewal date of database) |
Free format text: PAYMENT UNTIL: 20150511 Year of fee payment: 3 |
|
| R250 | Receipt of annual fees |
Free format text: JAPANESE INTERMEDIATE CODE: R250 |
|
| R250 | Receipt of annual fees |
Free format text: JAPANESE INTERMEDIATE CODE: R250 |
|
| R250 | Receipt of annual fees |
Free format text: JAPANESE INTERMEDIATE CODE: R250 |
|
| R250 | Receipt of annual fees |
Free format text: JAPANESE INTERMEDIATE CODE: R250 |
|
| R250 | Receipt of annual fees |
Free format text: JAPANESE INTERMEDIATE CODE: R250 |
|
| LAPS | Cancellation because of no payment of annual fees |
