JP2010070161A - プリテンショナのガス導管の製造方法 - Google Patents

プリテンショナのガス導管の製造方法 Download PDF

Info

Publication number
JP2010070161A
JP2010070161A JP2008242770A JP2008242770A JP2010070161A JP 2010070161 A JP2010070161 A JP 2010070161A JP 2008242770 A JP2008242770 A JP 2008242770A JP 2008242770 A JP2008242770 A JP 2008242770A JP 2010070161 A JP2010070161 A JP 2010070161A
Authority
JP
Japan
Prior art keywords
straight pipe
section
straight
bending
cross
Prior art date
Legal status (The legal status is an assumption and is not a legal conclusion. Google has not performed a legal analysis and makes no representation as to the accuracy of the status listed.)
Granted
Application number
JP2008242770A
Other languages
English (en)
Other versions
JP4907623B2 (ja
Inventor
Hisashi Matsumoto
恒 松本
Current Assignee (The listed assignees may be inaccurate. Google has not performed a legal analysis and makes no representation or warranty as to the accuracy of the list.)
Matsumoto Heavy Industry Co Ltd
Original Assignee
Matsumoto Heavy Industry Co Ltd
Priority date (The priority date is an assumption and is not a legal conclusion. Google has not performed a legal analysis and makes no representation as to the accuracy of the date listed.)
Filing date
Publication date
Application filed by Matsumoto Heavy Industry Co Ltd filed Critical Matsumoto Heavy Industry Co Ltd
Priority to JP2008242770A priority Critical patent/JP4907623B2/ja
Publication of JP2010070161A publication Critical patent/JP2010070161A/ja
Application granted granted Critical
Publication of JP4907623B2 publication Critical patent/JP4907623B2/ja
Active legal-status Critical Current
Anticipated expiration legal-status Critical

Links

Images

Landscapes

  • Automotive Seat Belt Assembly (AREA)
  • Bending Of Plates, Rods, And Pipes (AREA)

Abstract

【課題】一方の直管部の横断面が円形であり他方の直管部の断面が四角形である、コンパクトで軽量なプリテンショナのガス導管を、容易かつ安価に製造することを可能する手段を提供する。
【解決手段】プリテンショナのガス導管の製造工程は、曲げ加工工程と予備成型工程と角管部形成工程とからなる。曲げ加工工程では、金属材料からなり横断面が真円である直管状の円筒部材P1に曲げ加工を施して、第1直管部1と第2直管部2と曲管部3とを備えた曲げ管P2を作成する。予備成型工程では、曲げ管P2の第2直管部2を、その横断面が長円形となるように予備成型し、予備成型体P3を作成する。角管部形成工程では、横断面が長円形である予備成型体P3の第2直管部2を、その横断面が長方形となるように成型して角管部5を形成し、ガス導管P4を完成させる。
【選択図】図1

Description

本発明は、一方の直管部の横断面が円形であり他方の直管部の断面が四角形である、プリテンショナのガス導管の製造方法に関するものである
一般に、自動車には、衝突時に、乗員をベルトでシートに固定ないしは拘束するシートベルト装置が設けられている。しかしながら、自動車の衝突時にベルトが弛んでいると、シートベルト装置は乗員をシートに十分に固定することができない。そこで、近年、自動車の衝突時にほぼ瞬時にベルトの弛みを取り除いて、乗員のシートへの固定を確実化するプリテンショナが普及しつつある。
そして、このようなプリテンショナとして、自動車の衝突時に高圧ガスを生成するガスジェネレータと、ベルトに連結される一方上記高圧ガスによって移動させられベルトを巻き取ってベルトの弛みを取り除く可動部材と、ガスジェネレータから可動部材に高圧ガスを導くとともに可動部材を収容するガス導管とを備えた、ガス圧作動式のプリテンショナが知られている(例えば、特許文献1、2参照)。
特開2000−326824号公報(段落[0034]、図7) 特開2000−52924号公報(段落[0024]、図2)
ところで、この種のプリテンショナにおいては、その構造上あるいはレイアウト上の要求により、ガス導管を、ガスジェネレータを収容する第1直管部と、可動部材を収容する第2直管部(シリンダ部)と、両直管部間に位置する曲管部とからなる曲げ管とすることが必要とされることがある。そして、第2直管部は可動部材等の構造あるいはその他の事情により横断面を四角形とすることが必要とされることがある。他方、ガスジェネレータを収容する第1直管部の横断面は、一般に円形である。このようなガス導管では、プリテンショナの機能を損なわないように第2直管部(シリンダ部)の有効長さを確保しつつ、ガス導管の全長を短くすることが望ましい。
このように、第1直管部の横断面及び曲管部の横断面が円形であり、第2直管部の横断面が四角形である曲げパイプからなるガス導管(以下では便宜上、このようなガス導管を「異形断面ガス導管」という。)は、従来、下記のような手法で製造されている。
(1) 直管状の円筒部材の一方の端部側を必要な長さ分だけ、横断面が四角形となるように成型し、横断面が四角形である直管部(以下「角管部」という。)を形成する。
(2) 角管部とその他の部分との境界部近傍に曲げ加工を施し、横断面が円形である直管部と、断面がおおむね円形である曲管部とを形成する。
このような従来の異形断面ガス導管の製造手法では、円筒部材を横断面が四角形となるように成型することは容易である。しかしながら、この後の曲げ加工では、すでに角管部が形成された円筒部材を、横断面が円形である部分と横断面が四角形である部分(角管部)の境界部分ないしは遷移部分を中心に曲げるので、角管部の一部が曲がってしまい、角管部の有効長さ(直管状の部分の長さ)が減少し、必要な長さを備えた角管部が得られないといった問題がある。ここで、角管部の有効長さを確保するため、角管部を必要な長さよりも長くしておくといった対応が考えられる。しかし、このようにすると、ガス導管の全長が長くなり、そのサイズ及び重量が大きくなり、かつ材料費が上昇するといった問題が生じる。
本発明は、上記従来の問題を解決するためになされたものであって、一方の直管部の横断面が円形であり他方の直管部の断面が四角形である、コンパクトで軽量なプリテンショナのガス導管を、容易かつ安価に製造することを可能する手段を提供することを解決すべき課題とする。
上記課題を解決するためになされた本発明に係る、ガス圧で動作するプリテンショナのガス導管(プリテンショナパイプ)の製造方法は、曲げ加工工程と角管部形成工程とを有している。そして、曲げ加工工程では、直管状の円筒部材に曲げ加工を施して、一方の端部側に位置する第1直管部と、他方の端部側に位置する第2直管部と、第1直管部と第2直管部の間に位置する曲管部とを備えた曲げ管を作成する。また、角管部形成工程では、第2直管部を、その横断面が四角形(例えば、長方形、正方形等)となるように成型して角管部を形成する。なお、ここで「横断面」は、筒状部材の中心軸の伸びる方向と垂直な断面を意味する。
本発明に係るプリテンショナのガス導管の製造方法においては、曲げ加工工程と角管部形成工程の間で、第2直管部をその横断面が長円形となるように予備成型する予備成型工程を実施し、角管部形成工程で横断面が長方形である角管部を形成するようにしてもよい。この予備成型工程では、第2直管部を少なくとも2つの対向するプレス型で挟んで該第2直管部の中心軸と垂直な方向に押圧(プレス成型)することにより、第2直管部を予備成型するのが好ましい。なお、ここで「長円」は、楕円、フィールドトラック形等の「直径が一定でないまるい形状」を意味する。
本発明に係るプリテンショナのガス導管の製造方法において、角管部形成工程では、第2直管部を四角成型ダイスの矩形中空部(横断面が四角形)に配置し、四角成型パンチ(横断面が四角形)を上記第2直管部の中空部に挿入することにより、第2直管部を成型するのが好ましい。また、曲げ加工工程では、円筒部材の第2直管部を形成すべき部位をダイス内に配置する一方、円筒部材の曲管部を形成すべき部位及び第1直管部を形成すべき部位の一部又は全部をクランパで把持し、このクランパを回転させることにより曲げ管を作成するのが好ましい。なお、曲げ加工工程では、第1直管部と第2直管部とが垂直になるように曲げ加工を施してもよい。
本発明に係るプリテンショナのガス導管の製造方法によれば、円筒部材に曲げ加工を施して曲げ管を形成した後、第2直管部をその横断面が四角形となるように成型して角管部を形成するので、一方の直管部の横断面が円形であり他方の直管部の断面が四角形である、コンパクトで軽量なプリテンショナのガス導管を、容易にかつ安価に製造することができる。
以下、添付の図面を参照しつつ本発明の好ましい実施の形態(本発明を実施するための最良の形態)に係るプリテンショナのガス導管の製造方法を説明する。なお、図示していないが、このプリテンショナは、シートベルト装置用のプリテンショナであって、高圧ガスを生成するガスジェネレータと、ベルトに連結される一方高圧ガスによって移動させられベルトを巻き取ってベルトの弛みを取り除く可動部材と、ガスジェネレータから可動部材に高圧ガスを導くとともに可動部材を収容するガス導管とを備えている。
そして、自動車に衝突等による強い衝撃が加わってガスジェネレータに点火信号が印加されると、ガスジェネレータ内に装填された火薬又は推薬等のガス発生剤が点火され、高圧のガスがほぼ一瞬のうちに生成され、このガスがガス導管を経由して可動部材に導かれる。本発明は、このようなプリテンショナのガス導管(プリテンショナパイプ)の製造方法に関するものである。
まず、図1(a)〜(c)を参照しつつ、本発明に係るプリテンショナのガス導管の製造方法の概要を説明する。本発明に係るプリテンショナのガス導管の製造方法においては、まず金属材料からなり横断面が真円である直管状の円筒部材P1(図2参照)に曲げ加工を施して、図1(a)に示すような、一方の端部側に位置する第1直管部1と、他方の端部側に位置する第2直管部2と、第1直管部1と第2直管部2の間に位置する曲管部3とを備えた曲げ管P2を作成する(曲げ加工工程)。なお、円筒部材P1の一方の端部(第1直管部1を形成する側の端部)には、ガスジェネレータを保持するための拡管部4が予め形成されている。
次に、曲げ管P2の第2直管部2を、その横断面が長円形となるように予備成型し、予備成型体P3を作成する(予備成型工程)。さらに、横断面が長円形である予備成型体P3の第2直管部2を、その横断面が長方形となるように成型して角管部5を形成し、これによりガス導管P4が完成する(角管部形成工程)。なお、横断面が正方形である角管部5を形成する場合は、予備成型工程を実施する必要はない。また、横断面が長方形である角管部5を形成する場合でも、該長方形の縦辺と横辺の比が1に近い場合(例えば0.8〜1.2)は、予備成型工程を省略してもよい。
以下、図2〜図7を参照しつつ、本発明に係るプリテンショナのガス導管の製造方法を工程毎に詳細に説明する。
(曲げ加工工程)
まず、図2及び図3を参照しつつ曲げ加工工程を説明する。曲げ加工工程では、図2に示すように、曲げローラ6aが一体形成された曲げダイス6と、第1クランパ7と、第2クランパ8と、突起部9aを有するブースタ9と、湾曲状先端部10aを有する芯金10とを備えた曲げ加工装置M1が用いられる。
以下では便宜上、図2中の位置関係において、右側(第1、第2クランパ7、8側)を「前」といい、左側(曲げダイス6側)を「後」ということにする。また、図2中の位置関係において、前後方向と垂直な方向にみて第1クランパ7が位置する側を「上」といい、第2クランパ8が位置する側を「下」という。なお、この曲げ加工装置M1では、曲げローラ6aを伴った曲げダイス6は単一部材であるが、互いに分離可能な上側部材及び下側部材の2部品で構成される分離型の曲げダイスを用いてもよい。この場合、曲げローラは両部材と別部材としてもよく、また下側部材と一体形成してもよい。
曲げ加工装置M1で円筒部材P1に曲げ加工を施す際には、まず曲げダイス6に形成された、横断面が円形の円形中空部11内に円筒部材P1を配置する。なお、前記のとおり、円筒部材P1の第1端部12には、ガスジェネレータ(図示せず)を保持するための拡管部4が予め形成されている。ここで、円筒部材P1を、第2直管部2となるべき部分が円形中空部11内に位置し、第1直管部1となるべき部分及び湾曲部3となるべき部分が円形中空部11から前方に向かって露出するように、曲げダイス6内に配置する。そして、円筒部材P1の円形中空部11から露出している部分を、第1クランパ7及び第2クランパ8とで把持(クランプ)する。
このように、円筒部材P1を曲げダイス6内に配置して第1クランパ7及び第2クランパ8で把持した後、ブースタ9を、その突起部9aが円筒部材P1の中空部に挿入されるような態様で、曲げダイス6の後側から円形中空部11に挿入する。また、芯金10を、その湾曲状先端部10aが円形中空部11の前端部近傍に位置するような態様で、第1クランパ7の前側から円筒部材P1の中空部に挿入する。
この後、図3に示すように、ブースタ9を矢印A1で示す方向(前方)に付勢ないしは押圧しながら、第1クランパ7と第2クランパ8と芯金10とを矢印A2で示すように90°回転ないしは旋回させる。このとき、芯金10の湾曲状先端部10aによって、円筒部材P1の内面の形状変化が規制ないしは拘束され、該円筒部材P1に扁平変形が生じるのが防止又は抑制される。また、第1、第2クランパ7、8及び芯金10の回転、すなわち曲げ角度の変化に伴って、ブースタ9が円筒部材P1を前方に押し出すので、円筒部材P1に割れあるいは肉厚の減少が生じるのが防止又は抑制される。
かくして、第1直管部1と第2直管部2と曲管部3とを備えた略L字状の曲げ管P2が作成される。この曲げ加工では、従来の曲げ加工に比べて、内側湾曲部の曲率半径が小さい(すなわち極小Rの)曲管部3を容易に形成することができ、第2直管部2の長さ、ひいては角管部5の有効長さを長くすることができる。このため、角管部5の端部を、ガスジェネレータに近づけることができる。
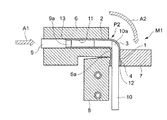
(予備成型工程)
次に、図4(a)、(b)及び図5(a)、(b)を参照しつつ予備成型工程を説明する。予備成型工程では、図4(a)、(b)に示すように、横断面が長方形の溝状凹部15aを有する第1プレス型15と、平板状の第2プレス型16とが互いに対向するように配置された予備成型装置M2が用いられる。ここで、溝状凹部15aの深さは、曲げ管P2の第2直管部2の外直径より小さくなっている。他方、溝状凹部15aの幅は、曲げ管P2の第2直管部2の外直径より大きくなっている。
すなわち、溝状凹部15aの深さは、曲げ管P2の第2直管部2が、その横断面が長円形となるように予備成型された後における第2直管部2の短い方の外直径と一致するように設定されている。他方、溝状凹部15aの幅は、曲げ管P2の第2直管部2が、その横断面が長円形となるように予備成型された後における第2直管部2の長い方の外直径と一致するように設定されている。
予備成型装置M2で曲げ管P2に予備成型加工を施す際には、第1プレス型15と第2プレス型16とを、溝状凹部15aが第2プレス型46に向くようにして、互いに若干離間して対向するように配置する。そして、溝状凹部15a内に曲げ管P2の横断面が円形である第2直管部2を挿入する。図4(a)は、第2直管部2がこのように溝状凹部15a内に挿入された状態を示している。そして、第1プレス型15と第2プレス型16とに、矢印A3、A4で示す方向の力を加えて第2直管部2を押圧し、図4(b)にその状態を示すように、第1プレス型15と第2プレス型16とを当接させる。
その結果、第2直管部2はプレス成型され、その横断面は長い方の外直径が溝状凹部15aの幅と同一であり、短い方の外直径が溝状凹部15aの深さと同一である長円形となる。かくして、予備成型体P3が得られる。なお、このように、第2直管部2の横断面を長円形にするのは、後で説明するように、第2直管部2を四角成型ダイス17(図6参照)に挿入することを可能にするとともに、角管部形成工程における第2直管部2の成型を容易にするためである。
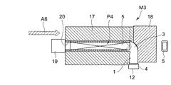
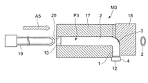
(角管部形成工程)
以下、図6及び図7を参照しつつ角管部形成工程を説明する。角管部形成工程では、図6に示すように、四角成型ダイス17と、押さえクランパ18と、四角成型パンチ19とを備えた角管部形成装置M3が用いられる。ここで、四角成型ダイス17には、横断面が長方形である矩形中空部20が形成され、この長方形は角管部5の横断面の外縁の形状に対応している。また、四角成型パンチ19の横断面は基本的には長方形であり、この長方形は角管部5の横断面の内縁の形状に対応している。なお、この角管部形成装置M3では、四角成型ダイス17は単一部材であるが、互いに分離可能な上側部材及び下側部材の2部品で構成される分離型の四角成型ダイスを用いてもよい。
角管部形成装置M3で予備成型体P3に角管部形成加工を施す際には、図6に示すように、まず予備成型体P3を、横断面が長円形である第2直管部2が矩形中空部20内に収容されるような態様で四角成型ダイス17に配置する。なお、予備成型体P3の第1直管部1及び曲管部3は、四角成型ダイス17の前方に露出している。ここで、第2直管部2の横断面が長円形となっているので、四角成型ダイス17の矩形中空部20に第2直管部2を支障なく挿入することができる。なお、第2直管部2の横断面が円形の場合、該円の直径が四角成型ダイス17の矩形中空部20の横断面の長方形の短辺よりも長い場合は、第2直管部2を四角成型ダイス17の矩形中空部20に挿入することができない。
次に、予備成型体P3の第1直管部1及び曲管部3を、押さえクランパ18で拘束(クランプ)する。このように第1直管部1及び曲管部3を拘束するのは、四角成型パンチ19の成型荷重により曲管部3に座屈あるいは蛇行等が発生するのを防止ないしは抑制するためである。
この後、四角成型パンチ19を、矢印A5、A6で示すように移動させて第2直管部2の中空部に挿入することにより、該第2直管部2をその横断面が長方形となるように成型し、角管部5を形成する。第2直管部2は、その横断面が長円形、すなわち真円よりも長方形に近い形状となるように予備成型されているので、四角成型パンチ19の挿入、すなわち角管部5の形成を容易に行うことができる。以上によりプリテンショナのガス導管P4が完成する。
以上、本発明の実施の形態に係るプリテンショナのガス導管P4の製造方法によれば、円筒部材P1に曲げ加工を施して曲げ管P2を形成し、曲げ管Pの第2直管部2をその横断面が長円形となるように予備成型した後、第2直管部2をその横断面が長方形となるように成型して角管部5を形成するので、横断面が円形である第1直管部1と、横断面が長方形である第2直管部2と、曲管部3とからなる、コンパクトで軽量なプリテンショナのガス導管を容易にかつ安価に製造することができる。
(a)は本発明に係る製造方法により作成された曲げ管の側面図であり、(b)は予備成型体の側面図であり、(c)はガス導管の側面図である。 曲げ加工装置の側面断面図である。 曲げ加工装置の側面断面図である。 (a)は予備成型装置の正面図であり、(b)は予備成型装置の側面図である。 (a)は予備成型装置の正面図であり、(b)は予備成型装置の側面図である。 角管部形成装置の側面断面図である。 角管部形成装置の側面断面図である。
符号の説明
M1 曲げ加工装置、M2 予備成型装置、M3 角管部形成装置、P1 円筒部材、P2 曲げ管、P3 予備成型体、P4 ガス導管、1 第1直管部、2 第2直管部、3 曲管部、4 拡管部、5 角管部、6 曲げダイス、6a 曲げローラ、7 第1クランパ、8 第2クランパ、9 ブースタ、9a 突起部、10 芯金、10a 湾曲状先端部、11 円形中空部、12 第1端部、13 第2端部、15 第1プレス型、15a 溝状凹部、16 第2プレス型、17 四角成型ダイス、18 押さえクランパ、19 成型パンチ、20 矩形中空部。

Claims (6)

  1. ガス圧で動作するプリテンショナのガス導管の製造方法であって、
    直管状の円筒部材に曲げ加工を施して、一方の端部側に位置する第1直管部と、他方の端部側に位置する第2直管部と、上記第1直管部と上記第2直管部の間に位置する曲管部とを備えた曲げ管を作成する曲げ加工工程と、
    上記第2直管部を、その横断面が四角形となるように成型して角管部を形成する角管部形成工程とを有することを特徴とするプリテンショナのガス導管の製造方法。
  2. 上記曲げ加工工程と上記角管部形成工程の間に実施され、上記第2直管部を、その横断面が長円形となるように予備成型する予備成型工程をさらに有していて、
    上記角管部形成工程では、横断面が長方形である角管部を形成することを特徴とする、請求項1に記載のプリテンショナのガス導管の製造方法。
  3. 上記予備成型工程では、上記第2直管部を少なくとも2つの対向するプレス型で挟んで該第2直管部の中心軸と垂直な方向に押圧することにより、上記第2直管部を予備成型することを特徴とする、請求項2に記載のプリテンショナのガス導管の製造方法。
  4. 上記角管部形成工程では、上記第2直管部を四角成型ダイスの矩形中空部に配置し、四角成型パンチを上記第2直管部の中空部に挿入することにより、上記第2直管部を成型することを特徴とする、請求項1〜3のいずれか1つに記載のプリテンショナのガス導管の製造方法。
  5. 上記曲げ加工工程では、上記円筒部材の上記第2直管部を形成すべき部位をダイス内に配置する一方、上記円筒部材の上記曲管部を形成すべき部位及び上記第1直管部を形成すべき部位をクランパで把持し、上記クランパを回転させることにより上記曲げ管を作成することを特徴とする、請求項1〜4のいずれか1つに記載のプリテンショナのガス導管の製造方法。
  6. 上記曲げ加工工程では、上記第1直管部と上記第2直管部とが垂直になるように曲げ加工を施すことを特徴とする、請求項1〜5のいずれか1つに記載のプリテンショナのガス導管の製造方法。
JP2008242770A 2008-09-22 2008-09-22 プリテンショナのガス導管の製造方法 Active JP4907623B2 (ja)

Priority Applications (1)

Application Number Priority Date Filing Date Title
JP2008242770A JP4907623B2 (ja) 2008-09-22 2008-09-22 プリテンショナのガス導管の製造方法

Applications Claiming Priority (1)

Application Number Priority Date Filing Date Title
JP2008242770A JP4907623B2 (ja) 2008-09-22 2008-09-22 プリテンショナのガス導管の製造方法

Publications (2)

Publication Number Publication Date
JP2010070161A true JP2010070161A (ja) 2010-04-02
JP4907623B2 JP4907623B2 (ja) 2012-04-04

Family

ID=42202334

Family Applications (1)

Application Number Title Priority Date Filing Date
JP2008242770A Active JP4907623B2 (ja) 2008-09-22 2008-09-22 プリテンショナのガス導管の製造方法

Country Status (1)

Country Link
JP (1) JP4907623B2 (ja)

Cited By (3)

* Cited by examiner, † Cited by third party
Publication number Priority date Publication date Assignee Title
KR101453243B1 (ko) * 2014-03-12 2014-10-22 주식회사 대호 차량의 시트벨트용 프리텐셔너의 실린더 제작방법
CN106238498A (zh) * 2016-08-04 2016-12-21 亚太轻合金(南通)科技有限公司 一种铝合金方型弯管加工方法
CN113843320A (zh) * 2020-07-31 2021-12-28 李�浩 罩固定方式的安全带管的制造方法

Citations (5)

* Cited by examiner, † Cited by third party
Publication number Priority date Publication date Assignee Title
JPS62127131A (ja) * 1985-11-29 1987-06-09 Nippon Radiator Co Ltd ラジエ−タチユ−ブ用口拡爪
JPH06238352A (ja) * 1993-02-15 1994-08-30 Usui Internatl Ind Co Ltd 金属管を小曲率半径で曲げ加工する方法
JP2000313313A (ja) * 1999-03-04 2000-11-14 Nsk Ltd シートベルト装置
JP2001212623A (ja) * 2000-02-02 2001-08-07 Nsk Ltd パイプの成形方法
JP2002537118A (ja) * 1999-02-16 2002-11-05 バリ−フォーム・インコーポレイテッド シール方法とプレス装置

Patent Citations (5)

* Cited by examiner, † Cited by third party
Publication number Priority date Publication date Assignee Title
JPS62127131A (ja) * 1985-11-29 1987-06-09 Nippon Radiator Co Ltd ラジエ−タチユ−ブ用口拡爪
JPH06238352A (ja) * 1993-02-15 1994-08-30 Usui Internatl Ind Co Ltd 金属管を小曲率半径で曲げ加工する方法
JP2002537118A (ja) * 1999-02-16 2002-11-05 バリ−フォーム・インコーポレイテッド シール方法とプレス装置
JP2000313313A (ja) * 1999-03-04 2000-11-14 Nsk Ltd シートベルト装置
JP2001212623A (ja) * 2000-02-02 2001-08-07 Nsk Ltd パイプの成形方法

Cited By (3)

* Cited by examiner, † Cited by third party
Publication number Priority date Publication date Assignee Title
KR101453243B1 (ko) * 2014-03-12 2014-10-22 주식회사 대호 차량의 시트벨트용 프리텐셔너의 실린더 제작방법
CN106238498A (zh) * 2016-08-04 2016-12-21 亚太轻合金(南通)科技有限公司 一种铝合金方型弯管加工方法
CN113843320A (zh) * 2020-07-31 2021-12-28 李�浩 罩固定方式的安全带管的制造方法

Also Published As

Publication number Publication date
JP4907623B2 (ja) 2012-04-04

Similar Documents

Publication Publication Date Title
JP5054105B2 (ja) プリテンショナ及びその製造方法
US20090152898A1 (en) Pipe member and method of manufacturing the same
US20110252919A1 (en) Pedal arm, manufacturing apparatus thereof, and manufacturing method thereof
WO2014033933A1 (ja) 車両用のアーム部品とその製造方法
CN108463296B (zh) 旋压装置以及旋压方法
EP3124826A1 (en) Winding collar, winding collar production device, and winding collar production method
JP4907623B2 (ja) プリテンショナのガス導管の製造方法
JP2012081494A (ja) 金属管の製造装置
JP2017127898A (ja) プレス装置及びプレス成形品の製造方法
US11229936B2 (en) Press device, and method of manufacturing elliptical-cylindrical member
KR101453243B1 (ko) 차량의 시트벨트용 프리텐셔너의 실린더 제작방법
JP4659267B2 (ja) ガスジェネレータとガス導管との固定方法
JP4429117B2 (ja) アルミニウム合金製自動車用ホイールリムの製造方法
JP2018144606A (ja) ヘッドレストステーの製造方法
JP2008200735A (ja) シャフトの製造方法及びその製造装置
KR101853293B1 (ko) 차량의 시트벨트용 프리텐셔너의 실린더 제작방법
JP5021333B2 (ja) シャフトの製造方法及びその製造装置
JP5235030B2 (ja) プリテンショナを備えるリトラクタ用のパイプの製造方法
JP2007075893A (ja) 中空管内部のセレーション成形装置及びその成形方法
US10634036B2 (en) Method for molding pipe body
JP2010046675A (ja) パイプ曲げ加工装置及びパイプ曲げ加工方法
JP5263046B2 (ja) 異形コ字状部を含む閉断面形状を有する成形体の製造方法
JP2008229630A (ja) ボトルの製造方法、ボトル及びエアバッグ装置
JP6630300B2 (ja) 筒状体の加工方法及び筒状体
JP3862611B2 (ja) プリテンショナー用パイプの製造方法

Legal Events

Date Code Title Description
A131 Notification of reasons for refusal

Free format text: JAPANESE INTERMEDIATE CODE: A131

Effective date: 20101109

A977 Report on retrieval

Free format text: JAPANESE INTERMEDIATE CODE: A971007

Effective date: 20101111

A521 Request for written amendment filed

Free format text: JAPANESE INTERMEDIATE CODE: A523

Effective date: 20101221

A131 Notification of reasons for refusal

Free format text: JAPANESE INTERMEDIATE CODE: A131

Effective date: 20110524

A521 Request for written amendment filed

Free format text: JAPANESE INTERMEDIATE CODE: A523

Effective date: 20110722

TRDD Decision of grant or rejection written
A01 Written decision to grant a patent or to grant a registration (utility model)

Free format text: JAPANESE INTERMEDIATE CODE: A01

Effective date: 20111213

A01 Written decision to grant a patent or to grant a registration (utility model)

Free format text: JAPANESE INTERMEDIATE CODE: A01

A61 First payment of annual fees (during grant procedure)

Free format text: JAPANESE INTERMEDIATE CODE: A61

Effective date: 20120111

FPAY Renewal fee payment (event date is renewal date of database)

Free format text: PAYMENT UNTIL: 20150120

Year of fee payment: 3

R150 Certificate of patent or registration of utility model

Ref document number: 4907623

Country of ref document: JP

Free format text: JAPANESE INTERMEDIATE CODE: R150

Free format text: JAPANESE INTERMEDIATE CODE: R150

R250 Receipt of annual fees

Free format text: JAPANESE INTERMEDIATE CODE: R250

R250 Receipt of annual fees

Free format text: JAPANESE INTERMEDIATE CODE: R250

R250 Receipt of annual fees

Free format text: JAPANESE INTERMEDIATE CODE: R250

R250 Receipt of annual fees

Free format text: JAPANESE INTERMEDIATE CODE: R250

R250 Receipt of annual fees

Free format text: JAPANESE INTERMEDIATE CODE: R250

R250 Receipt of annual fees

Free format text: JAPANESE INTERMEDIATE CODE: R250

R250 Receipt of annual fees

Free format text: JAPANESE INTERMEDIATE CODE: R250

R250 Receipt of annual fees

Free format text: JAPANESE INTERMEDIATE CODE: R250

R250 Receipt of annual fees

Free format text: JAPANESE INTERMEDIATE CODE: R250

R250 Receipt of annual fees

Free format text: JAPANESE INTERMEDIATE CODE: R250

R250 Receipt of annual fees

Free format text: JAPANESE INTERMEDIATE CODE: R250

R250 Receipt of annual fees

Free format text: JAPANESE INTERMEDIATE CODE: R250