JP2010069638A - 画像形成装置 - Google Patents

画像形成装置 Download PDF

Info

Publication number
JP2010069638A
JP2010069638A JP2008237119A JP2008237119A JP2010069638A JP 2010069638 A JP2010069638 A JP 2010069638A JP 2008237119 A JP2008237119 A JP 2008237119A JP 2008237119 A JP2008237119 A JP 2008237119A JP 2010069638 A JP2010069638 A JP 2010069638A
Authority
JP
Japan
Prior art keywords
toner
image forming
intermediate recording
forming means
recording belt
Prior art date
Legal status (The legal status is an assumption and is not a legal conclusion. Google has not performed a legal analysis and makes no representation as to the accuracy of the status listed.)
Granted
Application number
JP2008237119A
Other languages
English (en)
Other versions
JP2010069638A5 (ja
JP5407243B2 (ja
Inventor
Osamu Endo
理 遠藤
Masanori Horiie
正紀 堀家
Nobuaki Kondo
信昭 近藤
Masanori Saito
政範 斉藤
Tomoko Takahashi
朋子 高橋
Shin Kayahara
伸 茅原
Current Assignee (The listed assignees may be inaccurate. Google has not performed a legal analysis and makes no representation or warranty as to the accuracy of the list.)
Ricoh Co Ltd
Original Assignee
Ricoh Co Ltd
Priority date (The priority date is an assumption and is not a legal conclusion. Google has not performed a legal analysis and makes no representation as to the accuracy of the date listed.)
Filing date
Publication date
Application filed by Ricoh Co Ltd filed Critical Ricoh Co Ltd
Priority to JP2008237119A priority Critical patent/JP5407243B2/ja
Publication of JP2010069638A publication Critical patent/JP2010069638A/ja
Publication of JP2010069638A5 publication Critical patent/JP2010069638A5/ja
Application granted granted Critical
Publication of JP5407243B2 publication Critical patent/JP5407243B2/ja
Expired - Fee Related legal-status Critical Current
Anticipated expiration legal-status Critical

Links

Images

Landscapes

  • Printers Or Recording Devices Using Electromagnetic And Radiation Means (AREA)
  • Electrophotography Using Other Than Carlson'S Method (AREA)
  • Combination Of More Than One Step In Electrophotography (AREA)
  • Electrostatic Charge, Transfer And Separation In Electrography (AREA)

Abstract

【課題】中間記録ベルトに画像を形成する場合にトナーの滞留による劣化が生じる。
【解決手段】装置上方から下方に向かって移動する面にトナー像が形成される中間記録ベルト203と、中間記録ベルト203に帯電した異なる色のトナーを飛翔付着させてトナー像を形成する、中間記録ベルト293の移動方向に沿って配置された複数の作像手段202と、中間記録ベルト203の背面からトナーを移動させる方向のバイアス電圧を印加する対向電極手段205とを備え、複数の作像手段202は、トナー担持体101と、トナー供給ローラ202と、トナー制御手段104とを有し、トナー担持体101は中間記録ベルト203に対向する側が装置下方から上方に向かう方向に移動し、トナー供給ローラ102はトナー担持体102に対して回転中心よりも上方でトナーを供給する。
【選択図】図10

Description

本発明は画像形成装置に関し、特に、トナー担持体から飛翔させたトナーを開閉制御されるトナー通過開口(トナー通過穴、開口部などともいう。)を介して中間記録ベルトに飛翔付着させて画像を形成する画像形成装置に関する。
従来の画像形成装置として、トナージェット、ダイレクトトーニング、トナープロジェクションなどと称される、トナー(記録材)によって記録媒体(中間記録媒体を含む)上に画像を直接記録する方式のものが知られている。なお、本願において、「トナー」とは、トナー、画像形成粒子、微粒子、記録材(剤)などと称されるものを含み、記録媒体に画像を付与できるものの総称である。
例えば、特許文献1に記載されているように、画像形成粒子を担持する粒子担持体と、互いに独立あるいは連続する複数の微小開口部が設けられ、該粒子担持体に対向する開口部材と、該開口部材又は該開口部材の近傍に設けられ、該粒子担持体上の画像形成粒子の飛翔を制御する複数の飛翔制御電極とを有する画像形成器と、該開口部材を介して該粒子担持体に対向する対向電極とを備え、飛翔記録方式により、該対向電極上の中間記録体、又は、中間記録体としての機能を有する該対向電極、の記録面に画像を形成した後、該画像を記録部材に転写するものが知られている。
その他、直接記録方式に関しては、特許文献2ないし8に記載されているようなものも知れている。
特開2000−094734号公 特開昭6536058号公報 特許第2933930号公報 特公平2−52260号公報 特開昭59−181370号公報 特開平02−226261号公報 特表2001−505146号公報 特開平11−301014号公報
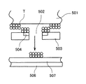
ここで、直接記録方式によって画像を形成する基本構成について図17を参照して説明すると、図17において、剤担持体としてのトナー担持ローラ501は、その軸線を図中左右方向に延在させるように配設され、図示しない駆動手段によって回転駆動せしめられながら、帯電済みのトナーTをその表面に担持する。このトナー担持ローラ501の下には、複数の穴502を形成する穴形成部材としてのフレキシブルプリント基板503が配設されている。FPC503は、各穴502を囲むようにトナー担持ローラ501との対向面側に形成されたリング状の複数の飛翔電極504を備えている。
そして、上記FPC503の下方には、これを介してトナー担持ローラ501に対向する対向電極506と、この対向電極506上で搬送手段によって搬送される記録紙507とが配設されている。なお、図16においては、便宜上、穴502、飛翔電極504をそれぞれ1つずつしか示していないが、実際には、FPC503にこれらの組み合わせが複数形成されている。具体的には、例えば600dpi用のFPC503では、これらの組み合わせが4960個形成されている。
そこで、トナー担持ローラ501は、例えば接地された状態で、マイナス極性に帯電したトナーTを表面に担持する。上記飛翔電極504にプラス極性の飛翔電圧が印加されると、トナー担持ローラ501上で飛翔電極504と対向する位置にあるトナーTや、これの近傍にあるトナーTに所定強度の電界が作用する。この電界の作用により、トナーTに加わる静電力が、トナーTとトナー担持ローラ501との付着力を上回り、トナーTの集合体がドット状の形状でトナー担持ローラ501から選択的に飛翔して穴502内に進入する。
そして、飛翔電極504と、これよりも高い電位を帯びている上記対向電極506との間に形成される電界に引かれて飛翔を続け、穴502を通過して上記記録紙507の表面に付着する。この付着により、トナーTの集合体はドット像となる
また、通常の電子写真方式の画像形成装置において像担持体上の潜像を、一成分トナーを用いて現像する場合、トナーを担持する現像ローラと像担持体としての感光体は各々の表面の移動方向が同じ向きで、現像ローラの表面の速度が感光体の1.2倍〜2.5倍程度になるように設定されることはよく知られている。これは、現像ローラと感光体の移動方向が反対方向になると、接触するニップ部で発生するトルクが非常に大きくなり、大きな駆動源を使用しなければならないことや画像が劣化することよるものである。
上述した従来の直接記録方式の画像形成装置にあっては、トナーを通過または阻止させる電界を形成する制御パルスは高い電圧値を必要とするためドライバコストが高価になり、あるいは、トナーの通過を制御する制御電極にトナー付着が付着することによる画質低下、信頼性低下の問題がある。
これとは別に、直接記録方式でトナー像を形成する中間記録ベルトを装置の上方向から下方向に移動させ、この中間記録ベルトに対向して直接記録を行う作像ユニットをベルト移動方向に沿って配置し、作像ユニットでは、トナー担持ローラに対してトナー担持ローラの回転中心より下方からトナー供給ローラでトナーを供給し、トナー担持ローラのトナー厚みを規制部材で所定の厚みに規制する構成を採用した場合、トナーがトナー供給ローラとトナー担持体との間で滞留して劣化して画像品質が低下するという課題が生じる。
本発明は上記の課題に鑑みてなされたものであり、上述した直接記録方式でトナー像を形成する中間記録ベルトを装置の上方向から下方向に移動させる場合に作像手段内でのトナーの滞留による劣化を低減することを目的とする。
上記の課題を解決するために、本発明に係る画像形成装置は、
装置上方から下方に向かって移動する面にトナー像が形成される中間記録ベルトと、
前記中間記録ベルトに帯電した異なる色のトナーを飛翔付着させてトナー像を形成する、前記中間記録ベルトの移動方向に沿って配置された複数の作像手段と、
前記中間記録ベルトの背面から前記トナーを移動させる方向のバイアス電圧を印加する対向電極手段と、を備え、
前記複数の作像手段は、
前記中間記録ベルトに対向する位置に配置され、帯電したトナーを担持して所定の移動方向に移動するローラ状のトナー担持体と、
前記トナー担持体に前記トナーを供給するローラ状の供給部材と、
前記トナー担持体と前記中間記録ベルトとの間に配置された複数のトナー通過開口を有し、前記トナーのトナー通過開口の通過及び遮蔽を制御する電極を有するトナー制御手段と、を有し、
前記トナー担持体は前記中間記録ベルトに対向する側が装置下方から上方に向かう方向に移動し、前記供給部材は前記トナー担持体に対して回転中心よりも上方で前記トナーを供給する
構成とした。
ここで、前記複数の作像手段は、黒色のトナーを飛翔付着させる黒作像手段と、カラーのトナーを飛翔付着させる複数のカラー作像手段とを有し、前記中間記録ベルトが駆動されている状態で、前記黒作像手段は作像していないときに停止し、前記複数のカラー作像手段は全てのカラー作像手段が作像していないときに停止する構成とできる。
また、前記複数の作像手段は、黒色のトナーを飛翔付着させる黒作像手段と、カラーのトナーを飛翔付着させる複数のカラー作像手段とを有し、前記黒作像手段と複数のカラー作像手段とは前記中間記録ベルトの移動方向に沿って配置され、前記黒作像手段はベルト移動方向最下流側に配置されている構成とできる。
また、前記トナー担持体に一成分トナーを供給する構成とできる。
なお、本願発明において、「ローラ状」とは円筒状のものを含む意味であり、中空、中実のいずれかに限定されるものではない。
本発明に係る画像形成装置によれば、中間記録ベルトは装置上方から下方に向かう方向移動し、トナー担持体は中間記録ベルトに対向する側が装置下方から上方に向かう方向に移動し、供給部材はトナー担持体に対して回転中心よりも上方でトナーを供給する構成としたので、供給部材とトナー担持体との間でのトナーの滞留が低減し、トナーの劣化を低減することができる。
以下、本発明の実施の形態について添付図面を参照して説明する。先ず、本発明に係る画像形成装置を構成する直接記録方式でトナー像を形成する作像手段の構成について図1の模式的構成図を参照して説明する。
ここでは、トナーTを飛翔させ、クラウド化した状態で担持するローラ状のトナー担持体1と、トナーTが付着させられる記録媒体手段(中間記録ベルト)3と、トナー担持体1と中間記録ベルト3との間に配置された複数のトナー通過穴(トナー通過開口)41を有するトナー制御手段4と、中間記録ベルト3の背面に配置された対向電極手段としてのローラ状の対向電極5とを備えている。なお、図1では、中間記録ベルト3の上方にトナー担持体1が配置されている状態で図示しているが、これは説明の便宜上であって、本発明における配置は図1の状態を90度回転した状態になる。また、作像手段はトナー担持体1及びトナー制御手段4で構成される。
トナー担持体1は、表面側にトナーTを搬送する方向(ここでは周方向)に所定の間隔でトナーTを搬送する方向と直交する方向(ここでは軸方向)に沿って形成された所定ピッチで設けられた複数の電極11を有し、このトナー担持体1の各電極11には、電圧印加手段電源6から時間によって電位の異なる平均電位Vsのパスル電圧(クラウドパルス)が印加される。これにより、トナーTをクラウド化(フレアカ)する手段を構成している。
例えば、0.5KHz〜7KHzの周波数のパルス電圧が印加され、各電極11、11の間隔はファインピッチに設けられているため、電極11、11間で強い電界が形成される。そのため、トナーTの帯電極性に対して反発する電位にある電極11表面からトナーTは勢いよく飛翔し、飛翔したトナーTは吸引する極性の電位が印加されている電極11に引き寄せられ、パルスが切り替わることでパルス周波数に応じた上下方向の飛翔を繰り返し、トナーTがクラウド化された状態になる。なお、パルスの周波数が高い領域では、上方高くに飛翔したトナーTは、飛翔している間にパルスが切り替わり、電極11表面に戻る前に再び上方に飛翔する場合もある。
ここで、このトナー担持体の一例について図2を参照して説明する。なお、図2(a)はトナー担持体を展開した状態で示す模式的平面説明図、図2(b)は同じく模式的断面説明図である。
この例は、トナー担持体表面に複数の電極を設け、1本おきの2組を共通にした2相用電極を備え、180°位相の異なる2相パルス(図3参照)を印加して、隣接電極同士で吸引と反発を繰り返す2相電界を形成するトナー担持体の例である。
このトナー担持体1は、絶縁性基板10Aの表面上に複数の電極11としてA相用電極11Aと、B相用電極11Bとを設け、その上に表面保護層10Bを設けたものである。櫛歯状の電極11A、11Bは、トナー担持体1の回転方向と直交する方向に微細なピッチに並行に設け、両サイドには共通のバスライン11Aa、11Baで外部の図示しない2相パルス発生回路(電圧印加手段6)にそれぞれ接続されている。
電極11A、11Bに印加するパルス電圧は、周波数が0.5KHz〜7KHz、DC電圧をバイアスに含むパルス電圧であるが、その波高値は±60〜±300V等、電極幅、電極間隔に応じたパルス電圧を印加する。この2相電界の場合は、隣接同士の電界方向の切り替わりに応じてトナーの反発飛翔と吸引飛翔を繰り返し、トナーは相互の電極間を往復移動する。そして、トナー担持体1全体は、トナーを搬送する方向に回転移動するものである。
このように、トナー担持体表面のトナーを飛翔させてクラウド化する手段が、トナー担持体表面にトナーの搬送方向と直交する方向に長く延びて所定の間隔で配設された複数の電極を有し、各電極に印加する電圧は隣接電極相互の間でトナーを吸引する方向と反発する方向を交互に繰り返す関係の電圧を印加し、トナー担持体が回転移動することでトナーの搬送とクラウド化を行う構成とすることで、トナー担持体表面のトナーの搬送に関して、トナーの帯電品質に左右されない安定なトナーの搬送が可能となり、装置全体としても信頼性の高い画像形成装置を実現できる。
トナー制御手段4は、トナーTが通過可能なトナー通過穴(開口)41が複数設けられ、このトナー制御手段4のトナー供給側面(トナー担持体1側の面)のトナー通過穴41周辺にはリング状に制御電極42が設けられ、更にトナー通過穴41に対し制御電極42の外側に絶縁領域を介して複数のトナー通過穴41に共通の共通電極43が設けられている。
このトナー制御手段4の制御電極42には制御パルス発生手段7から例えば図4に示すような制御パルスVcが印加される。この場合、トナー通過穴41をトナーTが通過可能な状態(ON状態)にするときには制御電極42に電圧Vc-onが印加され、トナーTが通過不可能な状態(OFF状態)にするときには制御電極42に電圧Vc-offが印加される。また、共通電極43には常時電源手段8から電圧Vgが印加される。トナー制御手段4の制御電極42は、通過穴41周囲だけでも動作が可能であるが、トナー通過穴41の内壁面又は通過穴41の内壁面とトナー担持体1側の周囲の両方に設けたものであってもよい。
中間記録ベルト3の背面には、トナー制御手段4を通過したトナーTを中間記録ベルト3に付着させるためのバイアス電圧が印加されるバイアス電圧印加手段となる電極手段としての背面電極(対向電極)5が配置され、トナー制御手段4を通過したトナーTを中間記録ベルト3に付着させるため、バイアス電源手段9からのバイアス電圧Vpが印加される。この中間記録ベルト3は、この上に一度画像を形成し、その後紙に転写する中間転写記録媒体である。この中間記録ベルト3に対するバイアス電圧Vpの印加は、例えば中間記録ベルト3の背面側(トナー担持体1と反対側面)に対向電極5を配置し、この対向電極5上を中間記録ベルト3を通過させる構成としているが、中間記録ベルト3内部に電極を埋め込んだ構成とすることもできる。
ここで、トナー担持体1表面のトナーをクラウド化する手段として、トナー担持体1表面に設けられた複数の電極11を備え、各電極11に電圧Vsを印加する。このとき、隣接する電極11相互の間でトナーTを吸引する方向と反発する方向を交互に繰り返す関係の電圧を印加する2相の電極間ピッチp(又は、n本毎の各電極11にn相の位相電圧を印加するn相の電極間ピッチ)に対し、トナー担持体1表面とトナー制御手段4のトナー担持体1側面(トナー担持体1側の表面の意味)の間の距離dが大きくなる関係(p<d)でトナー担持体1とトナー制御手段4とを配置している。
つまり、p>dの関係ではトナー担持体1の電極11表面に形成される飛翔電界がトナー制御手段4のトナー担持体1側表面のON/OFF電界と干渉を起こし、後述するトナー制御手段4のループ電界が乱れるためである。そのため、制御電極42表面へのトナー付着の発生が起きやすくなる。p<dの条件においては、制御電極42へトナーが付着することを確実に防止でき、連続したドットを印写しても濃度が変化することなく、良好な画像が得られる。
次に、トナー制御手段4の具体的構成の一例について図5を参照して説明する。なお、図5(a)は同トナー制御手段の印写面側の説明図、(b)は同じくトナー供給側面の説明図である。
この例は、絶縁基板(基材)45のトナー供給側(トナー担持体11側)面に、トナー通過穴41を囲む形で10〜100μm幅のリング状の制御電極42を設け、この制御電極42から20〜50μmの間隔を置いて、つまり、絶縁基材45で形成される絶縁領域を介して、制御電極42と同一面に、複数のトナー通過穴41に共通のバイアス電圧Vgを印加する共通電極43を設けた構成である。
トナー通過穴41は、形成するドット径のサイズで決定するが直径φ30μm〜φ150μmである。制御電極42は個々にトナーTの通過をON、OFF制御するためのドライバ回路(駆動回路)に接続するためのリードパターン42aが接続され、また共通電極43は共通のリードパターン43aに接続されている。また、絶縁基板45の印写面側(中間記録ベルト3側の面)はトナー通過穴41が開口した状態である。
このように、トナー制御手段の共通電極は、制御電極の外側を、絶縁領域を介してリング状に囲む形状である構成とすることで、記録媒体手段側のバイアス電位と制御電極外側の共通電極間に形成する電気力を各トナー通過穴独立の電気力線として形成できるため、マルチ駆動(複数のノズル通過穴からトナーを飛翔させる駆動)のときの相互干渉(他のトナー通過穴の状態を受けること)が発生しない。
また、トナー制御手段の制御電極と共通電極を同一面上形成することで、一回の製造プロセスで同時に形成でき、精度よく低コストに電極を作ることができる。
また、トナー制御手段4の具体的構成の他の例について図6を参照して説明する。なお、図6(a)は同トナー制御手段の印写面側の説明図、(b)は同じくトナー供給側面の説明図である。
この例は、絶縁基板(基材)45のトナー供給側(トナー担持体11側)面に、トナー通過穴41を囲む形で10〜100μm幅のリング状の制御電極42を設け、この制御電極42から20〜50μmの絶縁領域の間隔を置いて複数のトナー通過穴41に共通のバイアス電圧Vgを印加する共通電極43が空いたスペース全体を覆うようにベタ状に設けられた構成としている。
このように、トナー制御手段の共通電極は、制御電極の外側に絶縁領域を介してベタ状に設けられている構成、つまり、共通電極を制御電極の外側領域全体にわたり形成することで、記録媒体手段側のバイアス電位の電界をシールドすることができ、かつ制御電極へのトナー付着低減、およびトナーの利用効率向上を図れる。
このようなトナー制御手段4の具体的製造方法は、基材45である絶縁性部材として、コスト、製造プロセスの観点から樹脂フィルム、例えば、ポリイミド、PET、PEN、PES等で、厚さは30μm〜100μmのものを使用し、まずフィルム面に0.2μm〜1μmのAl蒸着膜を形成する。次に、フォトリソ工程で、フォトレジストをスピンナで塗布後、プリベーク、マスク露光を行ない、現像した後、フォトレジストの加熱硬化を進めた後、Alエッチング液によるAlのパタンニングを行う。フィルムの裏面にも電極パターンが必要な場合は上記と同様に可能であるが、穴加工用のマスクとして使用するパターンを裏面に形成してもよい。トナー通過穴41となる貫通穴の形成は、パターン形成後プレスによる機械的な加工、または裏面に形成したパターンを利用したエキシマレーザー加工、またはスパッタエッチング加工等のドライエッチング加工によれば、位置ずれの無い高精度な穴加工が可能である。
このように構成した作像手段においては、トナー担持体1の電極11に対して平均電位Vsのパルス電圧を印加することによって、トナー担持体1上でトナーTが飛翔してクラウド化され、トナー担持体1の回転又は進行波電界による搬送によってトナーTが搬送される。一方、中間記録ベルト3側の対向電極5に印写バイアス電圧Vpが印加される。
この状態で、トナー制御手段4の共通電極43に対して電圧Vgを印加し、制御電極42に対してトナーTがトナー通過穴41を通過可能な状態(ON状態)にするときには図2に示すON時の電圧Vc-onを印加し、トナーTがトナー通過穴41を通過不可能な状態(OFF状態)にするときには図2に示すOFF時の電圧Vc-offを印加する。
この場合、これらの各電極11,5,42,43に対する電圧を後述するように設定することで、トナー制御手段4をトナー担持体1のトナーTが中間記録ベルト3に向かって通過可能な状態にするときに、中間記録ベルト3側とトナー制御手段4の共通電極53との間にトナーの通過を制御する制御電極42を迂回してループ状に電気力線10が形成される。
これにより、トナー担持体1上でクラウド化しているトナーは電気力線10による電界に乗ってトナー制御手段4のトナー通過穴41を通過して中間記録ベルト3上に着弾する。したがって、画像に応じてトナー制御手段41の各トナー通過穴41をON/OFF制御(開閉制御)することで、中間記録ベルト3上に直接トナー画像を形成することができる。そして、中間記録ベルト3側とトナー制御手段4の共通電極43との間にトナーの通過を制御する制御電極42を迂回してループ状に電気力線10が形成されることから、制御電極42やトナー通過穴41周辺へのトナーの付着が低減され、またトナーをクラウド化していることでトナーの利用効率が向上する。
そこで、トナー担持体1の電極11に対するパルス電圧の平均電位Vs、中間記録ベルト3側のバイアス電圧Vp、トナー制御手段4の制御電極42に対する制御パルス電圧Vc、共通電極43に対する電圧Vgについて、図7をも参照して説明する。なお、図7は、トナー担持体1、トナー制御手段4、中間記録ベルト3の二次元断面電界強度分布のシミュレーション結果に基づくトナー通過穴を通過する電気力線を示す説明図である。
トナー担持体1の電極11には平均電位Vsのパルス電圧(電位が時間的に変動する電位)を印加する。この場合、バイアス電圧の波高値は電極ピッチ、使用するトナー等に応じて設定する。例えば、±60〜±300Vpp(ppはピーク−ピーク)の範囲内で設定することが好ましく、ここでは、±150Vpp、DC電圧成分0Vの電圧を印加している。したがって、トナー制御手段4に対するトナー担持体側1側のDCバイアスとしては0Vであり、平均電位Vs=0Vとなる。なお、トナー担持体1とトナー制御手段4の間隔dは0.3mmとしている。
また、この例では、トナー制御手段4のトナー通過穴41の直径φ100μm、リング状の制御電極42の穴中心方向の幅は30μm、制御電極42は共通電極43の間隔は50μmである。
このトナー制御手段4の共通電極43へのバイアスVgはDC−125Vであり、トナー担持体1へのパルス電圧の平均電位Vsとの関係はトナーTを常にトナー担持体1側へ向ける方向のバイアスであるため、この共通電極43面へのトナー付着はない。
そして、トナー制御手段4の制御電極42には、トナーTがトナー通過穴41を通過可能な状態(ON状態)にする場合、制御パルス電圧Vc-onは+50V、トナーTを通過させる時以外の阻止状態の(通過不可能な状態にする)場合の電圧Vc-offは−125Vとしている。中間記録ベルト3の対向電極5へのバイアス電圧Vpはトナー制御手段4と中間記録ベルト3との間隔にもよるが、例えば+200〜+1500VのDC電圧を印加すればよい。ここでは、トナー制御手段4と中間記録ベルト3との間隔0.3mmとしてDC+300Vを印加し、マイナス帯電トナーを中間記録ベルト3の表面にを引き寄せる電位勾配としている。
各電極11、42,43、5に印加する電位の関係を以上のように設定することで、マイナスに帯電したトナーをトナー通過穴41を通過可能な状態にする場合においては、最もプラス側に電位が高い中間記録ベルト3側の対向電極5から出る電気力線のうち、トナー制御手段4のトナー通過穴41を通る電気力線の多くが、トナー通過穴41を通過した後、一番電位の低い共通電極43に入ることになる。このとき、近接した距離にあるトナー制御手段4の制御電極42と共通電極43にも175Vの電位があるため、その間にも強い電気力線が生じる。
そのため、図7(a)に示すように、トナーTがトナー通過穴41を通過可能な状態(ON状態)にしたときには、先の中間記録ベルト3側の対向電極5からトナー通過穴41を通る電気力線10は、制御電極42に入ること無く(制御電極42を迂回して)、−125Vと最も電位の低い共通電極43に多くが入るため、ループ状に拡がった形状となる。つまり、中間記録ベルト3側とトナー制御手段4の共通電極43との間に制御電極42を迂回してループ状に電気力線10が形成される。
したがって、トナー担持体1上でクラウド状態にあるマイナス帯電トナーTがこの電気力線10に沿ってトナー通過穴41を通過し、中間記録ベルト3の表面に多くのトナーTが移動することができる。
このとき制御電極42には+50Vが印加され、トナー担持体1の0Vとの関係は、トナーTを制御電極42へ吸着する関係にあるため、本来であればこの+50Vが印加されている間に制御電極42表面にトナーが付着するはずであるが、図7(a)のシミュレーションの結果から分かる様に、+50Vが印加されている制御電極42上方を中間記録ベルト3側電極からトナー通過穴41を通って共通電極43に入る電気力線10が覆っているため、制御電極41へトナーTが付着することが防止される。
一方、トナーTがトナー通過穴41を通過不可能な阻止状態(OFF状態)にした場合、制御電極42には−125Vが印加され、共通電極43に対する電位と同じ電位であり、トナー担持体1の電位0Vとの関係は、トナーTをトナー担持体1側に反発する関係であり、トナー制御手段4へのトナーTの付着はないし、図7(b)に示すように中間記録ベルト3側電極からの電気力がトナー通過穴41を通り抜ける電気力線もないため、トナーTがトナー通過穴41を通過することもなく、地汚れ画像は発生しない。なお、阻止状態(OFF状態)の制御電極42への印加電圧は共通電極43の電位と同じ電位である必要はなく、よりマイナス側の電位であってもトナーTの通過を阻止する(OFF状態にする)ことはできる。
このように、トナーを飛翔させ、クラウド化して担持するトナー担持体と、トナーが付着させられる記録媒体手段と、トナー担持体と記録媒体手段との間に配置された複数のトナー通過穴を有するトナー制御手段と、を備え、トナー制御手段は、トナー担持体側表面に、トナー通過穴の周囲及び穴内壁の少なくともいずれかにトナーの通過を制御する制御電極が設けられ、この制御電極の外側に複数のトナー通過穴に共通の共通電極が設けられ、トナー制御手段のトナー通過穴をトナー担持体のトナーが記録媒体手段に向かって通過可能な状態にするとき、記録媒体手段側とトナー制御手段の共通電極との間に制御電極を迂回してループ状に電気力線が形成されることにより、トナーを吸引する電位が印加される制御電極表面やその周囲へのトナー付着を大幅に低減でき、トナーの通過のオン/オフの制御を安定して行うことができるとともに、記録媒体手段側のバイアス電位と制御電極外側の共通電極間に形成される電気力線はトナー担持体側ではトナー通過穴の径より大きく広がり、クラウド化されたトナーを広範囲に捕獲して印写面側に向けて飛翔させることが可能となってトナーの利用効率が上がり、印刷濃度の確保、印刷速度の向上を図れる。
また、各電極に印加する電位の関係として、トナー担持体1の電極11のDCバイアスとして−50V、パルスの波高値を+150V〜−150Vとして、±150Vpp−50VDCを印加すると、平均電位Vsは−50Vとなる。そして、トナー制御手段4の制御電極42のトナー通過ON時の電位Vc-onが0V、トナー通過OFF時の電位Vc-offが−175Vであっても、上述した例と等価である。この場合、制御電極42に印加する電圧Vcが0〜−175Vの一極性電圧のON、OFFであるため、ドライバ回路の構成が簡単になりコスト的にも有利である。
このように、上述したトナー通過ON時に各電極に対して印加する電位の関係を、次のように設定することで、記録媒体手段側とトナー制御手段の共通電極との間に制御電極を迂回してループ状に電気力線を形成することができる。
つまり、トナー担持体1の電極11に対し時間的に変動する平均電位Vsのパルス電圧を印加し、トナー制御手段4の制御電極42に対しトナーがトナー通過穴41を通過可能な状態にするときに電圧Vc-onを、トナーがトナー通過穴41を通過不可能な状態にするときに電圧Vc-offを印加し、共通電極43に電圧Vgを印加し、トナー制御手段4を通過したトナーを中間記録ベルト3に導いてトナーを付着させるために中間記録ベルト3側にバイアス電圧Vpを印加するとき、
トナーがトナー通過穴41を通過可能な状態にするときの各電位の関係は、
Vp>Vc-on>Vs>Vg
とし、トナーが負帯電トナーの場合はバイアス電圧Vpがプラス電位側に高くなる関係、正帯電トナーの場合はバイアス電圧Vpがマイナス電位側に高くなる設定とする。
また、この場合、トナーがトナー通過穴41を通過不可能な状態にするときの各電位の関係は、
Vs>Vg であり、且つ、Vs>Vc-off
であって、トナーが負帯電トナーの場合は平均電位Vsがプラス電位側に高くなる関係、正帯電トナーの場合は平均電位Vsがマイナス電位側に高くなる設定とすることが好ましい。
各電極11、42、43、5に対する電位の関係を上述した関係に設定することにより、記録媒体手段側のバイアス電位とトナー担持体の電位間に直接形成される電気力線が低減され、記録媒体手段側のバイアス電位と制御電極外側の共通電極間に電気力を形成することができ、これにより、トナーを吸引する電位が印加される制御電極へのトナー付着を大幅に低減できて、制御電位が安定する。また、記録媒体手段側のバイアス電位と制御電極外側の共通電極間に形成される電気力線は、トナー供給側ではトナー通過穴の径より大きく広がるため、クラウド化されたトナーを広範囲に捕獲して印写面側に向けて飛翔させることが可能となり、トナーの利用効率が上がり、印刷濃度の確保、印刷速度の向上を図ることができる。さらに、トナー制御手段の共通電極はトナーを常に反発する関係の電位にあるため、トナーの付着が発生することがなく、共通電極の電位を一定に保つことが可能となり信頼性の高い画像形成装置を実現できる。
さらに、高速印刷のためにトナー担持体1表面のトナー量が多くなった場合、また帯電電荷量が大きいトナーを使用して印刷を行う場合は、トナーが有する電荷によるトナー電位を無視できなくなり、各電極に印加する電位決定に考慮が必要となる。
具体的に説明すると、トナー担持体1表面の供給トナー量m/Amg/cmに対するトナー電位の変化は図6に示すようになる。ここでは、トナーはマイナスに帯電したトナーの例であり、トナー担持体1表面の単位面積当たりのトナー量が増加するに従って、制御電極42側からみた表面電位はマイナス電位に上昇する。そして、供給したトナーがトナー担持体1表面に単に付着したままの電位Voに対して、トナー担持体1表面の電極に電圧を印加してトナーが電極11相互の電気力線に沿って上下の飛翔を繰り返すクラウド状態の電位Vtは大きく上昇する。これは、トナーがトナー担持体1表面より上方の空間にある方が、個々のトナーの周囲に対する結合静電容量が小さくなり、その結果電位が上昇するためである。
このクラウド状態のトナー電位Vtの測定は、トナー担持体1表面の各電極11にパルス電圧を印加しながら、供給したトナーをクラウド状態にしてその上方に表面電位計を設定することで、容易に測定することができる。具体的には、クラウド化を起こすパルスを印加して、後述する一成分、または二成分ローラからトナーを供給しながらトナー担持体1を回転、又は進行波パルスでトナーを搬送し、トナー制御手段4が設定される位置にてトナー担持体1表面から2mm程度上方に表面電位計を設置して測定する。図8の結果は、帯電電荷量が−15〜−25μC/gのトナー供給した場合のVo、そのトナーを飛翔高さが表面近傍から200μmの範囲でクラウド状態にした場合のトナー電位Vtの場合の例である。
この図8に示す各供給トナー量においてトナー制御手段4によりトナーの通過のON/OFF制御を行って印刷を行った結果、トナー制御手段4の電極42、43表面に付着したトナー量を評価した結果を図9に示している。この図9の結果において、供給トナー量が少ない領域は電極42、43へのトナー付着はないが、供給トナー量が増加して0.9mg/cmはトナー電位Vtが−80Vとなり、制御電極42へのトナー付着が起き始める。
これは、等価的にトナー担持体1の電位がマイナス側に電位上昇してトナー制御手段4の共通電極42との電位差が小さくなった結果、中間記録ベルト3側電極から出てトナー通過穴42を通る電気力線のうち、トナー担持体1に直接入る電気力線が増加し、共通電極43へ入るループ状の電気力線が減ったためである。すなわち、ループ状の電気力線が少なくなると、飛翔エネルギーの高いトナーがループ状の電気力線に乗って印写面の方向に飛翔することなく、ON電圧が印加されている制御電極42まで飛翔するためである。
さらに、供給トナー量が増加して1.2mg/cm超えると、トナー電位Vtは−120V以上の値となる。この領域では、トナー制御手段4の共通電極43のバイアス電位Vg(−125V)との電位差がなくなり、飛翔エネルギーを有するトナーが共通電極43まで到達し始めてトナー付着が起きた結果である。また、制御電極42へのトナー付着量も増えてくる。
これらのトナー付着は、定期的な電極クリーニングの頻度を上げることで、使用できないことはないが、画質低下が発生する。トナー付着が発生しない条件であれば、連続印刷においても画像濃度が低下することなく、信頼性の高い画像記録装置が可能となる。
そこで、トナー量が多い場合、また帯電電荷量が大きいトナーを使用して画像を形成する場合は、各電極に対する電位を、次の条件で設定することで、電極へのトナー付着回避、トナー利用効率の向上で画像濃度が低下することなく高速印刷が可能になる。
すなわち、電荷を有するトナーがトナー担持体1表面から飛翔してクラウド状態にある制御電極42側からみたトナー電位をVtとしたとき(その他は前記の条件と同じ)、トナーの通過をONさせる場合の各電位の関係は、
Vp>Vc-on>(Vs+Vt)>Vg
と、負帯電トナーの場合はVpがプラス電位側に高くなる関係、正帯電トナーの場合はVpがマイナス電位側に高くなる設定とする。
また、トナーの通過をOFFさせる場合の各電位の関係は、
(Vs+Vt)>Vg であり、且つ、(Vs+Vt)>Vc-off
と、負帯電トナーの場合は(Vs+Vt)がプラス電位側に高くなる関係、正帯電トナーの場合は(Vs+Vt)がマイナス電位側に高くなる関係に設定する。
各電極11、42、43、5に対する電位を上記のように設定する、つまり、トナー供給側の電位として、トナー担持体表面のトナーが飛翔することによる電位も考慮して各電極電位を適正に設定することで、印刷速度が速い供給トナー量が多い場合、またトナーの帯電電荷量が大きい場合においても、制御電極などへのトナー付着の低減、トナー利用効率の向上を図れ、高濃度、高速印刷の画像形成装置を実現することができる。この場合、トナーをクラウド化していない(パルスを印加していない)状態でも、上述した電位の関係に設定することで、制御電極などにトナー付着が発生しないため、信頼性が向上する。
また、前述したように、トナー担持体は、表面側に所定の間隔で配設された複数の電極を有し、隣接電極相互の間でトナーを吸引する方向と反発する方向を交互に繰り返す関係の電圧が印加され、電極に印加する2相の電極間ピッチp(又はn本毎の各電極にn相の位相電圧を印加するときのn相の電極間ピッチ)に対して、トナー担持体表面とトナー制御手段のトナー担持体側面の間の距離dが大きい構成とする。
これにより、中間記録ベルト側の印写バイアスからトナー制御手段の共通電極に向けて形成されるループ状電気力線を強いものとし、クラウド化されたトナーを印写面に向けてより多く飛翔させることができ、高速、高品質のドット形成が可能となる。
なお、上記の例では、トナー担持体表面の複数の電極にクラウドパルスを印加してトナーがクラウド状態にある場合の条件について説明したが、トナーを飛翔させていない状態の制御電極側からみたトナーによる電位をVtとしたとき前記と同条件に設定することで、電極へのトナー付着を回避する効果がある。つまり、クラウドパルスの印加をOFFしてトナーのクラウドが無い状態においても、僅かなトナーが浮遊している。この僅かな浮遊トナーの電位は無視できるが、トナー担持体表面に着地して乗っているトナー電位があり、この電位Vtを考慮した(Vs+Vt)も前記と同条件の範囲に設定することで、同じ効果が得られる。
上述したように、トナー担持体表面のトナーを飛翔させてクラウド化する手段に時間的に変動する電位を印加する。例えば、トナーの供給はトナーを搬送供給するトナー担持体の表面にトナーを搬送する方向と直交する方向に所定ピッチで設けられた複数の電極を有するトナー担持体から供給する。ここで、トナー制御手段の共通電極がない場合、各電極への電位の設定が上述した範囲に無い場合は、電極へのトナー付着が急速に発生する等、信頼性の低下は避けられない。また、クラウド化したトナーの利用効率が非常に低下するため、画像濃度の確保、高速印刷の画像形成装置を達成することはできなくなる。
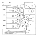
次に、本発明に係る画像形成装置の一例について図10及び図11を参照して説明する。なお、図10は同画像形成装置の模式的構成図、図11は同じく作像手段の要部拡大説明図である。
この画像形成装置は、前述した作像手段(作像ユニット)を4個設けてイエロー(Y)、マゼンタ(M)、シアン(C)、ブラック(K)の4色分のトナーのクラウド化とトナー制御手段によるON/OFF制御を行って中間記録ベルト上にカラー画像を形成し、中間記録ベルト上のカラー画像を記録紙上に転写する画像形成装置の例である。
つまり、この画像形成装置においては、装置本体201内に、装置上方から下方に向かって移動する面にトナー像が形成される中間記録ベルト203と、中間記録ベルト203に帯電した異なる色のトナーを飛翔付着させてカラーのトナー像を形成する、中間記録ベルト203の移動方向に沿って配置された複数の作像手段(作像ユニット)202Y、202M、202C、202Kと、中間記録ベルトの背面からトナーを移動させる方向のバイアス電圧を印加する、各作像手段202Y、202M、202C、202K(区別しないときは「作像手段202」といい、また、色を特定するときには「K作像手段202K」というようにいう。)に対向する位置に配置された前述した対向電極5に相当する対向電極手段としての対向電極ローラ205Y、205M、205C、205K(区別しないときは「対向電極ローラ205」という。)を備えている。
中間記録ベルト203は、上方側に配置された対向電極ローラ205Y、下方側に配置された対向電極ローラ205K、転写対向ローラ211、テンションローラ212に掛け回されて、矢示方向に周回移動することで、作像手段202に対向する側で装置上方から下方に移動する。なお、装置上方から下方とは、相対的に高い位置から低い位置に向かうことを意味し、鉛直方向に限らず、斜めに傾斜した状態で中間記録ベルトが配置される場合も含む意味である。
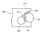
作像手段202は、中間記録ベルト203に対向する位置に配置され、帯電したトナーを担持して所定の移動方向(矢示方向)に移動するローラ状のトナー担持体101と、トナー担持体101に一成分トナーを供給するローラ状の供給部材(トナー供給ローラ)102と、トナー供給ローラ102からトナー担持体101に供給されたトナーを所要の膜厚に薄層化するトナー薄層化部材103と、トナーを貯留するトナー貯留部105内に配置されてトナーを攪拌する攪拌部材106と、トナー担持体101と中間記録ベルト203との間に配置されて、トナー担持体101から中間記録ベルト203に対するトナーの飛翔を画像に応じて制御する前述したトナー制御手段4と同様な構成のトナー制御手段104とを有している。
ここで、図11にも示すように、作像手段203のトナー担持体101は中間記録ベルト203に対向する側が装置下方から上方に向かう方向に移動し、トナー供給ローラ102はトナー担持体101に対して回転中心111よりも上方でトナーを供給する位置、すなわちトナー担持体101とトナー供給ローラ102のニップ部112の位置がトナー担持体101に対して回転中心111よりも高い(より高いは「以上」を含む意味である。)位置に配置されている。また、トナー薄層化部材103は、トナー供給ローラ102からトナー担持体101に対するトナー供給位置よりもトナー担持体移動方向下流側に配置されている。
一方、装置本体201の下方には記録紙220を収容する給紙部221が配置され、給紙部221から記録紙200がピックアップローラ(給紙ローラ)222で給紙されて、レジストローラ223でタイミングを取られ、所定のタイミングで転写部224の転写ローラ225と転写対向ローラ221上の中間記録ベルト203との間に送り出されて、転写ローラ225で中間記録ベルト203上のトナー画像が転写され、定着ユニット226でトナーが記録紙200上に溶融定着されて装置上部の排紙部227に排紙される。
このように、中間記録ベルト203は装置上方から下方に向かう方向移動し、トナー担持体101は中間記録ベルト203に対向する側が装置下方から上方に向かう方向に移動し、トナー供給ローラ102はトナー担持体101に対して回転中心よりも上方でトナーを供給する構成としたので、トナー供給ローラ102とトナー担持体101との間でのトナーの滞留が低減し、トナーの劣化を低減することができる。
この点について図12及び図13に示す比較例との対比で説明する。
通常の電子写真方式の接触一成分現像を行う装置のように現像ローラと感光体を各々の表面の移動方向が同じ向きになるように移動させる構成を、上述した実施形態の画像形成装置に適用すると、図12及び図13に示す比較例のような構成になる。なお、図12の作像手段202の配置順序は図10と異なるがこれについては後述する。
この比較例の構成では、トナー担持体101は、図13に示す破線矢印方向に回転し、トナー供給ローラ102からトナーが供給されて、トナー薄層化部材103とのニップ部113で薄層化される。このとき、トナー薄層化部材103とトナー担持体101とのニップ部113を通過しないトナーは貯留部106内に戻るが、このとき、図13に矢印311で示すように、トナー供給ローラ102とのニップ部112周辺に戻ることになる。そのため、一部のトナーはトナー担持体101とトナー供給ローラ102とのニップ部(供給ニップ部112)及びトナー薄層化部材103とのニップ部(ブレードニップ部113)との間で滞留してストレスを受けるため劣化しやすくなる。その結果、画像品質が低下するだけでなく、作像手段202をユニット化した場合、トナーが劣化しやすいと作像手段202を装置寿命まで使用するのが困難となる。
これに対し、上記実施形態の画像形成装置においては、図11に示すように、トナー薄層化部材103とトナー担持体101とのニップ部113を通過しないトナーが貯留部105内に戻るとき、矢印310で示すように、当該トナーはそのまま下方に落下して、トナー担持体101とトナー供給ローラ102とのニップ部(供給ニップ部112)及びトナー薄層化部材103とのニップ部(ブレードニップ部113)との間で滞留することがなくなる。これにより、トナーの劣化が低減し、画像品質の低下が防止されるとともに、作像手段202をユニット化した場合に作像手段202を装置寿命まで使用する(長寿命化を図る)ことができるようになる。
なお、中転記録ベルトとトナー担持体とは接触しないので、両者の移動方向を反対方向にしてもトルクが増加することはなく、また、実験によれば、画像が悪化する現象を生じないことが確認された。
次に、上述した画像形成装置の作像シーケンスについて図14に示す他の比較例の作像シーケンスと図15に示す上記実施形態の作像シーケンスを参照して説明する。
まず、接触1成分現像と中間転写ベルトを用いたタンデム型のカラー画像形成装置は、転写紙(記録紙)の紙種対応性が高く、かつ、カラー画像のプリント速度を遅くせずに低コスト化を図れるが、作像シーケンス上、次のような問題がある。
つまり、直接記録方式でない通常の画像形成装置におけるカラー画像出力時の作像シーケンスは例えば図14に示すようなものである。ここでは、トナー像が形成される感光体(像担持体)は中間転写ベルトに接しているので、中間転写ベルトが駆動されている間に感光体を停止すると感光体にダメージを与えやすい。また、感光体とトナー担持体である現像ローラが所定のくい込み量を持って接触しているので、感光体が駆動されている間は現像ローラも駆動されないと、同様の問題が発生することになる。
そこで、図14(a)、(b)に示すように、中間転写ベルトが駆動されている間は、黒色のトナー像が形成される感光体及び現像ローラを含むK作像ユニット、カラーのトナー像が形成される感光体及び現像ローラを含むカラー作像ユニット(Y、M、Cの各色の作像ユニット)も駆動されることになる。中間転写ベルトは、2次転写部で転写紙に画像を転写し、更にベルト上の転写残がクリーニングされるまで駆動しなければならないため、実際に1つの作像ユニットが画像を形成する時間よりもかなり長い時間駆動されることになるため、現像ローラや感光体も同様に駆動される。図14の例では、K作像ユニットは、K出力時(モノクロ画像を出力するとき)もカラー出力時(カラー画像を出力するとき)も作像するため、中間転写ベルトが駆動されるときは必ず駆動されるので、同じ駆動となっている。これに対し、カラー作像ユニットは、K出力時は中間転写ベルトから離間させることにより停止できるので、K作像ユニット及び中間転写ベルトの駆動と別に行うようにしている。
これに対し、上記実施形態に係る画像形成装置では、中間記録ベルト203に接触する感光体(像担持体)がなく、トナー担持体101も中間記録ベルト203に非接触で画像を形成するので、中間記録ベルト203が駆動されていてもトナー担持体101を停止することができる。
そこで、図15に示すように、K作像手段(黒作像手段)202Kは、黒色のトナー像を作像しているときだけ駆動され、トナー像を作像していないときには停止する(同図(b)、(g))。また、Y、M、Cのカラー作像手段202Y、202M、202Cはカラー作像手段202Y、202M、202Cのいずれかが作像しているときだけ駆動されて、すべてのカラー作像手段202Y、202M、202Cが作像していないときには停止する(同図(c)ないし(f))ようにしている。
これらの図14及び図15から分かるように、上記実施形態における作像シーケンスを採用することで、一枚出力するときの作像手段の駆動時間をかなり短くすることができる。その結果、トナーやユニット(作像手段)の劣化が少なくなり、長寿命化することができる。
次に、各作像手段の配置について説明する。
通常の接触一成分現像と中間転写ベルトを用いたタンデム型のカラー画像形成装置では、K作像ユニットを中間転写ベルトの回転方向の最下流側に配置することはできない。つまり、図16に示すように、感光体401から中間転写ベルト402へ転写する1次転写位置(1次転写バイアス403が印加される位置)で、地汚れトナー405はプラスに帯電(逆帯電)しているものが多く、1次転写バイアス403の電界により感光体401方向に力を受けているので、地肌部では中間転写ベルト402上に移動しにくい。
しかし、図16(a)に示すように、中間転写ベルト402上に上流位置で作像された他色のトナー層406があると、同図(b)に示すように、地汚れトナー405はそのトナー層406に付着して中間転写ベルト403に移動してしまうという現象が発生する。2成分現像では経時的にも感光体上地汚れがそれほど悪化しないので問題とならないが、小型低コスト化に有利な接触一成分現像では、経時的に感光体上地汚れが悪化しやすく問題となる。特に、濃い色の地汚れが薄い色のトナーに付着したとすると、画像で見えやすく、特に、Kトナーの地汚れがYトナーに付着すると見えやすい。逆に、薄い色の地汚れが濃い色のトナーに付着しても見えにくいので問題とならない。
そのため、通常の接触1成分現像と中間転写ベルトを用いたタンデム型のカラー画像形成装置では、黒の作像ユニットを中間転写ベルト移動方向の最上流側に配置することになる。
この構成を、図12に示した比較例で説明すると、K作像手段202Kは中間記録ベルト203の移動方向最上流側に配置されているので、黒画像を形成する(黒出力の)場合、K作像手段202Kで形成されたトナー像を転写部224に移動させるまでの中間記録ベルト203の移動時間がかかり、黒出力時のファーストプリントタイムは遅くなる。
これに対し、図10に示す上記実施形態におけるK作像手段202Kは、複数の作像手段205の内で、中間記録ベルト203の移動方向の最下流側に配置している。これにより、黒出力時に中間記録ベルト203がK作像手段202Kによる作像位置から転写紙に転写する位置までの中間記録ベルト203の移動時間は、比較例に比べて格段に短くなり、黒出力時のファーストプリントタイムを短縮することができる。
なお、上記の説明では主に負帯電トナーを例にしているが、正帯電トナーを用いることもできる。
本発明に係る画像形成装置を構成する作像手段の説明に供する模式的構成図である。 (a)はトナー担持体の一例を展開した状態で示す模式的平面説明図、(b)は同じく模式的断面説明図である。 同トナー担持体の電極に印加するパルス状電圧の一例を示す説明図である。 制御電極に印加する制御パルスの一例を示す説明図である。 (a)はトナー制御手段の一例を示す印写面側の説明図、(b)は同じくトナー供給側面の説明図である。 (a)はトナー制御手段の他の例を示す印写面側の説明図、(b)は同じくトナー供給側面の説明図である。 (a)はトナー制御手段がトナー通過可能状態時の二次元断面電界強度分布のシミュレーション結果に基づくトナー通過穴を通過する電気力線を示す説明図、(b)は同じくトナー通過不可能状態時の電気力線を示す線図である。 供給トナー量とトナー電位の関係の一例を示す説明図である。 供給トナー量とトナー制御手段へのトナー付着の関係の説明に供する説明図である。 本発明に係る画像形成装置の一例を示す全体構成図である。 同じく作像手段の要部拡大説明図である。 比較例に係る画像形成装置の一例を示す全体構成図である。 同じく作像手段の要部拡大説明図である。 直接記録方式でない画像形成装置の作像シーケンスの説明に供する説明図である。 図8の画像形成装置の作像シーケンスの説明に供する説明図である。 直接記録方式でない画像形成装置の作像ユニットの配置の説明に供する説明図である。 直接記録方式による画像形成の基本構成の説明に供する説明図である。
符号の説明
1…トナー担持体
3…中間記録ベルト(記録媒体手段)
4…トナー制御手段
5…対向電極手段
11…電極
41…トナー通過穴
42…制御電極
43…共通電極
101…トナー担持体
102…トナー供給ローラ
103…トナー薄層化部材
104…トナー制御手段
201…装置本体
202…作像手段
203…中間記録ベルト
204…対向電極ローラ

Claims (4)

  1. 装置上方から下方に向かって移動する面にトナー像が形成される中間記録ベルトと、
    前記中間記録ベルトに帯電した異なる色のトナーを飛翔付着させてトナー像を形成する、前記中間記録ベルトの移動方向に沿って配置された複数の作像手段と、
    前記中間記録ベルトの背面から前記トナーを移動させる方向のバイアス電圧を印加する対向電極手段と、を備え、
    前記複数の作像手段は、
    前記中間記録ベルトに対向する位置に配置され、帯電したトナーを担持して所定の移動方向に移動するローラ状のトナー担持体と、
    前記トナー担持体に前記トナーを供給するローラ状の供給部材と、
    前記トナー担持体と前記中間記録ベルトとの間に配置された複数のトナー通過開口を有し、前記トナーのトナー通過開口の通過及び遮蔽を制御する電極を有するトナー制御手段と、を有し、
    前記トナー担持体は前記中間記録ベルトに対向する側が装置下方から上方に向かう方向に移動し、前記供給部材は前記トナー担持体に対して回転中心よりも上方で前記トナーを供給する
    ことを特徴とする請求項1記載の画像形成装置。
  2. 前記複数の作像手段は、黒色のトナーを飛翔付着させる黒作像手段と、カラーのトナーを飛翔付着させる複数のカラー作像手段とを有し、前記中間記録ベルトが駆動されている状態で、前記黒作像手段は作像していないときに停止し、前記複数のカラー作像手段は全てのカラー作像手段が作像していないときに停止することを特徴とする請求項1記載の画像形成装置。
  3. 前記複数の作像手段は、黒色のトナーを飛翔付着させる黒作像手段と、カラーのトナーを飛翔付着させる複数のカラー作像手段とを有し、前記黒作像手段と複数のカラー作像手段とは前記中間記録ベルトの移動方向に沿って配置され、前記黒作像手段はベルト移動方向最下流側に配置されていることを特徴とする請求項1又は2記載の画像形成装置。
  4. 前記トナー担持体に一成分トナーを供給することを特徴とする請求項1ないし3のいずれか記載の画像形成装置。
JP2008237119A 2008-09-16 2008-09-16 画像形成装置 Expired - Fee Related JP5407243B2 (ja)

Priority Applications (1)

Application Number Priority Date Filing Date Title
JP2008237119A JP5407243B2 (ja) 2008-09-16 2008-09-16 画像形成装置

Applications Claiming Priority (1)

Application Number Priority Date Filing Date Title
JP2008237119A JP5407243B2 (ja) 2008-09-16 2008-09-16 画像形成装置

Publications (3)

Publication Number Publication Date
JP2010069638A true JP2010069638A (ja) 2010-04-02
JP2010069638A5 JP2010069638A5 (ja) 2011-09-15
JP5407243B2 JP5407243B2 (ja) 2014-02-05

Family

ID=42201887

Family Applications (1)

Application Number Title Priority Date Filing Date
JP2008237119A Expired - Fee Related JP5407243B2 (ja) 2008-09-16 2008-09-16 画像形成装置

Country Status (1)

Country Link
JP (1) JP5407243B2 (ja)

Citations (5)

* Cited by examiner, † Cited by third party
Publication number Priority date Publication date Assignee Title
JPH0691918A (ja) * 1992-09-16 1994-04-05 Mita Ind Co Ltd 画像形成装置
JP2003034048A (ja) * 2001-07-25 2003-02-04 Matsushita Electric Ind Co Ltd 画像形成装置
JP2003094710A (ja) * 2001-09-20 2003-04-03 Fuji Xerox Co Ltd 画像形成装置
JP2003248357A (ja) * 2002-02-22 2003-09-05 Canon Inc 画像形成装置
JP2004184989A (ja) * 2002-11-19 2004-07-02 Canon Inc 画像形成装置

Patent Citations (5)

* Cited by examiner, † Cited by third party
Publication number Priority date Publication date Assignee Title
JPH0691918A (ja) * 1992-09-16 1994-04-05 Mita Ind Co Ltd 画像形成装置
JP2003034048A (ja) * 2001-07-25 2003-02-04 Matsushita Electric Ind Co Ltd 画像形成装置
JP2003094710A (ja) * 2001-09-20 2003-04-03 Fuji Xerox Co Ltd 画像形成装置
JP2003248357A (ja) * 2002-02-22 2003-09-05 Canon Inc 画像形成装置
JP2004184989A (ja) * 2002-11-19 2004-07-02 Canon Inc 画像形成装置

Also Published As

Publication number Publication date
JP5407243B2 (ja) 2014-02-05

Similar Documents

Publication Publication Date Title
US7024142B2 (en) Developing apparatus, developing method, image forming apparatus, image forming method and cartridge thereof
JP2010026333A (ja) 現像装置、画像形成装置、およびプロセスカートリッジ
US8259142B2 (en) Image forming apparatus with developer passage amount control electrodes
JP2009039948A (ja) 画像形成装置
JP5146209B2 (ja) 画像形成装置
JP2009042500A (ja) 画像形成装置
JP5407243B2 (ja) 画像形成装置
JP5096227B2 (ja) 画像形成装置
JP5262458B2 (ja) 画像形成装置
JP5186847B2 (ja) 画像形成装置
JP2009042501A (ja) 画像形成装置
JP5376301B2 (ja) 画像形成装置
JP2006251104A (ja) 現像装置、プロセスカートリッジ及び画像形成装置
US7894754B2 (en) Image forming apparatus having developer supply apparatus
JP5343462B2 (ja) 画像形成装置
JP5146206B2 (ja) 画像形成装置
JP5333904B2 (ja) 画像形成装置
JP2010120356A (ja) 画像形成装置
JP2010208238A (ja) 画像形成装置
JP3791386B2 (ja) 画像形成装置
JP5696932B2 (ja) 画像形成装置
JP5218898B2 (ja) 画像形成装置
JP2006259203A (ja) 現像装置、プロセスカートリッジ及び画像形成装置
JP2000117986A (ja) 画像形成装置および画像形成方法
JP2010179559A (ja) 画像形成装置

Legal Events

Date Code Title Description
A521 Written amendment

Free format text: JAPANESE INTERMEDIATE CODE: A523

Effective date: 20110803

A621 Written request for application examination

Free format text: JAPANESE INTERMEDIATE CODE: A621

Effective date: 20110803

A131 Notification of reasons for refusal

Free format text: JAPANESE INTERMEDIATE CODE: A131

Effective date: 20130108

A01 Written decision to grant a patent or to grant a registration (utility model)

Free format text: JAPANESE INTERMEDIATE CODE: A01

Effective date: 20131008

A61 First payment of annual fees (during grant procedure)

Free format text: JAPANESE INTERMEDIATE CODE: A61

Effective date: 20131021

LAPS Cancellation because of no payment of annual fees