JP2010069615A - 板状の被加工材、特に金属薄板を加工する機械、被加工材を加工する機械のための工具セット、ねじフライス削り工具アッセンブリ、及びねじフライス削り工具の使用 - Google Patents

板状の被加工材、特に金属薄板を加工する機械、被加工材を加工する機械のための工具セット、ねじフライス削り工具アッセンブリ、及びねじフライス削り工具の使用 Download PDF

Info

Publication number
JP2010069615A
JP2010069615A JP2009216471A JP2009216471A JP2010069615A JP 2010069615 A JP2010069615 A JP 2010069615A JP 2009216471 A JP2009216471 A JP 2009216471A JP 2009216471 A JP2009216471 A JP 2009216471A JP 2010069615 A JP2010069615 A JP 2010069615A
Authority
JP
Japan
Prior art keywords
workpiece
tool
punching
milling tool
milling
Prior art date
Legal status (The legal status is an assumption and is not a legal conclusion. Google has not performed a legal analysis and makes no representation as to the accuracy of the status listed.)
Granted
Application number
JP2009216471A
Other languages
English (en)
Other versions
JP5594997B2 (ja
Inventor
Christoph Schmidt
シュミット クリストフ
Current Assignee (The listed assignees may be inaccurate. Google has not performed a legal analysis and makes no representation or warranty as to the accuracy of the list.)
Trumpf Werkzeugmaschinen SE and Co KG
Original Assignee
Trumpf Werkzeugmaschinen SE and Co KG
Priority date (The priority date is an assumption and is not a legal conclusion. Google has not performed a legal analysis and makes no representation as to the accuracy of the date listed.)
Filing date
Publication date
Application filed by Trumpf Werkzeugmaschinen SE and Co KG filed Critical Trumpf Werkzeugmaschinen SE and Co KG
Publication of JP2010069615A publication Critical patent/JP2010069615A/ja
Application granted granted Critical
Publication of JP5594997B2 publication Critical patent/JP5594997B2/ja
Expired - Fee Related legal-status Critical Current
Anticipated expiration legal-status Critical

Links

Images

Classifications

    • BPERFORMING OPERATIONS; TRANSPORTING
    • B23MACHINE TOOLS; METAL-WORKING NOT OTHERWISE PROVIDED FOR
    • B23GTHREAD CUTTING; WORKING OF SCREWS, BOLT HEADS, OR NUTS, IN CONJUNCTION THEREWITH
    • B23G3/00Arrangements or accessories for enabling machine tools not specially designed only for thread cutting to be used for this purpose, e.g. arrangements for reversing the working spindle
    • B23G3/005Arrangements or accessories for enabling machine tools not specially designed only for thread cutting to be used for this purpose, e.g. arrangements for reversing the working spindle for enabling presses to be used for thread cutting
    • BPERFORMING OPERATIONS; TRANSPORTING
    • B21MECHANICAL METAL-WORKING WITHOUT ESSENTIALLY REMOVING MATERIAL; PUNCHING METAL
    • B21DWORKING OR PROCESSING OF SHEET METAL OR METAL TUBES, RODS OR PROFILES WITHOUT ESSENTIALLY REMOVING MATERIAL; PUNCHING METAL
    • B21D28/00Shaping by press-cutting; Perforating
    • B21D28/24Perforating, i.e. punching holes
    • B21D28/26Perforating, i.e. punching holes in sheets or flat parts
    • B21D28/265Perforating, i.e. punching holes in sheets or flat parts with relative movement of sheet and tools enabling the punching of holes in predetermined locations of the sheet, e.g. holes punching with template
    • BPERFORMING OPERATIONS; TRANSPORTING
    • B23MACHINE TOOLS; METAL-WORKING NOT OTHERWISE PROVIDED FOR
    • B23GTHREAD CUTTING; WORKING OF SCREWS, BOLT HEADS, OR NUTS, IN CONJUNCTION THEREWITH
    • B23G1/00Thread cutting; Automatic machines specially designed therefor
    • B23G1/32Thread cutting; Automatic machines specially designed therefor by milling

Landscapes

  • Engineering & Computer Science (AREA)
  • Mechanical Engineering (AREA)
  • Punching Or Piercing (AREA)
  • Milling Processes (AREA)

Abstract

【課題】加工可能性を拡張する。
【解決手段】加工装置に打抜き工具の代わりにねじフライス削り工具が装着可能であり、ねじフライス削り工具及び被加工材が、フライス削り行程駆動装置により、被加工材主平面に対して横方向で延びる行程軸線に沿って互いに相対運動可能であり、フライス削り回転駆動装置により、被加工材主平面に対して横方向で延びる回転軸線を中心に互いに相対回転可能であり、加工装置に装着されたねじフライス削り工具及び被加工材が、フライス削り運動装置により、被加工材主平面に対して平行に互いに相対運動可能であり、ねじフライス削り工具及び被加工材の前記行程軸線に沿った相対運動と、前記被加工材主平面に対して平行な相対運動とが、同時の、前記回転軸線を中心とした相対回転運動時に、被加工材にねじ山がフライス削りにより形成可能であるように互いに調整されて制御可能であるようにした。
【選択図】図1

Description

本発明は、板状の被加工材、特に金属薄板を加工する機械であって、被加工材を加工する打抜き工具を装着可能な加工装置を備え、前記加工装置に装着された打抜き工具及び被加工材が、打抜き行程駆動装置により、被加工材主平面に対して横方向で延びる行程軸線に沿って互いに相対的に運動可能であり、打抜き回転駆動装置により、被加工材主平面に対して横方向で延びる回転軸線を中心に互いに相対的に回転可能であり、かつ前記加工装置に装着された打抜き工具及び被加工材が、打抜き運動装置により、被加工材主平面に対して平行に互いに相対的に運動可能である形式のものに関する。
さらに本発明は、被加工材を加工する機械のための工具セットであって、打抜き工具を備え、該打抜き工具が、打抜き工具を前記機械の加工装置に固定可能な支承装置を有している形式のものに関する。
さらに本発明は、ねじフライス削り工具アッセンブリに関する。
さらに本発明は、ねじフライス削り工具の使用に関する。
上位概念を形成する機械は、DE2207045Aに開示されている。背景技術は、工具受容部を備える打抜きあるいはニブリング機械に関する。工具受容部には選択的に、打抜き若しくはニブリング又はねじ切り工具が装着可能である。工具受容部に装着されたねじ切り工具は、回転駆動装置によりその軸線を中心に回転され、同時にその軸線の方向で、ねじ切り工程中位置固定の金属薄板シートに予め形成された穴内に螺入される。
DE2207045A
本発明の課題は、背景技術において存在する加工可能性を拡張することである。
上記課題を解決するために、本発明に係る板状の被加工材、特に金属薄板を加工する機械では、前記加工装置に打抜き工具の代わりにねじフライス削り工具が装着可能であり、前記加工装置に装着されたねじフライス削り工具及び被加工材が、フライス削り行程駆動装置により、被加工材主平面に対して横方向で延びる行程軸線に沿って互いに相対的に運動可能であり、フライス削り回転駆動装置により、被加工材主平面に対して横方向で延びる回転軸線を中心に互いに相対的に回転可能であり、前記加工装置に装着されたねじフライス削り工具及び被加工材が、フライス削り運動装置により、被加工材主平面に対して平行に互いに相対的に運動可能であり、前記ねじフライス削り工具及び被加工材の行程軸線に沿った相対運動と、前記ねじフライス削り工具及び被加工材の被加工材主平面に対して平行な相対運動とが、同時の、前記ねじフライス削り工具及び被加工材の回転軸線を中心とした相対回転運動時に、被加工材にねじ山がフライス削りにより形成可能であるように互いに調整されて制御可能であるようにした。
本発明の有利な形態は従属請求項に係る発明である。
好ましくは、前記加工装置が、工具受容部を有しており、該工具受容部が、被加工材加工時に被加工材主平面に対して横方向で被加工材に対向して位置し、該工具受容部内に打抜き工具、又は該打抜き工具の代わりにねじフライス削り工具が装着可能であり、該工具受容部内に装着されたねじフライス削り工具及び被加工材が、前記フライス削り行程駆動装置により、被加工材主平面に対して横方向で延びる行程軸線に沿って互いに相対的に運動可能であり、前記フライス削り回転駆動装置により、被加工材主平面に対して横方向で延びる回転軸線を中心に互いに相対的に回転可能であり、前記工具受容部に装着されたねじフライス削り工具及び被加工材が、前記フライス削り運動装置により、被加工材主平面に対して平行に互いに相対的に運動可能である。
好ましくは、前記打抜き行程駆動装置及び前記フライス削り行程駆動装置として1つの共通の行程駆動装置が設けられていること、前記打抜き回転駆動装置及び前記フライス削り回転駆動装置として1つの共通の回転駆動装置が設けられていること、及び前記打抜き運動装置及び前記フライス削り運動装置として1つの共通の運動装置が設けられていることの少なくとも1つが満たされている。
好ましくは、共通の行程駆動装置として前記工具受容部の行程駆動装置が設けられていること、共通の回転駆動装置として前記工具受容部の回転駆動装置が設けられていること、及び共通の運動装置として前記工具受容部の運動装置又は被加工材のための座標ガイドが設けられていることの少なくとも1つが満たされている。
好ましくは、前記フライス削り回転駆動装置、場合によっては前記共通の回転駆動装置が、伝動装置を有しており、該伝動装置が、前記フライス削り回転駆動装置あるいは前記共通の回転駆動装置の駆動モータと、前記ねじフライス削り工具との間に設けられている。
好ましくは、第2の加工装置を備え、該第2の加工装置が、被加工材主平面に対して横方向で、ねじフライス削り工具を装着可能な加工装置に対向して位置し、該第2の加工装置に選択的に第2の打抜き工具又は被加工材台架が装着可能であり、被加工材が、対向して位置する加工装置に装着されたねじフライス削り工具によって加工される間、前記被加工材台架に、被加工材主平面に対して横方向で支持されている。
好ましくは、前記第2の加工装置が、第2の工具受容部を有しており、該第2の工具受容部が、被加工材主平面に対して横方向で、ねじフライス削り工具を装着可能な工具受容部に対向して位置し、該第2の工具受容部に選択的に第2の打抜き工具又は被加工材台架が装着可能であり、被加工材が、対向して位置する工具受容部に装着されたねじフライス削り工具によって加工される間、前記被加工材台架に、被加工材主平面に対して横方向で支持されている。
好ましくは、保持装置を備え、該保持装置が被加工材を、該被加工材が該当する加工装置、場合によっては該当する工具受容部に装着されたねじフライス削り工具により加工される間、被加工材主平面に対して横方向で固定すると同時に、前記ねじフライス削り工具及び被加工材の被加工材主平面に対して平行な相対運動を許可する。
好ましくは、前記保持装置が当接部材を有しており、該当接部材が、該当する加工装置、場合によっては該当する工具受容部に装着されたねじフライス削り工具による被加工材加工時に、被加工材の、被加工材主平面に対して横方向で互いに反対側に位置する面に当接し、被加工材の両側に配置された当接部材が、前記ねじフライス削り工具及び被加工材の被加工材主平面に対して平行な相対運動を許可する。
好ましくは、少なくとも被加工材の片側の当接部材が、フライス削り行程駆動装置、場合によっては共通の行程駆動装置により機能外位置及び機能位置へ運動可能である。
好ましくは、少なくとも1つの当接部材が被加工材に転動体でもって当接し、該転動体が、前記ねじフライス削り工具及び被加工材の被加工材主平面に対して平行な相対運動時に被加工材上を転動する。
好ましくは、第2の加工装置、場合によっては第2の工具受容部に装着された被加工材台架が、保持装置の当接部材を形成する。
さらに上記課題を解決するために、本発明に係る被加工材を加工する機械のための工具セットでは、前記打抜き工具に対して付加的にねじフライス削り工具を備え、該ねじフライス削り工具が支承装置を有しており、該支承装置が、前記打抜き工具の支承装置と合同であり、該支承装置により、ねじフライス削り工具が打抜き工具の代わりに同じ加工装置に固定可能であるようにした。
さらに上記課題を解決するために、本発明に係るねじフライス削り工具アッセンブリでは、ねじフライス削り工具を備え、該ねじフライス削り工具が、当該ねじフライス削り工具を、被加工材、特に金属薄板を加工する機械の加工装置、場合によっては工具受容部に固定可能とする支承装置を備え、該支承装置が、打抜き工具をねじフライス削り工具の代わりに同じ加工装置、場合によっては同じ工具受容部に固定可能とする打抜き工具の支承装置と合同であり、かつ被加工材台架を備え、該被加工材台架が、当該被加工材台架を、被加工材、特に金属薄板を加工する機械の第2の加工装置、場合によっては第2の工具受容部に固定可能とする支承装置を備え、該支承装置が、第2の打抜き工具を被加工材台架の代わりに、被加工材、特に金属薄板を加工する機械の第2の加工装置、場合によっては第2の工具受容部に固定可能とする第2の打抜き工具の支承装置と合同であるようにした。
本発明の有利な形態は従属請求項に係る発明である。
好ましくは、当接部材を備え、該当接部材が、被加工材の、被加工材主平面に対して横方向で互いに反対側に位置する面に配設されており、該当接部材により、被加工材が、ねじフライス削り工具による加工中に被加工材主平面に対して横方向で固定されており、かつ該当接部材が、ねじフライス削り工具及び被加工材の被加工材主平面に対して平行な相対運動を許可する。
好ましくは、少なくとも1つの当接部材が、被加工材に対応付けられた面に、転動体を有しており、該転動体により、当接部材が被加工材に当接可能であり、該転動体が、前記ねじフライス削り工具及び被加工材の被加工材主平面に対して平行な相対運動時に被加工材上を転動する。
好ましくは、前記被加工材台架が当接部材を形成する。
さらに上記課題を解決するために、本発明に係るねじフライス削り工具の使用では、該ねじフライス削り工具が、当該ねじフライス削り工具を、被加工材を加工する機械の加工装置に固定可能とする支承装置を備え、該支承装置を、打抜き工具をねじフライス削り工具の代わりに同じ加工装置に固定可能とする打抜き工具の支承装置と合同とし、ねじフライス削りのために、ねじフライス削り工具を加工装置に打抜き工具の代わりに装着するようにした。
本発明に係る機械により、被加工材において選択的に打抜き加工が行われるか、又はねじ山のフライス削り加工が行われ得る。機械の加工装置にねじフライス削り工具が装着されていれば、被加工材にねじ山を切るために、回転軸線を中心として回転するねじフライス削り工具と、被加工材との間で、工具行程軸線に沿った相対運動と、それと同時の、被加工材主平面に対して平行な相対運動とが実施される。これらの両相対運動は、被加工材において所望のねじ山が切られるように互いに調整され、制御される。本発明に係る工具セット及び本発明に係るねじフライス削り工具アッセンブリにより、特に、ねじ切り工具によって形成されるねじ直径よりも大きなねじ直径も形成される。特に、本発明により、板状の被加工材、有利には金属薄板に、一度の被加工材締付けにより、まず打抜き加工によって開口を設け、引き続いてこの開口の壁にねじフライス削りによってねじ山を切る可能性が生じる。ねじフライス削りの準備のための被加工材の打抜き加工と、ねじフライス削り自体をそれぞれ異なる機械で実施する必要がなくなる。ねじ山を形成する所要時間は、これにより最短化される。課せられた加工課題に基づいて、機械の加工装置には、順にそれぞれ異なる打抜き工具及び/又はそれぞれ異なるねじフライス削り工具が装着される。ねじフライス削り工具及び打抜き工具が同一の加工装置、特に同一の工具受容部に装着され得るように、加工装置あるいは工具受容部における工具固定のために役立つ支承装置は合同である。相応の理由から、ねじフライス削り工具と一緒に使用される被加工材台架の支承装置は、同じ加工装置あるいは同じ工具受容部に固定可能な打抜き工具の支承装置と合同である。
本発明のコンセプトは、種々異なる構造形式の被加工材加工機械、特に金属薄板加工機械において実現可能である。本発明に係る機械は、工具レボルバ(Werkzeugrevolver)を備える機械として実現されていても、単独工具受容部(Mono−Werkzeugaufnahme)を備える機械として実現されていてもよい。両形態において、同一の工具受容部内に打抜き工具、又は打抜き工具の代わりにねじフライス削り工具が装着される(請求項2)ことによって、本発明において予定される加工形態が実施される。工具レボルバを備える機械では、補足的に又は択一的に、工具レボルバのそれぞれ異なるマガジンスペースに、種々異なる加工形態のための工具を装備する可能性が生じる。
本発明に係る機械のコンパクトかつ安価な構造形式のために、本発明の有利な形態では、請求項3,4に係る構成が予定されている。打抜き工具及びねじフライス削り工具と、被加工材との同種の相対運動を起こすために、それぞれ、打抜き工具及びねじフライス削り工具のための共通の駆動装置が役立つ。共通の行程駆動装置は、有利には工具受容部の行程駆動装置であり、共通の回転駆動装置は、特に工具受容部の回転駆動装置である。工具受容部に打抜き工具が装着されているとき、共通の回転駆動装置は、打抜き工具を被加工材の打抜き加工開始前にその回転軸線を中心として、加工したい被加工材に対して調節するために役立つ。ねじフライス削り工具の使用時、共通の回転駆動装置によって、その回転軸線を中心としたねじフライス削り工具の高回転数の作業回転運動を発生させる。共通の運動装置として、本発明に係る機械において、工具受容部の運動装置、又は特に被加工材のための座標ガイドが有利である。
ねじフライス削り工具のための回転駆動装置として、場合によってはねじフライス削り工具及び打抜き工具のための共通の回転駆動装置として、本発明において、ギヤレスの駆動装置も可能である。しかし、本発明においては、フライス削り回転駆動装置あるいは共通の回転駆動装置の駆動モータと、ねじフライス削り工具との間に伝動装置を備える駆動装置構造形式が有利である(請求項5)。この種の伝動装置は、例えば遊星歯車伝動装置として構成可能であり、ねじフライス削り工程のために必要な工具回転数を提供する、機能信頼性の高い可能性を提供する。
請求項6,7に係る発明では、本発明の有利な形態が、2つの加工装置あるいは2つの工具受容部を備え、加工装置あるいは工具受容部に、選択的にそれぞれ1つの打抜き工具か、又はねじフライス削り工具又はねじフライス削り工具と協働する被加工材台架が装着可能である。被加工材台架には、該当する被加工材が、ねじフライス削り中、被加工材主平面に対して横方向で支持されている。択一的な加工可能性が提供され得るように、本発明により、請求項14に係るねじフライス削り工具アッセンブリが設けられている。請求項14に係るねじフライス削り工具アッセンブリでは、ねじフライス削り工具にも、被加工材台架にも支承装置が設けられており、これらの支承装置は、それぞれの打抜き工具の支承装置と合同であるので、支障なく、ねじフライス削り工具及び被加工材台架を2つの打抜き工具の代わりに本発明に係る機械の加工装置あるいは工具受容部に固定することを許可する。
特に高品質な加工結果は、請求項8に係る発明におけるように、保持装置が設けられていると達成される。保持装置は、被加工材をねじフライス削り工程中、被加工材主平面に対して横方向で固定し、これにより被加工材の「ばたつき(Flattern)」を抑制する。同時に保持装置は、ねじフライス削り工具及び被加工材の、被加工材主平面に対して平行な、ねじフライス削りのために不可欠な相対運動を許可する。
本発明の有利な形態では、本発明における保持装置が、ねじフライス削り工具による被加工材加工時に、被加工材の、被加工材主平面に対して横方向で互いに反対側に位置する面に当接する当接部材を備える(請求項9,15)。この種の当接部材は、加工部位の直接的な近傍に配置され、これにより、被加工材主平面に対して横方向での、加工したい被加工材の効果的な固定を可能にする。
原理的には、本発明において、本発明における保持装置の単数又は複数の当接部材を固有の駆動装置により、加工したい被加工材に当接、あるいは加工したい被加工材から離間させる可能性が生じる。しかし、本発明の有利な形態では、被加工材主平面に対して横方向の単数又は複数の当接部材の運動のために、フライス行程駆動装置、場合によっては打抜き工具及びねじフライス削り工具の共通の行程駆動装置が使用される(請求項10)。
さらに、本発明において、保持装置の単数又は複数の当接部材が、単数又は複数の当接部材が当接する被加工材と同じ運動状態を有していてよい。しかし、本発明の有利な形態では、被加工材に当接する単数又は複数の当接部材と被加工材とが、被加工材主平面に対して平行な相対運動を実施する。この相対運動が低摩擦に、特に被加工材表面における掻き傷形成なしに実施され得るように、本発明の有利な形態では、少なくとも1つの当接部材に転動体が設けられており、転動体を介して被加工材が当接部材により負荷され、転動体は、ねじフライス削り工具及び被加工材の相対運動時に、被加工材上を転動する(請求項11,16)。
転動体の代わりに、ブラシ部材が設けられていてもよい。ブラシ部材は、被加工材を支持すると同時に、当接部材及び被加工材の、被加工材主平面に対して平行な相対運動を許可する。
請求項12,17に係る発明において、被加工材の、ねじフライス削り工具とは反対側に設けられた加工装置又は工具受容部に装着された被加工材台架は、同時に、本発明における保持装置の当接部材の機能を請け負う。この特徴は、本発明に係る機械あるいは本発明に係るねじフライス削り工具アッセンブリのコンパクトで安価な構造形式のために役立つ。
以下に、本発明について例示的な概略図を参照しながら詳細に説明する。
金属薄板加工のための工作機械を示す図である。 図1に示した工作機械で使用するための、工具マガジンの工具ホルダに配置されたねじフライス削り工具アッセンブリを示す図である。 図1に示した工作機械に装着された状態にある図2に示したねじフライス削り工具アッセンブリの金属薄板加工開始前の図である。 図3に示したねじフライス削り工具アッセンブリの金属薄板加工時の図である。
図1に示すように、工作機械として構成される金属薄板2を加工する機械1は、上側のフレーム脚4及び下側のフレーム脚5を備えるC字形の機械フレーム3を有する。機械フレーム3の開口室6内には、従来慣用の座標ガイド7が収容されている。座標ガイド7は、通常のものと同様に、クロスレールガイド8及びクロスレールガイド8に案内されるクロスレール9を有する。クロスレールガイド8は、図示しない駆動モータによってクロスレール9と共に水平のY軸の方向で可動である。クロスレール9は、同じく図示しない駆動モータによってクロスレールガイド8に沿って、水平の、前記Y軸に対して垂直に延びるX軸の方向で可動である。
クロスレール9には、金属薄板2を保持するための従来慣用の構造形式のクランプ10が設けられている。さらにクロスレール9は、工具マガジンとして働く。この目的でクロスレール9には、工具ホルダ11が解離可能に取り付けられている。図1には、工具ホルダ11の概略が示されており、図2には、工具ホルダ11の詳細が示されている。
機械フレーム3の上側のフレーム脚4の自由端には、上側の加工装置の第1の工具受容部12が設けられている。工具受容部12は、図1に概略的に示した電気的な駆動装置13によって、行程軸線14に沿って昇降可能である。行程軸線14は、鉛直のZ軸の方向、ひいては、金属薄板2の水平の表面に対して平行に延びる被加工材主平面に対して横方向、特に垂直に延びる。さらに、第1の工具受容部12に装着される工具は、電気的な駆動装置13によって、行程軸線14と一致した回転軸線15を中心として正・逆の方向で回転可能である。
上側のフレーム脚4に設けられた第1の工具受容部12には、機械フレーム3の下側のフレーム脚5に設けられた別の加工装置の第2の工具受容部16が対向して位置している。第2の工具受容部16は、下側のフレーム脚5に取り付けられている被加工材テーブル17に組み込まれている。第2の工具受容部16に装着される工具も、回転軸線15を中心に正・逆の方向で回転可能である。この目的で、図1に概略的に示した電気的な駆動装置18が設けられている。第2の工具受容部16の行程軸線14に沿った可動性は、図示の形態では意図されていないものの、原理的には可能である。吸引装置19が、第2の工具受容部16に接続されている。
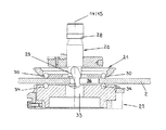
図1に示した加工期では、上側のフレーム脚4に設けられた第1の工具受容部12に、ねじフライス削り工具(Gewindefraeswerkzeug)20が、上側の当接部材21と共に装着されている。下側のフレーム脚5に設けられた第2の工具受容部16は、被加工材台架22を支承する。被加工材台架22は、同時に下側の当接部材を形成する。座標ガイド7のクロスレール9から、2つの打抜き工具アッセンブリ(Stanzwerkzeug−Anordnung)23が差し出される。公知のように、打抜き工具アッセンブリ23は、それぞれ、打抜きパンチの形態の上側の打抜き工具24、ストリッパ25、及び打抜きダイとして構成される下側の打抜き工具26を有する。座標ガイド7のクロスレール9における工具マガジンの、図1とは異なる装備も可能である。特に、種々異なるねじフライス削り工具が差し出されるようになっていてもよい。
ねじフライス削り工具20、上側の当接部材21及び被加工材台架22は、図2に詳細に示すように、ねじフライス削り工具アッセンブリ(Gewindefraeswerkzeug−Anordnung)27のパーツである。ねじフライス削り工具アッセンブリ27のすべてのパーツは、図2で見て、工具ホルダ11に解離可能に取り付けられている。工具ホルダ11により、ねじフライス削り工具アッセンブリ27は、座標ガイド7のクロスレール9に設けられた工具マガジンの準備時にクロスレール9に取り付けられる(図1参照)。
図2に示すように、ねじフライス削り工具20は、工具軸部28を有する。工具軸部28は、図1に示した上側の打抜き工具24の工具軸部と合同である。ねじフライス削り工具20の工具軸部28も、上側の打抜き工具24の工具軸部も、支承装置を形成しており、支承装置として、ねじフライス削り工具20あるいは上側の打抜き工具24を機械1の第1の工具受容部12内に固定するために役立つ。
ねじフライス削り工具20の軸方向で見て、工具軸部28の下側に、ねじフライス29が設けられている。ねじフライス29は、外周削りによりねじ山を形成可能な刃を有する。
ねじフライス削り工具アッセンブリ27の上側の当接部材21は、打抜き工具アッセンブリ23のストリッパ25の形態で形成されている。打抜き工具アッセンブリ23のストリッパ25とは異なり、ねじフライス削り工具アッセンブリ27の上側の当接部材21は、加工したい被加工材に対応する下面に、全方位で回転可能に支承された球の形態の転動体30を有する。球の代わりに、例えばブラシが使用されてもよい。
ねじフライス削り工具アッセンブリ27の上側の当接部材21に設けられたフランジ31は、打抜き工具アッセンブリ23のストリッパ25に設けられた相応のフランジと合同である。フランジ31において、ねじフライス削り工具アッセンブリ27の上側の当接部材21と、機械1の第1の工具受容部12との間の解離可能な結合が形成可能である。相応に、打抜き工具アッセンブリ23のストリッパ25に設けられたフランジは、工具受容部12内にストリッパ25を解離可能に固定するための支承装置を形成する。
ねじフライス削り工具アッセンブリ27の被加工材台架22は、工具ホルダ11に、上側の当接部材21の下側で支承されている。その構造的な構成に関して、ねじフライス削り工具アッセンブリ27の被加工材台架22は、打抜き工具アッセンブリ23の下側の打抜き工具26にほぼ相当する。ねじフライス削り工具アッセンブリ27の被加工材台架22は、打抜き工具アッセンブリ23の下側の打抜き工具26と、特に支承フランジ32の点で構造的に一致している。下側の打抜き工具26に設けられた相応の支承フランジと同様に、被加工材台架22に設けられた支承フランジ32も、当該工具又は工具部分を、機械1の下側のフレーム脚5に設けられた第2の工具受容部16内に固定するための支承装置として役立つ。被加工材台架22の貫通開口33は、下側の打抜き工具26と類似の形態で、つまりダイ開口と類似の形態で設けられている。通常の構造形式の下側の打抜き工具とは異なり、ねじフライス削り工具アッセンブリ27の被加工材台架22は、加工したい被加工材の下面に対応する上面に、球として形成された転動体34を有する。球の代わりに、ブラシが設けられていてもよい。
機械1のすべての主要な機能は、数値制御されている。この目的で機械1は、図1に概略的に示した数値制御部35を有する。
被加工材の加工開始前に、座標ガイド7のクロスレール9に設けられた工具マガジンに、加工のために必要な工具が装備される。図示の形態では、打抜き工具アッセンブリ23及びねじフライス削り工具アッセンブリ27が、該当する工具ホルダ11によりクロスレール9に取り付けられる。機械1の準備後、被加工材の加工時に最初に必要とされる工具アッセンブリが、第1の工具受容部12及び第2の工具受容部16に装着される。機械1の座標ガイド7はこの目的で、機械フレーム3の上側のフレーム脚4及び下側のフレーム脚5の自由端に向かって走行し、通常の形式で、該当する工具アッセンブリを第1の工具受容部12及び第2の工具受容部16に受け渡す。
図示の形態では、金属薄板2はまず打抜き工具アッセンブリ23の1つにより加工される。それに応じて、まず、該当する打抜き工具アッセンブリ23の上側の打抜き工具24及びストリッパ25を第1の工具受容部12に装着し、対応する下側の打抜き工具26を第2の工具受容部16に装着する。その後、座標ガイド7を適当に走行させて、加工したい金属薄板2を、座標ガイド7のクロスレール9に設けられたクランプ10によって把持し、引き続いて座標ガイド7を走行させることで、金属薄板2を、装着された打抜き工具アッセンブリ23に対して位置決めする。金属薄板2がその目標位置に到達したら、装着された打抜き工具アッセンブリ23を操作する。上側の打抜き工具24は、電気的な駆動装置13によって、金属薄板2の打抜き加工を実施しながら打抜き工具アッセンブリ23の下側の打抜き工具26内に進入するまで、行程軸線14に沿って動かされる。機械1の電気的な駆動装置13は、それに応じて、打抜き行程駆動装置(Stanz−Hubantrieb)を形成する。さらに電気的な駆動装置13は、打抜き回転駆動装置(Stanz−Drehantrieb)の機能を請け負うことができ、打抜き回転駆動装置として、装着された打抜き工具23の上側の打抜き工具24を、回転軸線15を中心として位置決めすることができる。相応に、下側のフレーム脚5に設けられた電気的な駆動装置18は、打抜き行程駆動装置及び/又は打抜き回転駆動装置として使用可能である。
座標ガイド7は、打抜き運動装置として、金属薄板2及び装着された打抜き工具アッセンブリ23の、金属薄板2の被加工材主平面に対して平行な、被加工材加工のために必要な相対運動を実施する。この相対運動には、被加工材の打抜き加工開始前の位置決め運動の他、装着された打抜き工具アッセンブリ23の個々の打抜き行程(ストローク)間の、被加工材の送りのための運動が該当する。
上記打抜き加工により、金属薄板2には、円形の打抜き部36が形成される(図1参照)。打抜き部36の壁に、後続の工程でねじ山が設けられる。
この目的で、機械1の座標ガイド7は、装着された打抜き工具アッセンブリ23の、座標ガイド7のクロスレール9に残された工具ホルダ11と共に、第1の工具受容部12及び第2の工具受容部16に向かって走行する。そこで、上側の打抜き工具24、ストリッパ25及び下側の打抜き工具26は、割り当てられた工具ホルダ11によって受け取られる。その後、空となった工具受容部12,16に、座標ガイド7を適当に走行させて、ねじフライス削り工具アッセンブリ27を装着する。引き続いて、打抜き部36を有する金属薄板2を、装着されたねじフライス削り工具アッセンブリ27に対して位置決めする。これにより、ねじフライス削り工具アッセンブリ27に、図3に示した状況が生じる。
原理的には、下側の打抜き工具26及び被加工材台架22を上側の工具受容部12に装着し、ストリッパ25を備える打抜き工具24及びねじフライス削り工具20を下側の工具受容部16に装着することも可能である。
図3に示した状況から出発して、第1の工具受容部12に装着されたねじフライス削り工具20は、今度はフライス削り回転駆動装置(Fraes−Drehantrieb)及びフライス削り行程駆動装置(Fraes−Hubantrieb)として機能する電気的な駆動装置13により、回転軸線15を中心とするフル(hochtourig)の作業回転運動で駆動され、同時に行程軸線14に沿って金属薄板2に向かって下降される。ねじフライス削り工具20と共に、電気的な駆動装置13は、上側の当接部材21を行程軸線14に沿って下方に動かす。上側の当接部材21が金属薄板2の上面に鉛直方向の予圧下で載置されるとすぐに、上側の当接部材21の下降運動は終了する。金属薄板2の反対側で第2の工具受容部16に配置された被加工材台架22と共に、上側の当接部材21は、金属薄板2を被加工材主平面に対して横方向で固定する保持装置を形成する。鉛直方向でのこの固定にもかかわらず、金属薄板2は、座標ガイド7により水平運動可能である。金属薄板2の水平運動は、上側の当接部材21に設けられた球30と、ねじフライス削り工具アッセンブリ27の被加工材台架22に設けられた球34とに基づいて、低摩擦の運動として、特に金属薄板2の可視面における掻き傷形成なしに実現される。
回転軸線15を中心として回転するねじフライス削り工具20の下降運動は、金属薄板2の上面への上側の当接部材21の当接後、ねじフライス削り工具20がねじフライス29でもって金属薄板2の打抜き部36に進入するまで継続される。フライス削り運動装置として役立つ座標ガイド7の適当な走行により、同時に、金属薄板2は水平方向で、ねじフライス削り工具20のねじフライス29が金属薄板2の打抜き部36の壁に噛み込むように動かされる。ねじフライス削り工具20の下降運動が継続され、同時に金属薄板2の、ねじフライス削り工具20の下降運動に合わせて調整された水平運動が実施されながら、回転軸線15を中心として回転するねじフライス削り工具20は、ねじフライス29によって、所望のねじ山を打抜き部36の壁に切る。ねじフライス削り工程で発生する切り屑は、吸引装置19により被加工材台架22の貫通開口33を介して排出される。
ねじ山の製造後、金属薄板2は座標ガイド7により、ねじフライス削り工具20が、今やねじ山が設けられた打抜き部36の内部で、打抜き部36の壁から半径方向で間隔を置いて位置するように位置決めされる。引き続いて、ねじフライス削り工具20は、行程軸線14に沿ってその初期位置に向かって上昇させられる。上側の当接部材21は、金属薄板2の上面から持ち上がり、図3に示した状況に相当する状況に至る。加工課題次第で、金属薄板2は、機械1から取り出されるか、又はさらに加工され得る。
1 機械
2 金属薄板
3 機械フレーム
4 上側のフレーム脚
5 下側のフレーム脚
6 開口室
7 座標ガイド
8 クロスレールガイド
9 クロスレール
10 クランプ
11 工具ホルダ
12 第1の工具受容部
13 駆動装置
14 行程軸線
15 回転軸線
16 第2の工具受容部
17 被加工材テーブル
18 駆動装置
19 吸引装置
20 ねじフライス削り工具
21 上側の当接部材
22 被加工材台架
23 打抜き工具アッセンブリ
24 上側の打抜き工具
25 ストリッパ
26 下側の打抜き工具
27 ねじフライス削り工具アッセンブリ
28 工具軸部
29 ねじフライス
30 転動体
31 フランジ
32 支承フランジ
33 貫通開口
34 転動体
35 数値制御部
36 打抜き部

Claims (18)

  1. 板状の被加工材、特に金属薄板(2)を加工する機械であって、被加工材を加工する打抜き工具(24,26)を装着可能な加工装置を備え、
    前記加工装置に装着された打抜き工具(24,26)及び被加工材が、打抜き行程駆動装置(13,18)により、被加工材主平面に対して横方向で延びる行程軸線(14)に沿って互いに相対的に運動可能であり、打抜き回転駆動装置(13,18)により、被加工材主平面に対して横方向で延びる回転軸線(15)を中心に互いに相対的に回転可能であり、かつ
    前記加工装置に装着された打抜き工具(24,26)及び被加工材が、打抜き運動装置により、被加工材主平面に対して平行に互いに相対的に運動可能である
    形式のものにおいて、
    前記加工装置に打抜き工具(24,26)の代わりにねじフライス削り工具(20)が装着可能であり、
    前記加工装置に装着されたねじフライス削り工具(20)及び被加工材が、フライス削り行程駆動装置(13,18)により、被加工材主平面に対して横方向で延びる行程軸線(14)に沿って互いに相対的に運動可能であり、フライス削り回転駆動装置(13,18)により、被加工材主平面に対して横方向で延びる回転軸線(15)を中心に互いに相対的に回転可能であり、
    前記加工装置に装着されたねじフライス削り工具(20)及び被加工材が、フライス削り運動装置により、被加工材主平面に対して平行に互いに相対的に運動可能であり、
    前記ねじフライス削り工具(20)及び被加工材の行程軸線(14)に沿った相対運動と、前記ねじフライス削り工具(20)及び被加工材の被加工材主平面に対して平行な相対運動とが、同時の、前記ねじフライス削り工具(20)及び被加工材の回転軸線(15)を中心とした相対回転運動時に、被加工材にねじ山がフライス削りにより形成可能であるように互いに調整されて制御可能である
    ことを特徴とする、板状の被加工材、特に金属薄板を加工する機械。
  2. 前記加工装置が、工具受容部(12,16)を有しており、該工具受容部(12,16)が、被加工材加工時に被加工材主平面に対して横方向で被加工材に対向して位置し、該工具受容部(12,16)内に打抜き工具(24,26)、又は該打抜き工具(24,26)の代わりにねじフライス削り工具(20)が装着可能であり、該工具受容部(12,16)内に装着されたねじフライス削り工具(20)及び被加工材が、前記フライス削り行程駆動装置(13,18)により、被加工材主平面に対して横方向で延びる行程軸線(14)に沿って互いに相対的に運動可能であり、前記フライス削り回転駆動装置(13,18)により、被加工材主平面に対して横方向で延びる回転軸線(15)を中心に互いに相対的に回転可能であり、前記工具受容部(12,16)に装着されたねじフライス削り工具(20)及び被加工材が、前記フライス削り運動装置により、被加工材主平面に対して平行に互いに相対的に運動可能である、請求項1記載の機械。
  3. 前記打抜き行程駆動装置(13,18)及び前記フライス削り行程駆動装置(13,18)として1つの共通の行程駆動装置(13,18)が設けられていること、前記打抜き回転駆動装置(13,18)及び前記フライス削り回転駆動装置(13,18)として1つの共通の回転駆動装置(13,18)が設けられていること、及び前記打抜き運動装置及び前記フライス削り運動装置として1つの共通の運動装置が設けられていることの少なくとも1つが満たされている、請求項1又は2記載の機械。
  4. 共通の行程駆動装置(13,18)として前記工具受容部(12,16)の行程駆動装置(13,18)が設けられていること、共通の回転駆動装置(13,18)として前記工具受容部(12,16)の回転駆動装置(13,18)が設けられていること、及び共通の運動装置として前記工具受容部の運動装置又は被加工材のための座標ガイド(7)が設けられていることの少なくとも1つが満たされている、請求項1から3までのいずれか1項記載の機械。
  5. 前記フライス削り回転駆動装置(13,18)、場合によっては前記共通の回転駆動装置(13,18)が、伝動装置を有しており、該伝動装置が、前記フライス削り回転駆動装置(13,18)あるいは前記共通の回転駆動装置(13,18)の駆動モータと、前記ねじフライス削り工具(20)との間に設けられている、請求項1から4までのいずれか1項記載の機械。
  6. 第2の加工装置を備え、該第2の加工装置が、被加工材主平面に対して横方向で、ねじフライス削り工具(20)を装着可能な加工装置に対向して位置し、該第2の加工装置に選択的に第2の打抜き工具(24,26)又は被加工材台架(22)が装着可能であり、被加工材が、対向して位置する加工装置に装着されたねじフライス削り工具(20)によって加工される間、前記被加工材台架(22)に、被加工材主平面に対して横方向で支持されている、請求項1から5までのいずれか1項記載の機械。
  7. 前記第2の加工装置が、第2の工具受容部(12,16)を有しており、該第2の工具受容部(12,16)が、被加工材主平面に対して横方向で、ねじフライス削り工具(20)を装着可能な工具受容部(12,16)に対向して位置し、該第2の工具受容部(12,16)に選択的に第2の打抜き工具(24,26)又は被加工材台架(22)が装着可能であり、被加工材が、対向して位置する工具受容部(12,16)に装着されたねじフライス削り工具(20)によって加工される間、前記被加工材台架(22)に、被加工材主平面に対して横方向で支持されている、請求項1から6までのいずれか1項記載の機械。
  8. 保持装置(21,22)を備え、該保持装置(21,22)が被加工材を、該被加工材が該当する加工装置、場合によっては該当する工具受容部(12,16)に装着されたねじフライス削り工具(20)により加工される間、被加工材主平面に対して横方向で固定すると同時に、前記ねじフライス削り工具(20)及び被加工材の被加工材主平面に対して平行な相対運動を許可する、請求項1から7までのいずれか1項記載の機械。
  9. 前記保持装置(21,22)が当接部材(21,22)を有しており、該当接部材(21,22)が、該当する加工装置、場合によっては該当する工具受容部(12,16)に装着されたねじフライス削り工具(20)による被加工材加工時に、被加工材の、被加工材主平面に対して横方向で互いに反対側に位置する面に当接し、被加工材の両側に配置された当接部材(21,22)が、前記ねじフライス削り工具(20)及び被加工材の被加工材主平面に対して平行な相対運動を許可する、請求項1から8までのいずれか1項記載の機械。
  10. 少なくとも被加工材の片側の当接部材(21,22)が、フライス削り行程駆動装置(13)、場合によっては共通の行程駆動装置(13)により機能外位置及び機能位置へ運動可能である、請求項1から9までのいずれか1項記載の機械。
  11. 少なくとも1つの当接部材(21,22)が被加工材に転動体(30,34)でもって当接し、該転動体(30,34)が、前記ねじフライス削り工具(20)及び被加工材の被加工材主平面に対して平行な相対運動時に被加工材上を転動する、請求項1から10までのいずれか1項記載の機械。
  12. 第2の加工装置、場合によっては第2の工具受容部(12,16)に装着された被加工材台架(22)が、保持装置(21,22)の当接部材を形成する、請求項1から11までのいずれか1項記載の機械。
  13. 被加工材を加工する機械のための工具セットであって、打抜き工具を備え、該打抜き工具が、打抜き工具を前記機械の加工装置に固定可能な支承装置を有している形式のものにおいて、
    前記打抜き工具に対して付加的にねじフライス削り工具を備え、該ねじフライス削り工具が支承装置を有しており、該支承装置が、前記打抜き工具の支承装置と合同であり、該支承装置により、ねじフライス削り工具が打抜き工具の代わりに同じ加工装置に固定可能であることを特徴とする、被加工材を加工する機械のための工具セット。
  14. ねじフライス削り工具アッセンブリにおいて、
    ねじフライス削り工具(20)を備え、該ねじフライス削り工具(20)が、当該ねじフライス削り工具(20)を、被加工材、特に金属薄板(2)を加工する機械(1)の加工装置、場合によっては工具受容部(12,16)に固定可能とする支承装置(28)を備え、該支承装置(28)が、打抜き工具(24)をねじフライス削り工具(20)の代わりに同じ加工装置、場合によっては同じ工具受容部(12,16)に固定可能とする打抜き工具(24)の支承装置と合同であり、かつ
    被加工材台架(22)を備え、該被加工材台架(22)が、当該被加工材台架(22)を、被加工材、特に金属薄板(2)を加工する機械(1)の第2の加工装置、場合によっては第2の工具受容部(12,16)に固定可能とする支承装置(32)を備え、該支承装置(32)が、第2の打抜き工具(26)を被加工材台架(22)の代わりに、被加工材、特に金属薄板(2)を加工する機械(1)の第2の加工装置、場合によっては第2の工具受容部(12,16)に固定可能とする第2の打抜き工具(26)の支承装置と合同であることを特徴とする、ねじフライス削り工具アッセンブリ。
  15. 当接部材(21,22)を備え、該当接部材(21,22)が、被加工材の、被加工材主平面に対して横方向で互いに反対側に位置する面に配設されており、該当接部材(21,22)により、被加工材が、ねじフライス削り工具(20)による加工中に被加工材主平面に対して横方向で固定されており、かつ該当接部材(21,22)が、ねじフライス削り工具(20)及び被加工材の被加工材主平面に対して平行な相対運動を許可する、請求項14記載のねじフライス削り工具アッセンブリ。
  16. 少なくとも1つの当接部材(21,22)が、被加工材に対応付けられた面に、転動体(30,34)を有しており、該転動体(30,34)により、当接部材(21,22)が被加工材に当接可能であり、該転動体(30,34)が、前記ねじフライス削り工具(20)及び被加工材の被加工材主平面に対して平行な相対運動時に被加工材上を転動する、請求項14又は15記載のねじフライス削り工具アッセンブリ。
  17. 前記被加工材台架(22)が当接部材を形成する、請求項14から16までのいずれか1項記載のねじフライス削り工具アッセンブリ。
  18. ねじフライス削り工具の使用において、該ねじフライス削り工具が、当該ねじフライス削り工具を、被加工材を加工する機械の加工装置に固定可能とする支承装置を備え、該支承装置を、打抜き工具をねじフライス削り工具の代わりに同じ加工装置に固定可能とする打抜き工具の支承装置と合同とし、ねじフライス削りのために、ねじフライス削り工具を加工装置に打抜き工具の代わりに装着することを特徴とする、ねじフライス削り工具の使用。
JP2009216471A 2008-09-18 2009-09-18 板状の被加工材、特に金属薄板を加工する機械、被加工材を加工する機械のための工具セット、ねじフライス削り工具アッセンブリ、及びねじフライス削り工具の使用 Expired - Fee Related JP5594997B2 (ja)

Applications Claiming Priority (2)

Application Number Priority Date Filing Date Title
EP20080016416 EP2165793B1 (de) 2008-09-18 2008-09-18 Maschine zum Bearbeiten von plattenartigen Werkstücken, insbesondere von Blechen sowie Werkzeugsatz für eine derartige Maschine und Verwendung eines Gewindefräswerkzeugs an einer derartigen Maschine
EP08016416.3 2008-09-18

Publications (2)

Publication Number Publication Date
JP2010069615A true JP2010069615A (ja) 2010-04-02
JP5594997B2 JP5594997B2 (ja) 2014-09-24

Family

ID=40297814

Family Applications (1)

Application Number Title Priority Date Filing Date
JP2009216471A Expired - Fee Related JP5594997B2 (ja) 2008-09-18 2009-09-18 板状の被加工材、特に金属薄板を加工する機械、被加工材を加工する機械のための工具セット、ねじフライス削り工具アッセンブリ、及びねじフライス削り工具の使用

Country Status (2)

Country Link
EP (1) EP2165793B1 (ja)
JP (1) JP5594997B2 (ja)

Cited By (1)

* Cited by examiner, † Cited by third party
Publication number Priority date Publication date Assignee Title
WO2013069440A1 (ja) * 2011-11-08 2013-05-16 株式会社 アマダ 剥離加工方法及び装置、並びに、ダイ

Families Citing this family (3)

* Cited by examiner, † Cited by third party
Publication number Priority date Publication date Assignee Title
ITBO20120017A1 (it) * 2012-01-17 2013-07-18 Rainer Technology S R L Macchina punzonatrice per lamiere
DE102020127693A1 (de) * 2020-10-21 2022-04-21 Trumpf Werkzeugmaschinen Gmbh & Co. Kg Werkzeugmaschine für die stanzende Bearbeitung von plattenartigen Werkstücken, insbesondere für die stanzende Blechbearbeitung
DE102022108682A1 (de) 2022-04-11 2023-10-12 TRUMPF Werkzeugmaschinen SE + Co. KG Verfahren zur Stanzbearbeitung, insbesondere für Kleinteile

Citations (3)

* Cited by examiner, † Cited by third party
Publication number Priority date Publication date Assignee Title
JPS4894095A (ja) * 1972-02-15 1973-12-04
JPH04193411A (ja) * 1990-11-28 1992-07-13 Amada Co Ltd 切削工具を備えたパンチプレスにおける切削方法およびその装置
WO2006103649A2 (en) * 2005-03-31 2006-10-05 Hanita Metal Works Ltd. Orbital end mill

Family Cites Families (5)

* Cited by examiner, † Cited by third party
Publication number Priority date Publication date Assignee Title
EP0237035B1 (en) * 1986-03-13 1993-06-09 Turchan, Manuel C. Method of and tool for thread mill drilling
JPH0450984Y2 (ja) * 1987-12-25 1992-12-01
US5016335A (en) * 1989-04-24 1991-05-21 Robotics Automation Consulting Engineering Industries, Inc. Tapping attachment for a punch press
US5259100A (en) 1992-05-27 1993-11-09 Amada Engineering & Service Co., Inc. Milling tool for turret punch press
JPH11290967A (ja) * 1998-04-16 1999-10-26 Murata Mach Ltd パンチプレス用タッピング装置

Patent Citations (3)

* Cited by examiner, † Cited by third party
Publication number Priority date Publication date Assignee Title
JPS4894095A (ja) * 1972-02-15 1973-12-04
JPH04193411A (ja) * 1990-11-28 1992-07-13 Amada Co Ltd 切削工具を備えたパンチプレスにおける切削方法およびその装置
WO2006103649A2 (en) * 2005-03-31 2006-10-05 Hanita Metal Works Ltd. Orbital end mill

Cited By (1)

* Cited by examiner, † Cited by third party
Publication number Priority date Publication date Assignee Title
WO2013069440A1 (ja) * 2011-11-08 2013-05-16 株式会社 アマダ 剥離加工方法及び装置、並びに、ダイ

Also Published As

Publication number Publication date
EP2165793A1 (de) 2010-03-24
EP2165793B1 (de) 2012-09-12
JP5594997B2 (ja) 2014-09-24

Similar Documents

Publication Publication Date Title
US20030221308A1 (en) Machining apparatus with pivotal workpiece holder
CN102729083B (zh) 机床
CN104889745A (zh) 一种机械加工一体机装置
CN103358126A (zh) 一种切削加工与激光加工复合的钣金加工中心
JP5594997B2 (ja) 板状の被加工材、特に金属薄板を加工する機械、被加工材を加工する機械のための工具セット、ねじフライス削り工具アッセンブリ、及びねじフライス削り工具の使用
JP2008254118A (ja) 複合加工旋盤
JP2006289511A (ja) 工作機械
KR20170111016A (ko) 중실 장봉의 탭가공장치
CN215698432U (zh) 一种钢坯低倍试样切割圆锯机及试样检测流水线
CN205996532U (zh) 一种刀库机床
CN209349517U (zh) 一种卧式斜床身双主轴多功能车床
CN103328152B (zh) 用来控制用于加工大尺寸工件的设备的方法
KR20090057679A (ko) 커넥팅 로드 디버링 복합 가공 장치
JP3029885B2 (ja) レーザ複合加工装置
JP2019136792A (ja) 長尺材用複合加工機
CN206326360U (zh) 加工灵活的刀具侧置式机床
JPH0542334A (ja) 複合加工機
KR20130084574A (ko) 정면 선반
CN220718434U (zh) 一种机床翻板式工作台
CN215510049U (zh) 一种用于曲轴加工的开槽机
CN207386575U (zh) 机床的床头箱
CN211360706U (zh) 一种钻床
JP5198885B2 (ja) 工作機械、およびワーク加工方法
CN201096672Y (zh) 钢材光谱试样加工专用铣床
JP2017164815A (ja) 加工ユニット並びにワーク、特に金属薄板を打抜き加工するための工作機械

Legal Events

Date Code Title Description
RD04 Notification of resignation of power of attorney

Free format text: JAPANESE INTERMEDIATE CODE: A7424

Effective date: 20101227

RD04 Notification of resignation of power of attorney

Free format text: JAPANESE INTERMEDIATE CODE: A7424

Effective date: 20101228

A621 Written request for application examination

Free format text: JAPANESE INTERMEDIATE CODE: A621

Effective date: 20120511

A131 Notification of reasons for refusal

Free format text: JAPANESE INTERMEDIATE CODE: A131

Effective date: 20130729

A977 Report on retrieval

Free format text: JAPANESE INTERMEDIATE CODE: A971007

Effective date: 20130731

A601 Written request for extension of time

Free format text: JAPANESE INTERMEDIATE CODE: A601

Effective date: 20131025

A602 Written permission of extension of time

Free format text: JAPANESE INTERMEDIATE CODE: A602

Effective date: 20131030

A601 Written request for extension of time

Free format text: JAPANESE INTERMEDIATE CODE: A601

Effective date: 20131125

A602 Written permission of extension of time

Free format text: JAPANESE INTERMEDIATE CODE: A602

Effective date: 20131128

A601 Written request for extension of time

Free format text: JAPANESE INTERMEDIATE CODE: A601

Effective date: 20131227

A602 Written permission of extension of time

Free format text: JAPANESE INTERMEDIATE CODE: A602

Effective date: 20140109

A521 Request for written amendment filed

Free format text: JAPANESE INTERMEDIATE CODE: A523

Effective date: 20140124

TRDD Decision of grant or rejection written
A01 Written decision to grant a patent or to grant a registration (utility model)

Free format text: JAPANESE INTERMEDIATE CODE: A01

Effective date: 20140707

A61 First payment of annual fees (during grant procedure)

Free format text: JAPANESE INTERMEDIATE CODE: A61

Effective date: 20140805

R150 Certificate of patent or registration of utility model

Ref document number: 5594997

Country of ref document: JP

Free format text: JAPANESE INTERMEDIATE CODE: R150

R250 Receipt of annual fees

Free format text: JAPANESE INTERMEDIATE CODE: R250

R250 Receipt of annual fees

Free format text: JAPANESE INTERMEDIATE CODE: R250

R250 Receipt of annual fees

Free format text: JAPANESE INTERMEDIATE CODE: R250

R250 Receipt of annual fees

Free format text: JAPANESE INTERMEDIATE CODE: R250

R250 Receipt of annual fees

Free format text: JAPANESE INTERMEDIATE CODE: R250

LAPS Cancellation because of no payment of annual fees