JP2010069355A - プレート式反応器及びそれを用いる反応生成物の製造方法 - Google Patents

プレート式反応器及びそれを用いる反応生成物の製造方法 Download PDF

Info

Publication number
JP2010069355A
JP2010069355A JP2008236338A JP2008236338A JP2010069355A JP 2010069355 A JP2010069355 A JP 2010069355A JP 2008236338 A JP2008236338 A JP 2008236338A JP 2008236338 A JP2008236338 A JP 2008236338A JP 2010069355 A JP2010069355 A JP 2010069355A
Authority
JP
Japan
Prior art keywords
heat transfer
plate
heat
gas
reactor
Prior art date
Legal status (The legal status is an assumption and is not a legal conclusion. Google has not performed a legal analysis and makes no representation as to the accuracy of the status listed.)
Granted
Application number
JP2008236338A
Other languages
English (en)
Other versions
JP5239667B2 (ja
Inventor
Yasuyuki Sakakura
康之 坂倉
Kimikatsu Jinno
公克 神野
Shinji Isotani
真治 磯谷
Hiroshi Takeo
弘 竹尾
Current Assignee (The listed assignees may be inaccurate. Google has not performed a legal analysis and makes no representation or warranty as to the accuracy of the list.)
Mitsubishi Chemical Corp
Mitsubishi Chemical Engineering Corp
Original Assignee
Mitsubishi Chemical Corp
Mitsubishi Chemical Engineering Corp
Priority date (The priority date is an assumption and is not a legal conclusion. Google has not performed a legal analysis and makes no representation as to the accuracy of the date listed.)
Filing date
Publication date
Application filed by Mitsubishi Chemical Corp, Mitsubishi Chemical Engineering Corp filed Critical Mitsubishi Chemical Corp
Priority to JP2008236338A priority Critical patent/JP5239667B2/ja
Publication of JP2010069355A publication Critical patent/JP2010069355A/ja
Application granted granted Critical
Publication of JP5239667B2 publication Critical patent/JP5239667B2/ja
Active legal-status Critical Current
Anticipated expiration legal-status Critical

Links

Images

Landscapes

  • Devices And Processes Conducted In The Presence Of Fluids And Solid Particles (AREA)
  • Organic Low-Molecular-Weight Compounds And Preparation Thereof (AREA)
  • Low-Molecular Organic Synthesis Reactions Using Catalysts (AREA)

Abstract

【課題】容器の内壁と伝熱プレートとの間の隙間に起因する問題を生じないプレート式反応器を提供する。
【解決手段】互いに対面して整列する複数の伝熱プレート2を、この整列する方向において挟持板3及び保持棒4によって挟持し、かつ伝熱プレート2の伝熱管1に接するように、伝熱管1の延出方向において熱媒供給部5を配置し、さらに伝熱プレート2間の隙間におけるガスの通気方向において、前記隙間を通るガスを供給、排出するためのガス分配部6を配置してプレート式反応器を構成する。
【選択図】図1

Description

本発明は、ガス状の原料を反応させるためのプレート式反応器、及びそれを用いる反応生成物の製造方法に関する。
気相接触酸化反応等の粒子状の触媒の存在下における原料ガスの反応に用いられる反応器としては、ガス状の原料を反応させるための反応容器と、前記反応容器内に並んで設けられる複数の伝熱プレートとを有し、前記伝熱プレートは、断面形状の周縁又は端縁で連結している複数の伝熱管を含み、隣り合う伝熱プレート間の隙間に触媒が充填されるプレート式反応器が知られている(例えば、特許文献1参照。)。このようなプレート式反応器には、例えば複数の伝熱プレートが円筒状の反応容器内に並んで収容されてなるプレート式反応器が知られている(例えば、特許文献2及び3参照。)。
このようなプレート式反応器では、伝熱プレートが整列する方向における両端の伝熱プレートと反応容器の内壁との間に大きな隙間が生じる。前記のプレート式反応器は、この隙間に伴う様々な問題を有している。
まず、前記の隙間は反応には利用されないことから、前記容器は、このような隙間を含んだ内容積の胴(シェル)となるため、大型化、重量化し、経済的にも不利である。
また、前記プレート式反応器をプロピレン及びアクロレインの気相接触酸化反応によるアクリル酸の製造に長期間用いると、例えば原料ガス中のプロピレンが前記隙間に滞留したときに、原料ガスや反応生成ガスに含まれる水蒸気が凝縮し、プロピレンの爆鳴気を形成する可能性がある。また、アクロレインが前記隙間に滞留したときには、自動酸化して燃焼し、発熱によって高温となり、プレート式反応器自体を損傷することがある。さらに、アクリル酸が前記隙間に滞留したときには、例えばプレート式反応器の停止時に凝縮し、ポリマー化し、生成したポリマーが前記隙間を埋めて膨張し、プレート式反応器の損傷に至ることがある。
さらに、前述のアクリル酸の製造では、反応時のプレート式反応器は250〜400℃にもなり、反応を停止した時には常温になる。前述のアクリル酸の製造におけるプレート式反応器の使用では、常温から400℃までの温度にプレート式反応器が晒されることから、前記隙間を封じた場合では、プレート式反応器を構成する部材の温度変化による膨張や収縮によって、プレート式反応器が損傷することがある。このような不都合は、他の反応においても、同様なことがいえる。
特開2004−202430号公報 特公平5−51336号公報 特表2003−513056号公報
本発明は、反応容器の内壁と伝熱プレートとの間の隙間に起因する問題を生じないプレート式反応器を提供する。
本発明は、複数の伝熱プレートが整列する方向において複数の伝熱プレートを挟んで保持する構成を採用することにより、反応容器の内壁と伝熱プレートとの間の隙間に起因す
る問題を生じないプレート式反応器を提供する。
すなわち本発明は、ガス状の原料を反応させるための反応容器と、前記反応容器内に並んで設けられる複数の伝熱プレートとを有し、前記伝熱プレートは、断面形状の周縁又は端縁で連結している複数の伝熱管を含み、隣り合う伝熱プレート間の隙間に触媒が充填されるプレート式反応器において、前記反応容器は、ガスの通気方向において、前記複数の伝熱プレートにおける両端を覆い、隣り合う伝熱プレート間の隙間にガスを流通させるガス分配部と、前記伝熱プレートにおける前記伝熱管の両端に当接して前記伝熱管に熱媒を供給する熱媒供給部と、前記伝熱プレートが並ぶ方向における両端の伝熱プレートに、少なくとも伝熱管の延出方向に沿ってガスの通気を遮断するように当接して、前記複数の伝熱プレートを伝熱プレートが並ぶ方向に挟持するプレート挟持部とを有し、前記ガス分配部、前記熱媒供給部、及び前記プレート挟持部が前記複数の伝熱プレートを収容するように気密に接合されて構成されるプレート式反応器を提供する。
また本発明は、前記プレート挟持部が、前記複数の伝熱プレートが並ぶ方向における両端の伝熱プレートの少なくとも一方の伝熱管に、伝熱管の延出方向において伝熱管全体に当接する一対の挟持板と、これらの挟持板を貫通して保持する保持棒とから構成される前記プレート式反応器を提供する。
また本発明は、前記プレート挟持部が、前記複数の伝熱プレートが並ぶ方向における両端の伝熱プレートに、前記伝熱プレートの、ガスの通気方向における上流端の伝熱管の周縁に当接する前記プレート式反応器を提供する。
また本発明は、隣り合う伝熱プレート間の隙間を、ガスの通気方向に沿って、充填された触媒を収容する複数の区画に仕切る仕切りをさらに有する前記プレート式反応器を提供する。
また本発明は、ガスの通気方向において、前記仕切りに重なる位置に前記保持棒が配置される前記プレート式反応器を提供する。
また本発明は、前記ガス分配部がマンホールをさらに有する前記プレート式反応器を提供する。
また本発明は、前記ガス分配部が反応容器内の圧力の上昇によるプレート式反応器の損傷を防止するための安全装置をさらに有する前記プレート式反応器を提供する。
また本発明は、前記熱媒供給部が、熱媒供給部中の第一の熱媒に第二の熱媒を混合する熱媒混合装置をさらに有する前記プレート式反応器を提供する。
また本発明は、ガスの通気方向における前記複数の伝熱プレートの一端又は両端を覆う通気性の触媒保護カバーをさらに有する前記プレート式反応器を提供する。
また本発明は、反応容器に複数の伝熱プレートが並んで設けられており、伝熱プレート間の隙間に触媒が充填されて触媒層が形成されるプレート式反応器を用いて、前記伝熱プレートを構成する複数の伝熱管に熱媒を供給し、前記反応容器に前記原料ガスを供給して、前記触媒の存在下で原料ガスを反応させてガス状の反応生成物を生成する工程を含む方法において、前記プレート式反応器に、前述した本発明のプレート式反応器を用いる反応生成物の製造方法を提供する。
また本発明は、前記反応生成物を生成する工程が、エチレンを酸化して酸化エチレンを生
成する工程;炭素数3及び4の炭化水素、ターシャリーブタノール、及び炭素数3及び4の不飽和脂肪族アルデヒドからなる群から選ばれる少なくとも1種を酸化して炭素数3及び4の不飽和脂肪族アルデヒド及び炭素数3及び4の不飽和脂肪酸の一方又は両方を生成する工程;炭素数4以上の脂肪族炭化水素を酸化してマレイン酸 を生成する工程;o−キシレンを酸化してフタル酸 を生成する工程;オレフィンを水素化してパラフィンを生成する工程;カルボニル化合物を水素化してアルコールを生成する工程;クメンハイドロパーオキサイドを酸分解してアセトンとフェノールを生成する工程;ブテンを酸化脱水素してブタジエンを生成する工程;エチルベンゼンを脱水素してスチレンを生成する工程;又は、プロピレン及びアクロレインの一方又は両方、或いはイソブチレン及びメタクロレインの一方又は両方を酸化して(メタ)アクロレイン及び(メタ)アクリル酸の一方又は両方を生成する工程;である前記の方法を提供する。
本発明は、前記反応容器を前記ガス分配部と前記熱媒供給部と前記プレート挟持部とによって構成することから、反応容器の内壁と伝熱プレートとの間の隙間にガスが滞留することによるプレート式反応器の損傷が実質的に防止されるプレート式反応器を提供することができる。
また本発明は、前記プレート挟持部が前記一対の挟持板と前記保持棒とから構成されることが、反応容器の内壁と伝熱プレートとの間の隙間にガスが滞留することによるプレート式反応器の損傷を実質的かつ容易に防止する観点からより一層効果的である。
また本発明は、前記プレート挟持部が、前記伝熱プレートにおける、ガスの通気方向における上流端の伝熱管の周縁で伝熱プレートに当接することが、反応容器の内壁と伝熱プレートとの間の隙間にガスが滞留することによるプレート式反応器の損傷を実質的かつ容易に防止する観点からさらに一層効果的である。
また本発明は、前記仕切りをさらに有することが、プレート式反応器における使用準備作業や保守点検作業を容易かつ迅速に行う観点からより一層効果的である。
また本発明は、ガスの通気方向において、前記仕切りに重なる位置に前記保持棒が配置されることが、プレート式反応器における使用準備作業や保守点検作業を容易かつ迅速に行う観点からさらに一層効果的である。
また本発明は、前記ガス分配部がマンホールをさらに有することが、プレート式反応器における使用準備作業や保守点検作業を容易かつ迅速に行う観点からさらに一層効果的である。
また本発明は、前記ガス分配部が安全装置を有することが、突発で異常な圧力上昇に対処してプレート式反応器の損傷を防ぐ観点から、より一層効果的である。
また本発明は、前記熱媒供給部が、熱媒供給部中の第一の熱媒に第二の熱媒を混合する熱媒混合装置をさらに有することが、熱媒の温度の精密な調整を行う観点からより一層効果的である。
また本発明は、ガスの通気方向における前記複数の伝熱プレートの一端又は両端を覆う通気性の触媒保護カバーをさらに有することが、充填された触媒を保護する観点からより一層効果的である。
また、本発明は、本発明のプレート式反応器を用いて、前記触媒の存在下で原料ガスを反
応させてガス状の反応生成物を生成することにより、高い効率で反応生成物を製造することができる。
また、エチレンからの酸化エチレンの生成;炭素数3及び4の炭化水素、ターシャリーブタノール、及び炭素数3及び4の不飽和脂肪族アルデヒドからなる群から選ばれる少なくとも1種からの、炭素数3及び4の不飽和脂肪族アルデヒド及び炭素数3及び4の不飽和脂肪酸の一方又は両方の生成;炭素数4以上の脂肪族炭化水素からのマレイン酸 の生成;o−キシレンからのフタル酸の生成;オレフィンからのパラフィンの生成;カルボニル化合物からのアルコールの生成;クメンハイドロパーオキサイドからのアセトンとフェノールを生成する工程;ブテンからのブタジエンの生成;エチルベンゼンからのスチレンの生成;又は、プロピレン及びアクロレインの一方又は両方、或いはイソブチレン及びメタクロレインの一方又は両方からの(メタ)アクロレイン及び(メタ)アクリル酸の一方又は両方の生成;に本発明のプレート式反応器を用いることが、高い効率で反応生成物を製造する観点からより一層効果的である。
特に、プロピレン及びアクロレインの一方又は両方、或いはイソブチレン及びメタクロレインの一方又は両方からの(メタ)アクロレイン及び(メタ)アクリル酸の一方又は両方の生成;に前記プレート式反応器を用いることは、プレート式反応器により高効率に(メタ)アクロレイン及び/又は(メタ)アクリル酸を製造する観点からより効果的であり、さらに、反応容器の内壁と伝熱プレートとの間の隙間にガスが滞留することによるプレート式反応器の損傷が実質的に防止されることから、保守点検や運転準備の作業における時間の短縮及び作業性の向上により、(メタ)アクロレイン及び/又は(メタ)アクリル酸の製造の長期における生産性を高める観点からより一層効果的である。
本発明のプレート式反応器は、ガス状の原料を反応させるための反応容器と、前記反応容器内に並んで設けられる複数の伝熱プレートとを有する。
前記伝熱プレートは、断面形状の周縁又は端縁で連結している複数の伝熱管を含む。このように伝熱プレートは、並列する複数の伝熱管を含む板状体である。伝熱プレートにおいて、伝熱管は直接連結されていてもよいし、プレートやヒンジ等の適当な部材を介して間接的に連結されていてもよい。
このような伝熱プレートは、特許文献1に開示されているような円弧又は楕円弧を主構成要素とするパターン、矩形及び多角形の一部等の平面を主な構成要素とするパターン、或いはこれらが組み合わされたパターンが連続して形成された二枚の波板を、両波板のパターンの端に形成される凸縁で互いに接合することによって形成することができる。又は伝熱プレートは、複数の前記伝熱管を周縁又は端縁で連結して形成することができる。又は伝熱プレートは、複数の前記伝熱管を反応容器において周縁又は端縁で接するように積み重ねて形成することができる。
伝熱プレートの形状は、反応容器の形状や大きさに応じて決められるが、一般に矩形である。また伝熱プレートの大きさは、反応容器の形状や大きさに応じて決められるが、例えば矩形の伝熱プレートである場合には、縦(すなわち伝熱管の連結高さ)が0.5〜10mであり、好ましくは0.5〜5m以下であり、さらに好ましくは0.5〜3mである。通常入手できる薄板鋼板のサイズから、伝熱プレートの縦が1.5m以上の時は、縦が1.5m未満の二枚の伝熱プレートを接合するか、組み合わせて、一枚の伝熱プレートを構成することもできる。また、横(すなわち伝熱管の長さ)が0.05〜20mであり、好ましくは通常3〜15mであり、より好ましくは6〜10mである。伝熱プレートの枚数は、反応に用いられる触媒量によって決定されるが、通常、10〜300枚である。
反応容器において隣り合う伝熱プレートは、伝熱プレートの表面の凸縁が互いに対向するように並べられてもよいし、一方の伝熱プレートの表面の凸縁が他方の伝熱プレートの表面の凹縁に対向するように並べられてもよい。隣り合う伝熱プレート間の距離は、伝熱管の横断方向において伝熱プレート間に3〜40mmの幅の隙間が形成されるように、各伝熱プレートにおける伝熱管の長軸間の距離の平均値で23〜50mm(隣り合う伝熱プレートにおける伝熱管の幅の半値の和の1.1〜5倍)の範囲で設定することができる。
伝熱プレートにおける伝熱管は、反応容器内の通気方向に対して横断する方向に配置される。伝熱管の延出方向と反応容器内の通気方向との角度は、反応容器内において伝熱管がガスの通気方向に対して横断していれば特に限定されない。伝熱管は、反応容器内の通気方向に対して直交する方向に延出するように形成されていること、すなわち伝熱管を流れる熱媒の方向が反応容器内の通気方向に対して直交する方向であること、が、伝熱管中の熱媒の温度の調整によって原料の反応を制御する観点からより好ましい。
前記伝熱管は、伝熱管内の熱媒と伝熱管に外接する触媒層との間で熱が交換される伝熱性を有する材料で形成される。このような材料としては、例えばステンレス及びカーボンスチール、ハステロイ、チタン、アルミニウム、エンジニアリングプラスチック及び銅が挙げられる。好ましくはステンレスが用いられる。ステンレスでは、304、304L、316、及び316Lが好ましい。伝熱管の断面形状は、円形でもよいし、楕円形やラグビーボール型等の略円形でもよいし、円弧を対称に接続してなる葉形でもよいし、矩形等の多角形でもよい。伝熱管の断面形状における周縁とは、円形における周縁を意味し、伝熱管の断面形状における端縁とは、略円形における長軸端の縁や、多角形における一角の縁を意味する。
一枚の伝熱プレート中の複数の伝熱管のそれぞれにおける断面の形状及び大きさは、一定であってもよいし異なっていてもよい。伝熱管の断面形状の大きさは、例えば伝熱管の幅が3〜50mmであり、伝熱管の高さが10〜100mmである。
前記プレート式反応器において、隣り合う伝熱プレート間の隙間には触媒が充填される。前記触媒には、気相反応で管又は伝熱プレート間の隙間に充填される通常の粒状の触媒を用いることができる。触媒は一種でも二種以上でもよい。このような触媒としては、例えば粒径(最長径)が1〜20mmである触媒が挙げられる。また触媒の形状としては、例えば球状、円柱状、ラシヒリング状が挙げられる。
前記反応容器は、ガスの通気方向において、前記複数の伝熱プレートにおける両端を覆い、隣り合う伝熱プレート間の隙間にガスを流通させるガス分配部と、前記伝熱プレートにおける前記伝熱管の両端に当接して前記伝熱管に熱媒を供給する熱媒供給部と、前記伝熱プレートが並ぶ方向における両端の伝熱プレートに、少なくとも伝熱管の延出方向に沿ってガスの通気を遮断するように当接して、前記複数の伝熱プレートを伝熱プレートが並ぶ方向に挟持するプレート挟持部とを有する。
前記ガス分配部は、例えば、前記複数の伝熱プレートの端部に離間する覆いを形成し、前記熱媒供給部及びプレート挟持部が形成する反応容器の側壁の両端を密閉する反応容器カバーと、原料ガスが供給され、又は反応生成ガスが排出されるガスの通気口とから構成することができる。前記反応容器カバーには、ドーム形状、円錐形状、四角垂形状、かまぼこ形状、三角柱形状、筐体等の種々の形状のカバーを用いることができる。また前記通気口には、例えば反応容器カバーに開口するノズルとその端部に形成されるフランジとを有する通常の通気口を用いることができる。前記反応容器カバーは、前記反応容器の側壁に対して通常は一対が設けられ、これらは同一であってもよいし異なっていてもよい。ま
た前記通気口は、反応容器カバーに通常は一つ設けられるが、複数設けられていてもよい。さらに前記通気口は、プレート式反応器において通常は一対設けられるが、これらは同一であってもよいし異なっていてもよい。
前記ガス分配部は、マンホールをさらに有することが、触媒の充填作業、及びプレート式反応器の停止期間中の点検等の保守点検作業の際に作業者が反応容器内部に入れることから好ましい。マンホールには、反応容器においてこのような作業のために設けられる通常のマンホールを用いることができる。マンホールは、一体のガス分配部に対し、通常は一つ設けられるが、複数設けられてもよい。
前記ガス分配部は、反応容器内の圧力の上昇によるプレート式反応器の損傷を防止するための安全装置をさらに有することが、例えば反応ガスの圧力が異常に急上昇した時や異常反応が起こった時にプレート式反応器の内のガスをプレート式反応器外に、安全に、緊急に放出してプレート式反応器の損傷を防ぐ観点から好ましい。安全装置には、反応容器においてこのような用途で設けられる通常の装置を用いることができる。安全装置は、一体のガス分配部に対し、通常は一つ設けられるが、複数設けられてもよい。安全装置としては、例えば安全弁及び破裂板が挙げられる。
前記熱媒供給部には、プレート式反応器において、前記伝熱管に熱媒を供給するための通常の装置を用いることができる。熱媒供給部は、複数の伝熱管の全てに一方向に熱媒を供給する装置であってもよいし、複数の伝熱管の一部に一方向に熱媒を供給し、複数の伝熱管の他の一部には逆方向に熱媒を供給する装置であってもよい。熱媒供給部は、前記伝熱管を介して反応容器の内外で熱媒を循環させる装置であることが好ましい。
前記熱媒供給部は、熱媒の温度を調整する装置を有することが、反応容器における反応を制御する観点から好ましい。熱媒の温度を調整する熱媒供給部としては、このような熱媒を用いる各種反応器に用いられる、温度の異なる熱媒を混合することができる装置が挙げられ、例えば熱媒供給部中の第一の熱媒に第二の熱媒を混合する熱媒混合装置が挙げられる。
前記熱媒混合装置には、例えば熱媒供給部内に突出し、熱媒供給部内に熱媒を分散して供給することができる分配管、熱媒供給部内に設けられる通液板、及び通称スタティックミキサーと呼ばれる静止型混合器を用いることができる。前記分配管としては、例えば分配管の長手方向に沿って管壁にスリットや孔のような複数の通液口を有する分配管、及び通液口を有する枝管をさらに有する分配管が挙げられる。
前記分配管は、熱媒供給部内における熱媒の流れ方向に対して直交する方向に延出して設けられることが好ましく、枝管を有する分配管は、主管と枝管とを有し、これらが共に熱媒供給部内における熱媒の流れ方向に対して直交する方向に延出して設けられ、かつ主管と枝管の延出方向が互いに直交するように設けられることが、異なる温度の熱媒の分散における効率の向上及び圧力損失の抑制の観点から好ましい。
前記プレート挟持部は、最も外側の伝熱プレートとの間においてガスが流通しないように最も外側の伝熱プレートに接する部材である。プレート挟持部は、接する伝熱プレートに向けて、またその反対方向へも変形しない部材であることが好ましい。
挟持する伝熱プレートとの間の隙間にガスを流通させないプレート挟持部としては、例えば、前記複数の伝熱プレートが並ぶ方向における両端の伝熱プレートに、前記伝熱プレートの、ガスの通気方向における上流端の伝熱管の周縁に当接するプレート挟持部が挙げられる。このようなプレート挟持部は、伝熱プレートとプレート挟持部との間の隙間にお
けるガスの滞留部の形成を防止する観点から好ましい。
また挟持方向における変形を生じないプレート挟持部としては、プレート式反応器における反応に対する十分な耐熱性と機械的強度とを有する一対の挟持板によって、複数の伝熱プレートを挟持するプレート挟持部が挙げられる。前記挟持板としては、例えば、ステンレス等の鋼板、及びセラミックス等の無機材料の板が挙げられる。挟持板の板厚は、反応ガスの圧力や伝熱プレートの面積によって異なるが、10〜300mmであることが好ましい。このようなプレート挟持部は、内外の圧力差による変形や熱応力による変形を抑制する観点、及び製造の容易さの観点から好ましい。また前記挟持板は、十分な機械的強度と反応容器の密閉性とが得られる範囲において、格子や複数の孔等の開口部を有していてもよい。このような挟持板は、挟持板の重量を軽減する観点から好ましい。
また前記プレート挟持部は、複数の伝熱プレートを挟持する位置に固定されていてもよいし、挟持する方向に向けて複数の伝熱プレートに対して相対的に移動可能であってもよい。
複数の伝熱プレートに対して相対的に移動可能なプレート挟持部としては、例えば、前記複数の伝熱プレートが並ぶ方向における両端の伝熱プレートの少なくとも一本の伝熱管に、伝熱管の延出方向において伝熱管全体に当接する一対の挟持板と、これらの挟持板を貫通して保持する保持棒とから構成されるプレート挟持部が挙げられる。保持棒は、所定の間隔で挟持板を対向方向に連結することができる部材である。このような保持棒としては、例えば少なくとも先端部にナットが螺着可能なネジを有するステンレス等の鋼材による棒が挙げられる。保持棒の材質は伝熱プレートや仕切りと同じ材料であることが好ましい。保持棒の直径は、反応ガスの圧力や保持棒の本数によっても異なるが、20〜100mmであることが好ましい。保持棒の本数は10〜50本であることが好ましく、設置間隔は20〜100cmであることが好ましい。このようなプレート挟持部は、挟持する伝熱プレートとの間隔を微調整する観点、触媒の充填やプレート式反応器内部の点検時における足場を容易に設置する観点、及び他の条件のプレート式反応器への転用が可能である観点から好ましい。
前記反応容器は、前記ガス分配部と、前記熱媒供給部と、前記プレート挟持部とが、前記複数の伝熱プレートを収容するように気密に接合されて構成される。これらの気密な接合は、隣接する部材を気密に接合する通常の技術を用いて行うことができ、例えば、隣接する各部材を溶接することによって行ってもよいし、隣接する各部材をガスケット等のシールを介してシールに向けて付勢して行ってもよい。
本発明のプレート式反応器は、前述した構成要素以外の他の構成要素をさらに有していてもよい。このような他の構成要素としては、例えば、隣り合う伝熱プレート間の隙間を複数の区画に仕切る仕切り、及び前記複数の伝熱プレートの一端又は両端に設けられる触媒保護カバーが挙げられる。
前記仕切りは、隣り合う伝熱プレート間の隙間に、反応容器内の通気方向に沿って設けられ、前記隙間に複数の区画を形成する。前記仕切りは、各区画に触媒が充填されたときに、各区画に触媒を保持することができる部材であればよい。前記仕切りは、伝熱プレートと同じ材料で形成されることが好ましく、伝熱性を有することが好ましく、反応容器における反応に対する反応性を有さないことが好ましく、反応容器における反応が発熱反応である場合には耐熱性を有することが好ましい。また前記仕切りは、各区画内に充填された触媒を保持する観点、及び伝熱プレート間の距離を保つスペーサとして機能させる観点から、剛性を有することが好ましい。剛性を有する仕切りは、特に挟持板と保持棒によって、伝熱プレートを連結するとき、保持棒の締め付け力に対抗し、触媒を保護するスペー
サとして、より好ましい。このような仕切りとしては、例えば、ステンレス製或いはカーボンスチール製の板、角棒、丸棒、網、グラスウール、及びセラミック板が挙げられる。
前記仕切りの形状は、各仕切りによって形成される区画に触媒が保持される形状であればよく、伝熱管と接する形状であってもよいし、密着する形状であってもよい。さらに前記仕切りは、それぞれの伝熱管の外壁の表面に接する形状であることが、各区画内に充填された触媒を保持する観点から好ましく、伝熱管の外壁の表面に密着する形状であることがより好ましい。また前記仕切りは、正面図が隣り合う伝熱プレート間の最短距離の幅を有する四角形となる形状であることが、仕切りを容易に設置する観点から好ましい。
前記仕切りは、仕切りによって形成される区画の容積が、一区画への触媒の充填を正確かつ容易に行うことができる観点から、1〜500Lとなる間隔で設けられることが好ましい。仕切りによって形成される区画のそれぞれの容積は、同一であってもよいし異なっていてもよいが、全区画への触媒の正確かつ容易な充填の観点から同一であることが好ましい。前記一区画の容積は、1〜100Lが好ましく、1.5〜30Lであることがより好ましく、2〜15Lであることが特に好ましい。仕切りの設置間隔は5cm〜2mであることが好ましく、10cm〜1mであることがより好ましく、20〜50cmであることがさらに好ましい。
前記仕切りは、仕切りの性状に応じて適宜に伝熱プレート間の隙間に設けることができる。例えば可撓性を有する仕切りや、伝熱プレート間の最短距離の幅を有する形状の仕切りは、予め反応容器に設置されている複数の伝熱プレートにおける隣り合う伝熱プレート間の隙間に挿入することによって伝熱プレート間の隙間に設けることができる。可撓性を有する仕切りや伝熱プレートの伝熱管の外縁に接しない部分を有する仕切りを使用するときは、別途、伝熱プレートの間隔を保持するスペーサ、又はスペーサとなる仕切りをさらに使用することが好ましい。また、伝熱プレートの表面に密着する形状の仕切りは、反応容器に伝熱プレートを設置する際に、伝熱プレートと仕切りとを交互に設置することによって伝熱プレート間の隙間に設けることができる。
なお、前記仕切りが伝熱プレートの表面に密着しない形状に形成されている場合では、触媒の形状は、伝熱プレートと仕切りとの隙間よりも触媒の最短径が大きい形状であることが、前記区画からの触媒の漏洩を防止する観点から好ましい。
隣り合う伝熱プレート間の隙間への触媒の充填は、各区画への触媒の充填によって行われる。各区画には、一区画の容量と同量の触媒を一区画に連続して又は断続的に充填することによって、触媒を充填することができる。触媒の適切な充填状態は、例えば区画間における充填された触媒(触媒層)の天面の位置の対比や、各区画における前記天面の実測値と各区画の前記天面の計算値との比較によって判断することができる。
なお、前記プレート挟持部が、前記保持棒を有する場合では、保持棒が、ガスの通気方向において、前記仕切りに重なる位置に配置されることが、プレート挟持部で挟持されている複数の伝熱プレートの伝熱プレート間の隙間に触媒を迅速に充填する観点から好ましい。
前記触媒保護カバーは、通気性を有し、必要に応じて前記隙間に触媒を保持することができ、ガスの通気方向における前記複数の伝熱プレートの一端又は両端を覆う部材である。触媒保護カバーは、伝熱プレートからの触媒の漏出や伝熱プレート間の触媒への異物の混入を防止する観点から好ましい。また、触媒保護カバーは、可撓性を有する部材であってもよいし、変形しない剛性を有する部材であってもよい。また触媒保護カバーは、複数の伝熱プレートの端部全体を覆う部材であってもよいし、複数の伝熱プレートの端部を部
分的に(例えば前記区画毎に)覆う複数の部材であってもよい。このような触媒保護カバーとしては、例えば耐熱性を有するネット、作業用の足場に用いられる穴あき板、ガスの通気方向における前記区画の一端又は両端に着脱自在に設けられる、通気性を有する栓が挙げられる。
本発明のプレート式反応器は、固相の触媒の存在下で気相の原料を反応させる反応に用いることができ、特に、使用時の反応器内の温度と準備や点検のための作業が行われる常温との差が大きい条件での使用や、原料ガスや生成ガスが使用時の条件に長期に晒されることによるこれらのガスの変質が反応器の損傷を生じ得る条件で用いる場合、原料ガス成分の反応に伴う反応熱が著しく大きくて熱によって触媒の劣化が起こりやすく、触媒層の温度管理が重要な場合に、より顕著に効果を奏する。
このような観点から、本発明のプレート式反応器は、反応生成物を製造する方法において、固定床触媒反応器で、熱媒体で反応熱を制御しながら、反応を行うことで反応成績を向上させる効果が得られる種類の反応に好適に用いられる。すなわち気相接触酸化反応である、メタクロレイン及びメタクリル酸の少なくとも一方、アクロレイン及びアクリル酸の少なくとも一方、マレイン酸、フタル酸、酸化エチレンを製造する方法、酸化脱水素反応によるブタジエンを製造する方法、及び吸熱反応の反応熱を補うことによって反応転化率を向上することができるスチレンの製造方法における反応器として好適に用いることができる。
特に、気相接触酸化反応によるアクリル酸又はメタクリル酸((メタ)アクリル酸)の製造に特に好適に用いることができる。すなわち、プロピレン及びアクロレインの一方又は両方、或いはイソブチレン及びメタクロレインの一方又は両方を、分子状酸素含有ガスを用いて触媒の存在下で酸化して(メタ)アクロレイン(アクロレイン又はメタクロレイン)及び(メタ)アクリル酸の一方又は両方を製造する方法において、本発明のプレート式反応器を好適に用いることができる。
また、液相反応においても、固定床触媒反応器を用い、反応熱による温度上昇が触媒の劣化を促進する場合や副生成物の生成を助長する場合にも適用が可能なことがある。
本質的に、本発明の製造方法は、隣り合う2枚の伝熱プレートの間に形成された触媒層を備えたプレート式反応器に対して適用することができ、前記プレート式反応器は熱交換能を有しており、反応器に熱交換機能を必要とする発熱反応又は吸熱反応に用いることができる。プレート式反応器を使用して反応生成物を製造する反応事例としては発熱反応の場合と吸熱反応の場合が挙げられる。本発明の製造方法に適用可能な反応は、発熱又は吸熱を伴う反応であれば特に限定されず、以下に示すものが好適に例示できる。
本発明の製造方法に適用可能な反応のうち、固定床触媒反応器が採用され、発熱を伴う反応としては、(1)エチレンと酸素から酸化エチレンを生成する反応、(2)炭素数3及び4の炭化水素、並びにターシャリーブタノールからなる群から選ばれる反応原料ガスの少なくとも1種、または、炭素数3及び4の不飽和脂肪族アルデヒドからなる群から選ばれる反応原料ガスの少なくとも1種と、酸素から、炭素数3及び4の不飽和脂肪族アルデヒド、並びに炭素数3及び4の不飽和脂肪酸からなる群から選ばれる少なくとも一種の反応生成物を生成する反応、(3)炭素数4以上の脂肪族炭化水素と、酸素からマレイン酸
を生成する反応、(4)o−キシレンと酸素からフタル酸 を生成する反応、(5)オレフィンの水素化によりパラフィンを生成する反応、(6)カルボニル化合物の水素化によりアルコールを生成する反応、(7)クメンハイドロパーオキサイドの酸分解によりアセトンとフェノールを生成する反応、(8)ブテンの酸化脱水素によるブタジエンの製造が挙げられる。
一方、吸熱を伴う反応としては、エチルベンゼンの脱水素によりスチレンを生成する反応が挙げられる。
本発明の製造方法を用いて製造される反応生成物としては、メタクロレイン及びメタクリル酸の少なくとも一方、アクロレイン及びアクリル酸の少なくとも一方、マレイン酸、フタル酸、スチレン、酸化エチレン、及びブタジエンが好適に例示される。また、これら反応生成物を得るための反応条件は、公知の反応条件を適用することが可能である。
例えば、(メタ)アクリル酸の製造は、反応器として本発明のプレート式反応器を用いる以外は、特開2003−252807号公報に記載されているような、プロパン、プロピレン又はイソブチレンを触媒の存在下で分子状酸素又はそれを含有するガスを用いて酸化する公知の方法によって行うことができる。また前記触媒には、同公報に記載されているような、Mo−V−Te系複合酸化物触媒、Mo−V−Sb系複合酸化物触媒、Mo−Bi系複合酸化物触媒、及びMo−V系複合酸化物触媒等の、(メタ)アクリル酸を生成する気相接触酸化反応での使用において公知の触媒を公知の用法で用いることができる。
以下、本発明のプレート式反応器を、図面を用いてより具体的に説明する。
本発明のプレート式反応器は、例えば図1〜4に示すように、伝熱管1を有し、前記反応容器内に並んで設けられる複数の伝熱プレート2と、伝熱プレート2が並ぶ方向における両端の伝熱プレート2に、少なくとも伝熱管1の延出方向に沿って当接して、複数の伝熱プレート2を伝熱プレート2が並ぶ方向に挟持する一対の挟持板3及びこれらの挟持板を連結する複数の保持棒4と、伝熱プレート2における伝熱管1の両端に当接して伝熱管1に熱媒を供給する熱媒供給部5と、ガスの通気方向において、複数の伝熱プレート2における両端を覆い、隣り合う伝熱プレート2間の隙間にガスを流通させるガス分配部6と、隣り合う伝熱プレート2間の隙間を、ガスの通気方向に沿って、充填された触媒を収容する複数の区画に仕切る仕切り7と、各区画の下端を塞ぐ不図示の通気栓とを有する。一対の挟持板3及び保持棒4は前記プレート挟持部を構成している。隣り合う伝熱プレート2間の隙間の各区画には触媒が充填される。
伝熱管1は、例えば長径(L)が30〜50mmであり短径(H)が10〜20mmの断面形状が円弧、楕円弧、矩形及び多角形の一部を主構成要素とする形状である管である。図5には、円弧を断面形状の構成要素とする、断面形状が葉形の伝熱管を示している。図5中、伝熱管の長径をL、短径をHで表す。
伝熱プレート2は、複数の伝熱管2が断面形状の端縁で連結した形状を有している。伝熱プレート2は、楕円弧が連続して形成された二枚の波板を両波板の弧の端に形成される凸縁で互いに接合することによって形成されている。隣り合う伝熱プレート2は、表面の凸縁同士が対向するように並列していてもよいが、図1のプレート式反応器では、一方の伝熱プレート2の表面の凸縁と、他方の伝熱プレート2の表面の凹縁とが対向するように並列している。
伝熱プレート2は、全て同じ伝熱管1で構成してもよいし、断面の大きさが異なる伝熱管1によって構成してもよい。例えば伝熱プレート2は、断面の大きさが異なる三種の伝熱管のそれぞれによって、伝熱プレート2の上部、中部、及び下部が構成されていてもよい。より具体的には、伝熱プレート2は、三種の伝熱管のそれぞれの長軸が一直線上に配置されるように形成され、例えば、伝熱プレート2の上部は、伝熱プレート2の高さの20%分が最も断面の大きさが大きい伝熱管aで構成され、伝熱プレート2の中部は、伝熱プレート2の高さの30%分が二番目に断面の大きさが大きい伝熱管bで構成され、伝熱
プレート2の下部は、伝熱プレート2の高さの40%分が最も断面の大きさの小さい伝熱管cで構成され、伝熱プレート2の高さの10%分は、伝熱プレート2の上端部及び下端部の接合板部で形成されていてもよい。伝熱管aの断面形状としては、例えば長径(L)が50mmであり、短径(H)が20mmの葉形であり、伝熱管bの断面形状は、例えば長径(L)が40mmであり、短径(H)が16mmの葉形であり、伝熱管cの断面形状は、例えば長径(L)が30mmであり、短径(H)が10mmの葉形である。
伝熱プレート2は、同じ間隔で並列していてもよいし、異なる間隔で並列していてもよい。例えば伝熱プレート2は、伝熱管aの外壁間の最短距離が14mm(各伝熱プレート2の伝熱管の長軸間の距離が30mm)の等間隔で並列している。
挟持板3は、図6に示すように、一対の板であり、例えばステンレス製の一対の板である。挟持板3は、縁部で保持棒4によって結合することができるように、伝熱プレート2よりも大きく形成されている。
保持棒4は、図1及び図6に示すように、一対の挟持板3を貫通して連結する複数の棒であり、例えば両端部にネジを有するステンレス製の棒である。挟持板3は、図1及び図2に示すように、保持棒4の両端部において、伝熱プレート2の上部の伝熱管1(前記伝熱管a)の外周に接する位置に、ナットによって固定される。挟持板3は、保持棒4のネジの設置長さの範囲で、伝熱プレート2を挟持する方向において位置を変えて固定することができる。また保持棒4は、図6に示すように、上下方向において、伝熱プレート2間の隙間に配置される仕切り7と重なる位置に配置されている。
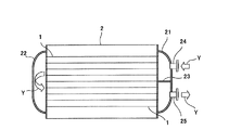
熱媒供給部5は、図3に示すように、伝熱プレート2の伝熱管1の両端に接する一対の容器であり、例えば接する伝熱管1に対応する開口部を有するステンレス製のジャケットである。熱媒供給部5は、一対のジャケットのうちの一方又は両方にノズル8を有する。ノズル8を介して、熱媒は前記ジャケットに供給され、また前記ジャケットから排出される。熱媒供給部5は、例えば図3中の矢印Yで示されるように、一方のジャケットから他方のジャケットへ熱媒が全ての伝熱管1において一方向に流れるように設けられている。なお、熱媒供給部5は、ネジ及びナット等の通常の固定部材と、ガスケット等のシールとを用いて、挟持板3の側縁部において、挟持板3と互いに気密に接合することができる。
ガス分配部6は、図1及び図2に示すように、挟持板3の上端縁と前記ジャケットの上端縁、及び挟持板3の下端縁と前記ジャケットの下端縁、のそれぞれに、例えば前記固定部材とシールとを用いて気密に接合して複数の伝熱プレート2の両端を覆う一対の部材である。ガス分配部6は、例えば、かまぼこ型のステンレス製の蓋である。ガス分配部6は、前記蓋のそれぞれに、ノズル9とマンホール10とを有する。一方の蓋のノズル9を介して、ガスが伝熱プレート2間の隙間に向けて供給され、また前記隙間から他方の蓋のノズル9を介してガスが排出される。マンホール10は、ガス分配部6が設置された状態でガス分配部6に対して作業員が出入りするための開閉扉である。ノズル9及びマンホール10の配置は特に限定されないが、ガス分配部6がかまぼこ型の蓋である場合では、例えば図2に示すように、ノズル9は蓋の一端部に設けられ、マンホール10は蓋の他端部に設けられる。さらにガス分配部6には、圧力の異常な急上昇時や異常反応時の安全対策として、安全弁や破裂版等の不図示の安全装置が、入口部及び/或いは出口部のガス分配部6の本体やノズル9に設置される。
仕切り7は、隣り合う伝熱プレート2の間を、プレート式反応器におけるガスの通気方向Xに沿って設けられている。仕切り7は、プレート式反応器全体において同じ間隔で設けられていてもよいし、異なる間隔で設けられていてもよい。仕切り7は、例えば400mmの同じ間隔で並列して設けられ、伝熱プレート2間の隙間に12Lの容積の複数の区
画を形成している。
仕切り7には、各区画に触媒が充填されたときに、充填された触媒を各区画に保持することができる部材が用いられる。仕切り7には、例えば図7〜9に示すように、伝熱プレート2の表面の凹凸に密着する側縁を有する形状の板や網を用いることができる。
また仕切り7には、各区画に充填された触媒が仕切り7との間の隙間から隣り合う区画に漏れなければ、隣り合う伝熱プレート2の上部の伝熱管(前記の伝熱管a)に接し、伝熱プレート2における他の伝熱管の凸縁及び凹縁には当接しない部材を用いることができる。例えば仕切り7には、図10及び11に示すように、隣り合う伝熱プレート2間の最短距離の直径又は幅を有する丸棒や角棒を用いることができる。
さらに仕切り7は、図8に示すように、充填される触媒の粒の大きさよりも小さな目を有する網であってもよいし、各区画に充填された触媒が隣り合う区画に漏れなければ、図9に示すように、より大きな目(例えば触媒の最短径の0.8倍以下)を有する網であってもよい。
隣り合う二枚の伝熱プレート2が、一方の伝熱プレート2の凸縁に他方の伝熱プレート2の凹縁が対向するように並列する場合では、仕切り7には、図12に示すように、仕切り7の側縁が、伝熱プレート2の凹縁に向けて突出し、伝熱プレート2の凸縁から離間するジグザグ型の板や網を用いることができる。このような仕切り7は、一方の凸縁に他方の凹縁が対向するように並列する二枚の伝熱プレート2の距離(各伝熱プレート2における伝熱管1の長軸間の距離の平均値)が、各伝熱プレート2における伝熱管の最大の短径の半値の和の0.9〜1.5倍であるときに、好適に用いることができる。
図7〜9及び12に示すような、伝熱プレート2の表面の凹凸に接する側縁を有する形状の仕切り7は、伝熱プレート2を整列させる際に、伝熱プレート2とそれに当接する仕切り7とを交互に設置することによって二枚の伝熱プレート2間に設けられる。図10及び11に示すような、隣り合う伝熱プレート2間の最短距離の直径又は幅を有する仕切り7は、伝熱プレート2とそれに当接する仕切り7とを交互に設置することによって二枚の伝熱プレート2間に設けてもよいし、既に併設されている伝熱プレート2の隣り合う伝熱プレート2の間に挿入することによって設けてもよい。網又は薄い鋼板のように可撓性を有する仕切り7は、既に併設されている伝熱プレート2の隣り合う伝熱プレート2の間に挿入することによって設けることも可能である。
図1のプレート式反応器は、例えば、複数の伝熱プレート2を、必要に応じて仕切り7と交互に並べて、所定の間隔の隙間を有して整列させ、伝熱プレート2の整列した方向において挟持板3が伝熱プレート2の上部の伝熱管1の長手方向における全ての周縁に接するように挟持板3で複数の伝熱プレート2を挟持し、複数の伝熱プレート2を挟持している位置において挟持板3を保持棒4によって固定し、伝熱管1の延出方向において伝熱管1に接するように熱媒供給部5を配置し、挟持板3と互いに気密に固定することによって伝熱管1に接する位置において熱媒供給部5を固定し、挟持板3及び熱媒供給部5の上端縁と下端縁のそれぞれが形成する開口をガス分配部6で密閉し、伝熱プレート2間の隙間に形成された各区画の下端を前記通気栓で塞ぐことによって構成することができる。通気栓は、ガス分配部6による密閉の前に設置してもよい。
伝熱プレート2間への触媒の充填は、マンホール10を介してプレート式反応器内の上部に機材を搬入し、必要に応じて保持棒4上に作業用の足場を組み、各区画へ触媒の充填することによって行われる。伝熱プレート2と仕切り7とによって形成されている区画は全て同じ容積を有していることから、一区画の容量と同等の容量(例えば一区画の容量に
対して95〜100%の体積)の触媒が各区画に充填される。
触媒の良好な充填状態は、触媒の充填高さの理論値と実測値との比較(例えば理論値に対する実測値の誤差が10%以内)や、各区画間での触媒の充填高さの比較(例えば各区画間の充填高さの差が充填高さの2%以内)によって判断することができる。
充填された触媒は、例えば作業員が下部の蓋のマンホール10からプレート式反応器の内部に入り、前記通気栓を区画の下端から外すことによって抜き出すことができる。
プロパン又はプロピレンから気相接触酸化反応によりアクロレインを生成し、得られたアクロレインからさらに気相接触酸化反応によりアクリル酸を生成する場合の、前者の気相接触酸化反応に前記プレート式反応器を用いる場合では、例えば特開2003−151807号公報に記載されているような、原子比がMo:Bi:Co:Fe:Na:B:K:Si:O=12:1:0.6:7:0.1:0.2:0.1:18:X(但しXはそれぞれの金属元素の酸化状態により定まる値である)のMo−Bi系複合酸化物触媒が伝熱プレート2間に充填される。また伝熱プレート2の上方のノズル9から、プロピレン、空気、及び水蒸気からなる原料ガスが供給され、300〜350℃の熱媒が熱媒供給部5から各伝熱管1に供給される。反応時におけるプレート式反応器の内圧は例えば150〜200kPa(キロパスカル)である。
原料ガス中のプロピレンは、伝熱プレート2間における触媒層をX方向に通過する際に酸化されてアクロレイン及びアクリル酸となる。酸化に伴う発熱は伝熱管1内を流れる熱媒に吸収され、生成したアクロレイン及びアクリル酸は伝熱プレート2の下方のノズル9から排出される。
前記プレート式反応器では、挟持板3の表面と伝熱プレート2の上部の伝熱管1(前記伝熱管a)の表面とが接していることから、伝熱プレート2と挟持板3との間の隙間におけるガスの通気が遮断されるが、挟持板3に接する伝熱プレート2の上端からその伝熱プレート2における最上流の位置の伝熱管1までに隙間が生じ、この上部の隙間に原料ガスが滞留し得る。また前記プレート式反応器では、挟持板3に接する伝熱プレート2の下端からその伝熱プレート2における中部の伝熱管1までに隙間が生じ、この下部の隙間に生成ガスが滞留し得る。
しかしながら、これらの隙間は、伝熱プレート2の幅と同じ長さを有するものの、上部の隙間の幅は伝熱管aの幅の半値程度であり、下部の隙間の幅は、伝熱管aの幅の半値と伝熱管b及びcの幅の半値程度である。すなわち前記プレート式反応器には、挟持板3とそれに接する伝熱プレート2との間に、反応容器の内容積に対して非常に小さい(薄い)隙間しか形成されない。したがって、原料ガスや生成ガスの変質が生じたとしてもその影響は極めて小さいことから、反応容器内のガスの滞留に起因するプレート式反応器の損傷が防がれる。前記隙間には、この隙間を埋めるために、粘土やセメント等の無機物を詰めることが可能であり、あるいは伝熱プレートに対向する挟持板の一面に、伝熱プレートの凹凸に対応する凹凸を設けることが可能である。
また、供給される原料ガスは、通常、大気圧より高い圧力であり、原料ガスや生成ガスの変質等の原因によってプレート式反応器の内部の圧力が非常に高くなる場合がある。この場合では、プレート式反応器内のガスが前記安全装置から速やかに外部に放出され、圧力の急な上昇によるプレート式反応器の損傷が予防される。
なお、挟持板は反応時の圧力がかかる状態においても伝熱プレート2を保持する必要がある。伝熱プレート2が大きくなると、挟持板には全体として強い力がかかる。この場合
、挟持板の板厚が厚くなり、挟持板の重量が大きくなることも考えられる。この場合、保持棒4を支える部分以外は格子状の板のように、十分に補強されている構造の板を用いることによって、前記の圧力のかかる反応時においても伝熱プレート2を支えることが可能である。
したがって前記プレート式反応器では、挟持板3に代えて、図13に示すような、矩形の板の中央部に矩形の開口を有する枠と、枠の開口の全体にわたって設けられ、枠の内側の辺に対して斜めに延出しかつ交差する格子とからなる、中央部に開口を有するか薄い板厚の挟持板13を用いることができる。挟持板13は、前記枠と伝熱管a及び伝熱管cの周縁とが、伝熱管の長手方向の全体で接するようにナットによって固定されて、伝熱プレート2を挟持している。このような挟持板13によれば、伝熱プレート2と挟持板13との間のガスの通気を遮断することができ、十分な機械的強度を確保することができ、挟持板に要する鋼材の量を削減することができ、かつ挟持板3の使用に比べてガスの滞留部をさらに小さくすることができる。
また、前記プレート式反応器では、熱媒供給部5に代えて、図14に示すような、熱媒が供給され、また排出される第一のジャケット21と、伝熱管1から排出された熱媒を他の伝熱管1に供給する流路を形成する第二のジャケット22とからなる熱媒供給部を用いることができる。第一のジャケット21は、設置したときの高さ方向に二つの室を形成するように内部を分割する流路分離板23と、形成されたそれぞれの室に設けられるノズル24、25とを有する。第二のジャケット22は、ノズル及び流路分離板を有さず、全体で一つの室を形成する。
このような熱媒供給部によれば、第一のジャケット21における第一室にノズル24を介して供給された熱媒が、例えば伝熱プレート2の上部の伝熱管1(前記伝熱管a)を通って第二のジャケット22に供給され、第二のジャケット22において反転して伝熱プレートの中部及び下部の伝熱管1(前記伝熱管b及びc)を通って第一のジャケット21における第二室に供給され、ノズル25を介して外部に排出される。(メタ)アクリル酸の製造における気相接触酸化反応に前記プレート式反応器を用いる場合では、この反応は発熱反応であることから、伝熱管aを通る熱媒は初期の大きな反応熱を吸収して加熱され、初期の温度よりも高い温度の熱媒となって伝熱管b及びcを流れる。このように前記熱媒供給部は、一種類の熱媒の供給により、触媒層において温度の異なる二つの反応帯域を形成することができる。外部に排出された熱媒体は、熱交換器からなる温度制御装置(図には示されていない)によって、温度が調整された後、再度、プレート式反応器の例えばジャケット21のノズル24に循環される。
なお、流路分離板23を第一の流路分離板とし、第一のジャケット21において第一の流路分離板とノズル25との間に第二の流路分離板を配置し、第二のジャケット22において、前記高さ方向における第一及び第二の流路分離板と第二の流路分離板との間に、第二のジャケット22内に二つの室を形成する第三の流路分離板を設けることによって、第一及び第二のジャケット21、22間を熱媒が二往復する熱媒の流路を形成することができる。同様にして第一及び第二のジャケットにさらに流路分離板を配置することによって、一種類の熱媒の供給により、触媒層において温度の異なる複数の反応帯域を形成することができる。
また、前記プレート式反応器には、熱媒供給部5に代えて、図14に示すような、熱媒混合装置をさらに有する熱媒供給部を用いることができる。熱媒混合装置は、ジャケット内外を連通するさらなるノズル31と、ジャケット内部においてノズル31に連結し、ジャケット内の熱媒の流れ方向に対して直交する方向に延出する分配管32とを有する。分配管32は、例えば先端が塞がれており、分配管の長手方向の全体にわたって複数の孔が
設けられている管である。
このような熱媒供給部によれば、ジャケット内の熱媒とは温度の異なる熱媒を分配管32から供給することによって、分配管32からの熱媒がジャケット内の熱媒に速やかに混合し、ジャケット内の熱媒の温度を調整することができる。前記プレート式反応器には、第一のジャケット21の前記第二室及び第二のジャケット22の一方又は両方に前記分配管を有する熱媒供給部等の、前述した流路分離板と前記分配管との両方を有する熱媒供給部を用いることもできる。
なお、仕切り7は、例えば伝熱プレート2の端部に設けられた孔や輪のような係合部に掛かるフックを有し、このフックを係合部に係止することによって仕切り7を張設することによって、隣り合う伝熱プレート2間の隙間に設けることも可能である。このような構成によれば、グラスウール等の保形性を有さない材料を仕切り7に用いることができる。
また、作業用の足場、充填された触媒の保護、及び供給されるガスの分配の目的で、複数の伝熱プレート2の上方の保持棒4上に穴あき板を配置してもよい。穴あき板には、作業用の足場として十分な機械的強度を有する共に、例えば充填される触媒の最長径に対して0.20〜0.99倍の径を有する孔が20〜50%の開口率で設けられている一枚以上の板を用いることができる。
前記プレート式反応器は、複数の伝熱プレート2を、一対の挟持板3によって挟持して保持する。挟持板3は、伝熱プレート2の上部の伝熱管の外表面で伝熱プレート2と接することから、ガスが滞留する隙間が伝熱プレート2と反応容器との間には実質的には形成されない。したがって、前記プレート式反応器は、滞留するガスの燃焼や変質による伝熱プレート2の破損を防止することができる。
また前記プレート式反応器は、ガスの通気方向に沿って、充填された触媒を収容する複数の区画に仕切る仕切り7を有することから、伝熱プレート2間の隙間に触媒を容易に均一に充填することができる。
また前記プレート式反応器は、各区画の下端を塞ぐ通気栓を有することから、前記隙間に充填された触媒を区画毎に抜き出すことができる。したがって、交換や再充填が必要な触媒層の一部のみを区画毎に抜き出すことができることから、触媒の均一な充填や触媒の交換をより迅速に行うことができる。
また前記プレート式反応器は、伝熱プレート2の上部が最も断面の大きな伝熱管によって構成され、伝熱プレート2の中部が二番目に断面の大きな伝熱管によって構成され、伝熱プレート2の下部が最も断面の小さな伝熱管によって構成されており、伝熱プレート2が等間隔に整列することから、ガスの通気方向Xにおいて上流側から下流側に向けて段階的に幅が拡大する前記隙間を形成することができる。したがって、気相接触酸化反応等の発熱反応における除熱に前記プレート式反応器を用いる場合に、ガスの通気方向Xにおける上流側の除熱効率を、ガスの流路の幅によって、下流側に比べてより高めることができる。
また前記プレート式反応器は、挟持板3が保持棒4の両端部においてナットによって固定されることから、挟持板3を、保持棒4のネジの設置長さの範囲で、伝熱プレート2を挟持する方向において、位置を変えて固定することができる。したがって、伝熱プレート2の整列による複数の伝熱プレート2の整列長さに応じて、一対の挟持板3間の距離を微調整することができる。
また前記プレート式反応器は、保持棒4が、上下方向(ガスの通気方向X)において、仕切り7と重なる位置に配置されていることから、保持棒4によって妨げられずに、各区画への触媒の充填や各区画からの触媒の抜き出しを行うことができる。したがって、触媒の充填や抜き出しを迅速に行うことができ、このような保守作業に要する時間が短縮され、その結果、プレート式反応器による製造では、アクロレイン及びアクリル酸、マレイン酸、フタル酸、スチレン、酸化エチレン、ブタジエン等の反応生成物の中期又は長期における(例えば年間における、又はプレート式反応器の総運転時間における)生産性を高めることができる。
また前記プレート式反応器は、ガス分配部6がマンホール10を有することから、プレート式反応器の端部を解体することなく触媒の充填やプレート式反応器内部の保守点検作業を行うことができる。したがって、このような保守作業に要する時間が短縮され、その結果、プレート式反応器による製造では反応生成物の中、長期における生産性をより一層高めることができる。
プレート式反応器のような反応器は、一般に保安や保守のための定期的な点検を要する。本発明のプレート式反応器は、反応容器の内部にガスが滞留する隙間を実質的に有さないことから保安の観点から優れており、また触媒の充填やプレート式反応器内部の保守点検を迅速に行うことができる。このように本発明のプレート式反応器は、保守点検を含めた長期の使用における安全性、安定性、利便性、及び生産性に優れており、産業上の利用の観点から多大な効果を奏する。
本発明のプレート式反応器の一実施の形態の構成の要部を概略的に示す図である。 図1のプレート式反応器における挟持板3を含む外観の要部を示す図である。 図1のプレート式反応器における熱媒供給部5を含む構成の要部を概略的に示す図である。 図1のプレート式反応器における整列する複数の伝熱プレート2を示す図である。 図1のプレート式反応器における伝熱プレートの一例を詳細に示す図である。 図1のプレート式反応器における、複数の伝熱プレート2とこれらを挟持する挟持板3とを部分的に示す図である。 図1のプレート式反応器に用いられる仕切り7の一例を示す図である。 図1のプレート式反応器に用いられる仕切り7の他の一例を示す図である。 図1のプレート式反応器に用いられる仕切り7の他の一例を示す図である。 図1のプレート式反応器に用いられる仕切り7の他の一例を示す図である。 図1のプレート式反応器に用いられる仕切り7の他の一例を示す図である。 図1のプレート式反応器に用いられる仕切り7の他の一例を示す図である。 図1のプレート式反応器に用いられる挟持板の他の形態を示す図である。 図1のプレート式反応器に用いられる熱媒供給部の他の形態を示す図である。 図1のプレート式反応器に用いられる熱媒供給部のさらなる他の形態を示す図である。
符号の説明
1 伝熱管
2 伝熱プレート
3、13 挟持板
4 保持棒
5 熱媒供給部
6 ガス分配部
7 仕切り
8、9、24、25、31 ノズル
10 マンホール
21 第一のジャケット
22 第二のジャケット
23 流路分離板
32 分配管
X ガスの通気方向を示す矢印
Y 熱媒が流れる方向を示す矢印

Claims (11)

  1. ガス状の原料を反応させるための反応容器と、前記反応容器内に並んで設けられる複数の伝熱プレートとを有し、
    前記伝熱プレートは、断面形状の周縁又は端縁で連結している複数の伝熱管を含み、
    隣り合う伝熱プレート間の隙間に触媒が充填されるプレート式反応器において、
    前記反応容器は、ガスの通気方向において、前記複数の伝熱プレートにおける両端を覆い、隣り合う伝熱プレート間の隙間にガスを流通させるガス分配部と、
    前記伝熱プレートにおける前記伝熱管の両端に当接して前記伝熱管に熱媒を供給する熱媒供給部と、
    前記伝熱プレートが並ぶ方向における両端の伝熱プレートに、少なくとも伝熱管の延出方向に沿ってガスの通気を遮断するように当接して、前記複数の伝熱プレートを伝熱プレートが並ぶ方向に挟持するプレート挟持部とを有し、前記ガス分配部、前記熱媒供給部、及び前記プレート挟持部が前記複数の伝熱プレートを収容するように気密に接合されて構成されることを特徴とするプレート式反応器。
  2. 前記プレート挟持部は、前記複数の伝熱プレートが並ぶ方向における両端の伝熱プレートの少なくとも一本の伝熱管に、伝熱管の延出方向において伝熱管全体に当接する一対の挟持板と、これらの挟持板を貫通して保持する保持棒とから構成されることを特徴とする請求項1に記載のプレート式反応器。
  3. 前記プレート挟持部は、前記複数の伝熱プレートが並ぶ方向における両端の伝熱プレートに、前記伝熱プレートの、ガスの通気方向における上流端の伝熱管の周縁に当接することを特徴とする請求項1又は2に記載のプレート式反応器。
  4. 隣り合う伝熱プレート間の隙間を、ガスの通気方向に沿って、充填された触媒を収容する複数の区画に仕切る仕切りをさらに有することを特徴とする請求項1〜3のいずれか一項に記載のプレート式反応器。
  5. ガスの通気方向において、前記仕切りに重なる位置に前記保持棒が配置されることを特徴とする請求項4に記載のプレート式反応器。
  6. 前記ガス分配部はマンホールをさらに有することを特徴とする請求項1〜5のいずれか一項に記載のプレート式反応器。
  7. 前記ガス分配部は、反応容器内の圧力の上昇によるプレート式反応器の損傷を防止するための安全装置をさらに有することを特徴とする請求項1〜6のいずれか一項に記載のプレート式反応器。
  8. 前記熱媒供給部は、熱媒供給部中の第一の熱媒に第二の熱媒を混合する熱媒混合装置をさらに有することを特徴とする請求項1〜7のいずれか一項に記載のプレート式反応器。
  9. ガスの通気方向における前記複数の伝熱プレートの一端又は両端を覆う通気性の触媒保護カバーをさらに有することを特徴とする請求項1〜8のいずれか一項に記載のプレート式反応器。
  10. 反応容器に複数の伝熱プレートが並んで設けられており、伝熱プレート間の隙間に触媒が充填されて触媒層が形成されるプレート式反応器を用いて、前記伝熱プレートを構成する複数の伝熱管に熱媒を供給し、前記反応容器に前記原料ガスを供給して、前記触媒の存在下で原料ガスを反応させてガス状の反応生成物を生成する工程を含む反応生成物の製造
    方法において、
    前記プレート式反応器に、請求項1〜9のいずれか一項に記載のプレート式反応器を用いることを特徴とする反応生成物の製造方法。
  11. 前記反応生成物を生成する工程が、
    エチレンを酸化して酸化エチレンを生成する工程;
    炭素数3及び4の炭化水素、ターシャリーブタノール、及び炭素数3及び4の不飽和脂肪族アルデヒドからなる群から選ばれる少なくとも1種を酸化して炭素数3及び4の不飽和脂肪族アルデヒド及び炭素数3及び4の不飽和脂肪酸の一方又は両方を生成する工程;
    炭素数4以上の脂肪族炭化水素を酸化してマレイン酸 を生成する工程;
    o−キシレンを酸化してフタル酸 を生成する工程;
    オレフィンを水素化してパラフィンを生成する工程;
    カルボニル化合物を水素化してアルコールを生成する工程;
    クメンハイドロパーオキサイドを酸分解してアセトンとフェノールを生成する工程;
    ブテンを酸化脱水素してブタジエンを生成する工程;
    エチルベンゼンを脱水素してスチレンを生成する工程;又は、
    プロピレン及びアクロレインの一方又は両方、或いはイソブチレン及びメタクロレインの一方又は両方を酸化して(メタ)アクロレイン及び(メタ)アクリル酸の一方又は両方を生成する工程;であることを特徴とする請求項10に記載の反応生成物の製造方法。
JP2008236338A 2008-09-16 2008-09-16 プレート式反応器及びそれを用いる反応生成物の製造方法 Active JP5239667B2 (ja)

Priority Applications (1)

Application Number Priority Date Filing Date Title
JP2008236338A JP5239667B2 (ja) 2008-09-16 2008-09-16 プレート式反応器及びそれを用いる反応生成物の製造方法

Applications Claiming Priority (1)

Application Number Priority Date Filing Date Title
JP2008236338A JP5239667B2 (ja) 2008-09-16 2008-09-16 プレート式反応器及びそれを用いる反応生成物の製造方法

Publications (2)

Publication Number Publication Date
JP2010069355A true JP2010069355A (ja) 2010-04-02
JP5239667B2 JP5239667B2 (ja) 2013-07-17

Family

ID=42201636

Family Applications (1)

Application Number Title Priority Date Filing Date
JP2008236338A Active JP5239667B2 (ja) 2008-09-16 2008-09-16 プレート式反応器及びそれを用いる反応生成物の製造方法

Country Status (1)

Country Link
JP (1) JP5239667B2 (ja)

Cited By (6)

* Cited by examiner, † Cited by third party
Publication number Priority date Publication date Assignee Title
JP2014523337A (ja) * 2011-06-06 2014-09-11 アルケマ フランス インサイチュ注入を用いるプレート式反応器
CN104689766A (zh) * 2015-03-24 2015-06-10 江苏凯茂石化科技有限公司 一种防干烧长寿命甲醛氧化器
CN106955645A (zh) * 2015-12-17 2017-07-18 乔治·克劳德方法的研究开发空气股份有限公司 用于执行放热或吸热反应的反应器
CN108414394A (zh) * 2018-06-13 2018-08-17 中国有色集团(广西)平桂飞碟股份有限公司 硫酸法钛白生产过程测定混合钛矿酸解率的方法
WO2020082202A1 (en) * 2018-10-22 2020-04-30 Pujing Chemical Industry Co., Ltd Large-scale ethylene glycol reactor
JP2020081941A (ja) * 2018-11-21 2020-06-04 三菱ケミカル株式会社 プレート型反応器

Citations (3)

* Cited by examiner, † Cited by third party
Publication number Priority date Publication date Assignee Title
JPS63291802A (ja) * 1987-05-25 1988-11-29 Hitachi Ltd 燃料改質装置
JP2006000707A (ja) * 2004-06-15 2006-01-05 Mitsubishi Chemical Engineering Corp 触媒反応器
JP2006528543A (ja) * 2003-07-24 2006-12-21 ビーエーエスエフ アクチェンゲゼルシャフト 熱転写シート装置を有する部分酸化用反応器

Patent Citations (3)

* Cited by examiner, † Cited by third party
Publication number Priority date Publication date Assignee Title
JPS63291802A (ja) * 1987-05-25 1988-11-29 Hitachi Ltd 燃料改質装置
JP2006528543A (ja) * 2003-07-24 2006-12-21 ビーエーエスエフ アクチェンゲゼルシャフト 熱転写シート装置を有する部分酸化用反応器
JP2006000707A (ja) * 2004-06-15 2006-01-05 Mitsubishi Chemical Engineering Corp 触媒反応器

Cited By (6)

* Cited by examiner, † Cited by third party
Publication number Priority date Publication date Assignee Title
JP2014523337A (ja) * 2011-06-06 2014-09-11 アルケマ フランス インサイチュ注入を用いるプレート式反応器
CN104689766A (zh) * 2015-03-24 2015-06-10 江苏凯茂石化科技有限公司 一种防干烧长寿命甲醛氧化器
CN106955645A (zh) * 2015-12-17 2017-07-18 乔治·克劳德方法的研究开发空气股份有限公司 用于执行放热或吸热反应的反应器
CN108414394A (zh) * 2018-06-13 2018-08-17 中国有色集团(广西)平桂飞碟股份有限公司 硫酸法钛白生产过程测定混合钛矿酸解率的方法
WO2020082202A1 (en) * 2018-10-22 2020-04-30 Pujing Chemical Industry Co., Ltd Large-scale ethylene glycol reactor
JP2020081941A (ja) * 2018-11-21 2020-06-04 三菱ケミカル株式会社 プレート型反応器

Also Published As

Publication number Publication date
JP5239667B2 (ja) 2013-07-17

Similar Documents

Publication Publication Date Title
JP5239667B2 (ja) プレート式反応器及びそれを用いる反応生成物の製造方法
US7332139B2 (en) Process and device for carrying out reactions in reactor with slot-shaped reaction spaces
CN101687161B (zh) 用于催化方法的反应器面板
RU2489203C2 (ru) Реакторы пластинчатого типа, способы их изготовления и способ получения реакционного продукта с использованием реактора пластинчатого типа
CN100588454C (zh) 微通道压缩反应器系统
CN101687162B (zh) 用于执行吸热反应的方法
WO2009109379A1 (en) Catalytic reactor
EP0932443B1 (en) Fluid reactor with catalyst on floating tubesheet
CN103702753B (zh) 用于实施自热气相脱氢的反应器
WO2019019794A1 (zh) 板式模块化控温反应器
JP6088120B2 (ja) プレート式反応器、その製作方法、及び該反応器を用いる反応生成物の製造方法
WO2001056690A1 (en) Heat exchange reactor
JP5835420B2 (ja) プレート式反応器及び反応生成物の製造方法
US10518236B2 (en) Systems for heating multi-tubular reactors
JP5239995B2 (ja) プレート式反応器及び反応生成物の製造方法
JP5532652B2 (ja) プレート式反応器及び反応生成物の製造方法
JP5169784B2 (ja) プレート型反応器及びこれを用いる反応生成物の製造方法
JP2013226554A (ja) プレート式反応器、それを用いる反応生成物の製造方法、及び触媒の充填方法
EP3889536A1 (en) Reaction device

Legal Events

Date Code Title Description
A621 Written request for application examination

Free format text: JAPANESE INTERMEDIATE CODE: A621

Effective date: 20110531

A711 Notification of change in applicant

Free format text: JAPANESE INTERMEDIATE CODE: A711

Effective date: 20110705

A977 Report on retrieval

Free format text: JAPANESE INTERMEDIATE CODE: A971007

Effective date: 20121018

A131 Notification of reasons for refusal

Free format text: JAPANESE INTERMEDIATE CODE: A131

Effective date: 20121120

TRDD Decision of grant or rejection written
A01 Written decision to grant a patent or to grant a registration (utility model)

Free format text: JAPANESE INTERMEDIATE CODE: A01

Effective date: 20130305

A61 First payment of annual fees (during grant procedure)

Free format text: JAPANESE INTERMEDIATE CODE: A61

Effective date: 20130318

FPAY Renewal fee payment (event date is renewal date of database)

Free format text: PAYMENT UNTIL: 20160412

Year of fee payment: 3

R150 Certificate of patent or registration of utility model

Free format text: JAPANESE INTERMEDIATE CODE: R150

Ref document number: 5239667

Country of ref document: JP

Free format text: JAPANESE INTERMEDIATE CODE: R150

S111 Request for change of ownership or part of ownership

Free format text: JAPANESE INTERMEDIATE CODE: R313111

R350 Written notification of registration of transfer

Free format text: JAPANESE INTERMEDIATE CODE: R350