JP2010068744A - 作業機 - Google Patents

作業機 Download PDF

Info

Publication number
JP2010068744A
JP2010068744A JP2008238819A JP2008238819A JP2010068744A JP 2010068744 A JP2010068744 A JP 2010068744A JP 2008238819 A JP2008238819 A JP 2008238819A JP 2008238819 A JP2008238819 A JP 2008238819A JP 2010068744 A JP2010068744 A JP 2010068744A
Authority
JP
Japan
Prior art keywords
seedling
seedling box
planting
unit
box
Prior art date
Legal status (The legal status is an assumption and is not a legal conclusion. Google has not performed a legal analysis and makes no representation as to the accuracy of the status listed.)
Granted
Application number
JP2008238819A
Other languages
English (en)
Other versions
JP2010068744A5 (ja
JP5077166B6 (ja
JP5077166B2 (ja
Inventor
Satoru Kato
哲 加藤
Manabu Takahashi
学 高橋
Masaru Nomura
野村  勝
Tatsuyuki Toritsu
龍之 鳥津
Current Assignee (The listed assignees may be inaccurate. Google has not performed a legal analysis and makes no representation or warranty as to the accuracy of the list.)
Iseki and Co Ltd
Iseki Agricultural Machinery Mfg Co Ltd
Original Assignee
Iseki and Co Ltd
Iseki Agricultural Machinery Mfg Co Ltd
Priority date (The priority date is an assumption and is not a legal conclusion. Google has not performed a legal analysis and makes no representation as to the accuracy of the date listed.)
Filing date
Publication date
Application filed by Iseki and Co Ltd, Iseki Agricultural Machinery Mfg Co Ltd filed Critical Iseki and Co Ltd
Priority to JP2008238819A priority Critical patent/JP5077166B6/ja
Priority claimed from JP2008238819A external-priority patent/JP5077166B6/ja
Publication of JP2010068744A publication Critical patent/JP2010068744A/ja
Publication of JP2010068744A5 publication Critical patent/JP2010068744A5/ja
Application granted granted Critical
Publication of JP5077166B2 publication Critical patent/JP5077166B2/ja
Publication of JP5077166B6 publication Critical patent/JP5077166B6/ja
Expired - Fee Related legal-status Critical Current
Anticipated expiration legal-status Critical

Links

Images

Landscapes

  • Agricultural Machines (AREA)
  • Lifting Devices For Agricultural Implements (AREA)

Abstract

【課題】着脱ヒッチ部を介して装着した作業部の稼動時における支持強度を向上するとともに、作業部の昇降制御特性を容易に設定することができる作業機を提供する。
【解決手段】作業機は、走行部(2)の後部に、昇降機構(201)とヒッチ機構(202)とからなる着脱ヒッチ部(3)を支持し、この着脱ヒッチ部(3)から後方に延びる支持フレーム(203)を介して作業部(4)を支持して構成され、上記昇降機構(201)は、上下のリンク(201a,201b)によって構成し、かつ、上記支持フレーム(203)は、作業部(4)を作業高さ位置に昇降した状態の昇降機構(201)のリンク方向の延長線上に構成したものである。
【選択図】図1

Description

本発明は、走行部の後部に着脱ヒッチ部を介して作業部を装着した作業機に関するものである。
特許文献1に示されるように、走行部の後部に着脱ヒッチ部を介して昇降可能に作業部を装着した作業機が知られている。この作業機は、走行部の後部にリンクによって昇降可能な着脱ヒッチ部を支持し、この着脱ヒッチ部から後方に延びる支持フレームを介して作業部を支持し、圃場における作業走行の際は着脱ヒッチ部によって作業に適した高さ位置に合わせつつ作業部を保持して稼動させることができ、また、同着脱ヒッチ部を介して田植え装置を始めとする種々の作業部を装着することにより幅広い圃場作業に適用することができる。
特開2008−43297号公報
しかしながら、上記構成の作業機にあっては、着脱ヒッチ部から後方に延びる支持フレームによって作業部が昇降支持されていることから、十分な支持剛性を確保できないという問題があり、また、支持フレームの複雑な構成により、作業部の昇降動作について昇降制御特性の煩雑な調整を強いられるという問題があった。
解決しようとする問題点は、着脱ヒッチ部を介して装着した作業部の稼動時における支持強度を向上するとともに、作業部の昇降制御特性を容易に設定することができる作業機を提供することにある。
請求項1に係る発明は、走行部の後部に昇降機構とヒッチ機構とからなる着脱ヒッチ部を支持し、この着脱ヒッチ部から後方に延びる支持フレームを介して作業部を支持した作業機において、上記昇降機構は上下のリンクによって昇降動作可能に構成し、かつ、上記支持フレームは作業部を作業高さ位置に昇降した状態の上下のリンクのリンク方向の延長線上に構成したことを特徴とする。
請求項2の発明は、請求項1の構成において、前記支持フレームは、昇降機構の前記リンク方向の延長線について、その上下のリンクのそれぞれと対応する上下のフレームにより構成したことを特徴とする。
請求項1の作業機は、作業部を作業高さ位置に昇降した状態の昇降機構のリンク方向の延長線上に構成したことから、作業部の稼動時においては、昇降機構と支持フレームとで構成される作業部の支持梁としての着脱ヒッチ部の長さが最短となので支持強度を向上することができる上に、支持フレームの長さに応じて作業部の昇降条件設定が可能となるので、昇降機構のリンク長さおよび昇降量によって規定される着脱ヒッチ部の走行部側の昇降特性が作業部側から独立されるので、作業部稼動時の昇降制御特性を容易に設定することが可能となる。
請求項2の作業機は、請求項1の効果に加え、昇降機構の上下のリンクのそれぞれの延長線上に対応する上下のフレームにより構成したことから、昇降機構と支持フレームとで構成される作業部の支持梁を簡易な構成によって効率良く形成することができる。
本発明を実施する作業機の例としての苗移植機について、図1〜図18の図面に基づき説明する。
作業機1としての苗移植機は、8条植えの施肥田植機であって、乗用走行車体である走行部2の後側にリンク装置で構成される着脱ヒッチ部3を介して苗植付部である作業部4が昇降可能に装着され、走行部2の後部には施肥装置5の肥料ホッパ5aと、各条ごとに肥料を繰り出す肥料繰出装置5bが配設されている。
走行部2は、駆動回転する左右一対の操向可能な前輪6,6と駆動回転する左右一対の後輪7,7を備え、前後フレーム8上の前側にミッションケース9、その後側にエンジンEが搭載され、エンジンEの回転動力は、第一ベルト伝動装置10、第二ベルト伝動装置11を介してミッションケース9内に伝動されるようになっている。そして、ミッションケース9内のミッションで変速された動力が前輪6,6及び後輪7,7に伝達されると共に、伝動軸9a、中間ギヤケース9b、伝動軸9cを介して作業部4に伝動される。走行部2の前側には前輪6,6を操向操舵するステアリングハンドル12が設けられ、また、該ハンドル12の後側には操縦者が着座する操縦座席13が設置されている。14はステップフロア、15は予備苗載台、16は線引きマーカ、17は噴霧用水タンクを示す。
また、L1はミッションを切り替えるチェンジレバー、L2は変速レバー、L3は植付部の伝動入・切及び植付部を昇降させる植付昇降レバー、L4は植付部の作業状態と非作業状態とを切り替えるフィンガアップレバー、L5は植付部昇降制御の感度を調節する副感度調節レバー、L6は植付部の下降を規制する下降ロックレバー、Dは対地昇降制御の感度を調節する感度調節ダイヤルである。
作業部4は、8条植えの構成で、昇降用油圧シリンダ26によって昇降用油圧(電磁)バルブ27を介して上下に昇降する構成であり、隣接する2条づつで共用の後下がりに傾斜した上下2段の苗箱供給部30,30…が左右並列に4組設けられ、これら各組の苗箱供給部の後端部に苗箱主搬送部31,31…が接続されて苗箱搬送路が構成されている。各苗箱主搬送部31は、上下2段の苗箱供給部30,30から順に1個づつ供給される苗箱を前半は下向きに搬送し、途中で搬送方向を徐々に変え、後半は上向きに搬送する側面視略U字条に形成されている。苗箱搬送部31の終端部に接続して、後記苗取出位置Pで苗を取り出された後の空の苗箱を複数個上下に重ねた状態で収容することのできる空箱収容枠38が設けられている。空箱ガイドレール39aと39bとの繋ぎ目に対応する部位には、空箱を上側から案内するガイド体40が設けられ、苗箱の周回移動が円滑に行われるようにしている。ところで、苗が取出された後の空の苗箱は、空箱ガイドレール39がU字状に上方に屈曲するよう設けているので、再び上方に搬送されていき、その上端部から排出される空の苗箱は、空箱収容枠38内に収容されることになる。
なお、この種の移植機に使用される苗箱Cとしては、縦横に多数配列した育苗ポットC1に苗が一株づつ収容された可撓性を有する苗トレイが使用される。
苗箱供給部30にある苗箱を主搬送部31へ供給する苗箱供給装置29が備えられている。苗箱供給部30,30の底面には空転ローラ20,…が設けられていて、載置されている苗箱が自重で後方に滑り落ちるようになっている。各苗箱供給部30の後端部には、苗箱主搬送部31の搬送路へ苗箱を供給する供給装置29として、苗箱の左右縁部を把持して苗箱を主搬送部側に繰り出す左右各一対の供給ローラ21,22と、該供給ローラの前方に位置し、外周部に形成された突起がポットとポットの隙間に下側から係合して苗箱を送る幅広の送りローラ23とが設けられている。上下苗箱供給部の下側供給ローラ22及び送りローラ23は、それぞれモータM1,M2で回転駆動される。
また、各苗箱主搬送部31に対応して、苗箱を苗箱搬送路に沿って搬送させる苗箱送り装置32と、苗箱主搬送部31の苗取出位置Pで搬送中の苗箱からポット横一列分づつ苗を取り出す苗取出装置33と、取り出された苗を下側前方に弧を描くような軌跡でもって搬送する苗搬送装置34と、該苗搬送装置から苗を抜き出す苗抜き装置35と、該苗抜き装置によって抜き出される横1列分の半分づつ左右両側に横送りする苗横送り装置36と、該苗横送り装置によって供給される苗を取って圃場に植え付ける苗植付装置37が設けられている。
駆動ケース41と一体のフレーム42の下側左右水平部分から植付伝動フレーム45が後方に延出され、駆動ケース41の上面には苗載台支持フレーム46が固着され、これで上下2段の苗箱供給部(供給台)30を支持している。ローリング支持軸24は、フレーム42の左右中央部分に固着の植付部支持ブラケット48に取り付けた軸受ケース50に回動自在に軸受され、植付部全体がローリング自在に支持されている。この植付部全体は、駆動ケース41上に設けた水平センサ43の検出値に基づきこの検出値が設定値に維持されるように、制御装置からの操作信号によりローリングモータ25を正逆転駆動することで、該植付部がローリングスプリング28を介して支持軸24回りに左右ローリング制御されるようになっている。なお、前記水平センサ43は、植付部の脱着部より後側に設置するようにしておくことで、植付部を交換しても作動の狂いをなくすことができる。
各ユニットの下方には、植付作業時に圃場面を整地しながら滑走する4個のフロート52,52,53,53が設けられ、支持アーム56の後端部に上下回動自在に枢着されている。これらフロートの左右両側には、各条の苗植付位置の近傍の圃場面に施肥用の溝を形成する作溝器54,…と、その後側に施肥ガイド5cとが取り付けられ、この施肥ガイド5cには肥料繰出装置5bからの肥料を移送する施肥ホース5dが連設されている。
苗箱送り装置32は、左右一対の送り爪60,60及び係止爪61,61とからなり、送り爪60,60は苗箱搬送路に沿って上下に往復動し、下動するときには苗箱の左右端縁部にポットのピッチと同ピッチで穿設された苗箱送り用の角孔に係合し、上動するときは角孔との係合が外れて次の角孔まで乗り越すように作動する。係止爪61,61は、送り爪60,60の動作と連動し、送り爪60,60が下動するときには、角孔から外れ、送り爪60,60が上動するときには、角孔に係合して苗箱を支えるように作動する。これら送り爪60,60及び係止爪61,61の作動により、苗箱搬送路31に沿って苗箱がポット配列の1ピッチ分づつ間欠的に送られる。この苗箱送り装置32の送り作動は、後記苗取出装置33の苗押出しピン72,…が苗箱のポット内に挿入されていない時に行われる。また、送り爪60,60及び係止爪61,61の搬送上手側には、係止爪61,61が先行する苗箱の角孔から抜け出るのに連動して苗箱搬送路に突出し、苗箱搬送路31を滑り落ちてくる後続の苗箱を一旦受け止める遮断爪63,63が設けられている。
苗箱送り装置32の作動機構は、駆動ケース41の上部を貫通する第一伝動軸64に苗箱送りカム65を設け、苗箱作動アーム66に回動自在に支承されたローラ67をカム65の外周面に常時当接するように苗箱送り作動アーム66をスプリング68で付勢している。苗箱送りカム65の回転により、苗箱送り作動アーム66が揺動し、その苗箱送り作動アーム66の揺動が苗箱送り駆動軸69を介して苗箱送り駆動アーム70,70に伝えられ、送り爪60,60を上下に往復動させる。カム65がローラ67を押す時に送り爪60,60が下動して苗箱を送るようになっている。
図16に示すように、送り爪60が最下点に下動した時、苗箱送り駆動アーム70で感知スイッチ71を押すように設けてあり、そして、この感知スイッチ71が押されないと、警報音を発するように連動構成しておくことができる。この構成によると、苗箱供給部での箱詰まり等により、苗箱送り不良をおこした時に、送り爪60の駆動アーム70が感知スイッチ71を押さなくなるので、警報ブザーにてオペレータに知らせることができ、連続欠株等の植付不良を防止できる。
苗箱供給部30,30と苗箱主搬送部31の搬送路には、苗箱の有無を検出する苗箱検出センサSW1〜SW7が設けられている。SW1(SW5)は、上段(下段)苗箱供給部30に苗箱が載置されているとき苗箱有りとなる。SW2(SW6)は、上段(下段)の供給ローラ21,22が苗箱を把持しているとき苗箱有りとなる。SW3は、上段搬送路と下段搬送路の合流部に設けられていて、上段又は下段の供給ローラ21,22が苗箱を開放する寸前まで繰り出しているとき苗箱有りとなる。
SW4は、SW3の位置と苗取出位置Pの直前位置との間に設けられていて、上段又は下段の供給ローラ21,22が苗箱を開放した直後に苗箱有りとなる。また、この苗箱検出センサSW4は、接触式のセンサにて構成され、このセンサの接触作用部tが遮断爪63の作用位置の搬送上手側から下手側にかけて位置するように配置されてあり、そして、このセンサが苗箱無しを検出すると、これに連動して苗箱供給装置29の供給ローラ21,22の作動により次の苗箱を繰り出し供給するようになっている。このようにして供給される苗箱が遮断爪63によって受け止められる直前に至っては、接触式検出センサ自体の押圧スプリング力によって接触抵抗を受けることになり、苗箱に制動作用が付与されて落下速度が緩和さるようになっている。
SW7は、苗箱送り駆動アーム70を駆動する苗箱作動アーム66の位置を検出する検出センサで、つまり、送り爪60及び係止爪61の作動位置を検出するセンサであり、苗箱作動アーム66が上動したときに押されてOFFになる構成である。
図4に示す構成例において、苗箱検出センサSW1〜SW7は、図5に示すように、コントローラに接続されている。そして、各センサからの情報に基づき、コントローラがモータM1,M2、苗減少ランプ、及び減少ブザーに出力する。図6は、コントローラにおける制御のフローチャートであって、各検出センサSW1〜SW7からの入力を読み込み、それを図7に示す動作表と比較し、該当する入力条件のパターンに応じて出力を行う。いづれの入力条件にも該当しない時には出力は行なわない。
図7に示す動作表において、SW1〜SW6については、「0」は苗箱無し、「1」は苗箱有り、空白部は苗箱無し又は苗箱有りとする。SW7については、「1」はOFF時とし、空白部はON又はOFF時とする。また、「優先」はプログラム処理上のフラグで、その切換条件はNO.8とNO.13とする。「優先」の空白部は「1」又は「2」とし、電源投入時の「優先」は「1」とする。
植付作業を行う前に、上段搬送路に苗箱を1個装填すると共に、上下両苗箱供給部に苗箱を2個づつ載置する。この作業開始状態では、SW1〜SW7は「1」、優先は「1」となっており、いづれの入力条件にも該当しないので、モータM1,M2は停止している。上記状態から植付作業を開始すると、送り爪60と係止爪61が作動して、苗箱を1ピッチづつ間欠的に送る。これと同期して植付部4の各部が作動し、苗取出位置Pで苗箱の横一列分づつのポットから苗を取出し、それを圃場に植え付ける。作業が進行して、苗取出し中の苗箱(第一苗箱)の最後尾が苗取出位置Pの直前位置まで来て、SW3及びSW4が「0」になると、NO.5の入力条件となり、モータM1が作動する。これにより、上段苗箱供給部の次の苗箱(第二苗箱)が上段搬送部に繰り出される。この第二苗箱を開放する寸前まで繰り出すと、第二苗箱の先頭部が上下搬送路の合流部に達し、SW3が「1」になる。この状態は、SW1〜SW6については、NO.6−1の入力条件に該当している。従って、送り爪60の送り作動時即ち係止爪61が苗箱を支えていない時にはモータM1が一旦停止し、その後、係止爪61が苗箱を支えた状態で且つ苗箱遮断爪63が苗箱搬送路内に突入して苗箱の下端を受け止める状態になっている時(SW7が「1」)になった時点でモータM1が再作動して、第二苗箱を開放する。すると、第二苗箱は遮断爪63にて一旦受け止められる。
そして、第二苗箱を開放してSW2が「0」になると、NO.4の入力条件に切り替わり、モータM1の作動が継続され、次の第3苗箱の先頭部が供給ローラに把持される。すると、SW2が「1」になり、いづれの入力条件にも該当しなくなるので、モータM1は停止する。このようにして作業が進行し、第三苗箱の再後尾が苗取出位置Pの直前位置を通過し、SW3及びSW4が「0」になると、NO.13の入力条件となり、「優先」が「1」から「2」に切り替わる。すると、今度はモータM2が作動し、下段苗箱供給部の苗箱(第4苗箱)を繰り出す。 以下、上段苗箱供給部の第二苗箱、第三苗箱を上段搬送部に供給する場合と同様に、モータM2が適時作動して、下段苗箱供給部の第四苗箱、第五苗箱が順に下段搬送部に供給され、それぞれの苗箱から苗が取り出される。最後の第五苗箱が下段供給ローラから開放されると、NO.1の入力条件となり、苗減少ランプに出力する。苗減少ランプが点灯すると、上下苗供給部に苗補給する。また、苗減少ランプが点灯しても苗補給せず、第五苗箱の最後尾が苗取出位置Pの直前位置を通過してSW3及びSW4が「0」になると、NO.3の入力条件が4秒以上継続されることになるので、条件が成立してから4秒後に苗減少ブザーに出力する。
以上のような経過を経て苗箱供給部の苗箱が主搬送部の所定位置まで自動供給されるが、この作業中において、上記苗取出し中の苗箱の最後尾が苗取出位置Pの直前位置まで来て、苗箱検出センサSW3及びSW4が「0」になると、NO.5(又はNO・10、NO・13)の入力条件となり、モータM1又はM2の作動により、苗箱供給部にある次の苗箱が主搬送部の所定位置に繰り出されることになるが、このとき、図8のフローチャートで示すように、モータM1又はM2が所定時間(約5秒程度)以上作動しても、苗箱が所定位置まで送られて来ない場合には、苗箱検出センサSW3がOFF作動し、苗箱送り不良警報装置BZに出力してオペレータに告知するようにしている。これにより、オペレータは苗箱送り不良と判断して速やかに対処することができる。
上記苗箱の自動供給装置において、上段搬送路と下段搬送路で苗箱を送るモータM1,M2の回転速度を切り替えできる構成としている。上段のモータM1の回転速度は、下段のモータM2の回転速度より遅くしている。つまり、図6に示すように、モータM2の連続出力に対し、モータM1のパルス出力によって回転速度を遅くしている。これは、上段搬送路は、下段搬送路に対し苗箱の落下する傾斜角度が大きいため、遮断爪に当たった時に苗箱の両端が破損し易い。自動供給時の上段を送るときは、モータM1の回転速度を遅くすることで、遮断爪に当たる時の速度が上下段共、同じになり、苗箱両端の破損を防ぐことができる。
なお、図7に示すように、モータM2のパルス出力に対し、モータM1を微小パルス出力とすることによってこの回転速度を遅くすることもできる。また、モータの回転速度と検出センサSW1からSW2間の苗箱の自由落下速度を略同じにすることで、苗箱がモータ部のローラへ激突する時の衝撃力が少なくなり、苗箱の破損を防ぐことができる。
なお、苗箱検出センサSWは、このセンサの接触作用部tが苗箱CのポットC1部に作用して感知する構成としてあり、前記SW1〜SW6の検出センサに利用することができる。これら各検出センサはポット部側面にて感知させるので、泥の影響を受けることがなく、ポット部は規則正しく成形された丸形状のため、確実に感知することができる。
苗取出装置33は、苗箱横方向のポットに対し同数同ピッチで並んだ苗押出しピン72,…が、前後方向に摺動自在に支持された左右一対のスライド軸73,73と一体に作動するように設けられている。スライド軸73にはラック73aが形成され、そのラックに第一扇形ギヤ74が噛み合っている。また、第一扇形ギヤ74が取り付けられているギヤ軸75には、別の第二扇形ギヤ76が取り付けられ、第二扇形ギヤ76は、支持軸78に回動自在に支持された苗取出作動アーム79のギヤ部79aと噛み合っている。苗取出作動アーム79のギヤ部79aと反対側の端部にはローラ80が回転自在に支承されており、そのローラ80が苗取出カム81のガイド溝81aに嵌り込んでいる。苗取出カム81の回転によりスライド軸73,73が前後にスライドし、該スライド軸が後方にスライドするときに、苗押出しピン72,…が苗取出位置Pにある苗箱の横一列分のポットに対し、ポット底部の切れ目からポット内に挿入され、苗を後方に押し出す。
また、前記ギヤ軸75には、ギヤ軸75以後の伝動系に所定以上の負荷がかかった場合には第一扇形ギヤ74からギヤ軸75への伝動を断つ安全クラッチ75aが設けられている。
さらに、ギヤ軸75には、苗押出しピン72,…の前後スライドのストロークを調節する機構75b、左右のスライド軸73,73の位置を調節する機構75cとが設けられている。苗箱送りカム65と苗取出カム81は第一伝動軸64に回転自在に嵌合する共通の筒体64aに一体形成され、該筒体と第一伝動軸64を外部操作する定位置停止クラッチ64bによって伝動入・切可能に連結している。
前記苗押出しピン72,…による苗取出位置Pの手前には苗箱の有無を検出するセンサスイッチSW8を設け(図4参照)ている。苗箱供給部に苗箱があって検出センサSW1又はSW5がON状態にあっても、前記SW8がOFFの場合には、図9に示すように、苗箱送り不良として、主クラッチモータの駆動で走行クラッチを「切り」作動(同時に警報装置を作動するようにしてもよい。)して機体の走行を停止するように構成することもできる。従って、この走行停止によって、オペレータは苗箱送り不良であることを察知でき、速やかに対処することによって連続欠株を未然に防止することができる。
また、苗押出しピン72とスライド軸73との間に荷重センサ126を設け(図17参照)、荷重センサの検出結果による荷重値が軽い場合は噴霧の時間を通常より長くするように設定している。押出しピンの押出し荷重が軽いと、ポットが崩れ易い状態になるので、噴霧の時間を長くし、苗ホルダーや苗送りベルト等への泥の付着を少なくして植付を安定させることができる。押出しピンの荷重センサ126及び植付昇降レバーセンサ127が制御部128の入力側に接続され、制御部の出力側には噴霧用電磁バルブ129が接続されている。植付昇降レバーセンサ127が「植付」作業状態であることを検出し、前回の噴霧時から所定時間経過後、押出しピン荷重センサ値が「大」(重)の時には、噴霧用電磁バルブ129を通常の時間開く信号を出力する。逆に、押出しピン荷重センサ値が「小」(軽)の場合には、噴霧用電磁バルブ129を長時間開く信号を出力する。
なお、荷重センサが異常に重い値を検出した時には、警報ブザーを鳴らしてオペレータに報知するように構成することもできる。苗押出しピンが苗箱ポット部から芯ずれした位置を押し出すと、荷重センサが非常に重い検出値を出すので、これをオペレータに報知することによって植付不良を未然に防止することができる。
苗搬送装置34は、苗押出しピン72,…により苗箱から押し出される苗の床土部を保持する苗ホルダー83を備えている。苗ホルダー83は上下2本づつの揺動リンク84,85に連結された支持部材86,86に左右両端が固定されており、上記揺動リンクの揺動により円弧軌跡を描いて往復動するようになっている。苗搬送装置の駆動機構は、図15及び図18に示すように、第一伝動軸64の回転を、アーム88、伸縮ロッド89、アーム90を介して苗搬送伝動ケース91の入力軸92に反復回動運動として伝達し、更に、該入力軸92から一対の伝動ギヤ93、94を介して、揺動リンク85に取り付けられている苗搬送駆動軸95に反復回動運動を伝達するように構成されている。
また、図3に示すように、前記苗ホルダー83は、苗植付時において、植付クラッチ又は畦クラッチを切った時の苗ホルダーの停止位置が、苗を取りに行く方向で洗浄ノズル116から噴水される噴水圏(イ)内にあって停止するように構成している。これによれば、苗を植え付けしていない状態のときでも苗ホルダーを効率よく洗浄でき、泥の付着が少なくなって苗のキャッチングが安定することになる。
苗抜き装置35は、苗ホルダ83の苗保持部を前後に通り抜け可能な櫛状の苗叩き100を備えている。回動自在に設けた左右方向の苗叩き取付軸101に苗叩きアーム102を取り付け、更にその苗叩きアーム102に回動可能に取り付けた回動アーム103に苗叩き100を一体的に取り付けている。回動アーム103は長孔103aの範囲内でボルト102aを介して回動可能である。叩きアーム102に取り付けたローラ104が、カム軸105に取り付けられた苗叩きカム106のカム面に当接するようにスプリング107にて付勢している。苗叩きカム106が回転すると、該カムの凹部にローラ104嵌り込むときスプリング107の張力により苗叩き100が素早く下向きに回動し、直ぐに元の位置に復帰するように作動する。
苗ホルダー83が移動軌跡下端に移動してきたとき、苗ホルダ83の各苗保持部に保持されている苗を苗叩き100が受け止め苗ホルダー83のみを通過させて苗を抜き出すと共に、苗叩き100が下向きに回動し、抜き出された苗を後記苗横送り装置36の苗送りベルト113,113上に叩き落とす。
苗横送り装置36は、メインフレームに架設された苗横送り駆動軸110の駆動ローラ111と従動ローラ112とに巻き掛けた左右一対の苗送りベルト113,113を、それぞれの横送り作用部外側へ移動するように左右対称に設けている。横送り部の下側には落下する苗の重みでベルトが橈むのを防止する撓み防止板114が設けられている。苗抜き装置35により抜き落とされた横一列分の苗N,…は、各苗送りベルト113,113の上に整列で落下し、これを受けた苗送りベルト113,113が左右半分づつの苗をそれぞれ左右両側に搬送する。苗送りベルト113で搬送された苗Nは、一対の植付ガイド115,115の間に落し込まれる。
苗送りベルト113,113の上方には該ベルトに付着した泥土を洗い流す洗浄ノズル116,…が設けられている。洗浄ノズル116,…が一体に形成された通水パイプ117は、その両端部に一体の取付プレート118をボルト119により植付部フレームに固定することにより支持されている。
図10には、苗送りベルト113の周辺に泥が溜まると、その泥溜まりを検出する音波検出装置124が設けられている。この音波検出装置は泥溜まりを検出すると、警報ブザー等でオペレータに報知することで、オペレータはその泥溜まりを速やかに除去できるし、若しくは噴霧装置を作動して洗浄ノズルで洗い落すことができ、苗の植付不良を少なくすることができる。
洗浄(噴霧)装置に用いられるフィルター160は、上下2重の濾過網161と162とからなり、下側の濾過網161は固定とし、上側の濾過網162は羽根車163の下端に取り付けられて軸芯164回りに自由回転自在に軸架され、水の入る勢いで旋回するようになっている。2重濾過網によるフィルターであっても、フィルターにゴミが詰まってしまい、使用の途中で水の流れがが悪くなる。本例のように、上記構成によると、フィルターの目詰りが、入ってくる水の勢いで回転する上側濾過網の回転と、これに伴う水の旋回流とによって防止できる。
苗植付装置37は、植付伝動フレーム45の後端部に設けられた植付駆動軸120と一体回転する回転ケース121に一対の苗植込具122、122が取り付られ、苗植込具122、122が閉ループの先端軌跡を描いて移動する。各苗植込具122は、植付ガイド115,115の間に落し込まれた苗を交互に一株づつ取り、それを植付ガイド115,115の間を移動させて圃場に植え付ける。
植付部の伝動機構について図13及び図14に基づき説明すると、本機側から動力伝達される入力軸130はベベルギヤ131,132を介して第二伝動軸133と連動連結している。そして、第二伝動軸133から、8組のベベルギヤ135,136を介して各条の苗横送り駆動軸110へ伝動する。隣接する一対の苗横送り駆動軸110,110は、互いに逆向きに回転するようになっている。また、各植付伝動フレーム45内には、第二伝動軸133に取り付けたスプロケット137aと植付駆動軸120に取り付けたスプロケット137b掛け渡した伝動チエン137が設けられており、該チエン137により第二伝動軸133から植付駆動軸120へ伝動する。
更に、第二伝動軸133は、その外端部でベベルギヤ140,141を介して、左右2本の上下伝動軸142の下端部とそれぞれ連動連結している。左側の上下伝動軸142は、その上端部がベベルギヤ143,144を介して第一ユニット・第二ユニット用の第一伝動軸64と連動連結すると共に、その中間部がベベルギヤ147,148を介して第一ユニット・第二ユニット用の苗叩きカム軸105と連動連結している。同様に右側の上下伝動軸142は、第三ユニット・第四ユニット用の第一伝動軸64及び苗叩きカム軸105と連動連結している。
中央2個のセンタフロート52,52は、圃場面の凹凸を検出するものであり、両フロートの圃場面に対する角度(迎い角)αがフロート迎い角センサ150によって検出される。つまり、センサ150の検出アーム151が連結ロッド152を介して天秤アーム153に連結されている。天秤アーム153はロッド154を介してフロート52に連結される。これにより、フロートの迎い角が検出されることになるが、植付作業時に、植付部をフロートが接地する作業位置まで下降させると、植付部が圃場面から一定の高さに維持されるようにフロート迎い角センサ150の検出値に基づく対地昇降制御を行う。
感度調節ダイヤル18は、植付部の昇降制御感度とローリング制御感度を同時に調節できる構成としてある。ローリング制御の作動速度を感度調節ダイヤルのレンジと連動させ、ローリング作動速度は圃場の土壌が軟弱な場合はゆっくりと遅くし、圃場の土壌が硬いときにはローリング作動速度を速くするように連動構成することで、安定した苗の植え付けができるようにしている。制御部128の入力側に、植付部の昇降制御感度とローリング制御感度を調節する感度調節ダイヤル18と、圃場面の左右方向の傾きを検出する水平センサ43と、対地高さの変動量に起因するフロートの前上がり前下がり量を検出するフロート迎い角センサ150を接続し、制御部の出力側には、水平センサの左右の対地高さ検出結果に基づき植付部を左右にローリング制御するローリングモータ25と、フロート迎い角センサの前上がり前下がり量検出結果に基づき植付部を上下に昇降制御する昇降用油圧電磁バルブ27を接続している。
土壌が軟弱な場合は、フロートが沈み気味となって迎い角前上がりとなり、フロートの応答性が鈍感になるので、ローリングモータ速度は遅くし、土壌が硬い場合は、フロートは浮き気味となって迎い角前下がりとなり、フロートの応答性が敏感になるので、ローリングモータ速度は速くする。このように土壌条件に応じた適正なローリング制御を行い植付精度の向上が図れる。
(着脱ヒッチ部)
着脱ヒッチ部3は、図1に示すように、昇降機構201とヒッチ機構202とから構成され、この着脱ヒッチ部3から支持フレーム203を後方に延ばし、この支持フレーム203を介して作業部4を支持する。昇降機構201は、走行部2の後部に支持した上下のリンク201a,201bと、この上下のリンク201a,201bを伸縮作動により昇降駆動する昇降用油圧シリンダ201cとから構成する。
支持フレーム203a,203bは、作業部4を作業高さ位置に昇降した状態の昇降機構201のリンク201a,201bの延長線上に構成する。好ましくは、作業部4の稼働時において、上下のリンク201a,201bが支持フレーム203a,203bとそれぞれが1直線となるように構成することにより、昇降機構201と支持フレーム203a,203bとで構成される作業部4の支持梁が最短となる。
したがって、作業部4の支持強度を向上することができる上に、支持フレーム203の長さに応じて作業部4の昇降条件設定が可能となるので、昇降機構201のリンク長さおよび昇降量によって規定される走行部2の側の昇降特性が作業部から独立されるので、作業部4の稼動時の昇降制御特性を容易に設定することが可能となる。
(水タンク)
水タンク17は、要部拡大平面図および側面図をそれぞれ図19、図20に示すように、機体の左側に収納可能に増設し、下側にブロワ212が収納可能に構成する。詳細には、水タンク17を受ける支持フレーム213から延びる支持アーム214をタンク支軸214aに軸支し、また、ブロワ212の支持アーム215をブロワ支軸215aに軸支する。このようにして、増設噴霧器用の水タンク17とブロワ212を収納可能に構成することができる。
(ロータ)
次に、整地ロータの支持構造について説明する。図21に作業部4(線引きマーカは図示せず)とロータ支持構造の要部の背面図を示し、図22にロータ227とフロート255〜257と苗植付装置252部分の要部平面図を示す。
ロータ支持構造には、苗載台251の前記支持枠体265の両側辺部材265bに上端を回動自在に支持された梁部材266と該梁部材266の両端に固着した支持アーム267と該支持アーム267に回動自在に取り付けられたロータ支持フレーム268が設けられている。該ロータ支持フレーム268の下端にはロータ227(227a,227b)の駆動軸270(270a,270b)が取り付けられている。また該ロータ支持フレーム268の下端部近くは伝動ケース250に回動自在に取り付けられた連結部材271に連結している。
図22に示すように、フロート255〜257との配置位置の関係でセンタフロート255の前方にある中央部の整地ロータ227bはミドルフロート257とサイドフロート256の前方にある側方部の整地ロータ227aより前方に配置されている。そのためロータ227aの駆動軸270aへの動力は後輪7のギアケース218内のギアから自在継手272等を介して伝達され、ロータ227bの駆動軸270bは両方のロータ227a,227aの駆動軸270a,270aの車体内側の端部からそれぞれ動力が伝達される左右一対のチェーンケース273,273内の一対のチェーン(図示せず)から動力伝達される。
また、機体中央部のロータ227bの駆動軸270bは左右一対のチェーンケース273,273を介して支持されているだけなので、チェーンケース273,273の補強のために左右一対のチェーンケース273,273を橋渡しする補強部材274が設けられている。さらに、ロータ227bは梁部材266に上端部が支持された一対のリンク部材276,277によりスプリング278を介して吊り下げられている。
該一対のリンク部材276,277は梁部材266に一端部が固着支持された第一リンク部材276と該第一リンク部材276の他端部に一端が回動自在に連結した第二リンク部材277からなり、該第二リンク部材277の他端部と補強部材274に回動自在に支持された取付片274aとの間に前記スプリング278が接続している。
ロータ227a,227bをロータ支持フレーム268とロータ支持アーム267と梁部材266を介して上下位置調節レバー281で上下位置を調節可能にしているが、梁部材266と上下位置調節レバー281との係止部については以下のとおりである。
上下位置調節レバー281の下端部は断面「コ」字状のリンク部材283と該リンク部材283を水平方向に貫通するロッド284により連結されている。該リンク部材283はレバーボス282と一体的に結合している。またレバーボス282は側面視でL字状のプレート282aと該L字状のプレート282aと一体の平面プレート282bとからなり、L字状プレート282aの中央部には支持枠体265に支持された軸部285が設けられ、L字状プレート282aは軸部285に回動自在に支持されている。またレバーボス282の平面プレート282bは梁部材266から突出した突出部266aを回転軸とするローラ286の円筒部に接するように配置されている。
従って上下位置調節レバー281を図21の矢印S方向へ回動させるとレバーボス282の平面プレート282bがローラ286を押し上げるので梁部材266は上方に移動する。このときローラ286は、回転しながらレバーボス282の平面プレート282bと接するので、上下調節レバー281の操作荷重の低減が図れると共に回転体であるため摩耗がなく良好な操作性が確保できる。そしてレバーボス282が上下に回動し、該レバーボス282は突出部266aを回転軸とするローラ286の円筒部に接するように係止しているので、該突出部266aがレバー281の機体右方向(図21の矢印S方向)の回動で、上向きに梁部材266を動かす。該突出部266aの前記上動により第一リンク部材276の梁部材266との連結部と反対側の端部も梁部材266を中心として上向きに回動する。この第一リンク部材276の上方への回動により第二リンク部材277と2スプリング278を介してロータ227bを上方に上げることができる。ロータ227bを上方に移動させると、駆動軸270bと駆動軸270aを介してロータ227aも同時に上方に移動する。
なお、ロータ上下位置調節レバー281は走行部2のほぼ中央部に設けているので、ロータ227a,227bの上下動を行う場合に左右のバランスを取りやすい。
また、支持アーム267の回動でロータ支持フレーム268が上方に移動するので、ロータ227a,227bを収納位置、すなわち苗載台251の裏面側に収納状態となるように移動させることができる。
本実施例ではロータ上下位置調節レバー281の標準位置で圃場面より40mmの高さにあるロータ227a,227bをロータ上下位置調節レバー281を図21の矢印S方向へ回動させることで標準位置より最大15mm高くでき、図21の矢印S方向の反対方向への回動で標準位置より最大15mm低くできるように設定している。
図21に示すように左右両端の複数の外側の整地ロータ(第二側方整地ロータ)227a1,227a1は左右方向に延びるロータ延長駆動軸(第二側方駆動軸)270a1,270a1で支持されているが、該ロータ延長駆動軸270a1,270a1は、より中央部側のロータ駆動軸(第一側方駆動軸)270a,270aに着脱可能に取り付られており、該ロータ延長駆動軸270a1,270a1に装着される整地ロータ(第二側方整地ロータ)227a1,227a1を取り外し可能な構成としている。
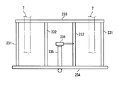
整地ロータ227a,227bを支えるフレームと車輪との関係については、要部側面図およびその背面図をそれぞれ図23、図24に示すように、左右の外側のフレーム231,231および左右の内側のフレーム232,232の上下端を上下の横断フレーム233,234で接続し、下端の横断フレーム234と接続する懸架ベース235に取付けたローリングシリンダ236を一方の内側のフレーム232と連結して構成する。これら左右の内側のフレーム232,232は、複数の内車輪7,7より側面視で車輪内に重なるように配置することにより、ローターフレームをコンパクト化することができる。
(ヒッチ機構)
ヒッチ機構202は、要部拡大側面図を図25に示すように、前部材である連結受部202aと後部材202bとが着脱可能に係合され、そのいずれかに、図26の側面図(a)および平面図(b)に示すような着脱案内板202cを設ける。この着脱案内板202cは、上部にあるとドッキング時にその着脱案内板202cより下げた位置から引き上げる必要があり、上下方向にスペースがない場合に側面の方が有利であり、また、横方向の位置決めになる。
(作業部)
着脱式の作業部4については、ポット式植付装置の側面図を図27に示すように、折り畳み可能な収納式のキャスター241と足242、ハンドル243を設ける。ハンドル243は、機体後方から押して移動できるように構成し、好ましくは、結合部のヒッチを延ばしておくように構成する。移動時にヒッチ機構202の結合部の高さを高く保つことで容易に位置合わせをすることができる。
着脱操作は、その説明図を図28に示すように、懸架部Dの高さ位置は、ハンドル243で押すことによって上昇し、このとき、ヒッチ機構202の連結受部202aを延ばしておけば、連結受部202aに当たった時点でハンドル243を下げることにより、懸架部Dをスムースにヒッチ機構202に収めることができる。また、キャスター241が収納式なので、煩わしい填め込み操作を要することなく、引き出すことができる。
(モニター)
フロントモニター245には、その表示例を図29に示すように、8条植えは4ユニット(6条植えは3ユニット)の表示部245aに植付部4の苗枚数とその位置Eを表示することにより、植付部4の状態を容易に把握することができ、苗の表示が消えていれば苗の流れの不具合が確認でき、欠株を最小限に抑えることができる。また、植付終わりに近づいたときに、必要な補助苗枚数を計算しやすくなるので、作業の効率を向上することができる。
(搬送ストッパ)
搬送ストッパ部246は、図30に示すように、磁石等の磁気を帯びた部材によって構成し、また、揺動リンク85側は、ストッパ246が当たる部分を磁性材によって吸着可能に構成することにより、バウンドしやすいゴム材と異なり、高速時においても吸着力によってバウンドしにくくなるので、苗の受け取りが安定する。
(車速制御)
車速制御については、図27に示すように、空き箱入れ38にセンサー247を設け、空き箱が一杯になると自動減速するように制御部128を構成する。例えば、変速レバーL2を前側から押すソレノイド248を設けて制御部により強制的に減速させる。
苗移植機の側面図 同上平面図 作業部の要部の側面図 苗箱供給部及び苗箱搬送部の側面図 苗箱供給の制御ブロック図 苗箱供給用フローチャート 各部材の動作表 苗箱送り不良の警報フローチャート 同上警報フローチャート 苗叩き及び苗送りベルトの背面図 苗抜き装置の側面図 洗浄装置の背面図 植付部の伝動機構図 植付伝動機構部の一部の背断面図 駆動ケースの背断面図 図15のS1−S1断面図 図15のS2−S2断面図 苗搬送駆動ケースの側断面図 水タンク部の要部拡大平面図 水タンク部の拡大側面図 作業部とロータ支持構造の要部の背面図 図21の平面図 ロータとフロートと苗植付装置部分の要部側面図 図23のフレームの背面図 ヒッチ機構の要部拡大側面図 着脱案内板の側面図(a)および平面図(b) 着脱式の作業部の側面図 作業部の着脱操作の説明図 フロントモニターの表示例 搬送ストッパ部の拡大側面図
符号の説明
1 作業機
2 走行部
3 着脱ヒッチ部
4 作業部
6 前輪
7 後輪
201 昇降機構
201a リンク
201b リンク
202 ヒッチ機構
203 支持フレーム
203a 支持フレーム
203b 支持フレーム

Claims (2)

  1. 走行部(2)の後部に昇降機構(201)とヒッチ機構(202)とからなる着脱ヒッチ部(3)を支持し、この着脱ヒッチ部(3)から後方に延びる支持フレーム(203)を介して作業部(4)を支持した作業機において、
    上記昇降機構(201)は上下のリンク(201a,201b)によって昇降動作可能に構成し、かつ、上記支持フレーム(203)は作業部(4)を作業高さ位置に昇降した状態の上下のリンク(201a,201b)のリンク方向の延長線上に構成したことを特徴とする作業機。
  2. 前記支持フレーム(203)は、昇降機構(201)の前記リンク方向の延長線について、その上下のリンク(201a,201b)のそれぞれと対応する上下のフレーム(203a,203b)により構成したことを特徴とする請求項1記載の作業機。
JP2008238819A 2008-09-18 作業機 Expired - Fee Related JP5077166B6 (ja)

Priority Applications (1)

Application Number Priority Date Filing Date Title
JP2008238819A JP5077166B6 (ja) 2008-09-18 作業機

Applications Claiming Priority (1)

Application Number Priority Date Filing Date Title
JP2008238819A JP5077166B6 (ja) 2008-09-18 作業機

Publications (4)

Publication Number Publication Date
JP2010068744A true JP2010068744A (ja) 2010-04-02
JP2010068744A5 JP2010068744A5 (ja) 2012-09-13
JP5077166B2 JP5077166B2 (ja) 2012-11-21
JP5077166B6 JP5077166B6 (ja) 2013-06-05

Family

ID=

Citations (6)

* Cited by examiner, † Cited by third party
Publication number Priority date Publication date Assignee Title
JPS5880807U (ja) * 1981-11-25 1983-06-01 株式会社クボタ 作業機における作業装置用連結構造
JPS59187923U (ja) * 1983-06-02 1984-12-13 株式会社クボタ 田植機
JPS6134813U (ja) * 1984-07-31 1986-03-03 小橋工業株式会社 トラクタの作業機装着装置
JPH01202202A (ja) * 1988-02-09 1989-08-15 Iseki & Co Ltd トラクタに於ける作業機昇降装置
JPH04311307A (ja) * 1991-04-09 1992-11-04 Iseki & Co Ltd 苗植機等の操作ワイヤ連結装置
JP2002095305A (ja) * 2000-09-21 2002-04-02 Kubota Corp 作業機連結装置

Patent Citations (6)

* Cited by examiner, † Cited by third party
Publication number Priority date Publication date Assignee Title
JPS5880807U (ja) * 1981-11-25 1983-06-01 株式会社クボタ 作業機における作業装置用連結構造
JPS59187923U (ja) * 1983-06-02 1984-12-13 株式会社クボタ 田植機
JPS6134813U (ja) * 1984-07-31 1986-03-03 小橋工業株式会社 トラクタの作業機装着装置
JPH01202202A (ja) * 1988-02-09 1989-08-15 Iseki & Co Ltd トラクタに於ける作業機昇降装置
JPH04311307A (ja) * 1991-04-09 1992-11-04 Iseki & Co Ltd 苗植機等の操作ワイヤ連結装置
JP2002095305A (ja) * 2000-09-21 2002-04-02 Kubota Corp 作業機連結装置

Also Published As

Publication number Publication date
JP5077166B2 (ja) 2012-11-21

Similar Documents

Publication Publication Date Title
JP5051114B2 (ja) ポット型苗株移植機
JP4923613B2 (ja) 苗移植機
JP5505233B2 (ja) 苗移植機
JP5056745B2 (ja) 施肥装置付き乗用型苗移植機
JP2010004779A (ja) 粉粒体吐出装置
JP5293111B2 (ja) 苗移植機
JP5077166B2 (ja) 作業機
JP5077166B6 (ja) 作業機
JP2021170962A (ja) 施肥装置付き苗移植機
JP2011087529A (ja) 乗用型苗移植機
JP7107280B2 (ja) 苗移植機
JP2007228836A (ja) 苗移植機
JP5526568B2 (ja) 農作業機
JP6056428B2 (ja) 苗移植機
JP2010004856A (ja) 苗移植機
JP5163586B2 (ja) 作業機
JP3945372B2 (ja) 苗移植機
JP2010207144A5 (ja)
JP2009296912A (ja) 苗移植機
JP5565451B2 (ja) 作業機
JP2013192504A (ja) 苗移植機
JP5761431B2 (ja) 作業機
JPH1189435A (ja) 苗箱対地処理機
JP2011030432A (ja) 施肥装置付き多条苗移植機
JP2004166548A (ja) 苗移植機

Legal Events

Date Code Title Description
A621 Written request for application examination

Free format text: JAPANESE INTERMEDIATE CODE: A621

Effective date: 20110622

A977 Report on retrieval

Free format text: JAPANESE INTERMEDIATE CODE: A971007

Effective date: 20120725

TRDD Decision of grant or rejection written
A521 Request for written amendment filed

Free format text: JAPANESE INTERMEDIATE CODE: A523

Effective date: 20120730

A01 Written decision to grant a patent or to grant a registration (utility model)

Free format text: JAPANESE INTERMEDIATE CODE: A01

Effective date: 20120731

A01 Written decision to grant a patent or to grant a registration (utility model)

Free format text: JAPANESE INTERMEDIATE CODE: A01

A61 First payment of annual fees (during grant procedure)

Free format text: JAPANESE INTERMEDIATE CODE: A61

Effective date: 20120813

FPAY Renewal fee payment (event date is renewal date of database)

Free format text: PAYMENT UNTIL: 20150907

Year of fee payment: 3

R150 Certificate of patent or registration of utility model

Ref document number: 5077166

Country of ref document: JP

Free format text: JAPANESE INTERMEDIATE CODE: R150

Free format text: JAPANESE INTERMEDIATE CODE: R150

FPAY Renewal fee payment (event date is renewal date of database)

Free format text: PAYMENT UNTIL: 20150907

Year of fee payment: 3

LAPS Cancellation because of no payment of annual fees