JP2010067703A - 導電性バンプ付き基板シート製造方法 - Google Patents

導電性バンプ付き基板シート製造方法 Download PDF

Info

Publication number
JP2010067703A
JP2010067703A JP2008231032A JP2008231032A JP2010067703A JP 2010067703 A JP2010067703 A JP 2010067703A JP 2008231032 A JP2008231032 A JP 2008231032A JP 2008231032 A JP2008231032 A JP 2008231032A JP 2010067703 A JP2010067703 A JP 2010067703A
Authority
JP
Japan
Prior art keywords
substrate sheet
flat plate
substrate
convex portion
conductive
Prior art date
Legal status (The legal status is an assumption and is not a legal conclusion. Google has not performed a legal analysis and makes no representation as to the accuracy of the status listed.)
Granted
Application number
JP2008231032A
Other languages
English (en)
Other versions
JP5125915B2 (ja
Inventor
Tsutomu Uchiumi
海 勉 内
Masayuki Nagashima
島 正 幸 長
Hiroyuki Shirogane
金 弘 之 白
Current Assignee (The listed assignees may be inaccurate. Google has not performed a legal analysis and makes no representation or warranty as to the accuracy of the list.)
Dai Nippon Printing Co Ltd
Original Assignee
Dai Nippon Printing Co Ltd
Priority date (The priority date is an assumption and is not a legal conclusion. Google has not performed a legal analysis and makes no representation as to the accuracy of the date listed.)
Filing date
Publication date
Application filed by Dai Nippon Printing Co Ltd filed Critical Dai Nippon Printing Co Ltd
Priority to JP2008231032A priority Critical patent/JP5125915B2/ja
Publication of JP2010067703A publication Critical patent/JP2010067703A/ja
Application granted granted Critical
Publication of JP5125915B2 publication Critical patent/JP5125915B2/ja
Expired - Fee Related legal-status Critical Current
Anticipated expiration legal-status Critical

Links

Images

Landscapes

  • Printing Methods (AREA)
  • Printing Elements For Providing Electric Connections Between Printed Circuits (AREA)
  • Manufacturing Of Printed Wiring (AREA)

Abstract

【課題】基板シートの表面に導電性ペーストを塗工する工程の回数を減少させ、ひいては、導電性バンプ付基板の製造時間を短縮するとともに、導電性バンプ付き基板シートの製造における歩留まり率を高くすること。
【解決手段】導電性バンプ付き基板シート製造方法は、平板状部材62の複数の平板凸部62aと基板シート61とを当接させる当接工程と、基板シート61に圧力を加えて、基板シート61に平板状部材62の平板凸部62aに対応する基板凸部61aを形成する基板凸部形成工程と、を備えている。導電性バンプ付き基板シート製造方法は、さらに、スキージ22をスクリーン版27上で走査させることによって、スクリーン版27に載置された導電性ペースト70をスクリーン版27に設けられた貫通穴27aを通過させて、基板シート61の基板凸部61a上に転移させる転移工程も備えている。
【選択図】図6

Description

本発明は、基板シート上に複数の導電性バンプを有する導電性バンプ付き基板シートを製造する方法に関する。
従来から、銅箔等の基板シートの表面に複数の略円錐状の導電性バンプが形成された導電性バンプ付き基板シートと、プリプレグ等の非導電性シート(絶縁シート)とを交互に重ね合わせることにより形成される多層プリント配線板が知られている。このような多層プリント配線板において、基板シートの表面に形成された導電性バンプが絶縁シートを貫通することによって、当該絶縁シートの両側にある基板シート同士が導電性バンプによって電気的に接続されるようになっている(例えば、特許文献1乃至3等参照)。
そして、スクリーン版の表面に圧接されるスキージと、スキージをスクリーン版の表面に接離する方向に移動させる空気圧シリンダと、スキージがスクリーン版の表面に圧接された状態でスキージとスクリーン版とを相対移動させてスキージをスクリーン版に対して摺動させる駆動モータとを備え、スキージがスクリーン版の表面上を摺動することにより、半田ペーストなどの導電性ペーストがスクリーン版の貫通穴から押し出されてプリント基板などの基材の表面に印刷が行われる技術が知られている(特許文献4参照)。
このような従来の技術を用いて、銀ペースト、半田ペーストなどの導電性ペーストを基板シートの表面に印刷する方法について、以下、図13および図14を用いて説明する。
まず、図13に示すような平板状の基板シート80を印刷定盤90上に載置し、この平板状の基板シート80の上方にわずかな距離を隔ててスクリーン版92を設置する。また、図14に示すようにスクリーン版92には、基板シート80に導電性バンプ82が形成されるべき位置に対応して複数の貫通穴92aが形成されている。そして、図13および図14に示すように、スキージ96により導電性ペースト98の塗工を行い、この際に図14に示すようにスキージ96がスクリーン版92を下方に押圧してこのスクリーン版92と基板シート80とを当接させることにより、導電性ペースト98がスクリーン版92の貫通穴92aを通過して平板状の基板シート80上に付着する。
その後、基板シート80の乾燥を行うことにより、図15(a)−(d)に示すように基板シート80上の導電性ペースト98が硬化して略円錐状の導電性バンプ82が形成されることとなる。
ここで、基板シート80に形成される導電性バンプ82は、当該基板シート80の厚さ方向(図15(a)−(d)の上下方向)において絶縁シート(図示せず)を貫通させるのに十分な高さが必要とされる。また、多層プリント配線板のファインピッチ化を行う場合には、略円錐状の導電性バンプ82について、同じ高さであっても底面積が小さくなるような形状、すなわちいわゆるアスペクト比の高い略円錐状とする必要がある。
特許第3167840号 特開2004−6577号公報 特開2002−305376号公報 特開平11−48446号公報
しかしながら、従来の導電性バンプ付き基板シートの製造方法においては、平板状の基板シート80上に導電性バンプ82を形成するにあたり、スクリーン印刷工程1回あたりの基板シート80に付着する導電性ペースト98の量はスクリーン版92の貫通穴92aにより定められる。このため、導電性ペースト98の量が十分ではなく、1回のスクリーン印刷工程では導電性バンプ82の高さが絶縁シートを貫通させるのに十分な高さに達しない場合が多い。
より具体的には、導電性バンプ82により絶縁シートを貫通させる際には、図15(d)に示すような高さを有する略円錐状の導電性バンプ82が求められる。ここで、図15(a)−(d)は、従来の方法により基板シート80に導電性バンプ82が形成される過程を示す図であって、図15(a)(b)(c)(d)はそれぞれ、1回目、2回目、3回目および4回目のスクリーン印刷工程および乾燥工程後の導電性バンプ82の形状を示している。このため、この例では、図13に示すようなスクリーン印刷工程を4回繰り返して行うことが必要とされる。
しかしながら、スクリーン印刷工程を1回行うたびに基板シート80の乾燥工程およびCCDカメラ等によるスクリーン版92の位置合わせ工程が必要となり、十分な高さの導電性バンプ82が形成されるまでこれらの工程も何度も繰り返す必要があり製造時間が非常にかかってしまう。また、スクリーン印刷工程を繰り返し行うと、スクリーン印刷工程実行回数をa、1回のスクリーン印刷工程において不良が発生する割合をbとしたときに、歩留まり率は(1−b)≒1−a×bとなり、スクリーン印刷工程の実行回数が増えれば増えるほど導電性バンプ付き基板シートの製造における歩留まり率が低下してしまう。
ところで、上述した従来の方法によれば、導電性ペースト98を複数回転移させることによって、転移される量を多くすることができ、上方の(導電性バンプ付き)基板シートと下方の導電性バンプ付き基板シートとの間の抵抗値を低減することができる。しかしながら、やはり、導電性ペースト98を複数回転移させる必要があることから、上述のように製造時間が非常にかかってしまい、また、歩留まり率も低下してしまう。
本発明は、このような点を考慮してなされたものであり、基板シートの表面に導電性ペーストを塗工する工程の回数を減少させることができ、ひいては、導電性バンプ付基板の製造時間を短縮することができるとともに、歩留まり率を高くすることができる導電性バンプ付き基板シート製造方法を提供することを目的とする。
本発明の第一の態様による導電性バンプ付き基板シート製造方法は、
平板状部材の複数の平板凸部と基板シートとを当接させる当接工程と、
前記基板シートまたは前記平板状部材に圧力を加えて、該基板シートに前記平板状部材の平板凸部に対応する基板凸部を形成する基板凸部形成工程と、
スキージをスクリーン版上で走査させることによって、該スクリーン版に載置された導電性ペーストを該スクリーン版に設けられた貫通穴を通過させて、前記基板シートの前記基板凸部上に転移させる転移工程と、
を備えている。
本発明の第二の態様による導電性バンプ付き基板シート製造方法は、
平板状部材の複数の平板凸部と基板シートとを当接させる当接工程と、
前記基板シートまたは前記平板状部材に圧力を加えて、該基板シートに前記平板状部材の平板凸部に対応する基板凹部を形成する基板凹部工程と、
スキージをスクリーン版上で走査させることによって、該スクリーン版に載置された導電性ペーストを該スクリーン版に設けられた貫通穴を通過させて、前記基板シートの前記基板凹部上に転移させる転移工程と、
を備えている。
本発明の第一の態様および第二の態様による導電性バンプ付き基板シート製造方法において、
平板状部材準備体上に光硬化性樹脂を載置する樹脂載置工程と、
前記平板状部材準備体上に載置された光硬化性樹脂に光を照射して硬化させることによって、前記平板凸部を形成する平板凸部形成工程と、
をさらに備えたことが好ましい。
上述のような導電性バンプ付き基板シート製造方法において、
前記平板凸部形成工程において光硬化性樹脂に照射される光は、レーザ光からなることが好ましい。
本発明の第一の態様および第二の態様による導電性バンプ付き基板シート製造方法において、
前記平板凸部は、略円柱形状からなることが好ましい。
本発明の第一の態様および第二の態様による導電性バンプ付き基板シート製造方法において、
前記平板凸部は、略円柱形状からなる第一円柱部と、該第一円柱部上に配置され、該第一円柱部の直径よりも小さな直径の略円柱形状からなる第二円柱部と、を有することが好ましい。
本発明の第一の態様による導電性バンプ付き基板シート製造方法において、
前記基板凸部上に載置される導電性ペーストの横断面が円形形状からなって、該導電性ペーストの横断面の最大直径がRbからなり、前記基板シートの厚みがDpからなる場合に、前記平板凸部の直径がRb−Dp×2以下からなることが好ましい。
本発明の第一の態様による導電性バンプ付き基板シート製造方法において、
前記平板凸部は、略円柱形状からなる第一円柱部と、該第一円柱部上に配置され、該第一円柱部の直径よりも小さな直径の略円柱形状からなる第二円柱部と、を有し、
前記第二円柱部の直径は、前記基板凸部上に載置される導電性ペーストの直径よりも小さくなっていることが好ましい。
本発明の第一の態様および第二の態様による導電性バンプ付き基板シート製造方法において、
前記基材を前記印刷定盤に対して位置づける位置決め工程をさらに備えたことが好ましい。
上述のような導電性バンプ付き基板シート製造方法において、
前記位置決め工程は、画像取得装置によって前記印刷定盤に保持された基材の画像を取得する画像取得工程と、画像表示装置によって前記画像取得装置で取得された画像を表示する画像表示工程と、該画像表示装置で表示された画像に基づいて前記印刷定盤に対する前記基材の位置を調整する位置調整工程と、を有することが好ましい。
本発明によれば、導電性ペーストが基板シートの基板凸部上に転移されるか、または、導電性ペーストが基板シートの基板凹部上に転移される。このため、導電性ペーストを基板シート上に一回転移させるだけで、導電性バンプの高さを十分なものにしたり、基板シート上に転移される導電性ペーストの量を多くしたりすることができる。この結果、基板シートの表面に導電性ペーストを塗工する工程の回数を減少させることができ、ひいては、導電性バンプ付基板の製造時間を短縮することができるとともに、歩留まり率を高くすることができる。
発明を実施するための形態
第1の実施の形態
以下、本発明に係る導電性バンプ付き基板シート製造方法の第1の実施の形態について、図面を参照して説明する。ここで、図1乃至図10は本発明の第1の実施の形態を示す図である。
図1は、平板状部材準備体62bに平板凸部62aを形成する平板凸部生成装置を示している。この平板凸部生成装置は、光硬化性樹脂62rを収容する樹脂収容部7と、樹脂収容部7内に配置され、平板状部材準備体62bを載置する載置部6と、この載置部6を上下方向に駆動させる上下方向駆動部5と、反射ミラー3を介して載置部6上の光硬化性樹脂62rにレーザ光Lを照射するレーザ照射部1と、を備えている。なお、レーザ照射部1、反射ミラー3および上下方向駆動部5の各々は、これらを制御する平板凸部生成制御部2に接続されている。
ここで、反射ミラー3は、平板凸部生成制御部2からの指示に従って、その反射面が自由に制御される。このため、載置部6上の光硬化性樹脂62rに対するレーザ光LのスポットLpの位置を、自由に選択することができる(図4(a)(b)参照)。
また、平板凸部生成装置の製造工程における下流には、図5(a)−(c)に示すように、複数の平板凸部62aを有する平板状部材62を吸着して保持する保持部9と、平板状部材62の平板凸部62a上に載置された基板シート61(例えば、金属箔)に圧力を加えて、この基板シート61に平板状部材62の平板凸部62aに対応する基板凸部61aを形成する加圧ローラ(加圧部)10と、を備えた基板凸部生成装置が設けられている。なお、平板状部材62には開口(図示せず)が設けられており、この開口を通じて吸着力が働いて基板シート61が保持される。
なお、平板状部材62としては、銅、SUS、アルミなどの金属シートや、PET、PP、PEなどのフィルムおよび樹脂シートなどを用いることができる。また、加圧ローラ10としては、ゴムロール、金属ロール、樹脂ロールなどを用いることができる。
ところで、本実施の形態では、基板シート61に平板状部材62の平板凸部62aに対応する基板凸部61aを形成する加圧部として加圧ローラ10を用いて説明するが(図5(a)−(c)参照)、これに限られることなく、例えば、平プレスなどを用いてもよい。
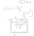
また、図6に示すように、印刷装置は、基材60を保持する印刷定盤30と、所定のパターンからなる複数の貫通穴27aが設けられたメタルマスクなどのスクリーン版27と、このスクリーン版27を保持する保持部26と、スクリーン版27上で走査し、スクリーン版27に載置された銀ペーストや半田ペーストなどの導電性ペースト70(図8参照)を貫通穴27aを介して基材60の基板シート61上に転移させるスキージ22と、を備えている。なお、上述したスキージ22と、このスキージ22を案内するガイド部材21とからスキージ機構20が構成されている。
また、図6に示すように、スキージ機構20の上流側には、印刷定盤30に保持された基材60の画像を取得するCCDカメラ(画像取得装置)11が配置されている。また、このCCDカメラ11には、CCDカメラ11によって取得された画像を表示する表示画面(画像表示装置)12が接続されている。
また、図6に示すように、印刷定盤30は、この印刷定盤30に対する基材60の位置を調整する位置調整装置35を有している。そして、この位置調整装置35には、操作者によって入力された指示を送る位置指示部16が接続されている。なお、基材60にはアライメントマーク(図示せず)が施されており、このアライメントマークをCCDカメラ11で撮影することによって、基材60の印刷定盤30に対する位置が位置決めされる。
なお、本実施の形態においては、上述したCCDカメラ11、表示画面12、位置調整装置35および位置指示部16から位置づける位置決め機構が構成されている。また、印刷定盤30の下方には、この印刷定盤30を案内するガイド部材31が水平方向に延在している。
次に、このような構成からなる本実施の形態の作用について述べる。
(平板凸部62aを有する平板状部材62の形成)
最初に、平板凸部62aを有する平板状部材62を形成する工程について説明する。
まず、光硬化性樹脂62rが収容された樹脂収容部7内の載置部6上に、平板状部材準備体62bが載置される。このとき、光硬化性樹脂62rが平板状部材準備体62b上に載置されることとなる(樹脂載置工程)(図1参照)。次に、レーザ照射部1からのレーザ光Lが載置部6上の光硬化性樹脂62rに照射されて、光硬化性樹脂62rが硬化され、平板凸部62aが形成される(平板凸部形成工程)(光造形法)(図1および図2(a)(b)参照)。なお、図2(a)は、平板状部材準備体62bおよび平板凸部62aを側方からみた側方図であり、図2(b)は、平板状部材準備体62bおよび平板凸部62aを上方からみた上方平面図である。
このとき、平板凸部生成制御部2によって反射ミラー3が制御されることによって、載置部6上の光硬化性樹脂62rに対するレーザ光LのスポットLpが水平方向に円を描くように移動させられるとともに(図4(a)(b)参照)、平板凸部生成制御部2からの信号に基づいて上下方向駆動部5によって載置部6が下方向に駆動される(図1参照)。
ここで、レーザ光LのスポットLpが移動する範囲を大きくすれば大きな平板凸部62aを形成することができるし(図4(a)参照)、他方、レーザ光LのスポットLpが移動する範囲を小さくすれば小さな平板凸部62aを形成することができ(図4(b)参照)、様々な大きさの断面積からなる平板凸部62aを形成することができる(スポットLpを移動させない場合には、スポット径と同じの直径からなる円柱形状の平板凸部62aを形成することができる)。また、上下方向駆動部5によって下方に移動させられる距離を調整することによって、様々な高さの平板凸部62aを形成することができる(図1参照)。
このため、本実施の形態によれば、平板凸部62aの断面積および高さや、平板凸部62aの配置関係を変更する場合であっても、型に硬化性樹脂を流し込むことによって平板凸部62aを形成する場合のように、様々な型を準備する必要がない。このため、容易かつ低コストで、平板凸部62aの断面積および高さ、並びに、平板凸部62aの配置関係を変更することができる。
ところで、図1および図2(a)(b)に示すように単一の略円柱形状からなる平板凸部62aを形成してもよいが、図3(a)(b)に示すように、略円柱形状からなる第一円柱部62aと、この第一円柱部62a上に配置され、第一円柱部62aの直径よりも小さな直径の略円柱形状からなる第二円柱部62aとから平板凸部62aを形成してもよい。図3(a)は、平板状部材準備体62b、第一円柱部62aおよび第二円柱部62aを側方からみた側方図であり、図3(b)は、平板状部材準備体62b、第一円柱部62aおよび第二円柱部62aを上方からみた上方平面図である。
また、本実施の形態によれば、レーザ光LのスポットLpが水平方向で移動する範囲と、上下方向駆動部5によって載置部6を下方に移動させる距離を適宜組み合わせることによって、様々な形状の平板凸部62aを形成することができる
(基板凸部61aを有する基板シート61の形成)
次に、基板凸部61aを有する基板シート61を形成する工程について説明する。
まず、保持部9によって上述のようにして形成された複数の平板凸部62aを有する平板状部材62が吸着して保持される(図5(a)参照)。次に、平板状部材62の複数の平板凸部62aと基板シート61とが当接される(当接工程)。より具体的には、平板状部材62上に、基板シート61が載置される(図5(a)参照)。
次に、当該基板シート61を平板状部材62に押圧した状態で加圧ローラ10が水平方向に移動される(図5(b)参照)。このとき、加圧ローラ10によって、基板シート61に圧力が加えられて、基板シート61に平板状部材62の複数の平板凸部62aに対応する基板凸部61aが形成される(基板凸部形成工程)。
ここで本実施の形態によれば、上述のように、様々な大きさの断面積からなり、様々な高さからなる平板凸部62aを形成することができるので、適切な大きさの断面積からなり、適切な高さ(例えば、20μm〜60μm程度)からなる基板凸部61aを形成することができる。
また、図3(a)(b)に示すように、第一円柱部62aと、この第一円柱部62a上に配置された第二円柱部62aとからなる平板凸部62aを用いた場合には、基板シート61をなめらかな曲線で曲げて基板凸部61aを形成することができる(図10参照)。このため、後述する転移工程において基板凸部61a上に導電性ペースト70を載置させやすくすることができるし、また、基板シート61が誤って破れてしまうといったことを確実に防止することもできる。
(導電性バンプ付き基板シートの生成)
次に、導電性バンプ付き基板シートを生成する工程について説明する。
まず、印刷定盤30によって、複数の平板凸部62aを有する平板状部材62と、平板状部材62上に載置され、基板凸部61aを有する基板シート61とを含む基材60が保持される(保持工程)(図6参照)。なお、基材60は、平板状部材62が下方に位置し、基板シート61が上方に位置するようにして、印刷定盤30上に載置される。
次に、スキージ機構20によって転移される導電性ペースト70が、基板シート61の基板凸部61a上に載置されるように、基材60が印刷定盤30に対して位置づけられる(位置決め工程)(図6参照)。
具体的には、まず、CCDカメラ11によって、印刷定盤30に保持された基材60の画像が撮影される(画像取得工程)。次に、このようにCCDカメラ11によって撮影された基材60の画像が、表示画面12によって表示される(画像表示工程)。
次に、操作者が、表示画面12に表示された画像に基づいて、印刷定盤30を所定の位置に移動させるよう、位置指示部16に指示を入力する。そして、この指示に従って、位置調整装置35が駆動され、印刷定盤30に対する基材60の位置が調整される。例えば、基材60に施されたアライメントマークがCCDカメラ11の中心位置で撮影されるよう、操作者が位置指示部16に指示を入力する。そして、この指示に従って、位置調整装置35が駆動され、アライメントマークがCCDカメラ11の中心位置にくるよう、基材60の印刷定盤30に対する位置が調整される(位置調整工程)。
次に、印刷定盤30が、駆動部(図示せず)から付与される駆動力によって、ガイド部材31に沿って水平方向(図7の右側)に向かって移動される(図7参照)。
次に、スキージ22がガイド部材21に沿ってスクリーン版27上で走査され、スクリーン版27に載置された導電性ペースト70が、貫通穴27aを介して基材60の基板シート61上に転移される(転移工程)(図8参照)。
ここで本実施の形態よれば、上述のように、転移工程の前に、表示画面12に表示された画像に基づいて、印刷定盤30を所定の位置に移動させることができる。このため、この転移工程において、スキージ機構20のスキージ22によって転移される導電性ペースト70を、基板シート61の基板凸部61a上に、確実に転移させることができる。
このように、スキージ機構20によって転移される導電性ペースト70が、基板シート61の基板凸部61a上に確実に載置されることとなるので、スキージ機構20のスキージ22によって導電性ペースト70を基板シート61上に一回転移させるだけで、導電性バンプの高さを十分なものにすることができる。
このため、基板シート61の表面に導電性ペースト70を塗工する工程の回数を減少させることができる。このため、導電性バンプ付基板の製造時間を短縮することができる。また、導電性ペースト70の使用量を減少させることもできる。さらに、導電性バンプ付き基板シートの製造における歩留まり率を高くすることもできる。
なお、本実施の形態では上述のように、基板凸部61aを、適切な大きさの断面積とし、かつ、適切な高さにすることができるので、導電性ペースト70の大きさや高さを容易に適切なものにすることができる。
また、本実施の形態では、基板凸部61aが略円柱形状からなり、上面が平らになっているので、導電性ペースト70を基板凸部61a上に確実に載置することができる。
ところで、第一円柱部62aと、この第一円柱部62a上に配置された第二円柱部62aとからなる平板凸部62aを用いた場合には、第二円柱部62aの直径が、基板凸部61a上に載置される導電性ペースト70の直径よりも小さくなっていることが好ましい。
このように、第二円柱部62aの直径が、基板凸部61a上に載置される導電性ペースト70の直径よりも小さくなっている場合には、第二円柱部62aに沿って形成される基板凸部61a上に、より確実に導電性ペースト70を載置することができるためである(図10参照)。
また、基板凸部61a上に載置される導電性ペースト70(硬化されると導電性バンプになる)の横断面は円形形状からなっており、その最大直径(下方端部の直径)がRb(例えば、200μm)からなり、基板シート61の厚みがDp(例えば、18μm)からなる場合には、基板凸部61a上に導電性ペースト70を効率よく形成するために、平板凸部62aの最大直径(図10では第二円柱部62aの最大直径)がRb−Dp×2以下(例えば、164μm以下)になっていることが好ましい(図10参照)。なお、導電性ペースト70の直径は、貫通穴27aの直径に対応している。
上述のように、導電性ペースト70が基板シート61の基板凸部61a上に載置されると、印刷定盤30は水平方向(図9の左側)に移動し、初期位置に戻ることとなる(図9参照)。このとき、スキージ機構20も初期位置に戻る(図9参照)。
次に、基板シート61は平板状部材62から剥離される。その後、基板シート61の各基板凸部61aに付着した導電性ペースト70が乾燥されて硬化される(硬化工程)。この結果、基板シート61上に略円錐状の導電性バンプが形成されて、導電性バンプ付き基板シートが生成される。なお、導電性ペースト70が紫外線硬化性の材料からなる場合には、導電性ペースト70を乾燥させる代わりに、導電性ペースト70に紫外線を照射することによって硬化させてもよい。
上述のようにして導電性バンプ付き基板シートが生成されると、この導電性バンプ付き基板シート上に未硬化の絶縁シート(図示せず)が配置されて、押圧される。このことによって、導電性バンプが絶縁シートを貫通して、導電性バンプ付き基板シート上に絶縁シートが位置づけられることとなる。
次に、別の(導電性バンプ付き)基板シート(最も上方に位置する基板シート61には導電性バンプは付いていない)が、未硬化の絶縁シート上に載置され、その後押圧される。このことによって、下方に位置する導電性バンプ付き基板シートの導電性バンプが、上方に位置する(導電性バンプ付き)基板シートの裏面内に貫入されることとなる。次に、絶縁シートが硬化され、その後、(導電性バンプ付き)基板シートに回路が形成される。
このような工程を繰り返し行うことによって、多層プリント配線板が製造されることとなる。
第2の実施の形態
次に、図11(a)(b)および図12により、本発明の第2の実施の形態について説明する。図11(a)(b)および図12に示す第2の実施の形態は、基板シート61に圧力を加えて、基板シート61に平板状部材62の平板凸部62aに対応する基板凸部61aを形成する代わりに、平板状部材62に圧力を加えて、基板シート61に平板状部材62の平板凸部62aに対応する基板凹部61pを形成するものである。そして、導電性ペースト70が、基板シート61の基板凸部61a上に転移される代わりに、基板シート61の基板凹部61p上に転移されるものである。その他の構成は図1乃至図10に示す第1の実施の形態と略同一である。
図11(a)(b)および図12に示す第2の実施の形態において、図1乃至図10に示す第1の実施の形態と同一部分には同一符号を付して詳細な説明は省略する。
平板凸部62aを有する平板状部材62は、第1の実施の形態と同様の方法によって生成される。以下、このようにして生成された平板凸部62aを有する平板状部材62を用いた本実施の形態の作用効果について説明する。
(基板凹部61pを有する基板シート61の形成)
以下、基板凹部61pを有する基板シート61を形成する工程について説明する。
まず、保持部9によって基板シート61が吸着して保持される(図11(a)参照)。次に、平板状部材62の複数の平板凸部62aと基板シート61とが当接される(当接工程)。より具体的には、基板シート61上に、平板凸部62aが下方に位置するようにして平板状部材62が載置される(図11(a)参照)。
次に、当該平板状部材62を基板シート61に押圧した状態で加圧ローラ10が水平方向に移動される(図11(b)参照)。このとき、加圧ローラ10によって、基板シート61に圧力が加えられて、基板シート61に平板状部材62の複数の平板凸部62aに対応する基板凹部61pが形成される(基板凹部形成工程)。
ここで本実施の形態によれば、様々な大きさの断面積からなり、様々な高さからなる平板凸部62aを形成することができるので、適切な大きさの断面積からなり、適切な深さ(例えば、20μm〜60μm程度)からなる基板凹部61pを形成することができる。
(導電性バンプ付き基板シートの生成)
次に、導電性バンプ付き基板シートを生成する工程について説明する。
まず、基板シート61が平板状部材62から剥離される。次に、印刷定盤30によって、基板凹部61pを有する基板シート61が保持される(保持工程)(図12参照)。このとき、基板シート61は、基板凹部61pの開口が上方を向くようにして位置づけられている。
次に、スキージ機構20によって転移される導電性ペースト70が、基板シート61の基板凹部61p内に載置されるように、基板シート61が印刷定盤30に対して位置づけられる(位置決め工程)(図12参照)。このときの具体的な工程は、第1の実施の形態と同様である。
次に、印刷定盤30が、駆動部(図示せず)から付与される駆動力によって、ガイド部材31に沿って水平方向(図12の右側)に向かって移動される(図7参照)。
次に、スキージ22がガイド部材21に沿ってスクリーン版27上で走査され、スクリーン版27に載置された導電性ペースト70が、貫通穴27aを介して基材60の基板シート61上に転移される(転移工程)(図8参照)。
ここで本実施の形態よれば、上述のように、転移工程の前に、表示画面12に表示された画像に基づいて、印刷定盤30を所定の位置に移動させることができる。このため、後述する転移工程において、スキージ機構20のスキージ22によって転移される導電性ペースト70を、基板シート61の基板凹部61p内に、確実に転移させることができる。
そして、このように基板凹部61p内に導電性ペースト70を転移させることによって、転移される導電性ペースト70の量を多くすることができる。このため、スキージ機構20のスキージ22によって導電性ペースト70を基板シート61上に一回転移させるだけで、基板凹部61p内に転移される導電性ペースト70の量を十分なものにすることができる。
この結果、後述する工程で導電性バンプ上に載置される上方の(導電性バンプ付き)基板シート61と下方の導電性バンプ付き基板シートとの間の抵抗値を低減することができ、ひいては、多層プリント基板の抵抗値を低減することができる。
また、上述のように導電性ペースト70を基板シート61上に一回転移させるだけで多層プリント基板の抵抗値を低減することができるので、導電性バンプ付基板の製造時間を短縮することができるとともに、導電性バンプ付き基板シートの製造における歩留まり率を高くすることもできる。
また、図3(a)(b)に示すように、第一円柱部62aと、この第一円柱部62a上に配置された第二円柱部62aとからなる平板凸部62aを用いて基板凹部61pを形成した場合には、基板凹部61pを段形状にすることができるので、基板凹部61pの表面積を大きくすることができる。このため、転移される導電性ペースト70と基板凹部61pとの接触面積を大きくすることができ、ひいては、多層プリント基板の抵抗値をより低減することができる。
ところで、本実施の形態では、基板凹部61pを、適切な大きさの断面積とし、かつ、適切な深さにすることができるので、転移される導電性ペースト70の量を容易に適切なものにすることができる。
上述のように、導電性ペースト70が基板シート61の基板凹部61p内に載置されると、印刷定盤30は水平方向(図12の左側)に移動し、初期位置に戻ることとなる(図9参照)。このとき、スキージ機構20も初期位置に戻る(図9参照)。
次に、基板シート61の各基板凹部61p内に転移された導電性ペースト70が硬化される(硬化工程)。この結果、基板シート61上に略円錐状の導電性バンプが形成されて、導電性バンプ付き基板シートが生成される。
上述のようにして導電性バンプ付き基板シートが生成されると、この導電性バンプ付き基板シート上に未硬化の絶縁シート(図示せず)が配置されて、押圧される。このことによって、導電性バンプが絶縁シートを貫通して、導電性バンプ付き基板シート上に絶縁シートが位置づけられることとなる。
次に、別の(導電性バンプ付き)基板シートが、未硬化の絶縁シート上に載置され、その後押圧される。このことによって、下方に位置する導電性バンプ付き基板シートの導電性バンプが、上方に位置する(導電性バンプ付き)基板シートの裏面内に貫入されることとなる。次に、絶縁シートが硬化され、その後、(導電性バンプ付き)基板シートに回路が形成される。
このような工程を繰り返し行うことによって、多層プリント配線板が製造されることとなる。
本発明の第1の実施の形態による平板凸部生成装置の構成を示す概略側方図。 本発明の第1の実施の形態における平板状部材準備体および平板凸部の側方図と上方平面図。 本発明の第1の実施の形態における平板状部材準備体、第一円柱部および第二円柱部の側方図と上方平面図。 本発明の第1の実施の形態におけるレーザ光のスポットの移動態様を示した上方平面図。 本発明の第1の実施の形態による基板凸部生成装置の構成を示す概略側方図。 本発明の第1の実施の形態による印刷装置を側方から見た概略側方図。 本発明の第1の実施の形態による印刷装置の一駆動状態を示した概略側方図。 図7に示した状態から進んだ状態にある印刷装置を示した概略側方図。 図8に示した状態から進んだ状態にある印刷装置を示した概略側方図。 本発明の第1の実施の形態において、導電性ペーストの直径Rb、基板シートの厚みDp、および、平板凸部の直径の関係を示した概略縦断面図。 本発明の第2の実施の形態による基板凹部生成装置の構成を示す概略側方図。 本発明の第2の実施の形態による印刷装置を側方から見た概略側方図。 基板シートに導電性バンプを形成する従来の方法を示す側面図。 図13の部分拡大側面図。 従来の方法により基板シートに導電性バンプが形成される過程を示す図。
符号の説明
1 レーザ照射部
2 平板凸部生成制御部
3 反射ミラー
5 上下方向駆動部
6 載置部
7 樹脂収容部
11 CCDカメラ(画像取得装置)
12 画像表示装置
22 スキージ
27 スクリーン版
27a 貫通穴
61 基板シート
61a 基板凸部
62b 平板状部材準備体
61p 基板凹部
62 平板状部材
62a 平板凸部
62a 第一円柱部
62a 第二円柱部
62r 光硬化性樹脂
70 導電性ペースト
L レーザ光
Lp スポット

Claims (10)

  1. 平板状部材の複数の平板凸部と基板シートとを当接させる当接工程と、
    前記基板シートまたは前記平板状部材に圧力を加えて、該基板シートに前記平板状部材の平板凸部に対応する基板凸部を形成する基板凸部形成工程と、
    スキージをスクリーン版上で走査させることによって、該スクリーン版に載置された導電性ペーストを該スクリーン版に設けられた貫通穴を通過させて、前記基板シートの前記基板凸部上に転移させる転移工程と、
    を備えたことを特徴とする導電性バンプ付き基板シート製造方法。
  2. 平板状部材の複数の平板凸部と基板シートとを当接させる当接工程と、
    前記基板シートまたは前記平板状部材に圧力を加えて、該基板シートに前記平板状部材の平板凸部に対応する基板凹部を形成する基板凹部工程と、
    スキージをスクリーン版上で走査させることによって、該スクリーン版に載置された導電性ペーストを該スクリーン版に設けられた貫通穴を通過させて、前記基板シートの前記基板凹部上に転移させる転移工程と、
    を備えことを特徴とする導電性バンプ付き基板シート製造方法。
  3. 平板状部材準備体上に光硬化性樹脂を載置する樹脂載置工程と、
    前記平板状部材準備体上に載置された光硬化性樹脂に光を照射して硬化させることによって、前記平板凸部を形成する平板凸部形成工程と、
    をさらに備えたことを特徴とする請求項1または2のいずれか1項に記載の導電性バンプ付き基板シート製造方法。
  4. 前記平板凸部形成工程において光硬化性樹脂に照射される光は、レーザ光からなることを特徴とする請求項3に記載の導電性バンプ付き基板シート製造方法。
  5. 前記平板凸部は、略円柱形状からなることを特徴とする請求項1または2のいずれか1項に記載の導電性バンプ付き基板シート製造方法。
  6. 前記平板凸部は、略円柱形状からなる第一円柱部と、該第一円柱部上に配置され、該第一円柱部の直径よりも小さな直径の略円柱形状からなる第二円柱部と、を有することを特徴とする請求項1または2のいずれか1項に記載の導電性バンプ付き基板シート製造方法。
  7. 前記基板凸部上に載置される導電性ペーストの横断面が円形形状からなって、該導電性ペーストの横断面の最大直径がRbからなり、前記基板シートの厚みがDpからなる場合に、前記平板凸部の直径がRb−Dp×2以下からなることを特徴とする請求項1に記載の導電性バンプ付き基板シート製造方法。
  8. 前記平板凸部は、略円柱形状からなる第一円柱部と、該第一円柱部上に配置され、該第一円柱部の直径よりも小さな直径の略円柱形状からなる第二円柱部と、を有し、
    前記第二円柱部の直径は、前記基板凸部上に載置される導電性ペーストの直径よりも小さくなっていることを特徴とする請求項1に記載の導電性バンプ付き基板シート製造方法。
  9. 前記基材を前記印刷定盤に対して位置づける位置決め工程をさらに備えたことを特徴とする請求項1または2のいずれか1項に記載の導電性バンプ付き基板シート製造方法。
  10. 前記位置決め工程は、画像取得装置によって前記印刷定盤に保持された基材の画像を取得する画像取得工程と、画像表示装置によって前記画像取得装置で取得された画像を表示する画像表示工程と、該画像表示装置で表示された画像に基づいて前記印刷定盤に対する前記基材の位置を調整する位置調整工程と、を有することを特徴とする請求項8に記載の導電性バンプ付き基板シート製造方法。
JP2008231032A 2008-09-09 2008-09-09 導電性バンプ付き基板シート製造方法 Expired - Fee Related JP5125915B2 (ja)

Priority Applications (1)

Application Number Priority Date Filing Date Title
JP2008231032A JP5125915B2 (ja) 2008-09-09 2008-09-09 導電性バンプ付き基板シート製造方法

Applications Claiming Priority (1)

Application Number Priority Date Filing Date Title
JP2008231032A JP5125915B2 (ja) 2008-09-09 2008-09-09 導電性バンプ付き基板シート製造方法

Publications (2)

Publication Number Publication Date
JP2010067703A true JP2010067703A (ja) 2010-03-25
JP5125915B2 JP5125915B2 (ja) 2013-01-23

Family

ID=42193057

Family Applications (1)

Application Number Title Priority Date Filing Date
JP2008231032A Expired - Fee Related JP5125915B2 (ja) 2008-09-09 2008-09-09 導電性バンプ付き基板シート製造方法

Country Status (1)

Country Link
JP (1) JP5125915B2 (ja)

Citations (5)

* Cited by examiner, † Cited by third party
Publication number Priority date Publication date Assignee Title
JPH10163595A (ja) * 1996-12-03 1998-06-19 Toshiba Corp プリント配線板、これを備えた電子機器、およびプリント配線板の製造方法
JP2000177101A (ja) * 1998-12-18 2000-06-27 Tokin Corp スクリ―ン印刷装置における版の位置調整方法
JP2003086947A (ja) * 2001-09-13 2003-03-20 Kyocera Chemical Corp プリント配線基板、及び、その製造方法
JP2006086153A (ja) * 2004-09-14 2006-03-30 Sony Chem Corp フレキシブル配線板及びフレキシブル配線板の製造方法
WO2008065926A1 (en) * 2006-11-28 2008-06-05 Panasonic Corporation Electronic component mounting structure and method for manufacturing the same

Patent Citations (5)

* Cited by examiner, † Cited by third party
Publication number Priority date Publication date Assignee Title
JPH10163595A (ja) * 1996-12-03 1998-06-19 Toshiba Corp プリント配線板、これを備えた電子機器、およびプリント配線板の製造方法
JP2000177101A (ja) * 1998-12-18 2000-06-27 Tokin Corp スクリ―ン印刷装置における版の位置調整方法
JP2003086947A (ja) * 2001-09-13 2003-03-20 Kyocera Chemical Corp プリント配線基板、及び、その製造方法
JP2006086153A (ja) * 2004-09-14 2006-03-30 Sony Chem Corp フレキシブル配線板及びフレキシブル配線板の製造方法
WO2008065926A1 (en) * 2006-11-28 2008-06-05 Panasonic Corporation Electronic component mounting structure and method for manufacturing the same

Also Published As

Publication number Publication date
JP5125915B2 (ja) 2013-01-23

Similar Documents

Publication Publication Date Title
CA2754337C (en) Illumination system for use in a stereolithography apparatus
JP6774178B2 (ja) 基板を処理する装置、及び物品の製造方法
JP2021061394A (ja) 転写装置及び転写方法
JP6694101B1 (ja) 微細構造転写装置及び微細構造転写方法
JP2001301120A (ja) スクリーン印刷方法およびスクリーン印刷装置
KR100755235B1 (ko) 임프린팅장치
JP5067666B2 (ja) 印刷装置
JP5125915B2 (ja) 導電性バンプ付き基板シート製造方法
JP5067667B2 (ja) 印刷方法
JP5088630B2 (ja) 導電性バンプ付き基板シート製造方法
CN108508698B (zh) 用于图案压印的装置和方法
KR20140081686A (ko) 기판의 제조방법
US20190176388A1 (en) Method for manufacturing three-dimensional shaped object, additive manufacturing apparatus, and article
JP5077766B2 (ja) 印刷装置および印刷方法
JP5067671B2 (ja) 導電性バンプ付き基板シート製造方法
JP5083132B2 (ja) 多層プリント配線板製造方法
CN110892334B (zh) 用于光敏聚合物印刷版的直接固化的系统和过程
JP5176819B2 (ja) 多層プリント配線板の製造方法
JP5332476B2 (ja) 導電性バンプ付き基板シート製造方法および多層プリント配線板製造方法
JP2010080544A (ja) 導電性バンプ付き基板シートの製造方法および多層プリント配線板の製造方法
JP2010080545A (ja) 導電性バンプ付き基板シート、導電性基板シートおよび多層プリント配線板
JP5402784B2 (ja) 導電性バンプ付基板シートの製造方法および多層プリント配線板の製造方法
JP2010076123A (ja) 導電性バンプ付き基板シート製造方法
JP2013021111A (ja) 導電性バンプ付き基板シートの製造装置および製造方法
JP2017005085A (ja) インプリント装置及びインプリント方法

Legal Events

Date Code Title Description
A621 Written request for application examination

Free format text: JAPANESE INTERMEDIATE CODE: A621

Effective date: 20110614

A131 Notification of reasons for refusal

Free format text: JAPANESE INTERMEDIATE CODE: A131

Effective date: 20120410

A977 Report on retrieval

Free format text: JAPANESE INTERMEDIATE CODE: A971007

Effective date: 20120412

A521 Written amendment

Free format text: JAPANESE INTERMEDIATE CODE: A523

Effective date: 20120611

A131 Notification of reasons for refusal

Free format text: JAPANESE INTERMEDIATE CODE: A131

Effective date: 20120720

A521 Written amendment

Free format text: JAPANESE INTERMEDIATE CODE: A523

Effective date: 20120730

TRDD Decision of grant or rejection written
A01 Written decision to grant a patent or to grant a registration (utility model)

Free format text: JAPANESE INTERMEDIATE CODE: A01

Effective date: 20121002

A01 Written decision to grant a patent or to grant a registration (utility model)

Free format text: JAPANESE INTERMEDIATE CODE: A01

A61 First payment of annual fees (during grant procedure)

Free format text: JAPANESE INTERMEDIATE CODE: A61

Effective date: 20121015

R150 Certificate of patent or registration of utility model

Free format text: JAPANESE INTERMEDIATE CODE: R150

FPAY Renewal fee payment (event date is renewal date of database)

Free format text: PAYMENT UNTIL: 20151109

Year of fee payment: 3

LAPS Cancellation because of no payment of annual fees