JP2010066965A - 搬送システム - Google Patents

搬送システム Download PDF

Info

Publication number
JP2010066965A
JP2010066965A JP2008232123A JP2008232123A JP2010066965A JP 2010066965 A JP2010066965 A JP 2010066965A JP 2008232123 A JP2008232123 A JP 2008232123A JP 2008232123 A JP2008232123 A JP 2008232123A JP 2010066965 A JP2010066965 A JP 2010066965A
Authority
JP
Japan
Prior art keywords
transport
vehicle
conveyance
notice
advance notice
Prior art date
Legal status (The legal status is an assumption and is not a legal conclusion. Google has not performed a legal analysis and makes no representation as to the accuracy of the status listed.)
Granted
Application number
JP2008232123A
Other languages
English (en)
Other versions
JP5374981B2 (ja
Inventor
Masayoshi Yoshida
正義 吉田
Current Assignee (The listed assignees may be inaccurate. Google has not performed a legal analysis and makes no representation or warranty as to the accuracy of the list.)
Muratec Automation Co Ltd
Original Assignee
Muratec Automation Co Ltd
Priority date (The priority date is an assumption and is not a legal conclusion. Google has not performed a legal analysis and makes no representation as to the accuracy of the date listed.)
Filing date
Publication date
Application filed by Muratec Automation Co Ltd filed Critical Muratec Automation Co Ltd
Priority to JP2008232123A priority Critical patent/JP5374981B2/ja
Publication of JP2010066965A publication Critical patent/JP2010066965A/ja
Application granted granted Critical
Publication of JP5374981B2 publication Critical patent/JP5374981B2/ja
Active legal-status Critical Current
Anticipated expiration legal-status Critical

Links

Images

Landscapes

  • Warehouses Or Storage Devices (AREA)
  • Control Of Position, Course, Altitude, Or Attitude Of Moving Bodies (AREA)

Abstract

【課題】搬送システムにおいて、搬送車の走行を好適に制御し、効率的な搬送を可能とする
【解決手段】搬送システムは、軌道(100)と、軌道上を夫々走行する複数の搬送車(200)と、複数の搬送車のうち一の搬送車を被搬送物(400)の搬送元に呼び寄せる搬送予告を行う搬送予告手段(310)と、一の搬送車以外の他の搬送車における走行状態の変化を検出する変化検出手段(320,360)と、一の搬送車とされた第1搬送車(200a)及び搬送元(500a)、並びに走行状態の変化が検出された第2搬送車(200b)の位置を夫々検出する位置検出手段(330)と、第2搬送車が第1搬送車と比べて搬送元に近い場合に、第1搬送車に対する搬送予告を解除すると共に、第2搬送車に搬送予告を行うように搬送予告手段を制御する制御手段(340)とを備える。
【選択図】図1

Description

本発明は、例えば半導体装置製造用の各種基板等が収容された容器等の被搬送物を、軌道上で搬送する搬送システムの技術分野に関する。
この種の搬送システムとして、複数の搬送車が軌道上を走行することによって、被搬送物を搬送するというものがある。搬送指示を受けた複数の搬送車は、先ず搬送元まで走行し、そこで被搬送物を積載した後、搬送先まで走行する。そして、搬送先に被搬送物を荷下ろしする。
このような搬送システムでは、システムの動作を管理するコントローラ等から搬送車に対して夫々搬送指示が行われる。コントローラは、搬送効率を高めるため、最短所要時間で被搬送物を搬送できるように搬送車を制御するとされている(例えば、特許文献1参照)。
特開2005−45157号公報
しかしながら、上述したような技術においては、軌道に複数の搬送車が存在しており、システム全体における搬送車の状況は時間と共に変化する。このため、例えば搬送指示を行った時点では搬送に最適であったはずの搬送車が、搬送元に到着するまでの期間において別の搬送車へと変わってしまう場合がある。言い換えれば、システムにおける状況の変化に応じて搬送指示を行わなければ、最適な搬送を行えないという技術的問題点がある。
本発明は、例えば上述した問題点に鑑みなされたものであり、効率的に被搬送物を搬送可能な搬送システムを提供することを課題とする。
本発明の搬送システムは上記課題を解決するために、軌道と、該軌道上を夫々走行する複数の搬送車と、前記複数の搬送車のうち一の搬送車を被搬送物の搬送元に呼び寄せる搬送予告を前記一の搬送車に対して行う搬送予告手段と、前記一の搬送車以外の他の搬送車における走行状態の変化を検出する変化検出手段と、前記一の搬送車とされた第1搬送車及び前記搬送元、並びに前記走行状態の変化が検出された第2搬送車の位置を夫々検出する位置検出手段と、前記第2搬送車が前記第1搬送車と比べて前記搬送元に近い場合に、前記第1搬送車に対する前記搬送予告を解除すると共に、前記第2搬送車を新たに前記一の搬送車として前記第2搬送車に対して前記搬送予告を行うように前記搬送予告手段を制御する制御手段とを備える。
本発明の搬送システムによれば、その動作時には、例えば天井に敷設されたレール等の軌道上を走行する、ビークル、OHT(Overhead Hoist Transport)等の搬送車によって、FOUP(Front Opening Unified Pod)等の被搬送物が搬送される。搬送車は、軌道に沿って設けられた複数の保管棚間で被搬送物を搬送する。
搬送の際には、先ず搬送予告手段によって搬送予告が一の搬送車に対して行われ、該一の搬送車が被搬送物の搬送元に呼び寄せられる。呼び寄せられた搬送車には、搬送元から搬送先へ被搬送物を搬送するように搬送指示が行われる。搬送指示を受けた搬送車は、搬送元から被搬送物を積載し、搬送先へと搬送する。尚、搬送予告は、典型的には、上述したように搬送元へ搬送車を呼び寄せるだけのものであるが、搬送指示を含んでいてもよい。即ち、搬送車を呼び寄せる段階で、搬送先への搬送が指示されてもよい。言い換えれば、本発明の搬送予告は、搬送元から搬送先へと被搬送物を搬送させる搬送指示に含まれるものであってもよく、被搬送物を積載する搬送車を搬送元に向かわせるような制御であれば、搬送予告と呼ぶことができる。即ち、搬送予告は、搬送指示に先立って行われるような制御に限定されない。但し、説明の便宜上、以降の説明においては、搬送指示が行われる前に搬送予告が行われる場合(即ち、搬送予告と搬送指示とが別々に行われる場合)を例にとり説明する。搬送予告を受けていない搬送車は、典型的には、軌道上を巡回している。即ち、搬送を行っていない搬送車も、軌道上を夫々走行し続けている。
搬送予告が行われると、変化検出手段によって、一の搬送車以外の他の搬送車における走行状態の変化が検出される。尚、ここでの「走行状態」とは、複数の搬送車の中から搬送予告が行われる一の搬送車を決定する際に用いられる、搬送車に係るパラメータであり、例えば搬送車の走行位置や搬送車が被搬送物を搬送中であるか否か等の情報を含んでいる。搬送予告手段は、典型的には、搬送元に最も近く、且つ被搬送物を搬送中でない搬送車に対して搬送予告を行うことで、システムにおける搬送を効率的なものとする。即ち、本発明における走行状態とは、複数の搬送車の中から効率的に搬送を行える搬送車を決定するための情報ともいえる。言い換えれば、搬送予告を行う搬送車を決定する際に利用できる各種情報は、本発明における走行状態を示すものであるといえる。
走行状態の変化が検出されると、位置検出手段によって、一の搬送車とされた第1搬送車及び搬送元、並びに走行状態の変化が検出された第2搬送車の位置が夫々検出される。尚、第2搬送車は、1台の第1搬送車に対して複数存在し得る。よって、第2搬送車の位置は、典型的には、複数の第2搬送車について夫々検出されることとなる。第1搬送車及び搬送元についても、搬送予告毎に存在することになるため、システム全体で見れば複数存在し得る。このため、第1搬送車及び搬送元の位置も、搬送予告毎に夫々検出される。
本発明では特に、第2搬送車が第1搬送車と比べて搬送元に近い場合に、制御手段によって、第1搬送車に対する搬送予告を解除すると共に、第2搬送車を第1搬送車に代わる新たに一の搬送車とした上で、該第2搬送車に対して搬送予告を行うように搬送予告手段が制御される。尚、ここでの第2搬送車及び第1搬送車、並びに搬送元の互いの位置関係は、直線距離ではなく、軌道上の走行距離によって比較される。即ち、「第2搬送車が第1搬送車と比べて搬送元に近い」とは、第2搬送車が軌道を走行して搬送元に到達するまでの時間が、第1搬送車が軌道を走行して搬送元に到達するまでの時間より短いことを意味している。
第1搬送車から第2搬送車へ搬送予告が受け継がれることにより、第1搬送車は軌道上を巡回する状態となる。一方、第2搬送車は、搬送予告によって搬送元へ呼び寄せられる。上述したように、第2搬送車は、第1搬送車よりも搬送元から近い位置を走行している。よって、第2搬送車に搬送予告が行われることで、搬送元に搬送車が到達するまでの時間を短縮することができる。従って、より速やかに搬送を行うことが可能となる。尚、搬送予告が重複して行われている状態となってしまうのを防止するため、第2搬送車に対する搬送予告は、第1搬送車に対する搬送予告が解除された後に行われるのが好ましい。また、第2搬送車が複数存在する場合には、その中から1台の搬送車が選択された上で、搬送予告が行われる。例えば、搬送予告は、搬送元までの距離が最も短い第2搬送車に対して行われる。
以上説明したように、本発明の搬送システムによれば、搬送車の走行状態が変化した際に、その時点で最適な搬送車に対して搬送予告が再び行われる。従って、効率的に被搬送物を搬送することが可能である。
本発明の搬送システムの一態様では、前記変化検出手段は、前記他の搬送車の前記被搬送物の搬送終了を、前記走行状態の変化として検出する。
この態様によれば、変化検出手段によって、他の搬送車における被搬送物の搬送終了が、走行状態の変化として検出される。尚、「搬送終了」とは、搬送車が搬送を終えて、次の搬送予告を受けることができるようになった状態を指している。検出手段は、例えば搬送車が被搬送物を荷下ろしした際に、走行状態の変化を検出する。
上述したように構成すれば、他の搬送車が搬送中の状態(即ち、搬送予告を受けることができない状態)から搬送予告を受けることができる状態へとなったことを、容易且つ確実に検出できる。即ち、他の搬送車の走行状態の変化を好適に検出できる。よって、第2搬送車とされる搬送車を好適に検出できる。
本発明の搬送システムの他の態様では、前記変化検出手段は、前記他の搬送車の前記軌道における分岐箇所又は合流箇所の通過を、前記走行状態の変化として検出する。
この態様によれば、変化検出手段によって、他の搬送車による軌道の分岐箇所又は合流箇所の通過が、走行状態の変化として検出される。尚、「分岐箇所」は、軌道が複数の分岐経路に分岐する箇所であり、「合流箇所」は、複数の分岐経路が合流する箇所である。分岐箇所及び合流箇所は、典型的には、軌道上に複数設けられている。また、ここでの「通過」とは、搬送車が分岐箇所又は合流箇所を通り過ぎた状態を含む他、分岐箇所又は合流箇所に到達した、或いは分岐箇所又は合流箇所から所定距離の位置に到達した状態を含むものとする。
分岐箇所においては、搬送車がいずれの分岐経路を選択したかによって、複数の搬送車の互いの位置関係(即ち、走行状態)が変化する。また、搬送車が合流箇所において合流された経路に進入した際においても、上述した分岐箇所の場合と同様に、複数の搬送車の互いの位置関係が変化する。よって、搬送車が分岐箇所又は合流箇所を通過したことを検出すれば、走行状態の変化を好適に検出できる。従って、第2搬送車とされる搬送車を好適に検出できる。
本発明の搬送システムの他の態様では、前記軌道は、複数のエリアを有するように構成されており、前記変化検出手段は、前記他の搬送車の前記複数のエリア間の移動を、前記走行状態の変化として検出する。
この態様によれば、変化検出手段によって、他の搬送車による複数のエリア間の移動が、走行状態の変化として検出される。即ち、搬送車が一のエリアから他のエリアへと移動した際に、走行状態の変化が検出される。
軌道が複数のエリアを有する場合には、例えば複数の搬送車の走行は、エリア毎に管理される。そして、各エリアにおける搬送車の台数は、互いに大きな差が出ないように、ある程度バランスがとられる。具体的には、搬送車の数が多くなりすぎたエリアから、搬送車の少ないエリアへ搬送車が移動することで、搬送車の台数バランスがとられる。
エリア間で搬送車が移動すると、搬送車が移動してきたエリアにおいては、新たな搬送車が突然現われた状態となる。このため、搬送予告によって搬送元に向かう搬送車と比べて、より搬送元に近い位置に搬送車が存在することになり得る。よって、エリア間での搬送車の移動を検出すれば、走行状態の変化を好適に検出できる。従って、第2搬送車とされる搬送車を好適に検出できる。
本発明の搬送システムの他の態様では、前記他の搬送車が前記被搬送物を積載していることを検出する積載検出手段を更に備え、前記変化検出手段は、前記他の搬送車のうち前記被搬送物を積載していない搬送車について、前記走行状態の変化を検出する。
この態様によれば、変化検出手段によって走行状態の変化が検出される前に、積載検出手段によって、他の搬送車が被搬送物を積載しているか否かが検出される。変化検出手段では、他の搬送車のうち被搬送物を積載していない搬送車について、走行状態の変化を検出する。即ち、被搬送物を積載している搬送車については、走行状態の変化を検出しない。
被搬送物を積載している搬送車は、仮にその走行位置が検出され、第1搬送車よりも搬送元に近いとされた場合であっても、第1搬送車に代わって搬送予告を受けることができない。このため、被搬送物を積載している搬送車についての走行状態の検出は、制御手段による搬送予告手段の制御には影響しない。よって、搬送物を積載していない搬送車について走行状態の変化を検出するようにすれば、システムにおける処理を軽くすることができ、より好適に搬送効率を向上させることが可能となる。
本発明の搬送システムの他の態様では、前記第2搬送車が前記搬送予告を受けることができるか否かを判定する判定手段を更に備え、前記制御手段は、前記第2搬送車が前記搬送予告を受けることができないとされた場合に、前記搬送予告手段を制御しない。
この態様によれば、制御手段によって搬送予告手段が制御される前に、判定手段によって、第2搬送車が搬送予告を受けることができるか否かが判定される。このため、第2搬送車は、搬送予告手段によって行われた搬送予告を確実に受けることができる。従って、第1搬送車における搬送予告を解除したにもかかわらず、第2搬送車が搬送予告をうけることができないという事態を回避することが可能である。
上述した判定手段を備える態様では、前記判定手段は、前記第2搬送車から前記搬送元までの距離が所定距離より短い場合に、前記第2搬送車は前記搬送予告を受けることができないと判定するように構成してもよい。
このように構成すれば、前記第2搬送車から前記搬送元までの距離が所定距離より短い場合には、判定手段によって、第2搬送車は搬送予告を受けることができないと判定される。尚、「所定距離」とは、仮に第2搬送車と搬送元が近い位置であったとしても、搬送車が搬送予告を受けてから搬送元に停止できるような距離であり、搬送車の速度やシステムの処理能力等に応じて予め設定される。
上述したように構成すれば、例えば第2搬送車が搬送元に近過ぎることにより、第2搬送車が搬送元に向かおうとした際に、搬送元を通過してしまっている(即ち、停止が間に合わない)という状態を回避することができる。従って、搬送予告を受けた第2搬送車は、確実に搬送元に向かうことが可能となる。
本発明の搬送システムの他の態様では、前記第1搬送車が受けている前記搬送予告以外の他の搬送予告を、前記第2搬送車が受けているか否かを検出する予告検出手段を更に備え、前記位置検出手段は、前記第2搬送車が前記他の搬送予告を受けている場合に、前記第1搬送車及び前記搬送元、並びに前記第2搬送車の位置に加えて、前記他の搬送予告に係る他の搬送元の位置を検出し、前記制御手段は、前記第2搬送車及び前記他の搬送元が、いずれも前記第1搬送車及び前記搬送元間に存在する場合に、前記第1搬送車に対する前記搬送予告及び前記第2搬送車に対する前記他の搬送予告を解除すると共に、前記第2搬送車に前記搬送予告を行うように、且つ前記第1搬送車に前記他の搬送予告を行うように前記搬送予告手段を制御する。
この態様によれば、制御手段によって搬送予告手段が制御される前に、予告検出手段によって、第1搬送車が受けている搬送予告以外の他の搬送予告を、第2搬送車が受けているか否かが検出される。即ち、第2搬送車が他の搬送予告に係る他の搬送元に向かっている、或いは他の搬送予告に係る他の搬送先に被搬送物を搬送中であることが検出される。
第2搬送車が他の搬送予告を受けている場合には、位置検出手段によって、第1搬送車及び搬送元、並びに第2搬送車の位置に加えて、他の搬送元の位置が検出される。そして、第2搬送車及び他の搬送元が、いずれも第1搬送車及び搬送元間に存在する場合には、制御手段によって、第1搬送車に対する搬送予告及び第2搬送車に対する他の搬送予告を解除すると共に、第2搬送車に搬送予告を行うように、且つ前1搬送車に他の搬送予告を行うように搬送予告手段が制御される。尚、「第1搬送車及び搬送元間」とは、第1搬送車が搬送元まで走行する走行経路を指している。即ち、本態様では、第1搬送車が搬送元まで走行する走行経路に、第2搬送車及び他の搬送予告における搬送元が存在する場合に、第1搬送車に対して行われていた搬送予告と、第2搬送車に対して行われていた他の搬送予告とが互いに入れ替えられた状態とされる。
第1搬送車に対して行われていた搬送予告と、第2搬送車に対して行われていた他の搬送予告とが互いに入れ替えられることにより、第1搬送車及び第2搬送車は、夫々効率よく搬送を行うことが可能となる。即ち、第1搬送車に行われていた搬送予告に係る搬送元には、より近い位置にいる第2搬送車が向かうようにし、第1搬送車を、それまで向かっていた搬送元より近い位置にある他の搬送予告に係る他の搬送元に向かうようにすることで、効率よく搬送を行うことが可能となる。
本発明の作用及び他の利得は次に説明する発明を実施するための最良の形態から明らかにされる。
以下では、本発明の実施形態について図を参照しつつ説明する。
<第1実施形態>
先ず、第1実施形態に係る搬送システムの全体構成について、図1及び図2を参照して説明する。ここに図1は、第1実施形態に係る搬送システムの全体構成を概略的に示す上面図であり、図2は、ビークルの具体的な構成を示す斜視図である。
図1において、第1実施形態に係る搬送システムは、軌道100と、複数のビークル200と、コントローラ300と、複数のステーション500とを備えて構成されている。
軌道100は、例えば天井に敷設されており、アルミニウムやステンレス等の金属から構成される。尚、ここでは説明の便宜上、軌道100の構成を極めて簡単なものとして図示しているが、実際の軌道100は、例えば分岐箇所において複数の分岐経路に分岐されるような複雑な構成とされてもよい。
ビークル200は、本発明の「搬送車」の一例であり、軌道100に沿って夫々走行することで、半導体基板等の被搬送物を搬送する。ビークル200は、例えばリニアモータを動力として、軌道100上を走行する。また、ビークル200の各々には識別番号が付与されており、例えば、後述するコントローラ300等によって、どのビークル200が、軌道100上におけるどの位置を走行中であるかを識別することが可能である。尚、ここではビークル200をビークル200a及びビークル200bの2台しか図示していないが、典型的には、より多く(例えば数十台、或いは数百台)のビークル200が軌道100上に備えられる。
図2において、ビークル200は、軌道100に吊下げられる形で取り付けられている。ビークル200によって、被搬送物であるFOUP400を移載する際には、ビークル本体220から、グリップ部240がステーション500上に配置されているFOUP400を把持できる位置まで下降する。グリップ部240は、複数のベルト230を介してビークル本体220と接続されており、ベルト230を巻き出し、或いは巻き取ることによって上昇及び下降が可能とされている。FOUP400がグリップ部240に把持されると、グリップ部240及び把持されたFOUP400がビークル本体220の位置まで上昇され、その後にビークル200の走行が開始される。
図1に戻り、コントローラ300は、例えばメモリや演算回路等を含んで構成されており、システム全体の動作を管理して制御するコントロールユニットである。コントローラ300は、搬送予告部310と、搬送終了検出部320と、位置検出部330と、制御部340とを有している。
搬送予告部310は、本発明の「搬送予告手段」の一例であり、搬送元となるステーション500にビークルを呼び寄せるようにビークル200を制御する。搬送予告部310は、例えば無線や、軌道100に設けられた配線等を介して、軌道100上を走行するビークル200を夫々制御する。
搬送終了検出部320は、本発明の「変化検出手段」の一例であり、ビークル200の搬送状況を監視し、搬送が終了したことを検出する。搬送終了は、例えばFOUP400を積載していた状態から、FOUP400を積載していない状態へと変化した際に検出される。この場合は、上述した積載検出部350における結果を用いることで、容易に搬送終了を検出することができる。
位置検出部330は、本発明の「位置検出手段」の一例であり、ビークル200及び搬送元となるステーション500位置を夫々検出する。位置検出部は、検出した位置を用いることにより、ビークル200と搬送元となるステーション500との間の距離も検出することが可能である。
制御部340は、本発明の「制御手段」の一例であり、位置検出部330において検出された距離に応じて、搬送予告部310を制御する。制御の詳細については、後述する搬送システムの動作の説明において述べる。
ステーション500は、軌道100に沿って複数設けられており、夫々FOUP400を保管することが可能とされている。ステーション500は、図2に示したように、FOUP400を保管する単なる棚のようなものであってもよいし、FOUPに対する各種作業を行う装置等を備えた作業ステーションのようなものであってもよい。
次に、第1実施形態に係る搬送システムの動作について図3及び図4を参照して説明する。ここに図3は、第1実施形態に係る搬送システムの全体的な動作の流れを示すフローチャートであり、図4は、第1実施形態に係る搬送システムにおける再配車の際の動作について示すフローチャートである。
図3において、本実施形態に係る搬送システムの動作時には、先ず搬送予告部310(図1参照)が、一のビークル200に対して搬送予告を行う(ステップS11)。搬送予告は、典型的には、搬送元となるステーション500の近くを巡回中であるビークル200に対して行われる。尚、搬送予告は必ずしも全ての搬送作業に対して行われなくともよい。即ち、搬送予告が行われずに搬送指示が行われる場合があってもよい。具体的には、搬送元となるステーション500に極めて近い位置にビークル200が存在している場合であれば、搬送予告を行わずとも効率的な搬送作業が行える。搬送予告を受けたビークル200は、搬送元となるステーション500に呼び込まれ(ステップS12)、搬送指示が行われるまで呼び込まれたステーション500で待機させられる(ステップS13)。即ち、搬送指示が行われた際に、速やかにFOUP400を積載できるような状態とされる。
搬送予告後には、搬送予告を行ったビークル200に対して、搬送指示が行われる(ステップS14)。具体的には、搬送指示部320は、ビークル200に対して、搬送元となるステーション500及び搬送先となるステーション500を伝達する。搬送元で待機していたビークル200は搬送指示に従い、搬送元であるステーション500に保管されているFOUP400を積載する(ステップS15)。FOUP400を積載したビークル200は、搬送先であるステーション500まで走行し(ステップS16)、FOUP400を荷下ろしする。
上述したような一連の処理が各ビークル200に対して夫々行われることにより、被搬送物であるFOUP400が各ステーション間で搬送される。但し、搬送予告が行われる際に、搬送先に呼び寄せるだけでなく、搬送先等を示す搬送指示が行われるようにしてもよい。
第1実施形態に係る搬送システムの動作時には、ビークル200による搬送終了が検出された際に所定の条件が満たされると、搬送予告を受けて搬送元となるステーション500へと向かっているビークル200に対する搬送予告が解除され、搬送が終了したビークル200に対して再び搬送予告が行われる(以下、このような動作を適宜「再配車」と称する)。
図4において、ビークル200の搬送終了が検出されると(ステップS21)、搬送予告済であるビークル200の各々に対して、搬送終了したビークル200が搬送予告を受け継ぐことができるか否かが判定される。この際には、先ず判定の対象となる搬送予告済のビークル200のうち、ビークル番号Vが“1”であるビークル200が対象とされる(ステップS22)。尚、ここでのビークル番号Vは、搬送予告済とされているビークル200の各々にふられている番号であるとする。以下では、判定の対象とされた搬送予告済のビークル200を第1ビークル、搬送終了が検出されたビークル200を第2ビークルとして説明する。
第1ビークルが決定されると、位置検出部330は、第1ビークル及び第2ビークル、並びに搬送元であるステーション500の位置を夫々検出する(ステップS23)。ここで検出された位置から、第1ビークルから搬送元であるステーション500までの距離及び第2ビークルから搬送元であるステーション500までの距離が算出され、どちらがより搬送元であるステーションに500に近いかが判定される(ステップS24)。
ここで、第1ビークルの方が搬送元であるステーション500に近い場合(ステップS24:NO)、搬送予告済のビークル200の中から、判定の対象となるビークル200(即ち、第2ビークル)が再び決定されることになる。具体的には、搬送予告済のビークル200の中に、まだ判定の対象とされていないビークル200が存在しているか否かが検出され(ステップS25)、判定の対象とされていないビークル200が存在していた場合(ステップS25:YES)、対象となるビークル番号がインクリメントされ(ステップS26)、対象となるビークル200が変化する。新たな第2ビークルが決定されると、再び夫々について位置検出が行われる(ステップS23)。一方、判定の対象とされていない搬送予告済ビークルが存在しない場合には(ステップS25:NO)、再配車に係る一連の処理は終了する。
第2ビークルの方が搬送元であるステーション500に近い場合(ステップS24:YES)、制御部340によって搬送予告部310が制御され、第1ビークルに行われていた搬送予告が解除されると共に(ステップS27)第2ビークルに対して、第1ビークルに行われていた搬送予告(即ち、解除された搬送予告)が行われる(ステップS28)。これにより、搬送元となるステーション500に対して、より近い第2ビークルに、第1ビークルに行われていた搬送予告が受け継がれることとなる。よって、搬送元となるステーション500にビークルが到達するまでの時間を短縮できる。
尚、第1ビークルから搬送元までの距離及び第2ビークルから搬送元までの距離の差が殆どない場合には、典型的には、上述した第1ビークルの方が搬送元に近い場合(ステップS25及びステップS26)が行われる。但し、いずれの処理を行うか、及びどの程度の差が生じている場合に差が殆どないと判定するかは、システムの設計事項であり適宜設定することが可能である。
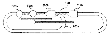
以下では、上述した再配車に係る動作について、図5及び図6に示す具体例を用いて説明する。ここに図5及び図6は夫々、第1実施形態に係る搬送システムにおけるビークルの位置関係の一例を示す上面図である。尚、図5及び図6では、説明の便宜上、図1に示した複数のステーション500のうち説明に必要となるもののみを図示している。
図5において、例えば第1ビークル200aは、搬送予告を受けて搬送元となるステーション500aに向かっており、第2ビークル200bは、搬送先であるステーション500bに向かってFOUP400を搬送中であるとする。
図6において、図5に示した第1ビークル200a及び第2ビークル200bが夫々走行し、第2ビークル200bの搬送が終了したとする。ここでの、2ビークル200bからステーション500aまでの距離は、第1ビークル200aからステーション500aまでの距離よりも短い。よって、第1ビークル200aに行われていた搬送予告は解除され、第2ビークル200bに行われる。この結果、第1ビークル200aは、搬送予告を受けていない巡回状態となり、第2ビークル200bは、搬送元であるステーション500aに呼び寄せられる。
以上説明したように、第1実施形態に係る搬送システムによれば、搬送予告を受けたビークル200が搬送元となるステーション500aに到達する時間を短縮できる。従って、より効率的な搬送が可能である。
<第2実施形態>
次に、第2実施形態に係る搬送システムについて、図7から図11を参照して説明する。尚、第2実施形態は、上述の第1実施形態と比べて、再配車に関する構成及び再配車の際の動作が異なり、その他の構成及び動作については概ね同様である。このため第2実施形態では、第1実施形態と異なる部分について詳細に説明し、その他の重複する部分については適宜説明を省略する。
先ず、第2実施形態に係る搬送システムの構成について、図7を参照して説明する。ここに図7は、第2実施形態に係る搬送システムの全体構成を概略的に示す上面図である。尚、図7では、図1に示した第1実施形態に係る構成要素と同様の構成要素に同一の参照符合を付している。
図7において、第2実施形態に係る搬送システムにおけるコントローラは、搬送予告部310と、位置検出部330と、制御部340と、積載検出部350と、位置変化検出部360と、判定部370とを有している。
積載検出部350は、本発明の「積載検出手段」の一例であり、ビークル200がFOUP400を積載しているか否かを検出する。積載検出部350は、ビークル200が積載動作を行ったか否かによってFOUP400を積載しているか否かを検出するようなものであってもよいし、FOUP400を物理的に検出するセンサのようなものであってもよい。
位置変化検出部360は、本発明の「変化検出手段」の一例であり、ビークル200が軌道100における分岐箇所又は合流箇所を通過したことを、走行状態の変化として検出する。尚、位置変化検出360に加えて、第1実施形態において示した搬送終了検出部320(図1参照)が備えられてもよい。即ち、ビークル200が分岐箇所又は合流箇所を通過したことに加えて、搬送を終了したことを走行状態の変化として検出するようにしてもよい。
判定部370は、積載検出部350や位置検出部340から得られた情報等に基づいて、ビークル200が搬送予告を受けられる状態であるか否かを判定する。判定部370は、例えばビークル200が搬送予告を受けているか否か、FOUP400を積載しているか否か、搬送元となるステーション500に対して近過ぎないかといった情報に基づいて判定を行う。
次に、第2実施形態に係る搬送システムの動作について、図8を参照して説明する。ここに図8は、第2実施形態に係る搬送システムにおける再配車の際の動作について示すフローチャートである。
図8において、第2実施形態に係る搬送システムの動作時には、ビークル200が軌道100における分岐箇所又は合流箇所を通過したことが走行状態の変化として検出され(ステップS31)、搬送予告済であるビークル200の各々に対して、搬送終了したビークル200が搬送予告を受け継ぐことができるか否かが判定される。但し、ビークル200は、積載検出部350によって、夫々FOUP400を積載しているか否かが検出されており、ここではFOUP400を積載していないビークル200についてのみ分岐箇所又は合流箇所を通過したことが検出される。
走行状態の変化が検出されると、上述した第1実施形態と同様に、第1ビークル及び第2ビークル、並びに搬送元であるステーション500の位置が検出され、搬送予告を受け継ぐビークル200が決定される(ステップS32〜ステップS36)。第2実施形態では特に、第1ビークルより第2ビークルの方が搬送元であるステーション500に近い場合に(ステップS35:YES)、判定部370によって、第2ビークルが搬送可能な状態であるか否かが判定される(ステップS37)。
ここで、第2ビークルが搬送可能でないと判定されると(ステップS37:NO)、ステップS35及びステップS36の処理に戻り、新たな第2ビークルが決定される。一方、第2ビークルが搬送可能である判定されると(ステップS37:YES)、第1ビークルに行われていた搬送予告が解除されると共に(ステップS38)第2ビークルに対して、第1ビークルに行われていた搬送予告(即ち、解除された搬送予告)が行われる(ステップS39)。
以下では、上述した再配車に係る動作について、図9及び図10に示す具体例を用いて説明する。ここに図9及び図10は夫々、第2実施形態に係る搬送システムにおけるビークルの位置関係の一例を示す上面図である。尚、図9及び図10では、説明の便宜上、図7に示した複数のステーション500のうち説明に必要となるもののみを図示している。
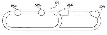
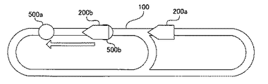
図9において、第1ビークル200aが搬送元であるステーション500aに向かって走行しており、第2ビークル200bが、図に示す位置を巡回中であるとする。尚、この時点では、第2ビークル200bがこのまま直進するのか、或いは分岐した経路100aを走行するのかは決定されていない。
図10において、第2ビークル200bが分岐した経路100aを通過すると、第2ビークル200bは分岐箇所及び合流箇所を通過するので、第1ビークル200a及び第2ビークル200b、並びに搬送元であるステーション500aの位置が夫々検出される(但し、第2ビークル200bが直進した場合であっても、分岐箇所を通過したことになるので、位置検出は行われる)。この際、図に示すように、第2ビークル200bは第1ビークル200aの前を走行することになっているため、第2ビークル200bからステーション500aまでの距離は、第1ビークル200aからステーション500aまでの距離よりも短くなっている。よって、第1ビークル200aに行われていた搬送予告は解除され、第2ビークル200bに行われる。この結果、第1ビークル200aは、搬送予告を受けていない巡回状態となり、第2ビークル200bは、搬送元であるステーション500aに呼び寄せられる。
上述したように、第2実施形態に係る搬送システムによれば、ビークル200の走行位置の変化に応じて再配車が行われる。よって、効果的にビークルの搬送元への到達時間を短縮できる。但し、走行位置の変化は、上述した分岐箇所及び合流箇所の通過以外の方法によって検出されてもよい。以下では、走行状態の変化の検出における変形例について、図11を参照して説明する。ここに図11は、複数のエリアを有する軌道の構成を示す上面図である。
図11において、軌道100が図に示すように複数のエリア(第1エリア〜第6エリア)を有する場合には、ビークル200の走行は、例えばエリア毎に管理される。即ち、コントローラ300は、エリア毎に別々に各ビークル200の走行を制御する。この際、各エリアにおけるビークル200の台数は、互いに大きな差が出ないように、ある程度バランスがとられる。具体的には、ビークル200の数が多くなりすぎたエリアから、ビークル200の少ないエリアへビークル200が移動することで、ビークル200の台数バランスがとられる。
エリア間でビークル200が移動すると、ビークル200が移動してきたエリアにおいては、それまで管理していなかった新たなビークル200が突然現われた状態となる。このため、搬送予告によって搬送元に向かうビークル200と比べて、より搬送元に近い位置にビークル200が存在することになり得る。よって、エリア間でのビークル200の移動を検出すれば、走行状態の変化を好適に検出できる。
以上説明したように、第2実施形態に係る搬送システムによれば、上述した第1実施形態に係る搬送システムと同様に、搬送予告を受けたビークル200が搬送元となるステーション500aに到達する時間を短縮できる。従って、効率的な搬送が可能である。
<第3実施形態>
次に、第3実施形態に係る搬送システムについて、図12から図15を参照して説明する。尚、第3実施形態は、上述の第1及び第2実施形態と比べて、再配車に関する構成及び再配車の際の動作が異なり、その他の構成及び動作については概ね同様である。このため第3実施形態では、第1及び第2実施形態と異なる部分について詳細に説明し、その他の重複する部分については適宜説明を省略する。
先ず、第3実施形態に係る搬送システムの構成について、図12を参照して説明する。ここに図12は、第3実施形態に係る搬送システムの全体構成を概略的に示す上面図である。尚、図12では、図1や図7に示した第1実施形態に係る構成要素と同様の構成要素に同一の参照符合を付している。
図12において、第3実施形態に係る搬送システムにおけるコントローラ300は、搬送予告部310と、位置検出部330と、制御部340と、積載検出部350と、位置変化検出部360と、判定部370と、予告検出部380とを有している。
予告検出部380は、本発明の「予告検出手段」の一例であり、ビークル200が搬送予告を受けている状態であるか否かを検出する。予告検出部380は、例えば搬送予告部310が搬送予告を行ったビークル200を夫々管理しておくことで、ビークル200が搬送予告を受けている状態であるか否かを検出可能とされている。
次に、第3実施形態に係る搬送システムの動作について、図13を参照して説明する。ここに図13は、第3実施形態に係る搬送システムにおける再配車の際の動作について示すフローチャートである。
図13において、第3実施形態に係る搬送システムの動作時には、上述した第2実施形態と同様に走行状態の変化が検出され(ステップS41)、判定の対象となる第2ビークルが決定される(ステップS42)。
ここで第3実施形態では特に、予告検出部380によって、第2ビークルが第1ビークルに行われた搬送予告(以下、適宜「第1搬送予告」と称する)以外の他の搬送予告(以下、適宜「第2搬送予告」と称する)を受けているか否かが判定される(ステップS43)。第2ビークルが第2搬送予告を受けていると判定された場合には(ステップ43:YES)、ステップS44以降の処理に進む。一方、第2ビークルが第2搬送予告を受けていないと判定された場合には(ステップS43:NO)、ステップS33(図8参照)の処理へと進む。即ち、この場合は、第2実施形態に係る搬送システムと同様の処理が行われることとなる。
第2ビークルが第2搬送予告を受けていると判定されると、位置検出部330は、第1ビークル及び第2ビークル、並びに第1搬送予告に係る搬送元(以下、適宜「第1搬送元」と称する)及び第2搬送予告に係る搬送元(以下、適宜「第2搬送元」と称する)の位置を夫々検出する(ステップS44)。そして、検出された位置関係を用いて、第1ビークルと第1搬送元との間に、第2ビークル及び第2搬送元がいずれも存在しているか否かが判定される(ステップS45)。
第1ビークルと第1搬送元との間に、第2ビークル及び第2搬送元がいずれも存在している場合には(ステップS45:YES)、ステップS48以降の処理に進む。一方、第1ビークルと第1搬送元との間に、第2ビークル及び第2搬送元のいずれも存在していない、或いはいずれか一方しか存在していない場合には(ステップS45:NO)、ステップS46及びステップS47の処理へと進み、新たな第2ビークルが決定される。
第1ビークルと第1搬送元との間に、第2ビークル及び第2搬送元がいずれも存在していると判定されると、判定部370によって、第2ビークルが搬送可能であるか否かが判定される(ステップS48)。ここで、第2ビークルが搬送可能でないと判定されると(ステップS48:NO)、ステップS46及びステップS47の処理へと戻り、新たな第2ビークルが決定される。一方、第2ビークルが搬送可能であると判定されると(ステップS48:YES)、第1ビークルに行われていた第1搬送予告及び第2ビークルに行われていた第2搬送予告が解除されると共に(ステップS49及びステップS50)、第2ビークルに対し第1搬送予告が行われ(ステップS51)、第1ビークルに対し第2搬送予告が行われる(ステップS52)。即ち、第1ビークル及び第2ビークル間で、搬送予告が入れ替えられた状態となる。
以下では、上述した再配車に係る動作について、図14及び図15に示す具体例を用いて説明する。ここに図14及び図15は夫々、第3実施形態に係る搬送システムにおけるビークルの位置関係の一例を示す上面図である。尚、図14及び図15では、説明の便宜上、図3に示した複数のステーション500のうち説明に必要となるもののみを図示している。
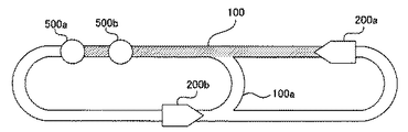
図14において、第1ビークル200aは、第1搬送予告を受けて、第1搬送元であるステーション500aに向かって走行しており、第2ビークル200bは、第2搬送予告を受けて、第2搬送元であるステーション500bに向かって走行しているとする。この段階では、第1ビークル200aと第1搬送元であるステーション500aとの間には、第2ビークル200bは存在していない。
図15において、第2ビークル200bが分岐された経路100aを走行し、第1ビークルの前を走行することになったとすると、第1ビークル200aと第1搬送元であるステーション500aとの間には、第2ビークル200b及び第2搬送元であるステーション500bの両方が存在することになる。よって、この場合には、第1ビークル200a及び第2ビークル200bに行われた第1搬送予告及び第2搬送予告が夫々解除されると共に、第2ビークル200bに第1搬送予告が行われ、第1ビークル200aに第2搬送予告が行われる。これにより、第2ビークル200bは、ステーション500aに向かって走行することとなる。また、第1ビークル200aは、ステーション500bに向かって走行することとなる。
上述したように、第1ビークル200aに対して行われていた第1搬送予告と、第2ビークル200bに対して行われていた第2搬送予告とが互いに入れ替えられることにより、第1ビークル200a及び第2ビークル200bは、夫々効率よく搬送を行うことが可能となる。具体的には、第1ビークル200aが向かっていた第1搬送元であるステーション500aには、より近い位置にいる第2ビークル200bが向かうように制御され、第1ビークル200aは、それまで向かっていた第1搬送元であるステーション500aより近い位置にある第2搬送元であるステーション500bに向かうように制御される。
以上説明したように、第3実施形態に係る搬送システムによれば、第2ビークル500bが搬送予告を既に受けている場合であっても、第1ビークル500a及び第2ビークル500bを夫々好適に制御し、効率的に搬送を行うことが可能である。
本発明は、上述した実施形態に限られるものではなく、特許請求の範囲及び明細書全体から読み取れる発明の要旨或いは思想に反しない範囲で適宜変更可能であり、そのような変更を伴う搬送システムもまた本発明の技術的範囲に含まれるものである。
第1実施形態に係る搬送システムの全体構成を概略的に示す上面図である。 ビークルの具体的な構成を示す斜視図である。 第1実施形態に係る搬送システムの全体的な動作の流れを示すフローチャートである。 第1実施形態に係る搬送システムにおける再配車の際の動作について示すフローチャートである。 第1実施形態に係る搬送システムにおけるビークルの位置関係の一例を示す上面図(その1)である。 第1実施形態に係る搬送システムにおけるビークルの位置関係の一例を示す上面図(その2)である。 第2実施形態に係る搬送システムの全体構成を概略的に示す上面図である。 第2実施形態に係る搬送システムにおける再配車の際の動作について示すフローチャートである。 第2実施形態に係る搬送システムにおけるビークルの位置関係の一例を示す上面図(その1)である。 第2実施形態に係る搬送システムにおけるビークルの位置関係の一例を示す上面図(その2)である。 複数のエリアを有する軌道の構成を示す上面図である。 第3実施形態に係る搬送システムの全体構成を概略的に示す上面図である。 第3実施形態に係る搬送システムにおける再配車の際の動作について示すフローチャートである。 第3実施形態に係る搬送システムにおけるビークルの位置関係の一例を示す上面図(その1)である。 第3実施形態に係る搬送システムにおけるビークルの位置関係の一例を示す上面図(その2)である。
符号の説明
100…軌道、200…ビークル、220…ビークル本体、230…ベルト、240…グリップ部、300…コントローラ、310…搬送予告部、320…搬送終了検出部320…位置検出部330…制御部340…積載検出部、360…位置変化検出部、370…判定部、380…予告検出部、400…FOUP、500…ステーション

Claims (8)

  1. 軌道と、
    該軌道上を夫々走行する複数の搬送車と、
    前記複数の搬送車のうち一の搬送車を被搬送物の搬送元に呼び寄せる搬送予告を前記一の搬送車に対して行う搬送予告手段と、
    前記一の搬送車以外の他の搬送車における走行状態の変化を検出する変化検出手段と、
    前記一の搬送車とされた第1搬送車及び前記搬送元、並びに前記走行状態の変化が検出された第2搬送車の位置を夫々検出する位置検出手段と、
    前記第2搬送車が前記第1搬送車と比べて前記搬送元に近い場合に、前記第1搬送車に対する前記搬送予告を解除すると共に、前記第2搬送車を新たに前記一の搬送車として前記第2搬送車に対して前記搬送予告を行うように前記搬送予告手段を制御する制御手段と
    を備えることを特徴とする搬送システム。
  2. 前記変化検出手段は、前記他の搬送車の前記被搬送物の搬送終了を、前記走行状態の変化として検出することを特徴とする請求項1に記載の搬送システム。
  3. 前記変化検出手段は、前記他の搬送車の前記軌道における分岐箇所又は合流箇所の通過を、前記走行状態の変化として検出することを特徴とする請求項1又は2に記載の搬送システム。
  4. 前記軌道は、複数のエリアを有するように構成されており、
    前記変化検出手段は、前記他の搬送車の前記複数のエリア間の移動を、前記走行状態の変化として検出することを特徴とする請求項1から3のいずれか一項に記載の搬送システム。
  5. 前記他の搬送車が前記被搬送物を積載していることを検出する積載検出手段を更に備え、
    前記変化検出手段は、前記他の搬送車のうち前記被搬送物を積載していない搬送車について、前記走行状態の変化を検出する
    ことを特徴とする請求項1から4のいずれか一項に記載の搬送システム。
  6. 前記第2搬送車が前記搬送予告を受けることができるか否かを判定する判定手段を更に備え、
    前記制御手段は、前記第2搬送車が前記搬送予告を受けることができないとされた場合に、前記搬送予告手段を制御しない
    ことを特徴とする請求項1から5のいずれか一項に記載の搬送システム。
  7. 前記判定手段は、前記第2搬送車から前記搬送元までの距離が所定距離より短い場合に、前記第2搬送車は前記搬送予告を受けることができないと判定することを特徴とする請求項6に記載の搬送システム。
  8. 前記第1搬送車が受けている前記搬送予告以外の他の搬送予告を、前記第2搬送車が受けているか否かを検出する予告検出手段を更に備え、
    前記位置検出手段は、前記第2搬送車が前記他の搬送予告を受けている場合に、前記第1搬送車及び前記搬送元、並びに前記第2搬送車の位置に加えて、前記他の搬送予告に係る他の搬送元の位置を検出し、
    前記制御手段は、前記第2搬送車及び前記他の搬送元が、いずれも前記第1搬送車及び前記搬送元間に存在する場合に、前記第1搬送車に対する前記搬送予告及び前記第2搬送車に対する前記他の搬送予告を解除すると共に、前記第2搬送車に前記搬送予告を行うように、且つ前記第1搬送車に前記他の搬送予告を行うように前記搬送予告手段を制御する
    ことを特徴とする請求項1から7のいずれか一項に記載の搬送システム。
JP2008232123A 2008-09-10 2008-09-10 搬送システム Active JP5374981B2 (ja)

Priority Applications (1)

Application Number Priority Date Filing Date Title
JP2008232123A JP5374981B2 (ja) 2008-09-10 2008-09-10 搬送システム

Applications Claiming Priority (1)

Application Number Priority Date Filing Date Title
JP2008232123A JP5374981B2 (ja) 2008-09-10 2008-09-10 搬送システム

Publications (2)

Publication Number Publication Date
JP2010066965A true JP2010066965A (ja) 2010-03-25
JP5374981B2 JP5374981B2 (ja) 2013-12-25

Family

ID=42192505

Family Applications (1)

Application Number Title Priority Date Filing Date
JP2008232123A Active JP5374981B2 (ja) 2008-09-10 2008-09-10 搬送システム

Country Status (1)

Country Link
JP (1) JP5374981B2 (ja)

Cited By (2)

* Cited by examiner, † Cited by third party
Publication number Priority date Publication date Assignee Title
WO2017090334A1 (ja) * 2015-11-27 2017-06-01 村田機械株式会社 搬送システム及び搬送方法
JP2019085223A (ja) * 2017-11-07 2019-06-06 村田機械株式会社 搬送車システム

Families Citing this family (1)

* Cited by examiner, † Cited by third party
Publication number Priority date Publication date Assignee Title
JP7006775B2 (ja) * 2018-04-12 2022-01-24 村田機械株式会社 搬送車システム及び搬送車制御方法

Citations (3)

* Cited by examiner, † Cited by third party
Publication number Priority date Publication date Assignee Title
JPH05324064A (ja) * 1992-05-26 1993-12-07 Toshiba Corp 軌道台車制御装置
JP2002006951A (ja) * 2000-06-16 2002-01-11 Murata Mach Ltd 有軌道台車システム
JP2002332105A (ja) * 2001-05-09 2002-11-22 Murata Mach Ltd 無人搬送車システム

Patent Citations (3)

* Cited by examiner, † Cited by third party
Publication number Priority date Publication date Assignee Title
JPH05324064A (ja) * 1992-05-26 1993-12-07 Toshiba Corp 軌道台車制御装置
JP2002006951A (ja) * 2000-06-16 2002-01-11 Murata Mach Ltd 有軌道台車システム
JP2002332105A (ja) * 2001-05-09 2002-11-22 Murata Mach Ltd 無人搬送車システム

Cited By (7)

* Cited by examiner, † Cited by third party
Publication number Priority date Publication date Assignee Title
WO2017090334A1 (ja) * 2015-11-27 2017-06-01 村田機械株式会社 搬送システム及び搬送方法
CN108290684A (zh) * 2015-11-27 2018-07-17 村田机械株式会社 输送系统以及输送方法
JPWO2017090334A1 (ja) * 2015-11-27 2018-11-01 村田機械株式会社 搬送システム及び搬送方法
TWI676582B (zh) * 2015-11-27 2019-11-11 日商村田機械股份有限公司 搬送系統及搬送方法
US10479613B2 (en) 2015-11-27 2019-11-19 Murata Machinery, Ltd. Transport system and transport method
CN108290684B (zh) * 2015-11-27 2020-06-23 村田机械株式会社 输送系统以及输送方法
JP2019085223A (ja) * 2017-11-07 2019-06-06 村田機械株式会社 搬送車システム

Also Published As

Publication number Publication date
JP5374981B2 (ja) 2013-12-25

Similar Documents

Publication Publication Date Title
CN108001979B (zh) 物品搬运设备
JP4337683B2 (ja) 搬送システム
JP4366663B2 (ja) 搬送台車システム
US9086697B2 (en) Processing facility
JP4766111B2 (ja) 搬送車システム
JP6652083B2 (ja) 物品搬送設備
EP3848769B1 (en) Conveyance vehicle system
JP2003146412A (ja) 搬送システム
JP2004207335A (ja) 搬送システムの制御装置
JP2005243729A (ja) 搬送システム
JP5374981B2 (ja) 搬送システム
JP2005029319A (ja) 搬送システム
US12187548B2 (en) Article transport facility
JP2010006478A (ja) 走行システム
TW202423811A (zh) 搬運車系統
JP2008230843A (ja) 搬送台車の制御方法
JP2000353015A (ja) 自動搬送システムの空車の追出し制御方法
JP7591203B2 (ja) 保管システム
JP2010097998A (ja) 搬送システム
JP2002332105A (ja) 無人搬送車システム
JP2011162329A (ja) 荷搬送システムの荷搬送方法
JP2005162451A (ja) 搬送システム
JP3995085B2 (ja) ループ搬送システム
JP2006005047A (ja) 搬送システムおよび搬送方法
TW202601473A (zh) 物品搬送設備

Legal Events

Date Code Title Description
A521 Request for written amendment filed

Free format text: JAPANESE INTERMEDIATE CODE: A523

Effective date: 20100113

A621 Written request for application examination

Free format text: JAPANESE INTERMEDIATE CODE: A621

Effective date: 20110803

A711 Notification of change in applicant

Free format text: JAPANESE INTERMEDIATE CODE: A712

Effective date: 20120420

A977 Report on retrieval

Free format text: JAPANESE INTERMEDIATE CODE: A971007

Effective date: 20120829

A131 Notification of reasons for refusal

Free format text: JAPANESE INTERMEDIATE CODE: A131

Effective date: 20120904

A521 Request for written amendment filed

Free format text: JAPANESE INTERMEDIATE CODE: A523

Effective date: 20121029

A131 Notification of reasons for refusal

Free format text: JAPANESE INTERMEDIATE CODE: A131

Effective date: 20130226

A521 Request for written amendment filed

Free format text: JAPANESE INTERMEDIATE CODE: A523

Effective date: 20130424

TRDD Decision of grant or rejection written
A01 Written decision to grant a patent or to grant a registration (utility model)

Free format text: JAPANESE INTERMEDIATE CODE: A01

Effective date: 20130827

A61 First payment of annual fees (during grant procedure)

Free format text: JAPANESE INTERMEDIATE CODE: A61

Effective date: 20130909

R150 Certificate of patent or registration of utility model

Ref document number: 5374981

Country of ref document: JP

Free format text: JAPANESE INTERMEDIATE CODE: R150

Free format text: JAPANESE INTERMEDIATE CODE: R150

R250 Receipt of annual fees

Free format text: JAPANESE INTERMEDIATE CODE: R250

R250 Receipt of annual fees

Free format text: JAPANESE INTERMEDIATE CODE: R250

R250 Receipt of annual fees

Free format text: JAPANESE INTERMEDIATE CODE: R250

R250 Receipt of annual fees

Free format text: JAPANESE INTERMEDIATE CODE: R250

R250 Receipt of annual fees

Free format text: JAPANESE INTERMEDIATE CODE: R250

R250 Receipt of annual fees

Free format text: JAPANESE INTERMEDIATE CODE: R250

R250 Receipt of annual fees

Free format text: JAPANESE INTERMEDIATE CODE: R250

R250 Receipt of annual fees

Free format text: JAPANESE INTERMEDIATE CODE: R250