JP2010065714A - 磁性流体を利用した密封装置 - Google Patents

磁性流体を利用した密封装置 Download PDF

Info

Publication number
JP2010065714A
JP2010065714A JP2008230034A JP2008230034A JP2010065714A JP 2010065714 A JP2010065714 A JP 2010065714A JP 2008230034 A JP2008230034 A JP 2008230034A JP 2008230034 A JP2008230034 A JP 2008230034A JP 2010065714 A JP2010065714 A JP 2010065714A
Authority
JP
Japan
Prior art keywords
magnetic fluid
magnetic
sealing device
pressure
shaft
Prior art date
Legal status (The legal status is an assumption and is not a legal conclusion. Google has not performed a legal analysis and makes no representation as to the accuracy of the status listed.)
Granted
Application number
JP2008230034A
Other languages
English (en)
Other versions
JP5148421B2 (ja
Inventor
Shigeki Honda
茂樹 本多
Current Assignee (The listed assignees may be inaccurate. Google has not performed a legal analysis and makes no representation or warranty as to the accuracy of the list.)
Eagle Industry Co Ltd
Original Assignee
Eagle Industry Co Ltd
Priority date (The priority date is an assumption and is not a legal conclusion. Google has not performed a legal analysis and makes no representation as to the accuracy of the date listed.)
Filing date
Publication date
Application filed by Eagle Industry Co Ltd filed Critical Eagle Industry Co Ltd
Priority to JP2008230034A priority Critical patent/JP5148421B2/ja
Publication of JP2010065714A publication Critical patent/JP2010065714A/ja
Application granted granted Critical
Publication of JP5148421B2 publication Critical patent/JP5148421B2/ja
Active legal-status Critical Current
Anticipated expiration legal-status Critical

Links

Images

Landscapes

  • Sealing Using Fluids, Sealing Without Contact, And Removal Of Oil (AREA)

Abstract

【課題】寿命が近づいていることをより正確に知ることのできる、磁性流体を利用した密封装置を提供する。
【解決手段】軸方向両端に磁極を有する永久磁石13と、永久磁石13の軸方向の両端に設けられる一対の磁極部材11,12と、一対の磁極部材11,12と回転軸20との間にそれぞれ複数設けられる磁性流体保持部と、複数の磁性流体保持部にそれぞれ磁力によって保持される磁性流体14と、を備え、各磁性流体保持部による磁性流体14の保持能力の総和によって密封装置10全体の耐圧能力が定められ、複数の磁性流体保持部のうち全てではない幾つかの磁性流体保持部に保持されていた磁性流体が消失するまでは、予め設定された耐圧能力が維持されるように設計された密封装置10において、永久磁石13の内周面側の空間領域の圧力を測定するセンサ51を備えることを特徴とする。
【選択図】図1

Description

本発明は、磁性流体を利用した密封装置に関するものである。
従来、磁力により磁性流体を保持することによって隙間を封止する、磁性流体を利用した密封装置が知られている(特許文献1〜4参照)。
一般的なメカニカルシール又はエラストマーシールの場合には、摺動抵抗に伴う様々な課題を有するのに対して、磁性流体を利用した密封装置の場合には摺動抵抗が殆どないという利点がある。その一方で、磁性流体を利用した密封装置の場合には、一般的にメカニカルシール又はエラストマーシールに比べて耐圧性が劣っている。
磁性流体を利用した密封装置において、ある程度耐圧性を高めるためには、磁性流体を保持する部分を多段的に設けるのが一般的である。かかる従来例に係る磁性流体を利用した密封装置について図8を参照して説明する。図8は従来例に係る磁性流体を利用した密封装置の模式的断面図である。なお、図8においては、(a)は初期状態を示しており、(b),(c),(d)の順に、経時的に劣化が進んだ状態を示している。
図示の密封装置は、磁性体からなる回転軸220と、この回転軸220が挿通される軸穴230との間の環状隙間を封止するために設けられている。軸孔230の内周面には、軸方向両端に磁極を有する環状の永久磁石213と、この永久磁石213の軸方向の両端に設けられる一対の磁極部材211,212が設けられている。そして、回転軸220の外周表面には、複数の環状突起221が設けられている。これにより、環状突起221が設けられている部分においては、回転軸220の表面と磁極部材211,212の内周面との間隔が局所的に狭くなっている。このように間隔が局所的に狭くなった部分では、磁束密度が高くなっている。この磁束密度が高い部分が、磁性流体保持部(以下、保持部と称する)となり、複数の保持部にて、それぞれ磁性流体214が保持されている。
図示の密封装置は、真空容器に用いられるもので、図中、左側が真空領域となり、右側が大気領域となる。そのため、この従来例に係る密封装置においては、最低1気圧(約100kPa)の耐圧性能が必要となる。
図示のように複数個所で磁性流体214を保持する構造においては、各保持部における磁性流体214の保持能力(各保持部における耐圧能力)の総和が密封装置全体の耐圧能力となる。この従来例では、説明を簡略化するために各部の耐圧能力は0.25気圧程度に設定したもので説明する。
以上のように構成された密封装置を真空容器に設置した後に、容器内を真空にするために、容器内の圧力を真空ポンプにより徐々に低下させると、保持部のうち最も真空容器側の保持部を介して両側の領域間で圧力差が発生する。この圧力差が、耐圧能力である0.25気圧を超えると、圧力均衡化現象(ブレーク)が発生し、その隣の保持部を介して両側の領域間でも圧力差が発生する。このようにして、容器内が真空になったとき(0気圧)には、図8(a)に示すように、最も真空容器側(図中左側)の保持部とその隣の保持部との間の密閉空間の圧力は約0.25気圧となり、その隣の密閉空間の圧力は約0.5気圧となり、その隣の密閉空間の圧力は約0.75気圧となり、それ以外の密閉空間は大気圧と同じ約1気圧となる。
このように、一つ一つの保持部における耐圧能力が低くても、保持部を複数設けることによって、密封装置全体の耐圧能力を高くすることができる。
しかしながら、使用環境によっては、保持部に保持された磁性流体214は、経時的に消失していく。例えば、真空容器内が高温になる場合には、高温に曝される磁性流体は徐々に蒸発してしまう。そのため、図8(b)(c)(d)に示すように、真空容器側の保持部から順に磁性流体214が消失していく。保持部に保持されていた磁性流体214が消失するにつれて、約0.25気圧となる密閉空間,約0.5気圧となる密閉空間、及び約0.75気圧となる密閉空間は、大気側(図中右側)にずれていく。
図8(c)に示すように、左側の4個の保持部で磁性流体が消失した状態では、最も大気側の保持部とその隣の保持部間の密閉空間の圧力が約0.75気圧となり、密封装置全体の耐圧能力は1気圧を維持している。しかしながら、図8(d)に示すように、左から5個目の保持部の磁性流体が消失すると、密封装置全体の耐圧能力が1気圧を下回り、バーストが発生して、圧力が一気に上昇し、真空状態を保てなくなってしまう。通常、各部の耐圧能力は、0.1〜0.2気圧程度であり、保持部を7〜15段設けている。
そのため、従来、バーストの発生を防止するために、所定時間が経過したら密封装置を交換するなどのメンテナンスを行っていた。
また、特許文献1には、予め設定された数の保持部に保持されていた磁性流体が消失すると、真空容器内の圧力が少しだけ高くなる構成を採用することによって、密封装置の寿命が近づいていることを知らせる技術が開示されている。
しかしながら、この技術の場合には、寿命が近づくと、真空容器内の圧力が少しとはいえ高くなってしまうので、使用条件によっては、十分な対策とは言えない場合がある。
特許第3687288号公報 特公昭60−14229号公報 特開昭61−79075号公報 特開昭60−222668号公報
本発明の目的は、寿命が近づいていることをより正確に知ることのできる、磁性流体を利用した密封装置を提供することにある。
本発明は、上記課題を解決するために以下の手段を採用した。
すなわち、本発明の磁性流体を利用した密封装置は、
磁性体からなる軸と該軸が挿通される軸孔との間の環状隙間を封止する、磁性流体を利用した密封装置であって、
軸方向両端に磁極を有する磁力発生部材(具体例として、永久磁石や電磁石を挙げることができる)と、
該磁力発生部材の軸方向の両端に設けられる一対の磁極部材と、
一対の磁極部材と前記軸との間にそれぞれ複数設けられる磁性流体保持部と、
複数の磁性流体保持部にそれぞれ磁力によって保持される磁性流体と、
を備え、
各磁性流体保持部による磁性流体の保持能力の総和によって密封装置全体の耐圧能力が定められ、複数の磁性流体保持部のうち全てではない幾つかの磁性流体保持部に保持され
ていた磁性流体が消失するまでは、予め設定された耐圧能力が維持されるように設計された密封装置において、
前記磁力発生部材の内周面側の空間領域の圧力を測定する圧力計を備えることを特徴とする。
本発明によれば、磁力発生部材の内周面側の空間領域の圧力が測定されるので、経験則や実験データなどから寿命や交換時期を推定する場合に比べて、より正確に密封装置の寿命を予測できる。また、磁力発生部材の内周面側の空間領域は、比較的広いスペースが確保される。これにより、圧力が比較的安定するため、より正確な圧力を測定することができる。従って、より正確に密封装置の寿命を予測できる。
また、前記複数の磁性流体保持部は、前記軸または磁極部材に設けられた複数の環状突起によって、軸表面と磁極部材内周面との間隔を局所的に狭くした部分によって形成されており、
隣り合う前記環状突起間の間隔は0.5mm以上3.0mm以下に設定され、かつこれら環状突起の突出高さは0.5mm以上2.0mm以下に設定されているとよい。
また、軸方向の一方が真空領域で他方が大気領域となる箇所に取り付けられると共に、
前記一対の磁極部材のうち真空領域側の磁極部材と前記軸との間に設けられる複数の磁性流体保持部のうち全てではない幾つかの磁性流体保持部に保持されていた磁性流体が消失した時が密封装置の交換時期として設定されているとよい。
これにより、交換時期に至るまで、真空領域側の磁極部材と軸との間に設けられている磁性流体保持部のうち少なくとも一つ以上の磁性流体保持部によって磁性流体が保持される状態が維持される。従って、センサが真空領域に曝されることも抑制できる。
また、前記軸孔を有するハウジングの外部に前記圧力計が設けられており、
前記磁力発生部材の内周面側の空間領域から前記圧力計まで、該空間領域の圧力を導く通路が設けられているとよい。
これにより、ハウジングの内部にセンサなどを設置しなくても、磁力発生部材の内周面側の空間領域の圧力を測定することができる。
なお、上記各構成は、可能な限り組み合わせて採用し得る。
以上説明したように、本発明によれば、寿命が近づいていることをより正確に知ることが可能となる。
以下に図面を参照して、この発明を実施するための最良の形態を、実施例に基づいて例示的に詳しく説明する。ただし、この実施例に記載されている構成部品の寸法、材質、形状、その相対配置などは、特に特定的な記載がない限りは、この発明の範囲をそれらのみに限定する趣旨のものではない。
(実施例)
図1〜図7を参照して、本発明の実施例に係る磁性流体を利用した密封装置について説明する。
<磁性流体を利用した密封装置が適用されたシステム>
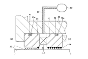
図1を参照して、本発明の実施例に係る磁性流体を利用した密封装置が適用されたシステム100の全体構成について説明する。図1は本発明の実施例に係る磁性流体を利用した密封装置が適用されたシステムの概略構成図である。
本実施例に係る磁性流体を利用した密封装置は、真空容器(真空チャンバ)80に用いられる。より具体的には、真空容器80の外部から内部に回転動力を伝達する回転軸20の導入部に適用される。この導入部の部分には、真空容器80の外壁面に固定される外向きフランジ部32を有するハウジング30が設けられている。そして、このハウジング30は、回転軸20が挿通される軸孔31を有している。また、この軸孔31の内周面と回転軸20の外周面との間には、回転軸20を回転自在に軸支するための一対のベアリング71,72が設けられている。
そして、回転軸20と軸孔31との間の環状隙間を封止するために、本実施例に係る磁性流体を利用した密封装置10が設けられている。
この密封装置10は、軸方向両端に磁極を有する磁力発生部材としての永久磁石13と、この永久磁石13の軸方向の両端に設けられる一対の磁極部材11,12とを備えている。
ここで、回転軸20は磁性体から構成されており、永久磁石13と、一対の磁極部材11,12と、回転軸20とを通るように磁気回路Mが形成される。そして、回転軸20の外周面には、複数の環状突起21が設けられている。これにより、これら環状突起21が設けられている部分においては、回転軸20の表面と磁極部材11,12の内周面との間隔が局所的に狭くなっている。このように間隔が局所的に狭くなった部分では、磁束密度が高くなっている。この磁束密度が高い部分が磁性流体保持部(以下、保持部と称する)となり、複数の保持部にて、それぞれ磁性流体14が保持されている。
また、本実施例においては、隣り合う環状突起21間の間隔は0.5mm以上3.0mm以下に設定され、かつこれら環状突起21の突出高さは0.5mm以上2.0mm以下に設定されている。
なお、一対の磁極部材11,12の外周面側には、それぞれ環状溝11a,12aが設けられており、これらの環状溝11a,12aには、それぞれシールリング41,42が設けられている。これらシールリング41,42により、ハウジング30の軸孔31と一対の磁極部材11,12との間の隙間も封止されている。
<磁性流体を利用した密封装置>
特に、図2〜図7を参照して、本発明の実施例に係る磁性流体を利用した密封装置について説明する。図2及び図3は本発明の実施例に係る磁性流体を利用した密封装置の模式的断面図である。なお、図2は初期状態を示し、図3は経時劣化により密封装置を交換するべき時期に達した状態を示している。図4及び図5は本発明の実施例に係る磁性流体を利用した密封装置における永久磁石の具体例を示す斜視図である。図6及び図7は本実施例に係る磁性流体を利用した密封装置における各密閉空間と空間内の圧力との関係を示すグラフである。なお、図6は初期状態の場合を示し、図7は経時劣化により密封装置を交換するべき時期に達した状態の場合を示している。
上記の通り、本実施例に係る密封装置10は、真空容器80に用いられるものであり、最低1気圧(約100kPa)の耐圧性能が必要となる。
背景技術の中でも説明したように、複数個所で磁性流体14を保持する構造においては
、各保持部における磁性流体14の保持能力(各保持部における耐圧能力)の総和が密封装置全体の耐圧能力となる。本実施例に係る密封装置10では、各保持部の耐圧能力は約0.2気圧(約20kPa)程度に設定されている。
そして、上記のように構成された密封装置10を真空容器80に設置した後に、容器内を真空にしたときの初期状態を示したのが図1及び図2である。初期状態においては、全ての保持部に磁性流体14が保持されている。
ここで、隣り合う保持部(磁性流体14が保持されている保持部)の間には密閉空間が形成される。以下、説明の便宜上、図2に示すように、最も真空領域側(図中左側)の保持部とその隣の保持部との間の密閉空間(経時劣化により磁性流体14が消失し、密閉空間とは言えなくなった場合も含む)をK1とし、大気側に向かうにつれて、各密閉空間を順にK2,K3,・・・,K13とする。
図6は初期状態における各密閉空間K1,K2,・・・,K13と、各空間内の圧力との関係を示したものである。なお、図において横軸の数字は、最も真空領域側の保持部から何番目の保持部であるかを示したものである。
初期状態においては、密閉空間K1の圧力は約20kPa(約0.2気圧)となり、密閉空間K2の圧力は約40kPa(約0.4気圧)となり、密閉空間K3の圧力は約60kPa(約0.6気圧)となり、密閉空間K4の圧力は約80kPa(約0.8気圧)となる。そして、密閉空間K5〜K13の圧力は、大気圧(約100kPa)と等しくなる。
本実施例においては、電子・半導体処理装置などのシステムに利用されるもので、真空容器80内は高温となり、また、容器内には腐食性のガスやラジカルが存在する。そのため、真空領域に曝される磁性流体14は経時的に劣化し、また、蒸発などによって保持部から消失していく。つまり、経時的に、真空領域に近い保持部から、順に磁性流体14が消失していく。これに伴い、約20kPaとなる密閉空間,約40kPaとなる密閉空間,約60kPaとなる密閉空間、及び約80kPaとなる密閉空間は、大気側にずれていく。
本実施例に係る密封装置10においては、理論上、密閉空間K13の圧力が約80kPaとなるまでは、密封機能を維持することができる。しかしながら、実際上は、安全率を考慮して、交換を促す時期(寿命が近づいていることを知らせる時期)を設定する必要がある。
そこで、本実施例においては、一対の磁極部材11,12のうち真空領域側の磁極部材11と回転軸20との間に設けられる複数の保持部のうち最も大気側のものを除く保持部に保持されていた磁性流体が消失したときを交換時期と設定している。図3は交換時期に至ったときの様子を示したものである。
このとき、図7に示すように、密閉空間K1〜K6は真空(ほぼ0kPa)となり、密閉空間K7の圧力は約20kPaとなり、密閉空間K8の圧力は約40kPaとなり、密閉空間K9の圧力は約60kPaとなり、密閉空間K10の圧力は約80kPaとなる。そして、密閉空間K11〜K13の圧力は、大気圧(約100kPa)と等しくなる。
以上のように、経時劣化が進むにつれて、保持部に保持されていた磁性流体14は、真空領域側のものから順に消失していく。これに伴い、各保持部間の密閉空間の圧力は、真空領域側のものから順に低くなっていく。
ここで、経験則や実験データに基づいて、密封装置の使用開始時点からの経過時間や使用中の累計時間などから、寿命や交換時期を推定することが可能である。しかしながら、この場合には、安全率を大きく取らなければならず、必要以上に早めに密封装置を交換しなければならなくなる。また、何らかの影響により、予想以上に劣化が進む場合もあり、予想していた交換時期に達する前に、密封装置の密封機能が損なわれてしまうおそれもある。
そこで、上記のように、経時劣化が進むにつれて、各保持部間の密閉空間の圧力が真空領域側のものから順に低くなっていく現象を利用して、密閉空間の圧力をモニタリングすれば、より正確な寿命を予測することができる。このようにすれば、密封装置の交換を適切なタイミングで行うことが可能となる。
しかしながら、上記の通り、隣り合う環状突起21間の間隔は0.5mm以上3.0mm以下に設定され、かつこれら環状突起21の突出高さは0.5mm以上2.0mm以下に設定されている。つまり、密閉空間は非常に狭いスペースとなるように構成されている。このような狭いスペースにおいては、コンダクタンス(流体の流れ易さ)が小さく、正確に圧力を測定するのは困難である。従って、仮に、閾値を設定して、閾値を下回った場合を交換時期として設定するとしても、定常的に閾値を下回ったか否かを判断するのは難しい。また、このような狭いスペースに、圧力を測定するためのセンサを取り付けることは、技術的に困難であると同時にコストも高くなってしまう。
そこで、本実施例においては、永久磁石13の内周面側の空間領域(密閉空間K7)の圧力を測定する構成を採用している。ここで、本実施例においては、永久磁石13の内周面側の空間領域と永久磁石13の外周面側の空間領域は連通するように構成されている。
これについて、図4及び図5を参照して説明する。本実施例では、例えば、図4に示す永久磁石13aように、複数の円柱形状の小さな永久磁石13a’を円周方向に並べる構成を採用している。この場合、隣り合う永久磁石13a’同士は接着剤等で固定しないように構成することで、両者の間には隙間が形成される。そのため、小さな永久磁石13a’が円周方向に並べて構成される永久磁石13aの内周面側の空間領域と永久磁石13aの外周面側の空間領域は連通され、同じ圧力となる。
また、例えば、図5に示す永久磁石13bのように、一つの円筒形状のもので構成し、軸方向の端部に連通溝13b’を設けることによって、永久磁石13bの内周面側の空間領域と永久磁石13bの外周面側の空間領域を同じ圧力にすることもできる。
そして、本実施例においては、ハウジング30の壁を貫くように配置された導管51が設けられている。これにより、永久磁石13の内周面側の空間領域から、永久磁石13の外周面側の空間領域を介して、圧力計50に至るまで、内部の圧力が同一となるように構成されている。従って、ハウジング30の外部に設けられた圧力計50によって、永久磁石13の内周面側の空間領域の圧力を測定することができる。
永久磁石13は、上記の通り、軸方向両端に磁極を有するように配置されており、密封装置10の機能上、永久磁石13の内周面と回転軸20の外周面との間を狭くする必要はなく、永久磁石13の軸方向の長さを短くする必要もない。
これに対して、磁性流体14を保持する付近においては、磁性流体14を磁力によって適正に保持するために、磁束密度を高める箇所を複数設けなければならないなどの制約がある。そのため、上記の通り、保持部間の密閉空間は狭いスペースとなる。
このように、永久磁石13の内周面側の空間領域(密閉空間K7)は、他の密閉空間(K1〜K6及びK8〜K13)に比べて、広いスペースを確保することができる。
そこで、本実施例では、この密閉空間K7の圧力を圧力計50により測定することによって、密封装置10の寿命を予測し、交換時期が分かるようにしている。上記の通り、この密閉空間K7は、比較的広いスペースを確保することができ、この密閉空間K7の圧力は安定的に変化するため、正確に圧力を測定することができる。
上記の通り、本実施例では、この密閉空間K7の圧力が約20kPaとなったときを密封装置10の交換時期として設定している。最も真空領域側の保持部から5番目の保持部に保持されていた磁性流体14が消失し、6番目の保持部では磁性流体14が保持されている状態では、この密閉空間K7の圧力は約40kPaである。そして、6番目の保持部に保持されていた磁性流体14が消失したときに、この密閉空間K7の圧力が約20kPaとなる。従って、20kPaよりも大きく40kPaよりも小さな適度な値を閾値として設定しておき、圧力計50によって測定される圧力が、この閾値を下回ったときを密封装置10の交換時期とすればよい。
<本実施例の優れた点>
以上のように、本実施例に係る密封装置10によれば、永久磁石13の内周面側の空間領域(密閉空間K7)の圧力が測定されるので、経験則や実験データなどから寿命や交換時期を推定する場合に比べて、より正確に密封装置の寿命を予測することができる。従って、密封装置10の交換を適切なタイミングで行うことができる。
また、永久磁石13の内周面側の空間領域は、比較的広いスペースが確保される。これにより、圧力が比較的安定するため、より正確な圧力を測定することができる。従って、より正確に密封装置10の寿命を予測でき、密封装置10の交換を適切なタイミングで行うことができる。
また、本実施例においては、一対の磁極部材11,12のうち真空領域側の磁極部材11と回転軸20との間に設けられる複数の保持部のうち最も大気側のものを除く保持部に保持されていた磁性流体が消失したときを交換時期と設定している。
そのため、交換時期に至るまで、真空領域側の磁極部材11と回転軸20との間に設けられている保持部のうち最も大気側の保持部によって磁性流体14が保持される状態が維持される。
これにより、圧力計50が真空領域に曝されることを抑制できる。そのため、本実施例のように、真空容器80内は高温となり、容器内には腐食性のガスやラジカルが存在する環境であっても、圧力計50が高温に曝されたり、腐食性のガスやラジカルに曝されたりすることを抑制できる。従って、密封装置10の交換時期に至るまで、圧力計50の劣化を抑制することが可能となる。
(その他)
上記実施例では、磁力発生部材として、永久磁石の場合を例にして説明したが、永久磁石に限られることがなく、例えば、電磁石を採用することもできる。
また、上記実施例では、回転軸側に環状突起を設けることで、磁性流体を保持する磁性流体保持部を形成する場合を示したが、磁性部材側に環状突起を設けることで、磁性流体保持部を形成する構成を採用することもできる。
また、上記実施例では、一対の磁極部材11,12のうち真空領域側の磁極部材11と回転軸20との間に設けられる複数の保持部のうち最も大気側のものを除く保持部に保持されていた磁性流体が消失したときを交換時期と設定する場合を示したが、勿論、交換時期の設定は、これに限られることはない。例えば、磁極部材11と回転軸20との間に設けられる複数の保持部のうち大気側の2つの保持部を除く保持部に保持されていた磁性流体が消失したときを交換時期と設定しても良い。また、圧力計50が真空領域に曝されても問題ないような環境下で用いられる場合には、真空領域側の磁極部材11と回転軸20との間に設けられる複数の保持部によって保持されていた全ての磁性流体が消失したときを交換時期と設定してもよい。
図1は本発明の実施例に係る磁性流体を利用した密封装置が適用されたシステムの概略構成図である。 図2は本発明の実施例に係る磁性流体を利用した密封装置の模式的断面図である。 図3は本発明の実施例に係る磁性流体を利用した密封装置の模式的断面図である。 図4は本発明の実施例に係る磁性流体を利用した密封装置における永久磁石の具体例を示す斜視図である。 図5は本発明の実施例に係る磁性流体を利用した密封装置における永久磁石の具体例を示す斜視図である。 図6は本発明の実施例に係る磁性流体を利用した密封装置における各密閉空間と空間内の圧力との関係を示すグラフである。 図7は本発明の実施例に係る磁性流体を利用した密封装置における各密閉空間と空間内の圧力との関係を示すグラフである。 図8は従来例に係る磁性流体を利用した密封装置の模式的断面図である。
符号の説明
10 密封装置
11,12 磁極部材
11a,12a 環状溝
13 永久磁石
14 磁性流体
20 回転軸
21 環状突起
30 ハウジング
31 軸孔
32 フランジ部
41,42 シールリング
50 圧力計
51 センサ
71,72 ベアリング
80 真空容器
M 磁気回路

Claims (4)

  1. 磁性体からなる軸と該軸が挿通される軸孔との間の環状隙間を封止する、磁性流体を利用した密封装置であって、
    軸方向両端に磁極を有する磁力発生部材と、
    該磁力発生部材の軸方向の両端に設けられる一対の磁極部材と、
    一対の磁極部材と前記軸との間にそれぞれ複数設けられる磁性流体保持部と、
    複数の磁性流体保持部にそれぞれ磁力によって保持される磁性流体と、
    を備え、
    各磁性流体保持部による磁性流体の保持能力の総和によって密封装置全体の耐圧能力が定められ、複数の磁性流体保持部のうち全てではない幾つかの磁性流体保持部に保持されていた磁性流体が消失するまでは、予め設定された耐圧能力が維持されるように設計された密封装置において、
    前記磁力発生部材の内周面側の空間領域の圧力を測定する圧力計を備えることを特徴とする、磁性流体を利用した密封装置。
  2. 前記複数の磁性流体保持部は、前記軸または磁極部材に設けられた複数の環状突起によって、軸表面と磁極部材内周面との間隔を局所的に狭くした部分によって形成されており、
    隣り合う前記環状突起間の間隔は0.5mm以上3.0mm以下に設定され、かつこれら環状突起の突出高さは0.5mm以上2.0mm以下に設定されていることを特徴とする請求項1に記載の磁性流体を利用した密封装置。
  3. 軸方向の一方が真空領域で他方が大気領域となる箇所に取り付けられると共に、
    前記一対の磁極部材のうち真空領域側の磁極部材と前記軸との間に設けられる複数の磁性流体保持部のうち全てではない幾つかの磁性流体保持部に保持されていた磁性流体が消失した時が密封装置の交換時期として設定されていることを特徴とする請求項1または2に記載の磁性流体を利用した密封装置。
  4. 前記軸孔を有するハウジングの外部に前記圧力計が設けられており、
    前記磁力発生部材の内周面側の空間領域から前記圧力計まで、該空間領域の圧力を導く通路が設けられていることを特徴とする請求項1,2または3に記載の磁性流体を利用した密封装置。
JP2008230034A 2008-09-08 2008-09-08 磁性流体を利用した密封装置 Active JP5148421B2 (ja)

Priority Applications (1)

Application Number Priority Date Filing Date Title
JP2008230034A JP5148421B2 (ja) 2008-09-08 2008-09-08 磁性流体を利用した密封装置

Applications Claiming Priority (1)

Application Number Priority Date Filing Date Title
JP2008230034A JP5148421B2 (ja) 2008-09-08 2008-09-08 磁性流体を利用した密封装置

Publications (2)

Publication Number Publication Date
JP2010065714A true JP2010065714A (ja) 2010-03-25
JP5148421B2 JP5148421B2 (ja) 2013-02-20

Family

ID=42191467

Family Applications (1)

Application Number Title Priority Date Filing Date
JP2008230034A Active JP5148421B2 (ja) 2008-09-08 2008-09-08 磁性流体を利用した密封装置

Country Status (1)

Country Link
JP (1) JP5148421B2 (ja)

Cited By (5)

* Cited by examiner, † Cited by third party
Publication number Priority date Publication date Assignee Title
KR101095762B1 (ko) * 2010-06-17 2011-12-21 충북대학교 산학협력단 자성 유체 실
CN108488392A (zh) * 2018-04-24 2018-09-04 北京交通大学 磁性液体密封性能在线监测及自修复装置
CN112728105A (zh) * 2020-12-31 2021-04-30 清华大学 磁性液体密封装置
CN114059952A (zh) * 2021-10-26 2022-02-18 桂林航天工业学院 一种球型光杆密封装置
KR20230151330A (ko) * 2022-04-25 2023-11-01 충북대학교 산학협력단 자성유체 진공씰의 실시간 압력편차 감지시스템

Families Citing this family (1)

* Cited by examiner, † Cited by third party
Publication number Priority date Publication date Assignee Title
CN112212010B (zh) * 2020-10-19 2021-06-15 清华大学 用于密封粉尘的磁性液体密封装置

Citations (8)

* Cited by examiner, † Cited by third party
Publication number Priority date Publication date Assignee Title
JPS5533920A (en) * 1978-08-29 1980-03-10 Fuji Electric Co Ltd Magnetic fluid seal device
JPS62177367A (ja) * 1986-01-30 1987-08-04 Tech Res Assoc Highly Reliab Marine Propul Plant 液体用磁性流体軸シ−ル装置
JPS62251574A (ja) * 1986-04-24 1987-11-02 Tech Res Assoc Highly Reliab Marine Propul Plant 液体用磁性流体軸シ−ル装置
JPS63195475A (ja) * 1987-02-04 1988-08-12 Tech Res Assoc Highly Reliab Marine Propul Plant 液体用磁性流体軸シ−ル装置
JPS63195474A (ja) * 1987-02-04 1988-08-12 Tech Res Assoc Highly Reliab Marine Propul Plant 液体用磁性流体軸シ−ル装置
JPH1137304A (ja) * 1997-07-15 1999-02-12 Nok Corp 磁性流体を利用した密封装置
JP2001159468A (ja) * 1999-12-01 2001-06-12 Nok Corp 磁性流体シール装置の性能安定化方法及び磁性流体シール装置
JP2003294156A (ja) * 2002-04-04 2003-10-15 National Institute For Materials Science 磁性流体シール回転軸受け

Patent Citations (8)

* Cited by examiner, † Cited by third party
Publication number Priority date Publication date Assignee Title
JPS5533920A (en) * 1978-08-29 1980-03-10 Fuji Electric Co Ltd Magnetic fluid seal device
JPS62177367A (ja) * 1986-01-30 1987-08-04 Tech Res Assoc Highly Reliab Marine Propul Plant 液体用磁性流体軸シ−ル装置
JPS62251574A (ja) * 1986-04-24 1987-11-02 Tech Res Assoc Highly Reliab Marine Propul Plant 液体用磁性流体軸シ−ル装置
JPS63195475A (ja) * 1987-02-04 1988-08-12 Tech Res Assoc Highly Reliab Marine Propul Plant 液体用磁性流体軸シ−ル装置
JPS63195474A (ja) * 1987-02-04 1988-08-12 Tech Res Assoc Highly Reliab Marine Propul Plant 液体用磁性流体軸シ−ル装置
JPH1137304A (ja) * 1997-07-15 1999-02-12 Nok Corp 磁性流体を利用した密封装置
JP2001159468A (ja) * 1999-12-01 2001-06-12 Nok Corp 磁性流体シール装置の性能安定化方法及び磁性流体シール装置
JP2003294156A (ja) * 2002-04-04 2003-10-15 National Institute For Materials Science 磁性流体シール回転軸受け

Cited By (7)

* Cited by examiner, † Cited by third party
Publication number Priority date Publication date Assignee Title
KR101095762B1 (ko) * 2010-06-17 2011-12-21 충북대학교 산학협력단 자성 유체 실
CN108488392A (zh) * 2018-04-24 2018-09-04 北京交通大学 磁性液体密封性能在线监测及自修复装置
CN112728105A (zh) * 2020-12-31 2021-04-30 清华大学 磁性液体密封装置
CN114059952A (zh) * 2021-10-26 2022-02-18 桂林航天工业学院 一种球型光杆密封装置
KR20230151330A (ko) * 2022-04-25 2023-11-01 충북대학교 산학협력단 자성유체 진공씰의 실시간 압력편차 감지시스템
WO2023211042A1 (ko) * 2022-04-25 2023-11-02 충북대학교 산학협력단 자성유체 진공씰의 실시간 압력편차 감지시스템
KR102615633B1 (ko) 2022-04-25 2023-12-19 충북대학교 산학협력단 자성유체 진공씰의 실시간 압력편차 감지시스템

Also Published As

Publication number Publication date
JP5148421B2 (ja) 2013-02-20

Similar Documents

Publication Publication Date Title
JP5148421B2 (ja) 磁性流体を利用した密封装置
JP6212390B2 (ja) 電気機械の流体冷却のためのシステムおよび方法
EP3477134B1 (en) Magnetic bearing device and fluid machine system using same
US8073098B2 (en) Air bearing to support a body
JP5318730B2 (ja) モータポンプ
KR20160011641A (ko) 내부 통기부를 갖는 자기 베어링 조립체
JP5962179B2 (ja) モータ
WO2016204238A1 (ja) 電動機
CN112178204A (zh) 迷宫式磁性液体密封装置
US10808763B2 (en) Device for retaining of lubricants in rolling-element bearings, rolling-element bearing subassemblies, and method for assembling a rolling-element bearing subassembly
CN111600419B (zh) 旋转电机
JP5818717B2 (ja) ガスタービン
JP5300125B2 (ja) モータ
KR20160140642A (ko) 베어링용 냉각 슬리브 및 냉각 슬리브를 구비한 베어링
JP2009058037A (ja) 磁性流体軸受
US9024493B2 (en) Method for on-line detection of resistance-to-ground faults in active magnetic bearing systems
JP2009014083A (ja) 軸受装置およびこれを備えた遠心圧縮機
US8896174B2 (en) Active magnetic bearing
CN114278734A (zh) 用于导磁轴的复合密封装置
JP2007016884A (ja) 軸受機構およびx線管
US20150340917A1 (en) Rotor of rotary machine
JP6151668B2 (ja) 回転電機用ロータ
JP2009136062A (ja) 回転電機
JP2008038935A (ja) 軸受装置、及びターボ分子ポンプ
JP3687288B2 (ja) 磁性流体を利用した密封装置

Legal Events

Date Code Title Description
A621 Written request for application examination

Free format text: JAPANESE INTERMEDIATE CODE: A621

Effective date: 20110420

A977 Report on retrieval

Free format text: JAPANESE INTERMEDIATE CODE: A971007

Effective date: 20120510

A131 Notification of reasons for refusal

Free format text: JAPANESE INTERMEDIATE CODE: A131

Effective date: 20120522

A521 Request for written amendment filed

Free format text: JAPANESE INTERMEDIATE CODE: A523

Effective date: 20120718

TRDD Decision of grant or rejection written
A01 Written decision to grant a patent or to grant a registration (utility model)

Free format text: JAPANESE INTERMEDIATE CODE: A01

Effective date: 20121127

A61 First payment of annual fees (during grant procedure)

Free format text: JAPANESE INTERMEDIATE CODE: A61

Effective date: 20121128

R150 Certificate of patent or registration of utility model

Ref document number: 5148421

Country of ref document: JP

Free format text: JAPANESE INTERMEDIATE CODE: R150

FPAY Renewal fee payment (event date is renewal date of database)

Free format text: PAYMENT UNTIL: 20151207

Year of fee payment: 3

R250 Receipt of annual fees

Free format text: JAPANESE INTERMEDIATE CODE: R250

R250 Receipt of annual fees

Free format text: JAPANESE INTERMEDIATE CODE: R250

R250 Receipt of annual fees

Free format text: JAPANESE INTERMEDIATE CODE: R250

R250 Receipt of annual fees

Free format text: JAPANESE INTERMEDIATE CODE: R250

R250 Receipt of annual fees

Free format text: JAPANESE INTERMEDIATE CODE: R250

R250 Receipt of annual fees

Free format text: JAPANESE INTERMEDIATE CODE: R250

R250 Receipt of annual fees

Free format text: JAPANESE INTERMEDIATE CODE: R250

R250 Receipt of annual fees

Free format text: JAPANESE INTERMEDIATE CODE: R250

R250 Receipt of annual fees

Free format text: JAPANESE INTERMEDIATE CODE: R250

R250 Receipt of annual fees

Free format text: JAPANESE INTERMEDIATE CODE: R250

R250 Receipt of annual fees

Free format text: JAPANESE INTERMEDIATE CODE: R250