JP2010065577A - 作業機のエンジン制御システム - Google Patents

作業機のエンジン制御システム Download PDF

Info

Publication number
JP2010065577A
JP2010065577A JP2008231556A JP2008231556A JP2010065577A JP 2010065577 A JP2010065577 A JP 2010065577A JP 2008231556 A JP2008231556 A JP 2008231556A JP 2008231556 A JP2008231556 A JP 2008231556A JP 2010065577 A JP2010065577 A JP 2010065577A
Authority
JP
Japan
Prior art keywords
engine
speed
pressure
control
engine control
Prior art date
Legal status (The legal status is an assumption and is not a legal conclusion. Google has not performed a legal analysis and makes no representation as to the accuracy of the status listed.)
Granted
Application number
JP2008231556A
Other languages
English (en)
Other versions
JP4990860B2 (ja
Inventor
Shohei Kamiya
象平 神谷
Current Assignee (The listed assignees may be inaccurate. Google has not performed a legal analysis and makes no representation or warranty as to the accuracy of the list.)
Hitachi Construction Machinery Co Ltd
Original Assignee
Hitachi Construction Machinery Co Ltd
Priority date (The priority date is an assumption and is not a legal conclusion. Google has not performed a legal analysis and makes no representation as to the accuracy of the date listed.)
Filing date
Publication date
Application filed by Hitachi Construction Machinery Co Ltd filed Critical Hitachi Construction Machinery Co Ltd
Priority to JP2008231556A priority Critical patent/JP4990860B2/ja
Publication of JP2010065577A publication Critical patent/JP2010065577A/ja
Application granted granted Critical
Publication of JP4990860B2 publication Critical patent/JP4990860B2/ja
Expired - Fee Related legal-status Critical Current
Anticipated expiration legal-status Critical

Links

Images

Landscapes

  • Control Of Vehicle Engines Or Engines For Specific Uses (AREA)
  • Processes For Solid Components From Exhaust (AREA)
  • Fluid-Pressure Circuits (AREA)
  • Operation Control Of Excavators (AREA)

Abstract

【課題】作業機の運転状態に応じてエンジンの回転数を回転数指示装置が指示する回転数より低下させる制御を行うことができるとともに、DPFで捕集された粒子状物質を燃焼除去しDPFを再生させる際に、エンジン回転数が低下することによるDPFの破損を防止する。
【解決手段】エンジン制御システム4は、モード切換装置41がオートアイドル制御を選択しているとき、全ての操作レバーが中立状態となった後所定時間T1を経過するとエンジン1の回転数を低速回転数に低下させる。また、排出ガス後処理装置32のフィルタ32aの再生中は、全ての操作レバーが中立状態となった後所定時間T1を経過した場合でも、エンジン1の回転数は低下させず、エンジン1の回転数をエンジンコントロールダイヤル41が指示する回転数に制御する。
【選択図】 図1

Description

本発明は油圧ショベル等の作業機のエンジン制御システムに係わり、特に、油圧ショベル等の走行式作業機において、エンジンの排出ガスに含まれる粒子状物質を捕集する排出ガス後処理装置(フィルタ)に堆積した粒子状物質を燃焼除去することで排出ガス後処理装置を再生させる再生装置を備えた作業機のエンジン制御システムに関する。
建設機械の代表例である油圧ショベル等の作業機は、ディーゼルエンジン(以下、単にエンジンという)により油圧ポンプを駆動し、この油圧ポンプから吐出した圧油により油圧アクチュエータを駆動することで、ブーム、アーム、バケット等の被駆動体を駆動し、所定の作業を行っている。このような作業機においては、エンジンの回転数は回転数指示装置(例えばエンジンコントロールダイヤル)により指示され、オペレータが回転数指示装置を操作することで、エンジンの目標回転数が設定される。この回転数指示装置は、作業中は操作されることなく、回転数指示装置が指示する回転数は一定である。
ところで、このような油圧ショベル等の作業機においては、燃料消費量(以下、適宜「燃費」と略す)の節減や騒音の低減等を目的として、作業機が所定の運転状態にあるときは、エンジンの回転数を回転数指示装置が指示する回転数より低下させる制御(エンジン回転数低下制御)を行うものがある。このようなエンジン低速制御の一例としてオートアイドル制御がある。これは、被駆動体の動作を指示する操作レバーの全てが中立状態となった時点から予め定められた遅延時間を経過したとき、エンジンの回転数を回転数指示装置が指示する回転数より低い回転数に制御するものである(特許文献1)。他の例として、ポンプ吐出圧力に応じてエンジン回転数を制御するエコノミーモード制御がある。これは、油圧ポンプの吐出圧が油圧ポンプのトルク制限制御の開始圧力付近の圧力より低いときは、エンジンの回転数を回転数指示装置が指示する回転数(通常は最大の定格回転数)に保ち、油圧ポンプのトルク制限制御の開始圧力付近の圧力より高くなると、エンジンの回転数を回転数指示装置が指示する回転数より低い回転数に制御するものである(特許文献2)。
一方、ディーゼルエンジンでは排出ガスの規制が年々厳しくなっており、エンジンからの排出PM量[g/kWh]と排出Nox量[g/kWh]を規制している。排出PM量とは、排出ガス中に含まれる粒子状物質(PM:パティキュレート・マター:以下適宜PMという)の量である。このような排出PM量の規制に適合するため、近年、エンジンの排気系に排出ガス後処理装置としてDPF(Diesel Particulate Filter )を配置し、PMを捕集除去することが行われている(特許文献3)。また、エンジンの排気系にDPFを配置したシステムでは、DPFで捕集されたPMを燃焼除去しDPFを再生させる再生装置が設けられている(特許文献3)。
DPFは内部のフィルタにPMを捕集することで排出ガス中のPMを低減するものであるが、そのフィルタはPMを無限に捕集できる訳ではなく、PMをある程度捕集するとフィルタの目詰まりを引き起こすため、PMを一定量捕集した段階でフィルタからPMを除去する必要がある。このPM除去の方法は、DPFの内部温度を上昇させ、フィルタに堆積した粒子状物質を燃焼除去することで行う。これをDPFの再生という。
特公昭60−38561号公報 特開2006−144705号公報 特開2003−155915号公報
しかしながら、上記従来技術には次のような問題がある。
特許文献3に記載のように、排出ガス後処理装置(DPF)に対する再生装置を備えたシステムでは、DPFの再生を行っている際のDPF内部温度はPMが燃焼する約600℃まで上昇するため、DPFの内部ではかなりの熱が発生する。通常、この熱を排出ガスが流れることで冷却し、DPF内部に熱がこもることでの破損を防止している。したがって、再生が開始された後にエンジンの回転数を低下させることは、排出ガスの流量が減少し、それに伴いDPF内部の熱が逃げずに異常高温となり、DPF(フィルタ)の破損を生じるおそれが高くなる。
一方、特許文献1に記載のように、オートアイドル制御を行う場合は、ある一定時間以上操作レバーが操作されない際には、エンジン回転数が回転数指示装置が指示する回転数より低下し、エンジン回転数の低下に伴って排出ガスの流量が減少する。したがって、このようなエンジン制御システムを備えた作業機に排出ガス後処理装置(DPF)と再生装置を設けた場合、再生中にオートアイドル制御が作動した場合、あるいはオートアイドル制御が作動中に再生が開始された場合には、排出ガスの流量が減少することでDPF内部の冷却性が損なわれ、DPF内部が異常高温となりDPFの破損を生じるおそれが高くなる。
特許文献2に記載のように、エコノミーモード制御を行う場合も、再生中に油圧ポンプの吐出圧力が上昇するとエンジン回転数が低下し、同様の問題を生じる。
本発明の目的は、作業機の運転状態に応じてエンジンの回転数を回転数指示装置が指示する回転数より低下させる制御を行うことができるとともに、DPF(排出ガス後処理装置)で捕集された粒子状物質を燃焼除去しDPFを再生させる際に、エンジン回転数が低下することによるDPFの破損を防止することができる作業機のエンジン制御システムを提供することである。
(1)上記目的を達成するために、本発明は、エンジンと、このエンジンにより駆動される油圧ポンプを含む油圧駆動装置と、前記エンジンの排気系に装着され、排出ガスに含まれる粒子状物質を捕集する排出ガス後処理装置と、この排出ガス後処理装置で捕集された粒子状物質を燃焼除去し前記排出ガス後処理装置を再生させる再生装置と備えた作業機のエンジン制御システムにおいて、前記エンジンの回転数を指示する回転数指示手段と、前記作業機の運転状態を検出する運転状態検出手段と、モード切換手段と、前記モード切換手段が特定のモードを選択しているときに、前記作業機の運転状態に応じて前記エンジンの回転数を前記回転数指示装置が指示する回転数より低下させる制御を行う第1エンジン制御手段と、前記再生装置が作動中であるかどうかを検出し、前記再生装置が作動中であるときは前記第1エンジン制御手段の制御を無効とし、前記回転数指示装置が指示する回転数を維持するよう前記エンジンの回転数を制御する第2エンジン制御手段とを備えるものとする。
このように第1エンジン制御手段を設けることにより、モード切換手段が特定のモードを選択しているときに、作業機の運転状態に応じてエンジンの回転数を回転数指示装置が指示する回転数より低下させる制御を行うことができる。また、第2エンジン制御手段を設けることにより、再生装置が作動中(再生中)であるかどうかを検出し、再生装置が作動中であるときは第1エンジン制御手段の制御を無効とし、回転数指示装置が指示する回転数を維持するようエンジンの回転数を制御するので、DPF(排出ガス後処理装置)で捕集された粒子状物質を燃焼除去しDPFを再生させる際に、エンジン回転数が低下することによるDPFの破損を防止することができる。
(2)上記(1)において、好ましくは、前記油圧駆動装置は、前記油圧ポンプからの圧油により駆動される複数のアクチュエータと、前記油圧ポンプから前記複数のアクチュエータに供給される圧油の流れを制御するコントロールバルブ装置と、このコントロールバルブ装置を操作して前記複数のアクチュエータの駆動を制御する入力操作装置とを備え、前記運転状態検出手段は、前記作業機の運転状態として前記入力操作装置の操作の有無を検出する操作検出装置を有し、前記第1エンジン制御手段は、前記モード切換手段が前記特定のモードを選択しているとき、前記入力操作装置の操作有りが検出されると、前記回転数指示装置の指示に応じて前記エンジンの回転数を制御し、前記入力操作装置の操作無しが検出されると、前記エンジンの回転数を前記回転数指示装置が指示する回転数より低下させる制御を行い、前記第2エンジン制御手段は、前記再生装置が作動中であるときは、前記入力操作装置の操作無しが検出された場合でも、前記回転数指示装置の指示に応じて前記エンジンの回転数を制御する。
これによりモード切換手段が特定のモード(オートアイドルモード)を選択しているとき、入力操作装置の操作が無くなると、エンジンの回転数を低下させる制御(オートアイドル制御)を行うので、燃費の節減と騒音の低減を図ることができる。また、再生装置が作動中(再生中)であるときは、入力操作装置の操作が無い場合でも、回転数指示装置の指示に応じてエンジンの回転数が制御されるので、再生中にエンジン回転数が低下することによるDPFの破損を防止することができる。
(3)また、上記(1)において、好ましくは、前記油圧駆動装置は、前記油圧ポンプからの圧油により駆動する複数のアクチュエータと、前記油圧ポンプから前記複数のアクチュエータに供給される圧油の流れを制御するコントロールバルブ装置と、このコントロールバルブ装置を操作して前記複数のアクチュエータの駆動を制御する入力操作装置と、前記油圧ポンプの吐出圧力に基づいて、前記油圧ポンプの吸収トルクが前記エンジンの回転数に依存して設定された最大吸収トルクを超えないよう前記油圧ポンプの容量を制御するトルク制御レギュレータを備え、前記動作状態検出手段は、前記作業機の運転状態として前記油圧ポンプの吐出圧力を検出する圧力検出装置を有し、前記第1エンジン制御手段は、前記モード切換手段が前記特定のモードを選択しているとき、前記圧力検出装置により検出された前記油圧ポンプの吐出圧力が所定圧力より低いときは、前記回転数指示装置の指示に応じて前記エンジンの回転数を制御し、前記圧力検出装置により検出された前記油圧ポンプの吐出圧力が前記所定圧力以上になると、前記エンジンの回転数を前記回転数指示装置が指示する回転数より低下させる制御を行い、前記第2エンジン制御手段は、前記再生装置が作動中であるときは、前記圧力検出装置により検出された前記油圧ポンプの吐出圧力が前記所定圧力以上である場合でも、前記回転数指示装置の指示に応じて前記エンジンの回転数を制御する。
これによりモード切換手段が特定のモード(ニューエコノミーモード)を選択しているとき、油圧ポンプの吐出圧力が低いときは、回転数指示装置の指示に応じてエンジンの回転数を制御するので、標準モードと同じ流量(作業速度)で作業が可能であり、作業効率を向上させることができる。また、油圧ポンプの吐出圧力が所定圧力以上に上昇すると、エンジン回転が低く制御されるので、燃費を向上させることができる。更に、再生装置が作動中(再生中)であるときは、油圧ポンプの吐出圧力が所定圧力以上に上昇した場合でも、回転数指示装置の指示に応じてエンジンの回転数が制御されるので、再生中にエンジン回転数が低下することによるDPFの破損を防止することができる。
(4)また、上記(1)〜(3)において、好ましくは、前記第2エンジン制御手段は、前記再生装置の作動終了後は、所定時間が経過するまで、前記回転数指示装置の指示に応じて前記エンジンの回転数を制御する。
これにより再生終了後の余熱によるDPFの破損を防止することができる。
(5)更に、上記(1)〜(3)において、好ましくは、前記第2エンジン制御手段は、前記再生装置が作動中であるときは、前記回転数指示装置が指示するエンジン回転数が所定の回転数以下に低下したとき、前記エンジンの回転数を前記所定の回転数に維持するよう制御する。
これにより再生装置の作動中(再生中)にオペレータがうっかり回転数指示装置を操作し、回転数指示装置が指示するエンジン回転数が大きく低下する場合であっても、エンジン回転数が低下することによるDPFの破損を防止することができる。
(6)また、上記(1)〜(3)において、好ましくは、前記第2エンジン制御手段は、前記再生装置が作動中であるとき及び前記再生装置の作動終了後の所定時間が経過するまでは、前記回転数指示装置が指示するエンジン回転数が所定の回転数以下に低下したとき、前記エンジンの回転数を前記所定の回転数に維持するよう制御する。
これにより再生装置の作動中(再生中)及び再生装置の作動終了後(再生終了後)の所定時間経過前にオペレータがうっかり回転数指示装置を操作し、回転数指示装置が指示するエンジン回転数が大きく低下する場合であっても、エンジン回転数が低下することによるDPFの破損を防止することができる。
本発明によれば、作業機の運転状態に応じてエンジンの回転数を回転数指示装置が指示する回転数より低下させる制御を行うことができるとともに、DPF(排出ガス後処理装置)で捕集された粒子状物質を燃焼除去しDPFを再生させる際に、エンジン回転数が低下することによるDPFの破損を防止することができる。
また、再生終了後の余熱によるDPFの破損を防止することができる。
更に、再生装置の作動中(再生中)或いは再生装置の作動中(再生中)と再生装置の作動終了後(再生終了後)の所定時間経過前にオペレータがうっかり回転数指示装置を操作し、回転数指示装置が指示するエンジン回転数が大きく低下する場合であっても、エンジン回転数が低下することによるDPFの破損を防止することができる。
以下、本発明の実施の形態を図面を用いて説明する。
<第1の実施の形態>
〜構成〜
図1は本発明の第1の実施の形態におけるエンジン制御システムと排出ガス浄化システムとを備えた作業機の全体システム構成を示す図である。本実施の形態は、本発明を建設機械の代表例である油圧ショベルに適用した場合のものである。
図1において、本実施の形態に係わる油圧ショベルは、ディーゼルエンジン(以下単にエンジンという)1を動力源としてフロント作業機を構成する作業要素等の被駆動部材を駆動する油圧システム2(油圧駆動装置)と、エンジン1の排出ガスを浄化する排出ガス浄化システム3と、エンジン1の回転数と出力トルクを制御するエンジン制御システム4とを備えている。
油圧システム2は、エンジン1により駆動される可変容量型のメインの油圧ポンプ21及び固定容量型のパイロットポンプ22と、油圧ポンプ21から吐出される圧油によって駆動され上記被駆動部材を駆動するアクチュエータ群23と、油圧ポンプ21からアクチュエータ群23に供給される圧油の流れ(流量と方向)を制御するメインスプール群(流量制御弁群)を含むコントロールバルブ装置24と、パイロットポンプ22からの圧油を油圧源としてコントロールバルブ装置24のメインスプール群を操作するための制御パイロット圧を生成するリモコン弁群を備えた入力操作装置25とを有している。
排出ガス浄化システム3は、エンジン1の排気系を構成する排気管31に配置され、排気ガスに含まれる粒子状物質(PM)を捕集するフィルタ32a及びフィルタ32aの上流側に位置する酸化触媒32bを内蔵した排出ガス後処理装置(DPF)32と、フィルタ32aの上流側と下流側の前後差圧(フィルタ32aの圧力損失)を検出する差圧検出装置33とを有している。
エンジン制御システム4は、エンジン1の回転数(基準目標回転数)を指示するエンジンコントロールダイヤル41(回転数指示装置)と、エンジン1の制御モード(オートアイドル制御モード)を選択するモード切換装置42と、エンジン1の実回転数を検出する回転数検出装置43と、入力操作装置25の操作の有無を検出する操作検出装置44(運転状態検出手段)と、エンジン1に供給される燃料を制御する電子ガバナ45(電子制御式の燃料噴射制御装置)とを有している。
車体制御装置51及びエンジン制御装置52は排出ガス浄化システム3及びエンジン制御システム4の共通の制御手段を構成している。車体制御装置51は、エンジンコントロールダイヤル41からの指示信号と、モード切換装置42からの指示信号と、操作検出装置44からの検出信号と、エンジン制御装置52からの制御信号(後述)とを入力し、所定の演算処理を行い、エンジン制御装置52にエンジン1の目標回転数を指示する指令信号を出力する。エンジン制御装置52は、車体制御装置51からの指令信号と、差圧検出装置33からの検出信号と、回転数検出装置43からの検出信号を入力し、所定の演算処理を行い、電子ガバナ45に目標燃料噴射量を指示する制御信号を出力する。電子ガバナ45は、その制御信号に基づいてエンジン1に供給される燃料噴射量を制御し、エンジン1の回転数が車体制御装置51からの指令信号が指示する目標回転数に維持されるように制御する。
図2は油圧システム2及び操作検出装置44の詳細を示す図である。油圧システム2のアクチュエータ群23は、例えば、油圧モータ23a及び油圧シリンダ23b,23cを含み、コントロールバルブ装置24は、例えば、油圧ポンプ21から油圧モータ23a及び油圧シリンダ23b,23cに供給される圧油の流れ(流量と方向)を制御するパイロット操作式の流量制御弁24a,24b,24cを含む。
パイロットポンプ22の吐出油路22aにはパイロットリリーフ弁26が接続され、パイロットリリーフ弁26は、パイロットポンプ22から吐出される圧油の圧力を一定に保つ。入力操作装置25はパイロットポンプ22の吐出油路22aに接続され、流量制御弁24a〜24cを操作するための制御パイロット圧a〜fを生成する複数のリモコン弁25a,25b,25cを備えている。
リモコン弁25a,25cは操作レバー27により操作され、リモコン弁25bは操作レバー28により操作されるものである。操作レバー27,28は、それぞれ、十字方向に操作可能である。操作レバー27を中立位置から十字の一方向に操作すると、リモコン弁25aは制御パイロット圧aを生成し、中立位置から十字の反対方向に操作するとリモコン弁25aは制御パイロット圧bを生成する。制御パイロット圧a,bは、それぞれのパイロットライン29a,29bを介して流量制御弁24aの対応する受圧部に導かれ、これにより流量制御弁24aが中立位置から切り換えられる。同様に、操作レバー27を中立位置から十字の他方向に操作すると、リモコン弁25cは制御パイロット圧eを生成し、中立位置から十字の反対方向に操作するとリモコン弁25cは制御パイロット圧fを生成し、制御パイロット圧e,fは、それぞれのパイロットライン29e,29fを介して流量制御弁24cの対応する受圧部に導かれ、これにより流量制御弁24cが中立位置から切り換えられる。操作レバー28を中立位置から十字の一方向に操作すると、制御パイロット圧cを生成し、中立位置から十字の反対方向に操作すると制御パイロット圧dを生成し、制御パイロット圧c,dは、それぞれのパイロットライン29c,29dを介して流量制御弁24bの対応する受圧部に導かれ、これにより流量制御弁24bが中立位置から切り換えられる。操作レバー28を十字の他方向に操作すると、同様に制御パイロット圧を生成し、図示しないリモコン弁が操作される。
操作検出装置44はシャトル弁44a〜44fと圧力検出装置44gとを有している。シャトル弁44aはリモコン弁25aのパイロットライン29a,29b間に接続され、シャトル弁44bはリモコン弁25bのパイロットライン29c,29d間に接続され、シャトル弁44cはリモコン弁25cのパイロットライン29e,29f間に接続され、シャトル弁44dはシャトル弁44a,44bの出力ポート間に接続され、シャトル弁44eはシャトル弁44c,44d間の出力ポート間に接続され、シャトル弁44fはシャトル弁44eの出力ポートと図示しない他の操作手段のリモコン弁に係わる最終段のシャトル弁の出力ポート間に接続されている。圧力検出装置44gはシャトル弁46fの出力ポートに接続されている。これによりシャトル弁44a〜44fを含むシャトル弁群はリモコン弁25a〜25cの制御パイロット圧a〜fや図示しない他の操作手段のリモコン弁の制御パイロット圧のうちの最高圧力を抽出し、最終段のシャトル弁44fはその最高圧力を出力し、圧力検出装置35はシャトル弁46の出力圧であるその最高圧力を検出することによりリモコン弁25a〜25cの操作レバー27,28を含む全操作手段の操作の有無を検出する。
図3は、図1に示すシステムを備えた油圧ショベルの外観を示す図である。油圧ショベルは下部走行体100と上部旋回体101とフロント作業機102を備えている。下部走行体100は左右のクローラ式走行装置103a,103bを有し、左右の走行モータ104a,104bにより駆動される。上部旋回体101は旋回モータ105により下部走行体100上に旋回可能に搭載され、フロント作業機102は上部旋回体101の前部に俯仰可能に取り付けられている。上部旋回体101にはエンジンルーム106、キャビン(運転室)107が備えられ、エンジンルーム106にエンジン1が配置され、キャビン107内の運転席の左右にリモコン弁25a,25b,25cの操作レバー27,28が配置されている。
フロント作業機102はブーム111、アーム112、バケット113を有する多関節構造であり、ブーム111はブームシリンダ114の伸縮により上下方向に回動し、アーム112はアームシリンダ115の伸縮により上下、前後方向に回動し、バケット113はバケットシリンダ116の伸縮により上下、前後方向に回動する。
図2において、油圧モータ23aは例えば旋回モータ105に対応し、油圧シリンダ23bは例えばアームシリンダ115に対応し、油圧シリンダ23cは例えばブームシリンダ114に対応する。油圧システム2には走行モータ104a,104b、バケットシリンダ116等に対応するその他の油圧アクチュエータや制御弁、それらの操作手段も備えられているが、図2ではそれらの図示を省略している。
〜制御内容〜
図4は、エンジン制御装置52のフィルタ再生演算処理機能を示すフローチャートである。この図4のフローチャートによる演算処理機能と排出ガス後処理装置(DPF)32及び差圧検出装置33とで排出ガス浄化システム3が構成される。
図4において、エンジン制御装置52は、まず、差圧検出装置33からの検出信号に基づいて排出ガス後処理装置32のフィルタ32aの再生(フィルタ32aに捕集された粒子状物質の燃焼除去)が必要であるかどうかを判定する(ステップS100)。フィルタ32aに捕集された粒子状物質(PM)の堆積量が増加するにしたがってフィルタ32aの前後差圧は上昇する。ステップS100では、実験データに基づいて再生が必要であるPM堆積量相当のフィルタ前後差圧の圧力値を再生開始判定閾値として設定しておき、差圧検出装置33からの検出信号が示すフィルタ32aの前後差圧がその閾値を超えたかどうかで、フィルタ32aの再生が必要かどうかを判断する。なお、タイマーで所定の時間間隔を設定し、定期的に再生を開始してもよい。ステップS100で再生が必要ないと判定されると、ステップS100の処理を繰り返す。ステップS100で再生が必要であると判定されると、再生を開始する(ステップS110)。
ステップS110における再生の開始は、排気管31内に再生用の燃料噴射を行うことにより行う。排気管31内に燃料が噴射されると、その噴射燃料の一部が燃焼して排気ガスの温度を上昇させるとともに、未燃燃料が酸化触媒32bに供給されて酸化触媒32bによって酸化され、そのときに得られる反応熱により排気ガス温度が更に上昇し、その高温の排気ガスによりフィルタ32aに体積したPMが燃焼除去される。再生用の燃料噴射は、例えば、電子ガバナ45によるエンジン1の筒内(シリンダ内)噴射システムを利用し、多段噴射の主噴射後の膨張行程において燃料を噴射する副噴射(ポスト噴射)を実行することで行うことができる。この手法は例えば特許文献3(特開2003−155915号公報)や、特開2006−37925号公報、特開2002−276340号公報等に記載されている。また、排気管31に再生用の燃料噴射装置を設置し、この燃料噴射装置を作動させることで再生用の燃料噴射を行ってもよい。
ステップS110において、フィルタ32aの再生が開始されると、再生が開始されたことを示す制御信号(再生開始信号)を車体制御装置51に出力する(ステップS120)。
次いで、フィルタ32aに堆積したPMの燃焼除去(再生)が終了したかどうかを判定する(ステップS130)。フィルタ32aに捕集された粒子状物質(PM)の堆積量が減少するにしたがってフィルタ32aの前後差圧は低下する。ステップS120では、実験データに基づいて再生が終了したとみなせるフィルタ前後差圧の圧力値を再生終了判定閾値として設定しておき、差圧検出装置33からの検出信号が示すフィルタ32aの前後差圧がその閾値を下回ったかどうかで、フィルタ32aの再生が終了したかどうかを判断する。ステップS130において、堆積PMの燃焼除去が終了していないと判定されると、ステップS130の処理を繰り返し、堆積PMの燃焼除去が終了したと判定されると、排気管31内への再生用の燃料噴射を停止し、再生を終了する(ステップS140)。また、再生終了後、直ちに、再生が終了したことを示す制御信号(再生終了信号)を出力する(ステップS150)。
図5は、車体制御装置51のオートアイドル制御を含むエンジン目標回転数演算処理機能を示すフローチャートである。この図5のフローチャートによる演算処理機能と、エンジンコントロールダイヤル41、モード切換装置42、回転数検出装置43、操作検出装置44、電子ガバナ45とでエンジン制御システム4が構成される。
図5において、車体制御装置51は、モード切換装置42からの指示信号に基づいてオートアイドルモード(特定のモード)が選択されているかどうかを判定し(ステップS200)、オートアイドルモードが選択されていないと判定された場合は、エンジンコントロールダイヤル41からの指示信号に基づいてエンジン1の目標回転数を設定し、その目標回転数を指示する指令信号をエンジン制御装置52に出力する(ステップS210)。オートアイドルモードが選択されていると判定されると、入力操作装置25の操作レバー(例えば図3に示す操作レバー27,28)が全て中立状態にあるかどうかを判定し(ステップS220)、操作レバーが全て中立状態にないと判定されると、上記のステップS210に進み、エンジンコントロールダイヤル41からの指示信号に基づいてエンジン1の目標回転数を設定し、その目標回転数を指示する指令信号をエンジン制御装置52に出力する。操作レバーが全て中立状態にあると判定されると、全ての操作レバーが中立状態になった後の時間をタイマーによりカウントし、中立状態後、予め設定した所定時間T1が経過したかどうか(中立状態後の時間が所定時間T1に達したかどうか)を判定し(ステップS240)、所定時間T1が経過していないと判定された場合は上記のステップS210に進み、エンジンコントロールダイヤル41からの指示信号に基づいてエンジン1の目標回転数を設定し、その目標回転数を指示する指令信号をエンジン制御装置52に出力する。ステップS240において、全ての操作レバーが中立状態になった後、所定時間T1が経過したと判定されると、現在、再生中であるかどうかを判定する(ステップS250)。この判定は、図4のステップS120において出力された制御信号(再生開始信号)とステップS150において出力された制御信号(再生終了信号)とに基づいて行う。すなわち、ステップS250では、エンジン制御装置52から再生開始信号が送信されると、再生中フラグをONに設定して再生中であると判定し、エンジン制御装置52から再生終了信号が送信されると、再生中フラグの設定をOFFにし、再生中でないと判定する。
ステップS250において、現在、再生中でないと判定されると、エンジン1の目標回転数をエンジンコントロールダイヤル41からの指示信号に基づく回転数とは異なる、予め設定した所定の低速回転数(例えば1200rpm)に設定し、その目標回転数を指示する指令信号をエンジン制御装置52に出力する(ステップS260)。現在、再生中であると判定されると、上記のステップS210に進み、エンジンコントロールダイヤル41からの指示信号に基づいてエンジン1の目標回転数を設定し、その目標回転数を指示する指令信号をエンジン制御装置52に出力する。
エンジン制御装置52は、車体制御装置51からステップS210又はS260において出力された目標回転数の指令信号を受信すると、その目標回転数と回転数検出装置43からの検出信号(実回転数)とに基づいてエンジン1の回転数を当該目標回転数に維持するための燃料噴射量を計算し、電子ガバナ45に燃料噴射指令を出力する。これによりエンジン1の回転数は、図5のステップS210又はS260において設定された目標回転数に維持されるように制御される。
以上において、酸化触媒32b、差圧検出装置33及びエンジン制御装置52の図4に示すフローチャートの処理機能は、排出ガス後処理装置32で捕集された粒子状物質を燃焼除去し排出ガス後処理装置32を再生させる再生装置を構成し、エンジンコントロールダイヤル41はエンジン1の回転数を指示する回転数指示手段を構成し、操作検出装置44は作業機(油圧ショベル)の運転状態を検出する運転状態検出手段を構成し、モード切換装置42はモード切換手段を構成する。また、車体制御装置51の図5に示すフローチャートのステップS200,S220,S240,S260の処理機能は、モード切換手段42が特定のモード(オートアイドルモード)を選択しているときに、作業機の運転状態に応じてエンジン1の回転数を回転数指示装置41が指示する回転数より低下させる制御を行う第1エンジン制御手段を構成し、車体制御装置51の図5に示すフローチャートのステップS250,S210の処理機能は、再生装置が作動中であるかどうかを検出し、再生装置が作動中であるときは第1エンジン制御手段の制御を無効とし、回転数指示装置41が指示する回転数を維持するようエンジン1の回転数を制御する第2エンジン制御手段を構成する。
〜動作〜
<排出ガス浄化システム3>
排出ガス後処理装置32のフィルタ32aに捕集されたPM堆積量が増加し、差圧検出装置33により検出したフィルタ32aの前後差圧が再生開始判定閾値を超えると、エンジン制御装置52は、例えば多段噴射の主噴射後の膨張行程において燃料を噴射する副噴射(ポスト噴射)を実行することで排気管31内に再生用の燃料噴射を行い、再生を開始する(図4のステップS100→ステップS110)。また、再生開始と同時に再生が開始されたことを示す制御信号(再生開始信号)を車体制御装置51に出力する(ステップS120)。
再生用の燃料噴射により排出ガス後処理装置32内の排気ガス温度が上昇し、フィルタ32aに堆積したPMの燃焼除去が進むにしたがって、フィルタ32aの前後差圧は低下する。差圧検出装置33により検出したフィルタ32aの前後差圧が再生終了判定閾値を下回ると、エンジン制御装置52は排気管31内への再生用の燃料噴射を停止し、再生を終了する(ステップS130→ステップS140)。また、再生終了後、直ちに、再生が終了したことを示す制御信号(再生終了信号)を車体制御装置51に出力する(ステップS150)。
<エンジン制御システム4>
オートアイドルモードが選択されている場合で、オペレータが操作レバーを操作して掘削等の作業を行っているときは、車体制御装置51はエンジンコントロールダイヤル41からの指示信号に基づいて目標回転数を設定し、その目標回転数を指示する指令信号をエンジン制御装置52に出力する(ステップS200→ステップS220→ステップS210)。エンジン制御装置52はその指令信号に基づいて電子ガバナ45を制御し、エンジン1の回転数はエンジンコントロールダイヤル41が指示する回転数に制御される。
その後、オペレータが操作レバーを中立に戻し、作業を中断或いは停止すると、車体制御装置51は、全ての操作レバーが中立状態となった後、所定時間T1を経過し、更に、エンジン制御装置52から再生開始信号が送信されないとき(排出ガス後処理装置32が再生中でないとき)は、エンジン1の目標回転数を予め設定した所定の低速回転数(例えば1200rpm)に設定し、その目標回転数を指示する指令信号をエンジン制御装置52に出力する(ステップS200→ステップS220→ステップS240→ステップS250→ステップS260)。エンジン制御装置52はその指令信号に基づいて電子ガバナ45を制御し、エンジン1の回転数は低速回転数(例えば1200rpm)に制御される。これにより燃費の節減しかつ騒音を低減することができる。
一方、全ての操作レバーが中立状態となった後、所定時間T1を経過した場合であっても、エンジン制御装置52から再生開始信号が送信されたとき(排出ガス後処理装置32が再生中であるとき)は、車体制御装置51はエンジンコントロールダイヤル41からの指示信号に基づいて目標回転数を設定し、その目標回転数を指示する指令信号をエンジン制御装置52に出力する(ステップS200→ステップS220→ステップS240→250→210)。エンジン制御装置52はその指令信号に基づいて電子ガバナ45を制御し、エンジン1の回転数はエンジンコントロールダイヤル41が指示する回転数に制御される。
ここで、排出ガス後処理装置32のフィルタ32aの再生中は、排出ガス後処理装置32の内部温度がPMが燃焼する約600℃まで上昇するため、排出ガス後処理装置32の内部ではかなりの熱が発生する。通常、この熱を排出ガスが流れることで冷却し、排出ガス後処理装置32内部に熱がこもることでのフィルタ32aの破損を防止している。しかし、再生が開始された後にオートアイドル制御によりエンジンの回転数を低下させた場合は、排出ガスの流量が減少し、それに伴い排出ガス後処理装置32内部の熱が逃げずに異常高温となり、フィルタ32aの破損を生じるおそれが高くなる。
本実施の形態では、上記のように、全ての操作レバーが中立状態となった後、所定時間T1を経過した場合であっても、排出ガス後処理装置32が再生中であるときは、オートアイドル制御を機能させず、エンジン1の回転数をエンジンコントロールダイヤル41が指示する回転数に制御する。これにより、再生中にオートアイドル制御によってエンジン回転数が低下することによる排出ガス後処理装置32のフィルタ32aの破損を防止することができる。
〜効果〜
本実施の形態によれば、オートアイドル制御により、全ての操作レバーが中立状態となった後、所定時間T1を経過するとエンジン1の回転数を低速回転数に低下させるので、燃費の節減と騒音の低減を図ることができる。また、再生中は、全ての操作レバーが中立状態となった後、所定時間T1を経過してもエンジン回転数が低下しないので、再生中にエンジン回転数が低下することによる排ガス後処理装置(DPF)32の破損を防止することができる。
<第2の実施の形態>
本発明の第2の実施の形態を図6を用いて説明する。図6は、本実施の形態における車体制御装置のオートアイドル制御を含むエンジン目標回転数演算処理機能を示す、図5と同様なフローチャートである。図6に示すフローチャートの図5に示すフローチャートとの相違点は、ステップS250の後にステップS270の処理が加わった点である。それ以外は図5に示すフローチャートと同じである。
本実施の形態において、車体制御装置51は、ステップS240で全ての操作レバーの中立状態後、所定時間T1が経過したと判定され、ステップS250で、エンジン制御装置52から再生開始信号が送信され、排出ガス後処理装置32が再生中であると判定されると、ステップS210に進み、エンジンコントロールダイヤル41からの指示信号に基づいてエンジン1の目標回転数を設定し、その目標回転数を指示する指令信号をエンジン制御装置52に出力する。ここまでは第1の実施の形態と同じである。そして、本実施の形態では、その後、再生終了信号が送信され、再生中ないと判定されると、直ちにステップS260に進んでエンジン1の目標回転数を予め設定したオートアイドル制御の低速回転数(例えば1200rpm)に設定するのではなく、更に、再生終了後の時間をタイマーによりカウントし、再生終了後の時間(再生中信号の送信が停止した後の時間)が予め設定した所定時間T2を経過したかどうか(再生終了後の時間が所定時間T2に達したかどうか)を判定する(ステップS270)。そして、再生終了後の時間が所定時間T2を経過していないと判定されたとき(再生終了後の時間が所定時間T2を経過する前)は、ステップS210に進み、エンジン1の目標回転数を、エンジンコントロールダイヤル41からの指示信号に基づく回転数に維持し、再生終了後の時間が所定時間T2を経過した場合に初めてステップS260に移行し、エンジン1の目標回転数を予め設定した所定の低速回転数(例えば1200rpm)に設定し、その目標回転数を指示する指令信号をエンジン制御装置52に出力する。
このように構成した本実施の形態では、再生終了後に再生中でないと判定された場合でも、再生終了後の所定時間T2が経過するまではエンジン1の回転数は低速回転数(例えば1200rpm)に低下せず、エンジンコントロールダイヤル41からの指示信号に基づく回転数に制御される。その結果、再生終了後の所定時間T2の間はエンジン回転数の低下により排出ガスの流量が減少することが防止され、十分な量の排出ガスが流れることで再生終了後の余熱により排出ガス後処理装置32内が異常高温となることを防止し、フィルタ32aの破損を防止することができる。
<第3の実施の形態>
本発明の第3の実施の形態を図7を用いて説明する。図7は、本実施の形態における車体制御装置のオートアイドル制御を含むエンジン目標回転数演算処理機能を示す、図5と同様なフローチャートである。図7に示すフローチャートの図5に示すフローチャートとの相違点は、ステップS250の後にステップS270の処理が加わり(第2の実施の形態と同じ)、更にステップS280及びS290の処理が加わった点である。それ以外は図5に示すフローチャートと同じである。
本実施の形態において、車体制御装置51は、ステップS250でエンジン制御装置52から再生開始信号が送信され、排出ガス後処理装置32が再生中であると判定された場合、及びステップS270で、再生終了後の時間が所定時間T2を経過していないと判定された場合(再生終了後の時間が所定時間T2を経過する前)は、更にエンジンコントロールダイヤル41から回転数を低下させる指示があり、エンジンコントロールダイヤル41からの指示信号に基づく回転数が予め設定した所定の回転数NZ以下であるかどうかを判定し(ステップS280)、エンジンコントロールダイヤル41からの指示信号に基づく回転数が所定の回転数NZ以下でなければ、ステップS210に移行し、エンジンコントロールダイヤル41からの指示信号に基づいてエンジン1の目標回転数を設定し、その目標回転数を指示する指令信号をエンジン制御装置52に出力する。ステップS280において、エンジンコントロールダイヤル41からの指示信号に基づく回転数が所定の回転数NZ以下であると判定されると、その所定の回転数NZをエンジン1の目標回転数として設定し、その目標回転数を指示する指令信号をエンジン制御装置52に出力する(ステップS290)。ここで、所定の回転数NZとは、排出ガス後処理装置32のフィルタ32aの再生中(PMの燃焼中)にフィルタ32を冷却するに十分な排出ガスの流量が得られるエンジン回転数(すなわち、再生に適したエンジン回転数)であり、例えば1800rpmである。
このように構成した本実施の形態では、再生中及び再生終了後の所定時間T2経過前にオペレータがうっかりエンジンコントロールダイヤル41を操作し、その指示信号に基づく回転数が大きく低下する場合であっても、エンジン回転数は所定の回転数以下には低下せず、エンジン回転数はその所定の回転数に制御される。その結果、エンジン回転数の低下により排出ガスの流量が減少することが防止され、十分な流量の排出ガスが流れることで排出ガス後処理装置32内部に熱がこもることでの排出ガス後処理装置32内が異常高温となることを防止し、フィルタ32aの破損を防止することができる。
<第4の実施の形態>
本発明の第4の実施の形態を図8〜図18を用いて説明する。
図8は本発明の第4の実施の形態におけるエンジン制御システムと排出ガス浄化システムとを備えた作業機の全体システム構成を示す図である。本実施の形態も、本発明を建設機械の代表例である油圧ショベルに適用した場合のものである。
図8において、本実施の形態における油圧システム2Aは、油圧ポンプ21の吐出圧力に基づいて、油圧ポンプ21の吸収トルク(消費トルク)が予め定めた値である最大吸収トルクを超えないように油圧ポンプ21の傾転(斜板の傾転量;押しのけ容積或いは容量)を制御するトルク制御レギュレータ61を有している。
エンジン制御システム4Aは、第1の実施の形態におけるオートアイドルモードを選択するモード切換装置42に代えてエコノミーモードを選択するモード切換装置42Aを有するとともに、新たに油圧ポンプ21の吐出圧力を検出する圧力検出装置62(運転状態検出手段)を備えている。
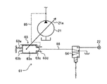
図9はトルク制御レギュレータ61の詳細を示す図である。トルク制御レギュレータ61は、油圧ポンプ21の押しのけ容積可変機構21aに作動的に連結された制御スプール63s、この制御スプール63sに対して油圧ポンプ21の容量増加方向に作用するバネ63a,63b、制御スプール63sに対して油圧ポンプ21の容量減少方向に作用する受圧部63c,63dを備えた傾転制御アクチュエータ63と、電磁比例弁64とを有している。アクチュエータ63の受圧部63cには油圧ポンプ21の吐出圧力がパイロットライン65を介して導入され、受圧部63dには電磁比例弁64から出力される制御圧力が制御油路66を介して導入される。電磁比例弁64はパイロットポンプ22の吐出圧力を元圧として車体制御装置51Aからの駆動信号に応じた制御圧力を生成する。バネ63a,63bと受圧部63dは、油圧ポンプ21で使用可能な最大吸収トルクを設定する手段として機能する。このような構成によりレギュレータ61は、油圧ポンプ21の吸収トルクがバネ63a,63bの付勢力と受圧部63dにおいて電磁比例弁64からの制御圧力により生成される油圧力との差によって設定される最大吸収トルクを超えないよう油圧ポンプ21の容量を制御する。また、その最大吸収トルクは、車体制御装置51Aからの駆動信号で電磁比例弁64を作動させ、電磁比例弁64が出力する制御圧力を変更することにより調整可能である。
図10はレギュレータ61のトルク制御特性を示す図である。横軸は油圧ポンプ21の吐出圧力であり、縦軸は油圧ポンプ21の傾転(押しのけ容積或いは容量)である。A1,A2,A3はバネ63a,63bの付勢力と受圧室63dの油圧力との差によって設定される最大吸収トルクの特性線である。電磁比例弁64から出力される制御圧力が高くなる(駆動電流が大きくなる)に従い、バネ63a,63bの付勢力と受圧室63dの油圧力との差によって設定される最大吸収トルクの特性線はA1,A2,A3へと変化し、油圧ポンプ21の最大吸収トルクはTR1,TR2,TR3と減少する。また、Xはレギュレータ61のトルク制御特性を特性線A1に設定したときのトルク制御レギュレータ61のトルク制御領域であり、Yはそのトルク制御領域Xより圧力の低い領域である。PdAは領域Xの最低圧力であり、トルク制御開始圧力である。最大吸収トルクの特性線がA1に設定されてるとき、レギュレータ61は、油圧ポンプ21の吐出圧力がPdAより低い領域Yにあるときは油圧ポンプ21の傾転を最大qmaxに保ち、油圧ポンプ21の吐出圧力がPdA以上の領域Xにあるときは、油圧ポンプ21の吐出圧力が上昇するに従って油圧ポンプ21の傾転を特性線A1に沿って減少させるよう制御し、これにより油圧ポンプ21の吸収トルク(消費トルク)を特性線A1に対応した最大吸収トルクTR1を超えないように制御する。最大吸収トルクの特性線がA2,A3に設定されてるときも同様である。
図11は車体制御装置51Aの最大吸収トルクの演算理機能を示す図である。
図11において、車体制御装置51Aは、ポンプ最大吸収トルク演算部71、電磁比例弁出力圧力演算部72、出力電流演算部73の各処理機能を有している。
ポンプ最大吸収トルク演算部71は、目標エンジン回転数NR1(後述)の信号を入力し、これをメモリに記憶してあるテーブルに参照させ、そのときの目標エンジン回転数NR1に応じた油圧ポンプ21の最大吸収トルクTRを算出する。この最大吸収トルクTRは目標エンジン回転数NR1で回転するエンジン1の出力トルク特性にマッチングする油圧ポンプ21の目標とする最大吸収トルクであり、メモリのテーブルには、目標エンジン回転数NR1が最大の定格回転数Nmaxにあるときは最大吸収トルクTRは最も大きく最大の定格回転数TRmaxであり、目標エンジン回転数NR1が最大の定格回転数TRmaxから低下するに従い最大吸収トルクTRも減少し、目標エンジン回転数NR1がアイドル回転数付近の低回転数領域になると最大吸収トルクTRも最も小さくなるように、NR1とTRの関係が設定されている。
出力圧力演算部72は、最大吸収トルクTRを入力し、バネ63a,63bの付勢力と受圧室63dの油圧力との差によって設定される最大吸収トルクがTRとなる電磁比例弁64の出力圧力(制御圧力)SPを求め、出力電流演算部73は出力圧力(制御圧力)SPが得られる電磁比例弁64の駆動電流SIを求め、これを電磁比例弁64に出力する。
駆動電流SIを入力した電磁比例弁64は駆動電流S1に応じた制御圧力SPを出力し、トルク制御レギュレータ61のアクチュエータ63は演算部71で求めた目標エンジン回転数NR1に応じた最大吸収トルクTRを設定する。
図10において、最大吸収トルクの特性線A1は目標エンジン回転数NR1が最大の定格回転数Nmaxにあるときのものであり、TR1=TRmaxである。ポンプ最大吸収トルク演算部71で演算される大吸収トルクTRは目標エンジン回転数NR1が最大の定格回転数TRmaxから低下するにしたがって減少するため、トルク制御レギュレータ61のアクチュエータ63に設定される最大吸収トルクの特性線もA2,A3と変化する。すなわち、トルク制御レギュレータ61には目標エンジン回転数NR1が低下するに従って減少する最大吸収トルクが設定される。
図12は、車体制御装置51Aのエコノミーモード制御を含むエンジン目標回転数演算処理機能を示す、図5と同様なフローチャートである。この図12のフローチャートによる演算処理機能と、エンジンコントロールダイヤル41、モード切換装置42A、回転数検出装置43、操作検出装置44、電子ガバナ45、圧力検出装置62とでエンジン制御システム4Aが構成される。
従来の一般的なエコノミーモードは、車体の作動状況に関係なくエンジン回転数を最大の定格回転数Nmaxから一定量下げるモードであるのに対して、本発明が係わるエコノミーモードは、油圧ポンプの吐出圧力に応じてエンジン回転数を低下させるモードであり、従来の一般的なエコノミーモードと区別するため、本発明が係わるエコノミーモードをニューエコノミーモードという。
図12において、車体制御装置51Aは、モード切換装置42Aからの指示信号に基づいてニューエコノミーモードが選択されているかどうかを判定し(ステップS300)、ニューエコノミーモードが選択されていないと判定された場合は、エンジンコントロールダイヤル41からの指示信号に基づいてエンジン1の目標回転数を設定し、その目標回転数を指示する指令信号をエンジン制御装置52に出力する(ステップS310)。ステップS300においてニューエコノミーモードが選択されていると判定されると、次に油圧ショベル(建設機械)が現在行っている作業が軽負荷作業か否かが判定される(ステップS320)。軽負荷作業か否かの判定は、例えば、油圧ポンプ21の吐出圧力(以下Pdで表す)を検出する圧力検出装置62の検出信号を用いて次のように行う。
・Pd<PdB → 軽負荷作業
・上記以外(Pd≧PdB) → 軽負荷作業でない
PdB:軽負荷作業か否かのポンプ吐出圧力判定値

なお、油圧ポンプ21の吐出圧力Pdを検出する圧力検出装置62の検出信号とリモコン弁の制御パイロット圧(以下Piで表す)を検出する圧力検出装置44g(操作検出装置44)の検出信号の両方を用いて次のように行ってもよい。
・Pd<PdBかつPi<Pia → 軽負荷作業
・上記以外(Pd<PdBかつPi≧Pia又はPd≧PdB → 軽負荷作業でない
PdB:軽負荷作業か否かのポンプ吐出圧力判定値(後述)
Pia:軽負荷作業か否かの制御パイロット圧判定値

ポンプ吐出圧力の判定値PdBは油圧ポンプ21の吐出圧力変化範囲の中間付近の圧力であり、例えばトルク制御レギュレータ61のトルク制御領域Xの最低圧力(トルク制御の開始圧力)PdAに等しいか、その付近の値に設定されている(PdB=PdA又はPdB≒PdA)。制御パイロット圧の判定値Piaは、微操作作業(例えば土砂の表面を水平にならす水平引き作業等)における操作レバー装置の最大操作量に対応する制御パイロット圧である。
ステップS320において現在行っている作業が軽負荷作業であると判定されると、ステップS310に進み、エンジンコントロールダイヤル41からの指示信号に基づいてエンジン1の目標回転数を設定し、その目標回転数を指示する指令信号をエンジン制御装置52に出力する。ステップS320において現在行っている作業が軽負荷作業でないと判定されると、次に現在、再生中であるかどうかを判定する(ステップS330)。すなわちエンジン制御装置52から再生開始信号が送信されると、再生中フラグをONに設定して再生中であると判定し、エンジン制御装置52から再生終了信号が送信されると、再生中フラグをOFFに設定して再生中でないと判定する。
ステップS330において、現在、再生中でないと判定されると、エンジン1の目標回転数をエンジンコントロールダイヤル41からの指示信号に基づく回転数とは異なる、油圧ポンプ21の吐出圧力の増加に応じて低下する低速回転数(後述)に設定し、その目標回転数を指示する指令信号をエンジン制御装置52に出力する(ステップS340)。ステップS330において、現在、再生中であると判定されると、ステップS310に進み、エンジンコントロールダイヤル41からの指示信号に基づいてエンジン1の目標回転数を設定し、その目標回転数を指示する指令信号をエンジン制御装置52に出力する。
エンジン制御装置52は、第1の実施の形態と同様、車体制御装置51AからステップS310又はS340において出力された目標回転数の指令信号を受信すると、その目標回転数と回転数検出装置43からの検出信号(実回転数)とに基づいて電子ガバナ45を制御し、エンジン1の回転数をステップS210又はS260で設定された目標回転数が維持されるように制御する。
図13は、図12にフローチャートで示した車体制御装置51Aのエンジン設定回転数演算処理機能をブロック図で示す図である。
図13において、車体制御装置51Aは、基準目標回転数演算部400a、パワーモード定格目標回転設定部400b、エンジン回転数補正値演算部400d、作業モード選択部400e、再生中Eモード解除部400x、減算部400f、最小値選択部400gの各機能を有している。
基準目標回転数演算部400aは、エンジンコントロールダイヤル41の操作角αの信号を入力し、これをメモリに記憶してあるテーブルに参照させ、そのときの操作角αに応じた基準目標回転数NROを算出する。このNROは目標エンジン回転数NR1の基準値となるものであり、操作角αが大きくなるに従って基準目標回転数NROが大きくなるようにαとNROの関係が設定されている。
パワーモード定格目標回転設定部400bは、パワーモードの最大の定格回転数Nmaxが設定されており、このNmaxを出力する。
エンジン回転数補正値演算部400dは、圧力検出器62により検出した油圧ポンプ21の吐出圧力Pdを入力し、これをメモリに記憶してあるテーブルに参照させ、そのときの吐出圧力Pdに応じたエンジン回転数補正値ΔN0を算出する。
図14にエンジン回転数補正値演算部400dにおけるポンプ吐出圧力Pdとエンジン回転数補正値ΔN0の関係を拡大して示す。メモリのテーブルには、ポンプ吐出圧力Pdが軽負荷作業か否かのポンプ吐出圧力判定値である圧力PdBより低いときはエンジン回転数補正値ΔN0は0であり、ポンプ吐出圧力Pdが圧力PdB以上に高くなると、ポンプ吐出圧力Pdが高くなるに従いエンジン回転数補正値ΔN0が増加するようにPdとΔN0の関係が設定されている。
作業モード選択部400eは、モード切換装置42Aが標準モードを選択したときはoffであり、このときはエンジン回転数補正値ΔN1=0を出力し、モード切換装置42Aがエコノミモードを選択したときはonとなり、このときはエンジン回転数補正値演算部400dで計算されたエンジン回転数補正値ΔN0を出力する。
再生中Eモード解除部400xは、再生中フラグがOFFに設定されているとき(再生中でないとき)はonであり、このときはエンジン回転数補正値ΔN1を出力し、再生中フラグがONに設定されているとき(再生中であるとき)はoffとなり、このときはエンジン回転数補正値ΔN1=0を出力する。
減算部400fは、定格目標回転設定部400bから出力された最大の定格回転数Nmaxから再生中Eモード解除部400xの出力であるエンジン補正回転数ΔN0を減算し、目標エンジン回転数NR2を演算する(NR2=Nmax−ΔN0)。ここで、例えばNmaxが1900rpmであるとき、エンジン補正回転数ΔN0の最大値ΔN0maxは300rpmであり、目標エンジン回転数NR2の最小値NR2minは1600rpmである。
最小値選択部400gは、基準目標回転数演算部400aで演算された基準目標回転数NROと減算部400fで演算された目標回転数NR2の小さい方を選択し、これを目標エンジン回転数NR1として出力する。この目標エンジン回転数NR1は指令信号としてエンジン制御装置52に出力される。
作業モード選択部400eの機能は図12のステップS300の処理に対応し、基準目標回転数演算部400aの機能は図12のステップS310の処理に対応し、エンジン回転数補正値演算部400dの機能は図12のステップS320の処理に対応し、再生中Eモード解除部400xの機能は図12のステップS330の処理に対応し、パワーモード定格目標回転設定部400b、エンジン回転数補正値演算部400d、減算部400f、最小値選択部400gの機能は図12のステップS340の処理に対応する。
以上において、圧力検出装置62(又は操作検出装置44と圧力検出装置62)は作業機(油圧ショベル)の運転状態を検出する運転状態検出手段を構成し、モード切換装置42Aはモード切換手段を構成する。また、車体制御装置51Aの図12に示すフローチャートのステップS300,S320,S340の処理機能は、モード切換手段42Aが特定のモード(エコノミーモード)を選択しているときに、作業機の運転状態に応じてエンジン1の回転数を回転数指示装置41が指示する回転数より低下させる制御を行う第1エンジン制御手段を構成し、車体制御装置51Aの図12に示すフローチャートのステップS330,S310の処理機能は、再生装置が作動中であるかどうかを検出し、再生装置が作動中であるときは第1エンジン制御手段の制御を無効とし、回転数指示装置41が指示する回転数を維持するようエンジン1の回転数を制御する第2エンジン制御手段を構成する。
図15は、エンジンコントロールダイヤル41で最大の定格回転数Nmaxを設定したとき(基準目標回転数演算部400aで最大の定格回転数Nmaxを算出しているとき)のニューエコノミーモードにおけるポンプ吐出圧力に対する目標エンジン回転数NR1の変化を示す図であり、実線E及びF1は再生中でないときのもの、実線Eと一点鎖線F2は再生中であるときのものである。ポンプ吐出圧力Pdが圧力PdB以下のとき(軽負荷作業時)は、エンジン補正回転数ΔN0=0であり、実線Eで示すように再生中かどうかに係わらず目標エンジン回転数NR1は最大の定格回転数Nmaxにである。再生中でないときは、ポンプ吐出圧力Pdが圧力PdBより高くなると、ポンプ吐出圧力Pdが上昇するに従ってエンジン補正回転数ΔN0が増加し、最大の定格回転数Nmaxからエンジン補正回転数ΔN0を減算した値が目標エンジン回転数NR1となるため、実線F1で示すように、目標エンジン回転数NR1はポンプ吐出圧力Pdが上昇するに従って最大の定格回転数Nmaxから徐々に低下する。一方、再生中であるときはエンジン補正回転数ΔN0は出力されないため、一点鎖線F2で示すように、目標エンジン回転数NR1は変化せず、最大の定格回転数Nmaxのままである。
図16は、本実施の形態に係わるエンジン制御システム4Aにおいて、エンジンコントロールダイヤル41で最大の定格回転数Nmaxを設定したときにモード切換装置42Aを標準モードからニューエコノミーモードに切り換えたときの油圧ポンプ21の吐出圧力と吐出流量との関係を示す図である。図中、実線A及びB1は標準モードにおける油圧ポンプ21の吐出圧力と吐出流量との関係を示し、実線Aと点線B2はニューエコノミーモードであって再生中でないときの油圧ポンプ21の吐出圧力と吐出流量との関係を示している。ZはNR2=Nmax−ΔN0で計算されるエンジン回転数の低下に応じて減少する最大吸収トルク(トルク制御レギュレータ61に設定される最大吸収トルク)の減少量に対応するポンプ吐出流量の減少量を示す特性線である。一点鎖線Cは、比較のため、従来の一般的なエコノミーモードにおけるポンプ吐出流量の変化を示している。
従来の一般的なエコノミーモードでは、車体の作動状況に関係なくエンジン回転数を最大の定格回転数Nmaxから一定量下げるため、一点鎖線Cで示すように、ポンプ吐出流量も領域Yでは標準モードの吐出流量よりも一定量減少し、トルク制御領域Xでは最大吸収トルクの減少量(一定量)に対応して一定量減少している。
これに対し、本発明が係わるニューエコノミーモードでは、油圧ポンプ21の吐出圧力が圧力PdB(トルク制御開始圧力)より低いときはエンジン補正回転数ΔN0=0であって、エンジン回転数は最大の定格回転数Nmaxのままであるため、実線Aで示すように、ポンプ吐出流量も領域Yでは低下せず、標準モードと同じである。そして、再生中でないときは、油圧ポンプ21の吐出圧力が圧力PdBより高くなると、油圧ポンプ21の吐出圧力が上昇するに従ってエンジン回転数は最大の定格回転数Nmaxからエンジン補正回転数ΔN0分だけ徐々に低下し、これに応じてトルク制御レギュレータ61に設定される最大吸収トルクも徐々に減少するため、油圧ポンプ21の吐出流量の減少量は特性線Zのように増加し、その結果、油圧ポンプ21の吐出流量は、破線B2で示すように、標準モードの吐出流量よりも減少する。また、その減少量は油圧ポンプ21の吐出圧力が上昇するに従って増加する。
図17は、ポンプ負荷頻度を示す図である。通常、一連の動作の中に様々な負荷状態が連続的に混合されており、ポンプ負荷頻度は図17に示すようになる。横軸のポンプ負荷圧はポンプ吐出圧に対応する。図18は、ポンプ吐出量特性図にポンプ頻度の高い領域を重ねて示す図である。ポンプ負荷頻度の高い領域は中間のポンプ吐出圧範囲に対応している。
本実施の形態において、本発明が係わるニューエコノミーモードでは、ポンプ吐出圧(負荷)の高い範囲ではエンジン回転が低く制御されるので燃費向上に効果があり、ポンプ吐出圧(負荷)が低い範囲では標準モードと同じ流量(作業速度)で作業が可能である。また、負荷頻度の高い中間の負荷領域では、燃費と作業速度を両立できる回転数制御が可能である。これにより負荷の高い領域では原動機回転数を低減して、燃費を向上させることができるとともに、必要な負荷領域ではポンプ吐出流量の減少による性能低下(作業速度の低下)を少なくして、作業効率を向上させることができる。また、作業中に負荷頻度が変化しても原動機回転数は連続的に変化するので、作業速度の急変、エンジン音の変動による操作上の違和感も防ぐことができ、操作性を向上することができる。
また、本実施の形態では、再生中であるときはエンジン補正回転数ΔN0は出力されないため、図15の一点鎖線F2で示したように、目標エンジン回転数NR1は変化せず、最大の定格回転数Nmaxのままである。これにより、再生中にニューエコノミーモードの制御によってエンジン回転数が低下することによる排出ガス後処理装置32のフィルタ32aの破損を防止することができる。
<第5の実施の形態>
本発明の第5の実施の形態を図19を用いて説明する。図19は、本実施の形態における車体制御装置のエコノミーモード制御を含むエンジン目標回転数演算処理機能を示す、図12と同様なフローチャートである。本実施の形態は、第4の実施の形態におけるエコノミーモード制御を含むエンジン目標回転数演算処理機能に対して図6の第2の実施の形態と同様の変更を行ったものである。
すなわち、本実施の形態において、車体制御装置51Aは、ステップS300でニューエコノミーモードが選択されていると判定され、かつステップS320で現在行っている作業が軽負荷作業でないと判定され、ステップS330で、現在、排出ガス後処理装置32が再生中であると判定されると、ステップS310に進み、エンジンコントロールダイヤル41からの指示信号に基づいてエンジン1の目標回転数を設定し、その目標回転数を指示する指令信号をエンジン制御装置52に出力する。ここまでは第4の実施の形態と同じである。そして、本実施の形態では、その後、ステップS330において、エンジン制御装置52から再生終了信号が送信され、再生中ないと判定されると、直ちにステップS340に進んでエンジン1の目標回転数を油圧ポンプ21の吐出圧力の増加に応じて低下する低速回転数に設定するのではなく、更に、再生終了後の時間をタイマーによりカウントし、再生終了後の時間(再生中信号の送信が停止した後の時間)が予め設定した所定時間T2を経過したかどうか(再生終了後の時間が所定時間T2に達したかどうか)を判定する(ステップS350)。そして、再生終了後の時間が所定時間T2を経過していないと判定されたとき(再生終了後の時間が所定時間T2を経過する前)は、ステップS310に進み、エンジン1の目標回転数を、エンジンコントロールダイヤル41からの指示信号に基づく回転数に維持し、再生終了後の時間が所定時間T2を経過した場合に初めてステップS340に移行し、エンジン1の目標回転数を油圧ポンプ21の吐出圧力の増加に応じて低下する低速回転数に設定し、その目標回転数を指示する指令信号をエンジン制御装置52に出力する。
このように構成した本実施の形態においても、エンジン回転数低下制御としてニューエコノミーモード制御を採用したものにおいて、第2の実施の形態と同様の効果(再生終了後の余熱によるフィルタ32aの破損防止効果)が得られる。
<第6の実施の形態>
本発明の第6の実施の形態を図20を用いて説明する。図20は、本実施の形態における車体制御装置のエコノミーモード制御を含むエンジン目標回転数演算処理機能を示す、図12と同様なフローチャートである。図20に示すフローチャートの図12に示すフローチャートとの相違点は、ステップS330の後にステップS350の処理が加わり(第5の実施の形態と同じ)、更にステップS360及びS370の処理が加わった点である。それ以外は図12に示すフローチャートと同じである。
本実施の形態において、車体制御装置51は、ステップS330でエンジン制御装置52から再生開始信号が送信され、排出ガス後処理装置32が再生中であると判定された場合、及びステップS350で、再生終了後の時間が所定時間T2を経過していないと判定された場合(再生終了後の時間が所定時間T2を経過する前)は、更にエンジンコントロールダイヤル41から回転数を低下させる指示があり、エンジンコントロールダイヤル41からの指示信号に基づく回転数が予め設定した所定の回転数NZ(例えば1800rpm)以下であるかどうかを判定し(ステップS360)、エンジンコントロールダイヤル41からの指示信号に基づく回転数が所定の回転数NZ以下でなければ、ステップS310に移行し、エンジンコントロールダイヤル41からの指示信号に基づいてエンジン1の目標回転数を設定し、その目標回転数を指示する指令信号をエンジン制御装置52に出力する。ステップS360において、エンジンコントロールダイヤル41からの指示信号に基づく回転数が所定の回転数NZ以下であると判定されると、その所定の回転数NZをエンジン1の目標回転数として設定し、その目標定回転数を指示する指令信号をエンジン制御装置52に出力する(ステップS370)。
このように構成した本実施の形態においても、エンジン回転数低下制御としてニューエコノミーモード制御を採用したものにおいて、第2の実施の形態と同様の効果(再生中及び再生終了後の所定時間T2経過前にオペレータがうっかりエンジンコントロールダイヤル41を操作し、その指示信号に基づく回転数が大きく低下する場合におけるフィルタ32aの破損防止効果)が得られる。
なお、以上の実施の形態は本発明の精神の範囲内で種々の変更が可能である。例えば、上記実施の形態では、作業機の運転状態に応じてエンジンの回転数を回転数指示装置が指示する回転数より低下させるエンジン制御としてオートアイドル制御(第1〜第3の実施の形態)又はニューエコノミーモード制御(第4〜第6の実施の形態)に本発明を適用したが、再生中にエンジン回転数が低下することによる排出ガス後処理装置32のフィルタ32aの破損を生じる可能性のあるエンジン制御であれば、それ以外のエンジン制御に本発明を適用してもよく、その場合も同様の効果が得られる。
本発明の第1の実施の形態におけるエンジン制御システムと排出ガス浄化システムとを含む作業機の全体システムを示す図である。 図1に示す油圧システムと操作検出装置の詳細を示す図である。 図1に示すシステムを備えた油圧ショベル(作業機)の外観を示す図である。 エンジン制御装置のフィルタ再生演算処理を示すフローチャートである。 車体制御装置のオートアイドル制御演算処理を示すフローチャートである。 本発明の第2の実施の形態における車体制御装置のオートアイドル制御演算処理を示す、図5と同様なフローチャートである。 本発明の第3の実施の形態における車体制御装置のオートアイドル制御演算処理を示す、図5及び図6と同様なフローチャートである。 本発明の第4の実施の形態におけるエンジン制御システムと排出ガス浄化システムとを含む作業機の全体システムを示す図である。 トルク制御レギュレータの詳細を示す図である。 トルク制御レギュレータのトルク制御特性を示す図である。 車体制御装置の最大吸収トルクの演算理機能を示す図である。 車体制御装置のエコノミーモード制御を含むエンジン目標回転数演算処理機能を示す、図5と同様なフローチャートである。 図12にフローチャートで示した車体制御装置のエンジン設定回転数演算処理機能をブロック図で示す図である。 エンジン回転数補正値演算部におけるポンプ吐出圧力とエンジン回転数補正値の関係を拡大して示す図である。 エンジンコントロールダイヤルで最大の定格回転数を設定したときのニューエコノミーモードにおけるポンプ吐出圧力に対する目標エンジン回転数の変化を示す図である。 第4の実施の形態に係わるエンジン制御システムにおいて、エンジンコントロールダイヤルで最大の定格回転数を設定したときにモード切換装置を標準モードからニューエコノミーモードに切り換えたときの油圧ポンプの吐出圧力と吐出流量との関係を示す図である。 ポンプ負荷頻度を示す図である。 ポンプ吐出量特性図にポンプ頻度の高い領域を重ねて示す図である。 本発明の第5の実施の形態における車体制御装置のエコノミーモード制御を含むエンジン目標回転数演算処理機能を示す、図12と同様なフローチャートである。 本発明の第6の実施の形態における車体制御装置のエコノミーモード制御を含むエンジン目標回転数演算処理機能を示す、図12と同様なフローチャートである。
符号の説明
1 エンジン
2 油圧システム
3 排出ガス浄化システム
4 エンジン制御システム
21 油圧ポンプ
22 パイロットポンプ
23 アクチュエータ群
24 コントロールバルブ装置
25 入力操作装置(DPF)
31 排気管
32 排出ガス後処理装置
32a フィルタ
32b 酸化触媒
33 差圧検出装置
41 エンジンコントロールダイヤル
42,42A モード切換装置
43 回転数検出装置
44 操作検出装置
45 電子ガバナ
51,51A 車体制御装置
52 エンジン制御装置
61 トルク制御レギュレータ
62 圧力検出装置
63 アクチュエータ
63s 制御スプール
63a,63b バネ
63c,63d 受圧部
64 電磁比例弁
65 パイロットライン
400a 基準目標回転数演算部
400b パワーモード定格目標回転設定部
400d エンジン回転数補正値演算部
400e 作業モード選択部
400f 減算部
400g 最小値選択部
400x 再生中Eモード解除部

Claims (6)

  1. エンジンと、このエンジンにより駆動される油圧ポンプを含む油圧駆動装置と、前記エンジンの排気系に装着され、排出ガスに含まれる粒子状物質を捕集する排出ガス後処理装置と、この排出ガス後処理装置で捕集された粒子状物質を燃焼除去し前記排出ガス後処理装置を再生させる再生装置と備えた作業機のエンジン制御システムにおいて、
    前記エンジンの回転数を指示する回転数指示手段と、
    前記作業機の運転状態を検出する運転状態検出手段と、
    モード切換手段と、
    前記モード切換手段が特定のモードを選択しているときに、前記作業機の運転状態に応じて前記エンジンの回転数を前記回転数指示装置が指示する回転数より低下させる制御を行う第1エンジン制御手段と、
    前記再生装置が作動中であるかどうかを検出し、前記再生装置が作動中であるときは前記第1エンジン制御手段の制御を無効とし、前記回転数指示装置が指示する回転数を維持するよう前記エンジンの回転数を制御する第2エンジン制御手段とを備えることを特徴とする作業機のエンジン制御システム。
  2. 請求項1記載の作業機のエンジン制御システムにおいて、
    前記油圧駆動装置は、前記油圧ポンプからの圧油により駆動される複数のアクチュエータと、前記油圧ポンプから前記複数のアクチュエータに供給される圧油の流れを制御するコントロールバルブ装置と、このコントロールバルブ装置を操作して前記複数のアクチュエータの駆動を制御する入力操作装置とを備え、
    前記運転状態検出手段は、前記作業機の運転状態として前記入力操作装置の操作の有無を検出する操作検出装置を有し、
    前記第1エンジン制御手段は、前記モード切換手段が前記特定のモードを選択しているとき、前記入力操作装置の操作有りが検出されると、前記回転数指示装置の指示に応じて前記エンジンの回転数を制御し、前記入力操作装置の操作無しが検出されると、前記エンジンの回転数を前記回転数指示装置が指示する回転数より低下させる制御を行い、
    前記第2エンジン制御手段は、前記再生装置が作動中であるときは、前記入力操作装置の操作無しが検出された場合でも、前記回転数指示装置の指示に応じて前記エンジンの回転数を制御することを特徴とする作業機のエンジン制御システム。
  3. 請求項1記載の作業機のエンジン制御システムにおいて、
    前記油圧駆動装置は、前記油圧ポンプからの圧油により駆動する複数のアクチュエータと、前記油圧ポンプから前記複数のアクチュエータに供給される圧油の流れを制御するコントロールバルブ装置と、このコントロールバルブ装置を操作して前記複数のアクチュエータの駆動を制御する入力操作装置と、前記油圧ポンプの吐出圧力に基づいて、前記油圧ポンプの吸収トルクが前記エンジンの回転数に依存して設定された最大吸収トルクを超えないよう前記油圧ポンプの容量を制御するトルク制御レギュレータとを備え、
    前記動作状態検出手段は、前記作業機の運転状態として前記油圧ポンプの吐出圧力を検出する圧力検出装置を有し、
    前記第1エンジン制御手段は、前記モード切換手段が前記特定のモードを選択しているとき、前記圧力検出装置により検出された前記油圧ポンプの吐出圧力が所定圧力より低いときは、前記回転数指示装置の指示に応じて前記エンジンの回転数を制御し、前記圧力検出装置により検出された前記油圧ポンプの吐出圧力が前記所定圧力以上になると、前記エンジンの回転数を前記回転数指示装置が指示する回転数より低下させる制御を行い、
    前記第2エンジン制御手段は、前記再生装置が作動中であるときは、前記圧力検出装置により検出された前記油圧ポンプの吐出圧力が前記所定圧力以上である場合でも、前記回転数指示装置の指示に応じて前記エンジンの回転数を制御することを特徴とする作業機のエンジン制御システム。
  4. 請求項1〜3のいずれか1項記載の作業機のエンジン制御システムにおいて、
    前記第2エンジン制御手段は、前記再生装置の作動終了後は、所定時間が経過するまで、前記回転数指示装置の指示に応じて前記エンジンの回転数を制御することを特徴とする作業機のエンジン制御システム。
  5. 請求項1〜3のいずれか1項記載の作業機のエンジン制御システムにおいて、
    前記第2エンジン制御手段は、前記再生装置が作動中であるときは、前記回転数指示装置が指示するエンジン回転数が所定の回転数以下に低下したとき、前記エンジンの回転数を前記所定の回転数に維持するよう制御することを特徴とする作業機のエンジン制御システム。
  6. 請求項1〜3のいずれか1項記載の作業機のエンジン制御システムにおいて、
    前記第2エンジン制御手段は、前記再生装置が作動中であるとき及び前記再生装置の作動終了後の所定時間が経過するまでは、前記回転数指示装置が指示するエンジン回転数が所定の回転数以下に低下したとき、前記エンジンの回転数を前記所定の回転数に維持するよう制御することを特徴とする作業機のエンジン制御システム。
JP2008231556A 2008-09-09 2008-09-09 作業機のエンジン制御システム Expired - Fee Related JP4990860B2 (ja)

Priority Applications (1)

Application Number Priority Date Filing Date Title
JP2008231556A JP4990860B2 (ja) 2008-09-09 2008-09-09 作業機のエンジン制御システム

Applications Claiming Priority (1)

Application Number Priority Date Filing Date Title
JP2008231556A JP4990860B2 (ja) 2008-09-09 2008-09-09 作業機のエンジン制御システム

Publications (2)

Publication Number Publication Date
JP2010065577A true JP2010065577A (ja) 2010-03-25
JP4990860B2 JP4990860B2 (ja) 2012-08-01

Family

ID=42191370

Family Applications (1)

Application Number Title Priority Date Filing Date
JP2008231556A Expired - Fee Related JP4990860B2 (ja) 2008-09-09 2008-09-09 作業機のエンジン制御システム

Country Status (1)

Country Link
JP (1) JP4990860B2 (ja)

Cited By (15)

* Cited by examiner, † Cited by third party
Publication number Priority date Publication date Assignee Title
WO2011002055A1 (ja) * 2009-07-02 2011-01-06 ヤンマー株式会社 エンジン装置
JP2011012612A (ja) * 2009-07-02 2011-01-20 Yanmar Co Ltd エンジン装置
WO2012172951A1 (ja) * 2011-06-14 2012-12-20 日立建機株式会社 建設機械
WO2013077130A1 (ja) 2011-11-22 2013-05-30 日立建機株式会社 建設機械
WO2013105423A1 (ja) 2012-01-13 2013-07-18 日立建機株式会社 建設機械
WO2013105372A1 (ja) 2012-01-13 2013-07-18 日立建機株式会社 建設機械
JP2014009638A (ja) * 2012-06-29 2014-01-20 Kubota Corp 作業機
WO2014188997A1 (ja) 2013-05-22 2014-11-27 日立建機株式会社 建設機械
WO2015029716A1 (ja) 2013-08-30 2015-03-05 日立建機株式会社 建設機械
JP2016061084A (ja) * 2014-09-18 2016-04-25 住友建機株式会社 建設機械
WO2018008189A1 (ja) * 2016-07-06 2018-01-11 日立建機株式会社 作業機械
KR20190031321A (ko) 2017-03-01 2019-03-25 가부시키가이샤 히다치 겡키 티에라 건설 기계
JP2021050546A (ja) * 2019-09-25 2021-04-01 株式会社日立建機ティエラ 建設機械
CN114179808A (zh) * 2022-01-17 2022-03-15 潍柴动力股份有限公司 一种主动再生协同控制方法、系统、车辆及介质
WO2023067886A1 (ja) * 2021-10-18 2023-04-27 株式会社小松製作所 作業機械の制御装置

Citations (4)

* Cited by examiner, † Cited by third party
Publication number Priority date Publication date Assignee Title
JPS6038561B2 (ja) * 1980-04-03 1985-09-02 日立建機株式会社 油圧式建設機械のエンジン回転数の制御方法
JPH05209509A (ja) * 1992-01-31 1993-08-20 Toyota Motor Corp 内燃機関の排気浄化装置
JP2004176596A (ja) * 2002-11-26 2004-06-24 Toyota Industries Corp エンジンの排気浄化装置および排気浄化方法
JP2006144705A (ja) * 2004-11-22 2006-06-08 Hitachi Constr Mach Co Ltd 油圧建設機械の制御装置

Patent Citations (4)

* Cited by examiner, † Cited by third party
Publication number Priority date Publication date Assignee Title
JPS6038561B2 (ja) * 1980-04-03 1985-09-02 日立建機株式会社 油圧式建設機械のエンジン回転数の制御方法
JPH05209509A (ja) * 1992-01-31 1993-08-20 Toyota Motor Corp 内燃機関の排気浄化装置
JP2004176596A (ja) * 2002-11-26 2004-06-24 Toyota Industries Corp エンジンの排気浄化装置および排気浄化方法
JP2006144705A (ja) * 2004-11-22 2006-06-08 Hitachi Constr Mach Co Ltd 油圧建設機械の制御装置

Cited By (36)

* Cited by examiner, † Cited by third party
Publication number Priority date Publication date Assignee Title
WO2011002055A1 (ja) * 2009-07-02 2011-01-06 ヤンマー株式会社 エンジン装置
JP2011012612A (ja) * 2009-07-02 2011-01-20 Yanmar Co Ltd エンジン装置
CN102472135A (zh) * 2009-07-02 2012-05-23 洋马株式会社 发动机装置
US9032718B2 (en) 2009-07-02 2015-05-19 Yanmar Co., Ltd Engine device
US8869928B2 (en) 2011-06-14 2014-10-28 Hitachi Construction Machinery Co., Ltd. Construction machine
CN103597178A (zh) * 2011-06-14 2014-02-19 日立建机株式会社 工程机械
JPWO2012172951A1 (ja) * 2011-06-14 2015-02-23 日立建機株式会社 建設機械
WO2012172951A1 (ja) * 2011-06-14 2012-12-20 日立建機株式会社 建設機械
EP2722502A4 (en) * 2011-06-14 2015-06-17 Hitachi Construction Machinery CONSTRUCTION MACHINE
WO2013077130A1 (ja) 2011-11-22 2013-05-30 日立建機株式会社 建設機械
WO2013105423A1 (ja) 2012-01-13 2013-07-18 日立建機株式会社 建設機械
WO2013105372A1 (ja) 2012-01-13 2013-07-18 日立建機株式会社 建設機械
US9151015B2 (en) 2012-01-13 2015-10-06 Hitachi Construction Machinery Co., Ltd. Construction machine
US9441526B2 (en) 2012-01-13 2016-09-13 Hitachi Construction Machinery Co., Ltd. Construction machine
JP2014009638A (ja) * 2012-06-29 2014-01-20 Kubota Corp 作業機
US9353668B2 (en) 2013-05-22 2016-05-31 Hitachi Construction Machinery Co., Ltd. Construction machine
KR20160003026A (ko) 2013-05-22 2016-01-08 히다치 겡키 가부시키 가이샤 건설 기계
WO2014188997A1 (ja) 2013-05-22 2014-11-27 日立建機株式会社 建設機械
WO2015029716A1 (ja) 2013-08-30 2015-03-05 日立建機株式会社 建設機械
US9540983B2 (en) 2013-08-30 2017-01-10 Hitachi Construction Machinery Co., Ltd. Construction machine
JP2016061084A (ja) * 2014-09-18 2016-04-25 住友建機株式会社 建設機械
US11466435B2 (en) 2016-07-06 2022-10-11 Hitachi Construction Machinery Co., Ltd. Hydraulic excavator with area limiting control function
WO2018008189A1 (ja) * 2016-07-06 2018-01-11 日立建機株式会社 作業機械
KR20180103967A (ko) * 2016-07-06 2018-09-19 히다찌 겐끼 가부시키가이샤 작업 기계
JP2018003515A (ja) * 2016-07-06 2018-01-11 日立建機株式会社 作業機械
KR102029828B1 (ko) 2016-07-06 2019-10-08 히다찌 겐끼 가부시키가이샤 작업 기계
US11236654B2 (en) 2017-03-01 2022-02-01 Hitachi Construction Machinery Tierra Co., Ltd. Construction machine
KR20190031321A (ko) 2017-03-01 2019-03-25 가부시키가이샤 히다치 겡키 티에라 건설 기계
JP2021050546A (ja) * 2019-09-25 2021-04-01 株式会社日立建機ティエラ 建設機械
WO2021059617A1 (ja) * 2019-09-25 2021-04-01 株式会社日立建機ティエラ 建設機械
JP7110164B2 (ja) 2019-09-25 2022-08-01 株式会社日立建機ティエラ 建設機械
WO2023067886A1 (ja) * 2021-10-18 2023-04-27 株式会社小松製作所 作業機械の制御装置
JP2023060687A (ja) * 2021-10-18 2023-04-28 株式会社小松製作所 作業機械の制御装置
JP7752019B2 (ja) 2021-10-18 2025-10-09 株式会社小松製作所 作業機械の制御装置
CN114179808A (zh) * 2022-01-17 2022-03-15 潍柴动力股份有限公司 一种主动再生协同控制方法、系统、车辆及介质
CN114179808B (zh) * 2022-01-17 2024-04-16 潍柴动力股份有限公司 一种主动再生协同控制方法、系统、车辆及介质

Also Published As

Publication number Publication date
JP4990860B2 (ja) 2012-08-01

Similar Documents

Publication Publication Date Title
JP4990860B2 (ja) 作業機のエンジン制御システム
JP5053015B2 (ja) 建設機械の排気ガス浄化システム
JP5122896B2 (ja) 建設機械の排気ガス浄化システム
US8459008B2 (en) Working machine
JP4774096B2 (ja) 作業機械の排気ガス浄化システム
JP5658075B2 (ja) 作業機の排気浄化システム
US8869928B2 (en) Construction machine
JP5420513B2 (ja) 油圧作業機
WO2011093400A1 (ja) 油圧作業機械の排気ガス浄化システム
JP5572826B2 (ja) 排気ガス浄化システム
JP5714300B2 (ja) 排気ガス浄化システム
US9540983B2 (en) Construction machine
JP5667781B2 (ja) 作業機の排気ガス浄化システム
JP5320123B2 (ja) 作業車両および作業車両の制御方法
JP5788148B2 (ja) 作業機の排気ガス浄化システム
KR20140093322A (ko) 건설 기계의 배기 가스 정화 시스템
KR20150114715A (ko) 건설기계의 엔진배기가스 정화시스템
JP5667782B2 (ja) 作業機の排気ガス浄化システム
WO2011136184A1 (ja) 作業機の排気ガス浄化システム
JP2011127518A (ja) エンジン装置

Legal Events

Date Code Title Description
A621 Written request for application examination

Free format text: JAPANESE INTERMEDIATE CODE: A621

Effective date: 20100809

A977 Report on retrieval

Free format text: JAPANESE INTERMEDIATE CODE: A971007

Effective date: 20110816

A131 Notification of reasons for refusal

Free format text: JAPANESE INTERMEDIATE CODE: A131

Effective date: 20110823

A521 Request for written amendment filed

Free format text: JAPANESE INTERMEDIATE CODE: A523

Effective date: 20111024

TRDD Decision of grant or rejection written
A01 Written decision to grant a patent or to grant a registration (utility model)

Free format text: JAPANESE INTERMEDIATE CODE: A01

Effective date: 20120417

A01 Written decision to grant a patent or to grant a registration (utility model)

Free format text: JAPANESE INTERMEDIATE CODE: A01

A61 First payment of annual fees (during grant procedure)

Free format text: JAPANESE INTERMEDIATE CODE: A61

Effective date: 20120502

R150 Certificate of patent or registration of utility model

Free format text: JAPANESE INTERMEDIATE CODE: R150

Ref document number: 4990860

Country of ref document: JP

Free format text: JAPANESE INTERMEDIATE CODE: R150

FPAY Renewal fee payment (event date is renewal date of database)

Free format text: PAYMENT UNTIL: 20150511

Year of fee payment: 3

LAPS Cancellation because of no payment of annual fees