JP2010062343A - 部品実装方法 - Google Patents

部品実装方法 Download PDF

Info

Publication number
JP2010062343A
JP2010062343A JP2008226681A JP2008226681A JP2010062343A JP 2010062343 A JP2010062343 A JP 2010062343A JP 2008226681 A JP2008226681 A JP 2008226681A JP 2008226681 A JP2008226681 A JP 2008226681A JP 2010062343 A JP2010062343 A JP 2010062343A
Authority
JP
Japan
Prior art keywords
feeder
component mounting
data
target position
component
Prior art date
Legal status (The legal status is an assumption and is not a legal conclusion. Google has not performed a legal analysis and makes no representation as to the accuracy of the status listed.)
Granted
Application number
JP2008226681A
Other languages
English (en)
Other versions
JP5165507B2 (ja
Inventor
Toshiro Tsuruta
俊郎 鶴田
Current Assignee (The listed assignees may be inaccurate. Google has not performed a legal analysis and makes no representation or warranty as to the accuracy of the list.)
Juki Corp
Original Assignee
Juki Corp
Priority date (The priority date is an assumption and is not a legal conclusion. Google has not performed a legal analysis and makes no representation as to the accuracy of the date listed.)
Filing date
Publication date
Application filed by Juki Corp filed Critical Juki Corp
Priority to JP2008226681A priority Critical patent/JP5165507B2/ja
Priority to CN200910172915.XA priority patent/CN101668415B/zh
Publication of JP2010062343A publication Critical patent/JP2010062343A/ja
Application granted granted Critical
Publication of JP5165507B2 publication Critical patent/JP5165507B2/ja
Expired - Fee Related legal-status Critical Current
Anticipated expiration legal-status Critical

Links

Images

Landscapes

  • Supply And Installment Of Electrical Components (AREA)

Abstract

【課題】フィーダバンクを交換して異なるフィーダバンクを使用する場合であっても、フィーダの取得目標位置座標のティーチング作業の回数を低減することができる部品実装方法を提供する。
【解決手段】フィーダバンクFBに装着されたフィーダ16から供給される部品の取得目標位置座標を補正するティーチングを行って、該部品を基板上の所定の位置に実装する部品実装方法において、前記ティーチングにより補正された前記取得目標位置座標を保存する引継ぎファイルFをフィーダバンクFBごとに設け、フィーダバンクFBを切り換える際、該引継ぎファイルFに保存された該取得目標位置座標を反映させた生産プログラムデータを部品実装装置10にダウンロードする。
【選択図】図4

Description

本発明は、部品実装方法に関し、詳しくは、部品を供給するフィーダを搭載したフィーダバンクを切り替えた際に必要とされる、フィーダから供給される部品の取得目標位置座標のティーチング作業の回数を低減させることが可能な部品実装方法に関する。
部品を基板に搭載するために、従来から、例えば図1(正面図)、図2(側面図)に示すような部品実装装置10が用いられている。
この部品実装装置10は、部品を基板に実装する本体部12と、該本体部12へ部品を供給する部品供給部14とを有してなる。
部品供給部14は、部品を供給するフィーダ16と、該フィーダ16が装着されるフィーダバンクFBと、該フィーダバンクFBを搭載する交換台車20とを有する。図1および図2において、部品供給部14以外の部分が本体部12である。
図3は、図2のIII部を拡大して示す側面図であり、図示の都合上、図3はフィーダバンクFBが本体部12に対して位置決め固定される前の状態を示している。
交換台車20に取り付けられたフィーダバンクFBに、複数のフィーダ16を取り付け固定した後、交換台車20を矢印方向(図中右方向)に移動させる。そして、フィーダバンクFBをエアシリンダ32およびリフタ34等からなる上昇位置決め装置30により上昇させ、部品実装装置10の本体部12に位置決め固定する。
具体的には、エアシリンダ32により上下に駆動するリフタ34の上面に設けられた第1位置決めピン36が、前記フィーダバンク18の下面に設けられた穴22に嵌入し、フィーダバンクFBの上面に設けられた第2位置決めピン24が、仮想線で示す部品実装装置10の本体部12の位置決め部40に設けられた孔42に嵌入することにより、フィーダバンクFBは部品実装装置10の本体部12に対して位置決め固定される。
このようにしてフィーダバンクFBが本体部12に対して位置決め固定された後、部品実装装置10は、生産プログラムによって動作し、フィーダ16から供給される部品を搭載ヘッド(図示せず)で吸着し、この搭載ヘッドを基板上方の所定位置に移動させて、部品を基板上に搭載する。この場合、部品搭載基板の生産(部品実装)は、基板種類ごとにその部品搭載基板を生産する生産プログラムデータを作成して行われる。各生産プログラムデータは、部品実装装置10において部品搭載基板を生産するための各種データを含み、例えば、基板に関するデータ、搭載位置に関するデータ、部品に関するデータ(例えば縦横高さの寸法)、吸着位置に関するデータ、画像認識用の情報、接着剤の塗布に関するデータ等から構成されている。
複数種類の部品搭載基板を生産する場合には、その生産プログラムデータごとに、実装される部品が異なるので、これらの部品を供給するフィーダ16の種類も異なり、フィーダ16の交換、再配置などの準備作業が必要となる。そこで、複数の生産プログラムデータによる部品搭載基板の生産(部品実装)を効率良く最短時間で実施できるように、複数の生産プログラムデータをあたかも1本の生産プログラムデータのようにするクラスタ化が行われている。クラスタ化された生産プログラムデータ(以下、クラスタ化生産プログラムデータと記す)内では、基板の種類が変わってもフィーダ16の再配置が必要とならないように、生産プログラムデータおよびフィーダ16の配置の最適化が行われている。このため、同一のクラスタ化生産プログラムデータ内では、基板の種類が変って生産プログラムデータが変っても、フィーダ16の再配置は必要ではない。
ここで、フィーダ16はフィーダバンクFBに取り付けられるが、フィーダ16の取り付け位置には誤差がある。このため、生産プログラムデータでの吸着位置(取得目標位置座標)と、フィーダ16における実際の部品供給位置との間には、ずれが発生する。そこで、フィーダ16の部品供給位置データを取得して、これを生産プログラムデータの吸着座標(搭載ヘッドが部品を吸着する際に目標とする座標(取得目標位置座標))に反映させるティーチングを行っている。このティーチングを行うことにより、搭載ヘッドは正確な部品供給位置に移動して部品を正確に吸着できるようになる。
しかしながら、このようなティーチング作業は、従来では、同一のクラスタ化生産プログラムデータ内でも、生産プログラムデータが切り替わるごとに全てのフィーダ16について行われており、部品搭載基板の生産の作業効率が悪くなるという問題があった。
これに対し、特許文献1には、同一のクラスタ化生産プログラムデータ内で生産プログラムデータの切り替えが行われたとき、切り替え前の生産プログラムデータで使用したフィーダ16の部品供給位置データに関しては、そのデータを使用するようにしている技術が記載されており、この技術によれば、再度使用するフィーダ16の部品供給位置データを取得して行うティーチング作業の回数を低減でき、基板生産効率を向上させることが可能になる。
特開2003−273597号公報
しかしながら、特許文献1に記載の技術は、同一のフィーダバンクFBを用いている場合は有効であるが、フィーダバンクFBを交換して異なるフィーダバンクFBを使用する場合には、使用する全てのフィーダ16についてティーチング作業を行い、部品供給位置データを取得して、搭載ヘッドによる吸着目標位置の座標である吸着座標(取得目標位置座標)を補正することが必要であった。フィーダ16についての吸着座標は、ホストラインコンピュータ50(図4参照)において、該フィーダ16が取り付けられているフィーダバンクFB上の位置ごとに最新の吸着座標を1つ保持することができるのみであったからである。
本発明は、かかる問題点に鑑みてなされたものであって、フィーダバンクを交換して異なるフィーダバンクを使用する場合であっても、フィーダの取得目標位置座標のティーチング作業の回数を低減することができる部品実装方法を提供することを課題とする。
本発明に係る部品実装方法は、フィーダバンクに装着されたフィーダから供給される部品の取得目標位置座標を補正するティーチングを行って、該部品を基板上の所定の位置に実装する部品実装方法において、前記ティーチングにより補正された前記取得目標位置座標を保存する引継ぎファイルをフィーダバンクごとに設け、フィーダバンクを切り換える際、該引継ぎファイルに保存された該取得目標位置座標を反映させた生産プログラムデータを部品実装装置にダウンロードすることを特徴とし、前記課題を解決したものである。
本発明によれば、ティーチングにより補正された前記取得目標位置座標を保存する引継ぎファイルをフィーダバンクごとに設け、フィーダバンクを切り換える際、該引継ぎファイルに保存された該取得目標位置座標を反映させた生産プログラムデータを部品実装装置にダウンロードするので、ティーチングの回数を低減させることができ、部品搭載基板の生産効率を向上させることができる。
以下、図面を参照して、本発明の実施形態に係る部品実装方法について詳細に説明するが、本実施形態に係る部品実装方法は、フィーダがフィーダバンクに取り付け固定されて部品の供給がなされる部品実装装置に適用することができるので、以下の説明では、図1〜図3に示される部品実装装置に本実施形態に係る部品実装方法を適用する場合について説明する。
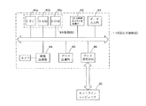
図4は、本実施形態に係る部品実装方法を適用できる生産ラインの一例を、この生産ラインのホストラインコンピュータ50の制御構成とともに模式的に示す図であり、図5は、この生産ラインを構成する部品実装装置10の制御構成を示すブロック図である。まず、図4および図5に示す構成について説明する。
ホストラインコンピュータ50は、製品(部品搭載基板)を製造するために必要な1つの生産ラインを構成する複数の部品実装装置10を管理し、該生産ラインを管理する。
ホストラインコンピュータ50は、図4に示すように、制御部61、データ出力部64、データ入力部65、データ記憶部66、データ送受信部67から構成されている。制御部61はCPU61a、RAM61b、ROM61cを有し、データ出力部(モニタ)64からはホストラインコンピュータ50が有するデータや演算結果等が出力される。
また、キーボードなどの入力手段を介してデータ入力部65には生産プログラムデータなどが入力され、部品実装装置10からのデータはデータ送受信部67により受信される。これらのデータはデータ記憶部66に格納できるようになっている。RAM61b、ROM61c、或いはデータ記憶部66にはオペレーティングシステムプログラム(OS)や本実施形態を実行するためのプログラムや各種のデータが格納されている。
また、データ記憶部66には、用いるフィーダバンクFB1〜FBnにそれぞれ対応する吸着座標引継ぎファイルF1〜Fnが設けられている。実際の実装作業においては、フィーダバンクFBに取り付けられたフィーダ16の部品供給位置データを取得し、その結果に基づき、搭載ヘッドによる吸着目標位置の座標である吸着座標(取得目標位置座標)を補正するティーチングを行うが、補正された吸着座標(取得目標位置座標)は、用いるフィーダバンクFB1〜FBnにそれぞれ対応する吸着座標引継ぎファイルF1〜Fnに保存される。フィーダバンクFB1〜FBnは、部品実装装置10に取り付けられていないときはフィーダバンク置き場70に載置されており、部品搭載基板の生産に用いられるときに部品実装装置10に取り付けられる。
なお、部品実装装置10において部品搭載基板を生産するために必要な各種データを含む生産プログラムデータは、完成された形でデータ入力部65を介してホストラインコンピュータ50に入力することができ、また、データ入力部65を介して入力された各種データに基づき、ホストラインコンピュータ50が各基板毎に作成することもできる。
部品実装装置10は、全体の部品実装を制御するCPU81a、各種制御プログラムやデータを格納したROM81c、制御データ、処理データを格納し作業領域を提供するRAM81bから構成される制御部81を有している。また、部品実装装置10には、ホストラインコンピュータ50との間でデータ送受信が可能なデータ送受信部86が設けられており、ホストラインコンピュータ50から送信されてくる生産プログラム、生産プログラムデータは、このデータ送受信部86を介して受信され、データ記憶部85に格納される。制御部81は、ホストラインコンピュータ50から送信される生産プログラム、生産プログラムデータ、並びにデータ入力部83を介して入力されるデータに従って、X/Y駆動部及びその他の駆動部82を駆動して、搭載ヘッドをフィーダ16の上方に移動させ、フィーダ16から供給される電子部品を搭載ヘッドに吸着させる。吸着された部品は、カメラを備えた画像認識部84で吸着姿勢が認識され、部品の向きが補正される。そして、基板搬送路(図示せず)に沿って搬送されて所定の位置でクランプされた基板の上方に搭載ヘッドが移動して、吸着した部品を基板上の所定位置に実装する。
ここで、前述のように、搭載ヘッドが部品を吸着する前に、フィーダバンクFBに取り付けられたフィーダ16の部品供給位置データを取得し、搭載ヘッドによる吸着目標位置の座標である吸着座標(取得目標位置座標)の補正をするティーチングを行うが、本実施形態に係る部品実装方法では、補正した吸着座標(取得目標位置座標)は、用いるフィーダバンクFB1〜FBnにそれぞれ対応する吸着座標引継ぎファイルF1〜Fnに、フィーダバンクFB1〜FBn毎に保存するので、生産プログラムデータの切り替えに伴いフィーダバンクFBを交換しても、交換後のフィーダバンクFBに対応する吸着座標引継ぎファイルFを読み出すことにより、フィーダ16の吸着座標(取得目標位置座標)のティーチング作業の回数を低減することができる。
次に、このような効果をもたらす本実施形態に係る部品実装方法による処理手順を、図6に示すフローチャートに基づき説明する。
まず、実行する生産プログラムの生産プログラムデータを、ホストラインコンピュータ50に入力するか、あるいは入力データに基づきホストラインコンピュータ50内で作成して、ホストラインコンピュータ50の制御部61に記憶する(ステップS1)。ここで、生産プログラムデータにおいては、生産に用いるフィーダバンクFBに対応する吸着座標引継ぎファイルFをリンクさせておき(吸着座標引継ぎファイルFの番号1〜nをリンク番号にする)、吸着座標引継ぎファイルFに保存された吸着座標(取得目標位置座標)が生産プログラムデータに反映されるようにしておく。また、リンク番号ごとに、赤や青の色を設定しておき、該リンク番号に対応するフィーダバンクFBには、その番号と色が付されたシールを貼るなどして、その番号と色を表示しておく。
次に、制御部61は、吸着座標引継ぎファイルFに保存された吸着座標(取得目標位置座標)を生産プログラムデータに反映させる処理を行うが、具体的には、まず、生産プログラムデータにリンクされた吸着座標引継ぎファイルFを選択する(ステップS2)。そして、選択した吸着座標引継ぎファイルFに保存された吸着座標(取得目標位置座標)の値を、生産プログラムデータの吸着座標(取得目標位置座標)に反映させる(ステップS3)。また、ホストラインコンピュータ50のデータ出力部(生産画面)64には、リンク番号とその番号に対応した色を表示させる(ステップS4)。フィーダバンクFBに、対応する吸着座標引継ぎファイルFの番号と色が付されたシールを貼るなどすることにより、部品実装装置10に取り付けるべきフィーダバンクFBを作業者が見出しやすいようにすることができる。これにより、フィーダバンクFBの掛け違いも防止することができる。なお、生産プログラムデータに吸着座標引継ぎファイルFがリンクされていないときは、使用する吸着座標引継ぎファイルFを指定できるようにしておく。
そして、吸着座標引継ぎファイルFに保存された吸着座標(取得目標位置座標)の値が反映された生産プログラムデータを、ホストラインコンピュータ50から部品実装装置10へダウンロードする(ステップS5)。ダウンロードした生産プログラムデータに吸着座標(取得目標位置座標)のデータが含まれていないフィーダ16については、吸着座標のティーチングを行って生産プログラムデータに反映させて(ステップS6)、部品搭載基板の生産を開始する(ステップS7)。
このように、本実施形態に係る部品実装方法では、生産プログラムデータの切り替えに伴いフィーダバンクFBを交換しても、吸着座標(取得目標位置座標)のティーチングを行う必要のあるフィーダ16は、吸着座標引継ぎファイルFに吸着座標(取得目標位置座標)のデータのないフィーダだけであり、限られたフィーダ16についてだけティーチングを行えばよいので、ティーチング作業の回数を低減することができる。
部品搭載基板の生産が終了したら(ステップS8)、ティーチングを行って得られた吸着座標(取得目標位置座標)が反映された生産プログラムデータをアップロードする(ステップS9)。
そして、制御部61は、アップロードされた生産プログラムデータの吸着座標(取得目標位置座標)のデータを吸着座標引継ぎファイルFに反映させて保存する処理を行うが、具体的には、まず、生産プログラムデータにリンクされた吸着座標引継ぎファイルFを選択する(ステップS10)。そして、生産プログラムデータの吸着座標(取得目標位置座標)のデータを、選択した吸着座標引継ぎファイルFに反映させて保存する(ステップS11)。さらに、新旧の生産プログラムデータを結合して保存する(ステップS12)。
次の生産プログラムがあればステップS1にもどって部品搭載基板の生産を行い、次の生産プログラムがなければ一連の処理を終了する(ステップS13)。
以上説明したように、本実施形態に係る部品実装方法では、吸着座標引継ぎファイルFがフィーダバンクFBごとに設けられて、使い分けられているので、一度ティーチングして得られた吸着座標(取得目標位置座標)のデータはフィーダバンクFBごとにそれぞれ対応する吸着座標引継ぎファイルFに保持される。このため、生産プログラムデータの変更に伴ってフィーダバンクFBが交換されても、対応する吸着座標引継ぎファイルFに吸着座標データが保存されていないフィーダ16のみをティーチングすればよく、段取り時間を短縮することができる。
また、生産プログラムデータにおいて、生産に用いるフィーダバンクFBに対応する吸着座標引継ぎファイルFがリンクされているので、生産プログラムデータと吸着座標引継ぎファイルFとの間で吸着座標(取得目標位置座標)のデータを照合して、最新の吸着座標(取得目標位置座標)にしておくことが容易である。
また、吸着座標引継ぎファイルFとフィーダバンクFBとを色や番号でリンク付けしておき、生産に用いるフィーダバンクFBの色と番号を生産画面に表示することで、生産に用いるフィーダバンクFBが視覚的にわかるため、フィーダバンクの切り替え時間を短縮することができるとともに、フィーダバンクFBの掛け違いを防止することができる。
なお、本実施形態に係る部品実装方法は、フィーダ16がフィーダバンクFBに取り付け固定されて部品の供給がなされる部品実装装置であれば適用することができ、このような部品実装装置であれば部品実装装置の搭載ヘッドの数は1つでも複数でもよい。また、該搭載ヘッドが部品を保持する方法は吸着でなくてもよく、例えば部品を両側から挟みこんで保持する方法であってもよい。
また、用いる生産プログラムデータは、クラスタ化されていてもいなくても用いることができるが、クラスタ化されていることが好ましい。
また、生産に用いる生産プログラムデータに使用されていないフィーダバンクFBがフィーダバンク置き場70に載置されていても、本実施形態に係る部品実装方法を用いることができ、吸着座標引継ぎファイルFとフィーダバンクFBとが色や番号でリンク付けされている場合には、生産に用いないフィーダバンクFBがフィーダバンク置き場70に載置されていても、必要なフィーダバンクFBを見出しやすく、フィーダバンクFBの切り替え時間を短縮することができるとともに、フィーダバンクFBの掛け違いを防止することができる。
従来から用いられている部品実装装置の一例を示す正面図 従来から用いられている部品実装装置の一例を示す側面図 図2のIII部を拡大して示す側面図 本実施形態に係る部品実装方法を適用できる生産ラインの一例を、この生産ラインのホストラインコンピュータの制御構成とともに模式的に示す図 この生産ラインを構成する部品実装装置の制御構成を示すブロック図 本実施形態に係る部品実装方法による処理手順を示すフローチャート
符号の説明
10…部品実装装置
12…本体部
14…部品供給部
16…フィーダ
20…交換台車
30…上昇位置決め装置
40…位置決め部
50…ホストラインコンピュータ
61…制御部
64…データ出力部
65…データ入力部
66…データ記憶部
67…データ送受信部
70…フィーダバンク置き場
F…吸着座標引継ぎファイル
FB…フィーダバンク

Claims (1)

  1. フィーダバンクに装着されたフィーダから供給される部品の取得目標位置座標を補正するティーチングを行って、該部品を基板上の所定の位置に実装する部品実装方法において、
    前記ティーチングにより補正された前記取得目標位置座標を保存する引継ぎファイルをフィーダバンクごとに設け、フィーダバンクを切り換える際、該引継ぎファイルに保存された該取得目標位置座標を反映させた生産プログラムデータを部品実装装置にダウンロードすることを特徴とする部品実装方法。
JP2008226681A 2008-09-04 2008-09-04 部品実装方法 Expired - Fee Related JP5165507B2 (ja)

Priority Applications (2)

Application Number Priority Date Filing Date Title
JP2008226681A JP5165507B2 (ja) 2008-09-04 2008-09-04 部品実装方法
CN200910172915.XA CN101668415B (zh) 2008-09-04 2009-09-03 部件安装方法及部件安装系统

Applications Claiming Priority (1)

Application Number Priority Date Filing Date Title
JP2008226681A JP5165507B2 (ja) 2008-09-04 2008-09-04 部品実装方法

Publications (2)

Publication Number Publication Date
JP2010062343A true JP2010062343A (ja) 2010-03-18
JP5165507B2 JP5165507B2 (ja) 2013-03-21

Family

ID=41804767

Family Applications (1)

Application Number Title Priority Date Filing Date
JP2008226681A Expired - Fee Related JP5165507B2 (ja) 2008-09-04 2008-09-04 部品実装方法

Country Status (2)

Country Link
JP (1) JP5165507B2 (ja)
CN (1) CN101668415B (ja)

Cited By (2)

* Cited by examiner, † Cited by third party
Publication number Priority date Publication date Assignee Title
CN103766017A (zh) * 2011-09-27 2014-04-30 富士机械制造株式会社 电子元件供给装置
JP2017045805A (ja) * 2015-08-25 2017-03-02 ヤマハ発動機株式会社 交換台車及び表面実装機

Families Citing this family (4)

* Cited by examiner, † Cited by third party
Publication number Priority date Publication date Assignee Title
JP5721509B2 (ja) * 2011-04-13 2015-05-20 富士機械製造株式会社 部品実装機
JP6092517B2 (ja) * 2012-01-31 2017-03-08 ヤマハ発動機株式会社 電子部品装着方法及び電子部品装着装置並びに部品ライブラリデータの教示方法
DE102015122931A1 (de) * 2015-12-29 2017-06-29 Asm Assembly Systems Gmbh & Co. Kg Verfahren zum Erstellen einer Produktionslinie sowie System zur Bestückung einer Platine mit Bauelementen
JP6738419B2 (ja) * 2016-07-08 2020-08-12 株式会社Fuji 部品実装システムおよび管理装置

Citations (2)

* Cited by examiner, † Cited by third party
Publication number Priority date Publication date Assignee Title
JP2002151888A (ja) * 2000-11-10 2002-05-24 Juki Corp 電子素子実装装置およびフィーダバンク
JP2002176296A (ja) * 2000-12-06 2002-06-21 Yamagata Casio Co Ltd 搭載データ作成装置及びそのプログラムを記録した記録媒体

Family Cites Families (1)

* Cited by examiner, † Cited by third party
Publication number Priority date Publication date Assignee Title
JP4387842B2 (ja) * 2004-03-16 2009-12-24 株式会社日立ハイテクインスツルメンツ バックアップピンの位置決め治具及びバックアッピンの段取り替え方法

Patent Citations (2)

* Cited by examiner, † Cited by third party
Publication number Priority date Publication date Assignee Title
JP2002151888A (ja) * 2000-11-10 2002-05-24 Juki Corp 電子素子実装装置およびフィーダバンク
JP2002176296A (ja) * 2000-12-06 2002-06-21 Yamagata Casio Co Ltd 搭載データ作成装置及びそのプログラムを記録した記録媒体

Cited By (3)

* Cited by examiner, † Cited by third party
Publication number Priority date Publication date Assignee Title
CN103766017A (zh) * 2011-09-27 2014-04-30 富士机械制造株式会社 电子元件供给装置
CN103766017B (zh) * 2011-09-27 2017-05-24 富士机械制造株式会社 电子元件供给装置
JP2017045805A (ja) * 2015-08-25 2017-03-02 ヤマハ発動機株式会社 交換台車及び表面実装機

Also Published As

Publication number Publication date
CN101668415A (zh) 2010-03-10
JP5165507B2 (ja) 2013-03-21
CN101668415B (zh) 2014-05-14

Similar Documents

Publication Publication Date Title
JP5165507B2 (ja) 部品実装方法
KR101153491B1 (ko) 부품 탑재 오류의 체크 방법, 및, 부품 탑재 오류의 체크 시스템
US10893641B2 (en) Group determination method and group determination apparatus
US20200089201A1 (en) Component mounting system and progress display system of set-up work
JP6467634B2 (ja) 部品実装システム及び部品実装システムにおける部品実装方法
US20180086592A1 (en) Feeder arrangement support system and method for supporting feeder arrangement
CN107872948B (zh) 部件安装生产线中的程序的版本升级方法
JPWO2014049873A1 (ja) 画像処理データ修正装置および画像処理データ修正方法
US12041726B2 (en) Management device, moving work device, mounting device, mounting system, and management method
JP2012064964A (ja) 部品実装システム
CN100571501C (zh) 部件安装方法及系统
JP2014241328A (ja) 電子部品装着機
JP4903615B2 (ja) 部品実装システム
JP6311106B2 (ja) 電子部品実装装置及び電子部品実装システム
JP2007158050A (ja) テープフィーダの調整システム
JP2010010272A (ja) 部品実装装置および部品実装方法
JP2007281227A (ja) 実装機における部品供給装置の配置設定方法
JP2009239126A (ja) 基板組立実装ラインの管理方法
JP4228868B2 (ja) 電子部品実装方法
JP6947931B2 (ja) 部品供給ユニットの配置決定方法および部品実装システム
JP4674534B2 (ja) テープフィーダの調整方法
EP3684157B1 (en) Mounting system
JP2004319943A (ja) 部品装着装置及び部品装着方法
JP4989517B2 (ja) 電子部品の装着方法
JP5386382B2 (ja) 搭載カメラのチェック機能を有する電子部品装着装置

Legal Events

Date Code Title Description
A621 Written request for application examination

Free format text: JAPANESE INTERMEDIATE CODE: A621

Effective date: 20110831

A977 Report on retrieval

Free format text: JAPANESE INTERMEDIATE CODE: A971007

Effective date: 20120817

A131 Notification of reasons for refusal

Free format text: JAPANESE INTERMEDIATE CODE: A131

Effective date: 20120821

A521 Request for written amendment filed

Free format text: JAPANESE INTERMEDIATE CODE: A523

Effective date: 20121015

TRDD Decision of grant or rejection written
A01 Written decision to grant a patent or to grant a registration (utility model)

Free format text: JAPANESE INTERMEDIATE CODE: A01

Effective date: 20121120

A61 First payment of annual fees (during grant procedure)

Free format text: JAPANESE INTERMEDIATE CODE: A61

Effective date: 20121219

FPAY Renewal fee payment (event date is renewal date of database)

Free format text: PAYMENT UNTIL: 20151228

Year of fee payment: 3

R150 Certificate of patent or registration of utility model

Ref document number: 5165507

Country of ref document: JP

Free format text: JAPANESE INTERMEDIATE CODE: R150

Free format text: JAPANESE INTERMEDIATE CODE: R150

LAPS Cancellation because of no payment of annual fees