JP2010060531A - 使用済燃料貯蔵ラック - Google Patents

使用済燃料貯蔵ラック Download PDF

Info

Publication number
JP2010060531A
JP2010060531A JP2008229285A JP2008229285A JP2010060531A JP 2010060531 A JP2010060531 A JP 2010060531A JP 2008229285 A JP2008229285 A JP 2008229285A JP 2008229285 A JP2008229285 A JP 2008229285A JP 2010060531 A JP2010060531 A JP 2010060531A
Authority
JP
Japan
Prior art keywords
spent fuel
fuel storage
storage rack
plate
partition
Prior art date
Legal status (The legal status is an assumption and is not a legal conclusion. Google has not performed a legal analysis and makes no representation as to the accuracy of the status listed.)
Granted
Application number
JP2008229285A
Other languages
English (en)
Other versions
JP5039670B2 (ja
Inventor
Hiroto Yamazaki
寛人 山▲崎▼
Shinji Isaka
慎次 井坂
Shigeyoshi Iwakura
成良 岩倉
Current Assignee (The listed assignees may be inaccurate. Google has not performed a legal analysis and makes no representation or warranty as to the accuracy of the list.)
Hitachi GE Nuclear Energy Ltd
Original Assignee
Hitachi GE Nuclear Energy Ltd
Priority date (The priority date is an assumption and is not a legal conclusion. Google has not performed a legal analysis and makes no representation as to the accuracy of the date listed.)
Filing date
Publication date
Application filed by Hitachi GE Nuclear Energy Ltd filed Critical Hitachi GE Nuclear Energy Ltd
Priority to JP2008229285A priority Critical patent/JP5039670B2/ja
Priority to US12/542,152 priority patent/US20100061502A1/en
Publication of JP2010060531A publication Critical patent/JP2010060531A/ja
Application granted granted Critical
Publication of JP5039670B2 publication Critical patent/JP5039670B2/ja
Active legal-status Critical Current
Anticipated expiration legal-status Critical

Links

Images

Classifications

    • GPHYSICS
    • G21NUCLEAR PHYSICS; NUCLEAR ENGINEERING
    • G21CNUCLEAR REACTORS
    • G21C19/00Arrangements for treating, for handling, or for facilitating the handling of, fuel or other materials which are used within the reactor, e.g. within its pressure vessel
    • G21C19/02Details of handling arrangements
    • G21C19/06Magazines for holding fuel elements or control elements
    • G21C19/07Storage racks; Storage pools
    • GPHYSICS
    • G21NUCLEAR PHYSICS; NUCLEAR ENGINEERING
    • G21CNUCLEAR REACTORS
    • G21C19/00Arrangements for treating, for handling, or for facilitating the handling of, fuel or other materials which are used within the reactor, e.g. within its pressure vessel
    • G21C19/02Details of handling arrangements
    • G21C19/08Means for heating fuel elements before introduction into the core; Means for heating or cooling fuel elements after removal from the core
    • GPHYSICS
    • G21NUCLEAR PHYSICS; NUCLEAR ENGINEERING
    • G21CNUCLEAR REACTORS
    • G21C19/00Arrangements for treating, for handling, or for facilitating the handling of, fuel or other materials which are used within the reactor, e.g. within its pressure vessel
    • G21C19/40Arrangements for preventing occurrence of critical conditions, e.g. during storage
    • YGENERAL TAGGING OF NEW TECHNOLOGICAL DEVELOPMENTS; GENERAL TAGGING OF CROSS-SECTIONAL TECHNOLOGIES SPANNING OVER SEVERAL SECTIONS OF THE IPC; TECHNICAL SUBJECTS COVERED BY FORMER USPC CROSS-REFERENCE ART COLLECTIONS [XRACs] AND DIGESTS
    • Y02TECHNOLOGIES OR APPLICATIONS FOR MITIGATION OR ADAPTATION AGAINST CLIMATE CHANGE
    • Y02EREDUCTION OF GREENHOUSE GAS [GHG] EMISSIONS, RELATED TO ENERGY GENERATION, TRANSMISSION OR DISTRIBUTION
    • Y02E30/00Energy generation of nuclear origin
    • Y02E30/30Nuclear fission reactors

Landscapes

  • Physics & Mathematics (AREA)
  • Engineering & Computer Science (AREA)
  • Plasma & Fusion (AREA)
  • General Engineering & Computer Science (AREA)
  • High Energy & Nuclear Physics (AREA)
  • Fuel Cell (AREA)
  • Stackable Containers (AREA)

Abstract

【課題】必要以上に溶接箇所を増加することなく構造強度に優れた使用済燃料貯蔵ラックを提供する。
【解決手段】使用済燃料集合体が収納される貯蔵セル15を複数有する使用済燃料貯蔵ラック1において、底板41と、切り込み部33を上部及び下部またはその片側に有し、底板上に多段に積層される複数の仕切板31と、この多段に積層された複数の仕切板を外周から取り囲む複数の側板32とを備え、相対的に下側に位置する仕切板における切り込み部33aと、相対的に上側に位置する仕切板における切り込み部33bとを嵌め合わることで、複数の仕切板を垂直方向に積層することを繰り返して複数の貯蔵セル15を形成し、多段に積層された複数の仕切板と複数の側板を、複数の仕切板における水平方向の両端から突出した凸部34と、複数の側板に設けられた孔部35とを嵌め合わせて結合する。
【選択図】図1

Description

本発明は原子力発電所の燃料設備で用いられる使用済燃料貯蔵ラックに関する。
使用済燃料貯蔵ラックは、原子力発電所内の燃料貯蔵プールに設置され、原子炉から取り出された使用済燃料集合体を格子状の貯蔵セルに貯蔵するためのものである。使用済燃料貯蔵ラックは、耐震性を満足するために、一般的に構成部品を強固に溶接した構造で形成されている。また、使用済燃料貯蔵ラックは、想定されるいかなる状況下でも燃料集合体の未臨界性が保たれるように、貯蔵セルを構成する材料の中性子吸収特性及び水の遮蔽効果に考慮して設計されている。
近年、燃料貯蔵スペースの有効活用のため、使用済燃料貯蔵ラックの稠密化を行い、貯蔵容量の向上が図られている。その具体的手段として、中性子吸収能力に優れたボロン添加ステンレス鋼(以下、「B−SUS」と称する)を貯蔵セルの構成材に適用した使用済燃料貯蔵ラックが製作されている。
使用済燃料貯蔵ラックの例としては、貯蔵セルを形成する2つの仕切板を溶接することなく組み合わせるために、その2つの仕切板の垂直方向に一定の間隔で櫛形の切り込みを設け、その切り込み同士を嵌め合わせて組み立てたものがある(特許文献1等参照)。
特開2001−183491号公報
しかし、上記技術の仕切板は、それを外周側から覆う側板と結合又は一体化されておらず、ラックの全体強度に寄与していない。そのため、使用済燃料貯蔵ラックは、側板のみで構造強度を担保しているに過ぎず、構造強度上の問題が懸念される。
特に、仕切板にB−SUS材を利用したラックをASME規格に準じて製作すると、ASME規格ではB−SUS材への溶接が許可されていないため、仕切板と側板を溶接して強度を向上させることができない。
また、例えASME規格に準じない場合であっても、仕切板と側板を溶接で接合すると、溶接箇所が健全であることを確認する検査に時間を要してしまう。また、溶接により熱変形が生じるために、組立の精度の維持が難しく、熱による残留応力が発生するおそれもある。特に、B−SUS材の溶接については、施工管理が難しく、複雑な製作手順が必要となり、作業者の負担になるとともに製作コストアップの要因となる。
本発明の目的は、必要以上に溶接箇所を増加することなく構造強度に優れた使用済燃料貯蔵ラックを提供することにある。
(1)本発明は、上記目的を達成するために、使用済燃料集合体が収納される格子状の貯蔵セルを複数有する使用済燃料貯蔵ラックにおいて、底板と、垂直方向に設けた櫛形の切り込み部を上部及び下部またはその片側に有し、前記底板上に多段に積層される複数の仕切板と、この多段に積層された複数の仕切板を外周から取り囲む複数の側板とを備え、前記複数の仕切板は、相対的に下側に位置する前記仕切板における上部の前記切り込み部と、相対的に上側に位置する前記仕切板における下部の前記切り込み部とを嵌め合わせて垂直方向に積層されることを繰り返し、前記複数の貯蔵セルを形成しており、前記多段に積層された複数の仕切板と前記複数の側板は、前記複数の仕切板の水平方向の両端から突出した凸部と、前記複数の側板に設けられた孔部とを嵌め合わせることで結合されているものとする。
(2)上記(1)において、好ましくは、前記複数の側板は、前記複数の仕切板が形成する各段に合わせて垂直方向に複数に分割されており、その分割された側板は、互いに溶接接合されている。
(3)上記(2)において、好ましくは、前記多段に積層された複数の仕切板のうち最下段の仕切板は、前記垂直方向に分割された側板のうち最下段の側板を前記底板上に対向配置した後に、その対向配置した側板の前記孔部に前記凸部を嵌め合わせて前記底板上に配置されている。
(4)上記(1)から(3)いずれかにおいて、好ましくは、前記多段に積層された複数の仕切板のうち最下段の仕切板は、前記底板に設けられた水平な溝に着座されている。
(5)上記(4)において、好ましくは、前記溝の幅は前記仕切板の厚みと同じである。
(6)上記(1)から(5)いずれかにおいて、好ましくは、前記底板と前記側板の最下部とは、溶接接合されている。
(7)上記(1)から(5)いずれかにおいて、好ましくは、前記多段に積層された複数の仕切板の上方には、使用済燃料集合体を前記貯蔵セルに収納する際の挿入口となるラック上部が設けられており、前記複数の側板は、前記ラック上部の側面を形成する上部側板と、前記底板とに対して溶接接合されている。
(8)上記(1)から(7)いずれかにおいて、好ましくは、前記複数の仕切板は、ボロン添加ステンレス鋼で形成されている。
(9)上記(1)から(8)いずれかにおいて、好ましくは、前記側板には、隣接する使用済燃料貯蔵ラックとの距離を保持するためのスペーサが取り付けられている。
本発明によれば、仕切板と側板を溶接することなく結合できるので、溶接箇所を増加させることなく使用済燃料貯蔵ラックの構造強度を向上させることができる。
以下、本発明の実施の形態を図面を用いて説明する。
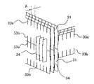
図1は本発明の第1の実施の形態である使用済燃料貯蔵ラックの全体図である。
この図に示す使用済燃料貯蔵ラック1は、ラック上部2と、ラック本体3と、ラック底部4を備えており、その内部に使用済燃料集合体を収納する格子状の貯蔵セル15を複数有している。
ラック上部2は、ラック1の貯蔵セル15に使用済燃料集合体を収納する際の挿入口となる部分であり、ラック1の最上部に位置している。ラック上部2は、複数の上部仕切板21と、上部仕切板21を外周から取り囲む4枚の上部側板22を有している。
上部仕切板21は、一定間隔A(図1参照)を介して縦方向及び横方向に直交配置されており、貯蔵セル15を複数形成している。各上部仕切板21の水平方向の両端からは凸部(図示せず)が突出しており、この凸部は上部側板22の孔部25(後述)と嵌め合わされる。本実施の形態では、上部仕切板21は、ステンレス鋼(以下、「SUS」と称する)で形成されており、上部仕切板21同士が交差する部分で溶接接合されている。
上部側板22は、上記のように複数の貯蔵セル15を形成する上部仕切板21を外周から取り囲む4枚の部材であり、最外周に位置する貯蔵セル15の側面を構成している。上部側板22は、上部仕切板21の凸部が嵌め合わされる孔部25を有しており、孔部25を介して上部仕切板21と結合されている。本実施の形態では、上部側板22は、上部仕切板21同様にSUSで形成されており、隣接する上部側板22とラック本体3の側板32(後述)に対して溶接接合されている。本実施の形態のように、ラック上部2(すなわち、上部仕切板21及び上部側板22)をSUSで形成し、ラック本体3の側板32(後述)と溶接接合すると、ラック1の構造強度を向上することができる。
ラック本体3は、ラック上部2の下に取り付けられており、ラック1の本体を形成している。ラック本体3は、4枚の側板32と、側板32の内部で多段に積層された複数の仕切板31(図2参照)を備えている。
側板32は、多段に積層された複数の仕切板31を外周から取り囲む部材であり、ラック1の構造強度を主に担っている。そのため、側板32は、ラック1の構造強度を向上させるために、SUSで形成することが好ましく、ラック上部2の上部側板22と溶接接合することが好ましい。また、側板32には、仕切板31の凸部34(後述)の位置に合わせて複数の孔部35が設けられている。さらに、本実施の形態の側板32は、垂直方向(ラック1の高さ方向)において、ラック底部4からラック上部2に至るまで1枚の板部材によって構成されている。すなわち、本実施の形態の側板32は、計4枚の部材でラック本体3の側面を形成している。
また、側板32は、最外周の貯蔵セル15内の使用済燃料集合体と、隣接する他のラック1の最外周の貯蔵セル15内の使用済燃料集合体との相互の影響による臨界を防止する機能も有している。この燃料集合体の未臨界性は、隣接する双方のラックの2枚の側板32と、隣接するラック間の燃料貯蔵プール水(すなわち、2つのラック間の距離)で担保することができる。本実施の形態では、隣接するラック同士の側板32間距離を、未臨界性が担保される最小距離以上に保ってラック間水量を確保するために、当該最小距離以上の寸法を有するスペーサ39を側板32の外面に設置している。このようにスペーサ39を設置すれば、常に未臨界性を担保することができる。
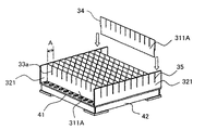
仕切板31は、貯蔵セル15を区画するもので、隣接する貯蔵セル15内の使用済燃料集合体同士が相互に影響し合って臨界に達するのを防止している。そのため、仕切板31は、中性子吸収能力に優れた材料、例えばB−SUSで形成することが好ましい。次に、図2を用いて仕切板31について詳しく説明する。
図2は本実施の形態である使用済燃料貯蔵ラック内部における仕切板31の嵌め合い構造の一部を示す図である。なお、この図では、各仕切板31の関係が理解し易いように、一部の仕切板31は省略している。
この図において、仕切板31は、垂直方向に設けた櫛形の切り込み部33を上部及び下部又はその片側に有しており、ラック底部4の底板41(後述)上に多段に積層されている。ここでは、切り込み部33のうち、仕切板31の上部に設けられたものを切り込み部33aとし、下部に設けられたものを切り込み部33bとする。
各仕切板31は、相対的に下側に位置する仕切板31における切り込み部33aと、相対的に上側に位置する仕切板31における切り込み部33bとを嵌め合わせて垂直方向に積層されることを繰り返し、複数の貯蔵セル15を形成している。各層の仕切板31は、同一面内の一方向において一定の間隔Aを介して配列されている。隣接して上下関係にある層を構成する仕切板31は、互いに直交する方向に配列されており、下層側の仕切板31の切り込み部33aには、上層側の仕切板31の切り込み部33bが直交する方向から嵌め合わされている。
また、仕切板31は、水平方向の両端から側板32側に突出する凸部34を有している。この凸部34は、側板32に設けられた孔部35と嵌め合わされる。このように凸部34と孔部35を介して仕切板31と側板32を連結すると、両者間で力の伝達が可能となるので、仕切板31を構造強度に寄与させることができる。これにより、両者を溶接接合等で結合しなくても使用済燃料貯蔵ラック1の構造強度を向上することができる。なお、仕切板31の高さによっては、すべての仕切板31に凸部34を設ける必要はなく、ラック1の構造強度を担保できる間隔で凸部34を有する仕切板31を積層しても良い。
ラック底部4は、ラック上部2及びラック本体3を支持する部分であり、ラック1の最下部に位置している。ラック底部4は、最下段の仕切板31と側板32の最下部が着座される底板41と、底板41が載置されるベース42と、ベース42の底面の四隅に取り付けられた脚部43を備えている。ラック1の構造強度を向上させるためには、側板32と底板41を溶接等で強固に結合すること、及び底板41をSUSで形成することが好ましい。
上記のように構成される燃料貯蔵ラック1によれば、凸部34を孔部35に嵌め合い構造で連結させることにより、構造強度を主に担う側板32に対して仕切板31とを溶接することなく結合できるので、溶接箇所を増加させることなく使用済燃料貯蔵ラック1の構造強度を向上させることができる。これにより、使用済燃料貯蔵ラック1は、側板32および仕切板31によって、想定される地震にも耐え得る構造強度を担保することができる。
また、上記の使用済燃料貯蔵ラック1において、側板32に対して、上部側板22及び底板41を溶接接合すると、ラック上部2及び底板41及び側板32によって、ラック1内の仕切板31を上下方向及び側面方向から強固に固定することができる。これにより、切り込み部33で嵌め合わされた仕切板31同士を溶接する必要がなくなり、溶接作業が軽減するとともに、ラックの製作時間及び検査時間が短縮するので、製作コストを低減することができる。また、これにより、仕切板31にB−SUSを使用した場合にも溶接する必要がなくなるので、ASME規格に準拠しかつ構造強度に優れたラック1を製造することができる。また、SUSと比較して高価なB−SUSを機能上必要な箇所にのみ配置することができるようになるので、材料費を低減することができる。
さらに、本実施の形態のように貯蔵セル15を仕切板31を多段に積層させて形成し、ラック本体3における貯蔵セル15を垂直方向に分割して形成すると、貯蔵セル15を垂直方向で分割することなく製作した場合と比較して、部品の製作が容易になるとともに、組立時のハンドリングが向上する。また、組立時に先に積層された仕切板31は切り込み部33bによって位置拘束されるので、その仕切板31の切り込み部33aが次に積層される仕切板31の位置合わせの基準となる。これにより特別な位置調整をしなくても、上層側の仕切板31を適切な位置に順次積層できるので、組立作業が容易になるとともに組立精度を向上できる。
またさらに、上記のように複数の仕切板31を多段に積層させて貯蔵セル15を構成すると、未臨界性が担保されていることを条件に、各段間における仕切板31の上端部と下端部が隙間無く接するように構成する必要がなくなる。これにより、仕切板を積層しない場合と比較して、仕切板31の加工精度を下げることができるので、仕切板31の製作性とラックの組み立て性を向上できる。
また、上記のように貯蔵セル15を複数の仕切板31で構成すると、一部の貯蔵セル15を構成する仕切板31の厚みを他の仕切板31の厚みより厚くすることができる。これにより、部分的にラック1の構造強度を向上することができるので、より高い構造強度がラック1に要求されている場合にも柔軟に対応することができる。この際、未臨界性が担保できるのであれば、構造強度が高いSUSを仕切板31に用いても良い。
図3は本発明の第2の実施の形態である使用済燃料貯蔵ラックの全体図である。なお、先の図と同じ部分には同じ符号を付して説明は省略する(後の図も同様に扱う)。
この図に示す使用済燃料貯蔵ラック1Aは、垂直方向に分割された側板32(側板321〜327)を有している点において第1の実施の形態のものと異なる。
側板32は、複数の仕切板31が形成する各段の高さに合わせて垂直方向に複数に分割されている。ラック1Aを組み立てる際には、複数の仕切板31を面上の一方向に配列して段を形成し、その段に対応する側板32を仕切板31の凸部34と嵌め合わせることを繰り返して、ラック1Aを組み上げていく。
ここで、図4及び図5を用いて、本実施の形態の使用済燃料貯蔵ラック1Aの組立手順について詳述する。図4は、1段目の仕切板311及び側板321に対して、2段目の仕切板312が嵌め合わされる手順(すなわち、下記の手順(4))を示す図であり、図5は図4の手順によって2段目の仕切板312が1段目の仕切板311に嵌め合わされた状態を示す図である。なお、図4において1段目の仕切板311は省略してある。
(1)組立の下拵えとして、仕切板31、側板32、及び上部側板22の材料単品に対して、切り込み部33、孔部35、及び孔部25を設ける加工等を行う。本実施の形態では、1段目の仕切板311及び側板321に対しては、それらの上部のみに切り込み部33又は孔部35を設け、2段目以降のものに対しては、上部及び下部に切り込み部33又は孔部35を設けるものとする。
(2)底板41とベース42を溶接等によって一体化する。
(3)1段目の複数の仕切板311とこれらを両端から挟む1段目の側板321とを、貯蔵セル15を形成できる間隔Aで底板41上の一方向に配列する。
(4)1段目の仕切板311の切り込み部33aに対して2段目の仕切板312の切り込み部33bを嵌め合わせつつ、1段目の側板321の孔部35に対して2段目の仕切板312の凸部34を嵌め合わせる(図4及び図5参照)。
(5)1段目の仕切板311の凸部34が2段目の側板322の孔部35に嵌め合わされるように、2段目の側板322を配置する(図3参照)。
(6)上記の手順(4)及び手順(5)の繰り返しで3段目以降の仕切板31及び側板32を積層させる。なお、本実施の形態では、図3に示すように、側板32は7段目(側板327)まである。
(7)最上部の仕切板31(図示せず)の上端の切り込み部33aに対して、ラック上部2における上部仕切板21の切り込み部(図示せず)を嵌め合わせつつ、側板326及び側板327の上端の孔部35に対して、ラック上部2における上部仕切板21の凸部を嵌め合わせる。
(8)側板321〜327の隣接部分を溶接で結合する。以上の手順によって図3に示す状態となる。
ここで本実施の形態の効果を第1の実施の形態と比較しながら説明する。第1の実施の形態では、ラック本体3の1側面につき側板32は1枚だったので、1側面におけるすべての凸部34に対応する位置に孔部35を設ける必要があり、精度良く側板32を製作することが必要である。また、ASME規格に準拠した構造強度の高いラックを製作するときに仕切板31にB−SUSを使用する場合には、仕切板31と側板32を溶接することができず、凸部34及び孔部35を精度良く嵌め合わせて構造強度を向上させる必要がある。そのため、仕切板31と側板32を溶接できない場合には、凸部34と孔部35の精度は特に顕著な問題となる。
これに対し、本実施の形態は、仕切板31が形成する段に合わせて垂直方向に側板32を分割している。このように側板32を分割すると、各段における凸部34と孔部35の位置を合わせるだけで良いので、第1の実施の形態と比較して精度が出やすく、側板32を嵌め合わせ易くなる。これにより本実施の形態によれば、第1の実施の形態と比較して、使用済燃料貯蔵ラック1Aの組み立て性を向上させることができる。すなわち、仕切板31と側板32を溶接できない場合にも、精度良く組み立てることができるので、構造強度を容易に向上できる。また、上記のように側板32を分割すると、部品の製作が容易となるとともに、組み立て時のハンドリングが向上するというメリットもある。
また、上記の使用済燃料貯蔵ラック1Aの組立手順(3)を実施する際に、底板41に対して、1段目の仕切板311及び側板321を着座させるための水平な溝(図示せず)を設けても良い。このように底板41に溝を設けると、底板41の平坦度が低い場合であっても、仕切板31及び側板32を水平に設置することができるので、ラックの組立精度を向上することができる。さらに、その際、溝の幅を仕切板31又は側板32の厚みと同じ幅にしても良い。このように溝を設けると精度をさらに向上することができる。なお、第1の実施の形態のラック1に対して上記のように水平な溝を設け、組立精度を向上させても勿論良い。
ところで、1段目の仕切板311及び側板321は、上記手順(3)に代えて、下記のように底板41上に設置しても良い。この方法について図6を用いて説明する。
図6は本実施の形態における1段目の仕切板311A及び側板321の他の組立手順を示す図である。
この図に示す1段目の仕切板311Aは、下端から突出した凸部34を有する先の例の仕切板311(図5参照)と異なり、上端から突出した凸部34を有している。使用済燃料貯蔵ラックを組み立てる際には、まず、1段目の側板321を底板41の両端に対向配置する。そして、その対向配置した2つの側板321の孔部35に凸部34を嵌め合わせながら1段目の仕切板311Aを底板41上に配置していく。
このようにあらかじめ設置した2つの側板321の孔部35に仕切板311Aの凸部34を嵌め込む構造にすると、特別な位置調整をすることなしに1段目の仕切板311Aを適切な位置に配置することができる。これにより1段目の仕切板311Aの位置決めのための加工若しくは作業を省略することができるので、ラックの組み立て性をさらに向上することができる。
本発明の第1の実施の形態である使用済燃料貯蔵ラックの全体図。 本発明の第1の実施の形態である使用済燃料貯蔵ラック内部における仕切板の嵌め合い構造の一部を示す図。 本発明の第2の実施の形態である使用済燃料貯蔵ラックの全体図。 本発明の第2の実施の形態である使用済燃料貯蔵ラックにおいて、1段目の仕切板及び側板に対して、2段目の仕切板が嵌め合わされる手順を示す図。 本発明の第2の実施の形態である使用済燃料貯蔵ラックにおいて、図4の手順によって2段目の仕切板が1段目の仕切板に嵌め合わされた状態を示す図。 本発明の第2の実施の形態である使用済燃料貯蔵ラックにおける1段目の仕切板及び側板の他の組立手順を示す図。
符号の説明
1 使用済燃料貯蔵ラック
2 ラック上部
3 ラック本体
4 ラック底部
15 貯蔵セル
21 上部仕切板
22 上部側板
25 孔部
31 仕切板
32 側板
33 切り込み部
33a 切り込み部(上部)
33b 切り込み部(下部)
34 凸部
35 孔部
39 スペーサ
41 底板
42 ベース
43 脚部

Claims (9)

  1. 使用済燃料集合体が収納される格子状の貯蔵セルを複数有する使用済燃料貯蔵ラックにおいて、
    底板と、
    垂直方向に設けた櫛形の切り込み部を上部及び下部またはその片側に有し、前記底板上に多段に積層される複数の仕切板と、
    この多段に積層された複数の仕切板を外周から取り囲む複数の側板とを備え、
    前記複数の仕切板は、相対的に下側に位置する前記仕切板における上部の前記切り込み部と、相対的に上側に位置する前記仕切板における下部の前記切り込み部とを嵌め合わせて垂直方向に積層されることを繰り返し、前記複数の貯蔵セルを形成しており、
    前記多段に積層された複数の仕切板と前記複数の側板は、前記複数の仕切板の水平方向の両端から突出した凸部と、前記複数の側板に設けられた孔部とを嵌め合わせることで結合されていることを特徴とする使用済燃料貯蔵ラック。
  2. 請求項1記載の使用済燃料貯蔵ラックにおいて、
    前記複数の側板は、前記複数の仕切板が形成する各段に合わせて垂直方向に複数に分割されており、
    その分割された側板は、互いに溶接接合されていることを特徴とする使用済燃料貯蔵ラック。
  3. 請求項2記載の使用済燃料貯蔵ラックにおいて、
    前記多段に積層された複数の仕切板のうち最下段の仕切板は、前記垂直方向に分割された側板のうち最下段の側板を前記底板上に対向配置した後に、その対向配置した側板の前記孔部に前記凸部を嵌め合わせて前記底板上に配置されていることを特徴とする使用済燃料貯蔵ラック。
  4. 請求項1から3いずれか記載の使用済燃料貯蔵ラックにおいて、
    前記多段に積層された複数の仕切板のうち最下段の仕切板は、前記底板に設けられた水平な溝に着座されていることを特徴とする使用済燃料貯蔵ラック。
  5. 請求項4記載の使用済燃料貯蔵ラックにおいて、
    前記溝の幅は前記仕切板の厚みと同じであることを特徴とする使用済燃料貯蔵ラック。
  6. 請求項1から5いずれか記載の使用済燃料貯蔵ラックにおいて、
    前記底板と前記側板の最下部とは、溶接接合されていることを特徴とする使用済燃料貯蔵ラック。
  7. 請求項1から5いずれか記載の使用済燃料貯蔵ラックにおいて、
    前記多段に積層された複数の仕切板の上方には、使用済燃料集合体を前記貯蔵セルに収納する際の挿入口となるラック上部が設けられており、
    前記複数の側板は、前記ラック上部の側面を形成する上部側板と、前記底板とに対して溶接接合されていることを特徴とする使用済燃料貯蔵ラック。
  8. 請求項1から7いずれか記載の使用済燃料貯蔵ラックにおいて、
    前記複数の仕切板は、ボロン添加ステンレス鋼で形成されていることを特徴とする使用済燃料貯蔵ラック。
  9. 請求項1から8いずれか記載の使用済燃料貯蔵ラックにおいて、
    前記側板には、隣接する使用済燃料貯蔵ラックとの距離を保持するためのスペーサが取り付けられていることを特徴とする使用済燃料貯蔵ラック。
JP2008229285A 2008-09-08 2008-09-08 使用済燃料貯蔵ラック Active JP5039670B2 (ja)

Priority Applications (2)

Application Number Priority Date Filing Date Title
JP2008229285A JP5039670B2 (ja) 2008-09-08 2008-09-08 使用済燃料貯蔵ラック
US12/542,152 US20100061502A1 (en) 2008-09-08 2009-08-17 Rack for spent nuclear fuel assemblies

Applications Claiming Priority (1)

Application Number Priority Date Filing Date Title
JP2008229285A JP5039670B2 (ja) 2008-09-08 2008-09-08 使用済燃料貯蔵ラック

Related Child Applications (1)

Application Number Title Priority Date Filing Date
JP2011186931A Division JP2011237458A (ja) 2011-08-30 2011-08-30 使用済燃料貯蔵ラック

Publications (2)

Publication Number Publication Date
JP2010060531A true JP2010060531A (ja) 2010-03-18
JP5039670B2 JP5039670B2 (ja) 2012-10-03

Family

ID=41799289

Family Applications (1)

Application Number Title Priority Date Filing Date
JP2008229285A Active JP5039670B2 (ja) 2008-09-08 2008-09-08 使用済燃料貯蔵ラック

Country Status (2)

Country Link
US (1) US20100061502A1 (ja)
JP (1) JP5039670B2 (ja)

Cited By (2)

* Cited by examiner, † Cited by third party
Publication number Priority date Publication date Assignee Title
US9437332B2 (en) 2011-02-04 2016-09-06 Mitsubishi Heavy Industries, Ltd. Nuclear fuel storage rack
JP2017049271A (ja) * 2016-12-15 2017-03-09 三菱重工業株式会社 燃料収納ラック

Families Citing this family (3)

* Cited by examiner, † Cited by third party
Publication number Priority date Publication date Assignee Title
US11515054B2 (en) 2011-08-19 2022-11-29 Holtec International Method of retrofitting a spent nuclear fuel storage system
CN102969034A (zh) * 2012-11-13 2013-03-13 大连天瑞机电设备有限公司 一种乏燃料贮存格架及其制造方法
KR20170084168A (ko) 2014-11-06 2017-07-19 홀텍 인터내셔날 사용후핵연료의 수중저장용 랙

Citations (7)

* Cited by examiner, † Cited by third party
Publication number Priority date Publication date Assignee Title
JPS5932996U (ja) * 1982-08-26 1984-02-29 三菱重工業株式会社 核燃料集合体の貯蔵装置
JPS61155992A (ja) * 1984-12-24 1986-07-15 コンバツシヨン・エンヂニアリング・インコーポレーテツド 燃料棒統合キヤニスタのための格子構造体
JP2000121783A (ja) * 1998-10-19 2000-04-28 Toshiba Corp 使用済燃料貯蔵ラックおよびその製造方法
JP2001235589A (ja) * 2000-02-24 2001-08-31 Hitachi Ltd 使用済燃料容器用バスケット構造体
JP2002107485A (ja) * 2000-09-28 2002-04-10 Toshiba Corp 使用済み燃料貯蔵ラック
JP2003014882A (ja) * 2001-05-24 2003-01-15 Equipos Nucleares Sa セグメント化格子ラック
JP2008196971A (ja) * 2007-02-13 2008-08-28 Toshiba Corp 使用済燃料貯蔵ラック

Family Cites Families (2)

* Cited by examiner, † Cited by third party
Publication number Priority date Publication date Assignee Title
FR2764427B1 (fr) * 1997-06-05 1999-08-20 Atea Ratelier de stockage d'assemblages de combustible nucleaire et son procede de fabrication
WO2009058896A1 (en) * 2007-10-29 2009-05-07 Holtec International, Inc. Apparatus for supporting radioactive fuel assemblies

Patent Citations (7)

* Cited by examiner, † Cited by third party
Publication number Priority date Publication date Assignee Title
JPS5932996U (ja) * 1982-08-26 1984-02-29 三菱重工業株式会社 核燃料集合体の貯蔵装置
JPS61155992A (ja) * 1984-12-24 1986-07-15 コンバツシヨン・エンヂニアリング・インコーポレーテツド 燃料棒統合キヤニスタのための格子構造体
JP2000121783A (ja) * 1998-10-19 2000-04-28 Toshiba Corp 使用済燃料貯蔵ラックおよびその製造方法
JP2001235589A (ja) * 2000-02-24 2001-08-31 Hitachi Ltd 使用済燃料容器用バスケット構造体
JP2002107485A (ja) * 2000-09-28 2002-04-10 Toshiba Corp 使用済み燃料貯蔵ラック
JP2003014882A (ja) * 2001-05-24 2003-01-15 Equipos Nucleares Sa セグメント化格子ラック
JP2008196971A (ja) * 2007-02-13 2008-08-28 Toshiba Corp 使用済燃料貯蔵ラック

Cited By (2)

* Cited by examiner, † Cited by third party
Publication number Priority date Publication date Assignee Title
US9437332B2 (en) 2011-02-04 2016-09-06 Mitsubishi Heavy Industries, Ltd. Nuclear fuel storage rack
JP2017049271A (ja) * 2016-12-15 2017-03-09 三菱重工業株式会社 燃料収納ラック

Also Published As

Publication number Publication date
JP5039670B2 (ja) 2012-10-03
US20100061502A1 (en) 2010-03-11

Similar Documents

Publication Publication Date Title
EP2112665B1 (en) Spent fuel storage rack
JP5039670B2 (ja) 使用済燃料貯蔵ラック
CN102460599B (zh) 乏燃料存放搁架
JP5469074B2 (ja) 高温熱伝導ガスを備えたgfr型核反応炉の核分裂性バンドル用核燃料プレートの支持装置と、該支持装置を含む核分裂性バンドル、及び、該核分裂性バンドルを含む核燃料コアアセンブリ
US20200373031A1 (en) Rack for underwater storage of spent nuclear fuel
JP5537353B2 (ja) 使用済燃料貯蔵ラック
JP5894877B2 (ja) バスケットおよびキャスク
JP5232022B2 (ja) 原子炉建屋及びその建設工法
JP2011237458A (ja) 使用済燃料貯蔵ラック
JP2001183491A (ja) 使用済燃料貯蔵ラック
US20210074444A1 (en) Method of retrofitting a spent nuclear fuel storage system
JP5058089B2 (ja) 使用済燃料貯蔵ラックおよびその製造方法
KR102510440B1 (ko) 3d프린팅 레이저 클래딩에 의한 원자력 핵연료봉 지지격자 제조방법
JP3020675B2 (ja) 使用済燃料貯蔵ラック及びその製造方法
JP6933593B2 (ja) 使用済核燃料の支持構造物、支持構造物の製造方法及び使用済核燃料容器
JP2019158399A (ja) 使用済み燃料収納容器
US20140042161A1 (en) Modular layer horizontal storage module and methods of manufacturing same
JP2013181798A (ja) キャスク
JP7149876B2 (ja) 核燃料貯蔵用ラックおよび核燃料貯蔵用ラックの製造方法
JP2011137755A (ja) 使用済燃料貯蔵ラック
JP2000121783A (ja) 使用済燃料貯蔵ラックおよびその製造方法
JP7664081B2 (ja) 核燃料貯蔵用ラック
JP3145085B2 (ja) 使用済燃料貯蔵ラック及びその製造方法
JPH09105798A (ja) 使用済核燃料の輸送・貯蔵容器の収納バスケット
JP2003066184A (ja) 燃料貯蔵ラック

Legal Events

Date Code Title Description
A621 Written request for application examination

Free format text: JAPANESE INTERMEDIATE CODE: A621

Effective date: 20100524

A977 Report on retrieval

Free format text: JAPANESE INTERMEDIATE CODE: A971007

Effective date: 20100929

A131 Notification of reasons for refusal

Free format text: JAPANESE INTERMEDIATE CODE: A131

Effective date: 20101102

A521 Request for written amendment filed

Free format text: JAPANESE INTERMEDIATE CODE: A523

Effective date: 20101222

A131 Notification of reasons for refusal

Free format text: JAPANESE INTERMEDIATE CODE: A131

Effective date: 20110125

A131 Notification of reasons for refusal

Free format text: JAPANESE INTERMEDIATE CODE: A131

Effective date: 20111011

A131 Notification of reasons for refusal

Free format text: JAPANESE INTERMEDIATE CODE: A131

Effective date: 20120403

A521 Request for written amendment filed

Free format text: JAPANESE INTERMEDIATE CODE: A523

Effective date: 20120601

TRDD Decision of grant or rejection written
A01 Written decision to grant a patent or to grant a registration (utility model)

Free format text: JAPANESE INTERMEDIATE CODE: A01

Effective date: 20120703

A01 Written decision to grant a patent or to grant a registration (utility model)

Free format text: JAPANESE INTERMEDIATE CODE: A01

A61 First payment of annual fees (during grant procedure)

Free format text: JAPANESE INTERMEDIATE CODE: A61

Effective date: 20120709

FPAY Renewal fee payment (event date is renewal date of database)

Free format text: PAYMENT UNTIL: 20150713

Year of fee payment: 3

R150 Certificate of patent or registration of utility model

Ref document number: 5039670

Country of ref document: JP

Free format text: JAPANESE INTERMEDIATE CODE: R150

Free format text: JAPANESE INTERMEDIATE CODE: R150

S533 Written request for registration of change of name

Free format text: JAPANESE INTERMEDIATE CODE: R313533

R350 Written notification of registration of transfer

Free format text: JAPANESE INTERMEDIATE CODE: R350