JP2010060107A - 複合シール部材 - Google Patents

複合シール部材 Download PDF

Info

Publication number
JP2010060107A
JP2010060107A JP2008228560A JP2008228560A JP2010060107A JP 2010060107 A JP2010060107 A JP 2010060107A JP 2008228560 A JP2008228560 A JP 2008228560A JP 2008228560 A JP2008228560 A JP 2008228560A JP 2010060107 A JP2010060107 A JP 2010060107A
Authority
JP
Japan
Prior art keywords
seal member
groove
fastening member
composite
seal
Prior art date
Legal status (The legal status is an assumption and is not a legal conclusion. Google has not performed a legal analysis and makes no representation as to the accuracy of the status listed.)
Granted
Application number
JP2008228560A
Other languages
English (en)
Other versions
JP5204595B2 (ja
Inventor
Kazuaki Tsuji
和明 辻
Current Assignee (The listed assignees may be inaccurate. Google has not performed a legal analysis and makes no representation or warranty as to the accuracy of the list.)
Nippon Valqua Industries Ltd
Nihon Valqua Kogyo KK
Original Assignee
Nippon Valqua Industries Ltd
Nihon Valqua Kogyo KK
Priority date (The priority date is an assumption and is not a legal conclusion. Google has not performed a legal analysis and makes no representation as to the accuracy of the date listed.)
Filing date
Publication date
Application filed by Nippon Valqua Industries Ltd, Nihon Valqua Kogyo KK filed Critical Nippon Valqua Industries Ltd
Priority to JP2008228560A priority Critical patent/JP5204595B2/ja
Publication of JP2010060107A publication Critical patent/JP2010060107A/ja
Application granted granted Critical
Publication of JP5204595B2 publication Critical patent/JP5204595B2/ja
Active legal-status Critical Current
Anticipated expiration legal-status Critical

Links

Images

Landscapes

  • Gasket Seals (AREA)

Abstract

【課題】真空シール性能、耐プラズマ性、ならびに耐腐食ガス性などの性能を併せ持つ複合シール部材が、第1締結部材と第2締結部材との間に装着され高温・高圧下で長時間使用されたとしても、第1締結部材と第2締結部材との間を容易に引き離すことができる複合シール部材を提供する。
【解決手段】片あり溝2のシール溝底面2a側に配置される第1のシール部材6と、片あり溝2の開口端面側に配置される第2のシール部材8とが、凹凸嵌合部10で着脱自在に一体化されるとともに、凹凸嵌合部10が、シール溝底面2aと略平行な面に構成されていることを特徴としている。
【選択図】図3

Description

本発明は、例えば、超真空状態で使用される複合シール部材に関し、特に、半導体製造装置や半導体製造装置に組み込まれるゲート弁などに使用されて好適な複合シール部材に関する。
半導体製造装置の進歩により、半導体製造装置に使用される部材に対する要求が更に厳しくなってきており、その要求も様々なものになってきている。
例えば、ドライエッチング装置やプラズマCVD装置などの半導体製造装置に使用されるシール材は、基本的な性能として真空シール性能が必要である。そして、使用される装置やシール材の装着個所により、耐プラズマ性や耐腐食ガス性などの性能を併せ持つことが要求される。
このように真空シール性能に加えて、耐プラズマ性や耐腐食ガス性が求められるシール部では、これまで流体の影響を受けにくいフッ素ゴムが使用されてきた。
しかし、使用条件が厳しくなるにつれ、フッ素ゴムでは、耐プラズマ性や耐腐食ガス性などの性能が不十分となり新しい材料が求められるようになってきている。
このような要求に対して、真空シール性能、耐プラズマ性、耐腐食ガス性などの特性を併せ持ち、繰り返しの使用によっても真空シール性能が低下することがなく、使用時に金属パーティクルが発生することもなく、製造が容易で安価に製造できるシール材として、例えば、特許文献1が提案されている。
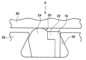
図4に示したように、この特許文献1の複合シール部材20は、例えば、耐プラズマ性、耐腐食ガス性を備えた第1のシール部材22と、シール性を備えた第2のシール部材24とから構成されている。
このような複合シール部材20は、接着剤により一体化された状態で、例えば、あり溝26を形成した第1締結部材28と、この第1締結部材28に締め付けられる第2締結部材30との間に装着される。
特開2005−164027号公報
ところで、特許文献1に記載されている複合シール部材20においては、図5に示したように、第1締結部材28と第2締結部材30との間が締め付けられると、第1のシール部材22と第2のシール部材24との両部材が並んだ状態で圧接される。
この状態が高温・高圧下で長時間続けられると、第1のシール部材22と第2のシール部材24とが第2の部材30に固着して剥がれなくなってしまう。
結果として、第2締結部材30を第1締結部材28から引き離す必要があったときに、それを行うことができなくなる場合があった。
本発明は、このような実状に鑑み、真空シール性能、耐プラズマ性、ならびに耐腐食ガス性などの性能を併せ持つ複合シール部材が、第1締結部材と第2締結部材の間で高温・高圧下で長時間使用されたとしても、第1締結部材と第2締結部材との間を容易に引き離すことができる複合シール部材を提供することを目的とする。
上記目的を達成するための本発明は、
片あり溝2のシール溝底面2a側に配置される第1のシール部材6と、前記片あり溝2の開口端面側に配置される第2のシール部材8とが、凹凸嵌合部10で着脱自在に一体化されるとともに、前記凹凸嵌合部10が前記シール溝底面2aと略平行な面に構成されていることを特徴としている。
このように構成によれば、第1のシール部材6と第2のシール部材8との間は着脱自在であるため、この2部材からなる複合シール部材が固着してしまうことがない。したがって、第1締結部材と第2締結部材との間に介装し、高温・高圧下で長時間使用したとしても、第1締結部材を第2締結部材から引き離そうとすれば、容易に引き離すことができる。
さらに、本発明では、前記片あり溝2の傾斜した径内方側壁面2bに当接する前記第2のシール部材8の内壁面8aは、前記片あり溝2の径内方側壁面2bの傾斜角度αに対応する傾斜角度αで傾斜していることが好ましい。
このような角度で傾斜していれば、複合シール部材の初期装着性が良好である。
本発明に係る複合シール部材によれば、第1のシール部材と第2のシール部材との係合が容易に解除される。したがって、高温・高圧で長時間使用されたとしても、この複合シール部材が装着された第1締結部材と第2締結部材との間を容易に引き離すことができる。
以下、本発明に係る複合シール部材について図面を参照しながら詳細に説明する。
図1は、本発明の一実施例に係る複合シール部材40の片断面を示したもので、図2は、図1の複合シール部材40が装着される片あり溝2の片断面図である。
この片あり溝2は、例えば、ドライエッチング装置やプラズマCVD装置などの半導体製造装置の継手部分に形成されたもので、そのシール溝底面2a側の幅が、片あり溝2の開口部側の幅より広くなっている。また、片あり溝2の径内方側壁面2bは傾斜面とされ、片あり溝2の径外方側壁面は垂直面2cとされている。なお、径内方側壁面2bのシール溝底面2aに対する傾斜角度はαである。
図1に示した複合シール部材40は、第1のシール部材6が片あり溝2のシール溝底面2a側に、第2のシール部材8が開口端面側に装着される。すなわち、複合シール部材40は、図1の姿勢で、図2の片あり溝2内に装着される。
複合シール部材40の第1のシール部材6は、例えば、合成樹脂により形成されたもので、シール溝底面2aに接する面は平坦に形成され、第2のシール部材8に接する面には、凹凸嵌合部10の一方をなす凸部10aが形成されている。この凸部10aは、第1のシール部材6の全周に渡って環状に形成されていても良いが、所定間隔置きに突起のように形成されていても良い。
一方、上記第2のシール部材8は、断面略三角形状に形成されたもので、第1のシール部材6に接する面すなわちシール溝底面2aと略平行な面には、凹凸嵌合部10の他方を構成する凹部10bが形成されている。
第2のシール部材8の凹部10bは、第1のシール部材6の凸部10aに対応するもので、凸部10aが環状であれば凹部10bも環状に、凸部10aが所定間隔置きに形成されていれば凹部10bも所定間隔置きに形成される。なお、第1のシール部材6に凹部10bを、第2のシール部材8に凸部10aを形成しても良い。また、これら凹部10bと凸部10aとからなる凹凸嵌合部10は、互いに組み付ければ隙間なく組み付けられるが
、離反する方向に引っ張れば、組み付けを容易に解除することができる。
すなわち、本実施例の複合シール部材40では、第1のシール部材6と第2のシール部材8とは、その嵌合は着脱自在とされる。
第2のシール部材8の図1における下面側先端部8bは、略円弧状に形成されている。そして、図3に示したように、複合シール部材40では、圧縮された場合に、第2のシール部材8の下面側先端部8bのみが、第2締結部材30に当接する。
第2のシール部材8の内壁面8aは、片あり溝2の径内方側壁面2bの傾斜角度αと同じ角度で傾斜している。すなわち、内壁面8aの傾斜角度αは、片あり溝2の傾斜角度αと同じ角度である。このように、第2のシール部材8に片あり溝2の傾斜角度αと等しい傾斜角度αを設けることにより、複合シール部材40の第1締結部材28に対する初期装着性が良好にされている。
上記第2のシール部材8は、弾性部材であるゴムから構成されているのが望ましい。ゴムとしては、天然ゴム、合成ゴムのいずれも使用可能である。
このような材質からなる第2のシール部材8は、複合シール部材40が圧縮された際に、第1のシール部材6からの反力が加わって、第2のシール部材8の下面側先端部8bが第2締結部材30により圧接され、これにより高いシール性を付与することができる。また、第2のシール部材8を構成するゴムは、フッ素ゴムから構成されているのがさらに望ましい。
フッ素ゴムとしては、フッ化ビニリデン/ヘキサフルオロプロピレン系共重合体、フッ化ビニリデン/トリフルオロクロロエチレン系共重合体、フッ化ビニリデン/ペンタフルオロプロピレン系共重合体等の2元系のフッ化ビニリデン系ゴム、フッ化ビニリデン/テトラフルオロエチレン/ヘキサフルオロプロピレン系共重合体、フッ化ビニリデン/テトラフルオロエチレン/パーフルオロアルキルビニルエーテル系共重合体、フッ化ビニリデン/テトラフルオロエチレン/プロピレン系共重合体等の3元系のフッ化ビニリデンゴムやテトラフルオロエチレン/プロピレン系共重合体、テトラフルオロエチレンlパーフルオロアルキルビニルエーテル系共重合体、熱可塑性フッ素ゴムなどが使用可能である。
このように第2のシール部材8を構成するゴムが、フッ素ゴムから構成されていれば、第2のシール部材8が腐食性ガス、プラズマに接触したとしても、腐食性ガス、プラズマなどへの耐久性が良く、シール性が低下することがない。
第1のシール部材6は、前記第2のシール部材8より硬質の合成樹脂から構成されているのが望ましく、好ましくは、フッ素樹脂、ポリイミド樹脂、ポリアミドイミド樹脂、ポリエーテルイミド樹脂、ポリアミドイミド樹脂、ポリフェニレンサルファイド樹脂、ポリベンゾイミダゾール樹脂、ポリエーテルケトン樹脂から選択した1種以上の合成樹脂から構成するのが望ましい。
このように第1のシール部材6が硬質の材料で形成されていれば、圧縮された際に第2のシール部材8に適宜な反力を加えることができる。
この場合、フッ素樹脂としては、ポリテトラフルオロエチレン(PTFE)樹脂、テトラフルオロエチレン−パーフルオロアルキルビニルエーテル共重合体(PFA)樹脂、テトラフルオロエチレン−ヘキサフルオロプロピレン共重合体(FEP)樹脂、テトラフルオロエチレン−エチレン共重合体(ETFE)樹脂、ポリビニリデンフルオライト(PVDF)樹脂、ポリクロロトリフルオロエチレン(PCTFE)樹脂、クロロトリフルオロエチレン−エチレン共重合体(ECTFE)樹脂、ポリビニルフルオライド(PVF)樹脂などを挙げることができ、この中では、耐熱性、耐腐食性ガス、耐プラズマ性などを考
慮すれば、PTFEが好ましい。
本実施例の複合シール部材40は、上記のように構成されているが、以下にその作用について説明する。
今、第1のシール部材6と第2のシール部材8とからなる複合シール部材40は、凹凸嵌合部10のみで嵌合されている。よって、互いに離反する方向に引っ張れば、容易に解除することができる。
また、片あり溝2の傾斜角度αと第2のシール部材8との傾斜角度αが同一であるため、複合シール部材40の片あり溝2に対する装着性は良好である。
複合シール部材40を装着した状態で第1締結部材28と第2締結部材30との間を締め付けると、第2のシール部材8の下面側先端部8bが第2締結部材30に当接し、ここにシール機能が発揮される。このとき、第1のシール部材6からは、第2のシール部材8側に反力が伝達される。
このような複合シール部材40が、高温・高圧下で長時間使用されているとする。この状態から第1締結部材28と第2締結部材30とを取り外す必要がある場合には、ボルトなどの締結手段を解除し、第2締結部材30を第1締結部材28から引き離す。このとき、第1締結部材28と第2締結部材30との間は、複合シール部材40により気密が保持されている。一方、第1のシール部材6と第2のシール部材8との間は、単に凹凸嵌合部10のみでの嵌合であるため、引き離す方向への力が加われば、その嵌合は速やかに解除される。よって、第1締結部材28と第2締結部材30とを引き離すことができる。
以上、本発明の一実施例について説明したが、本発明は上記実施例に何ら限定されない。
例えば、上記実施例では、凹凸嵌合部10の形状は、上記実施例に限定されず、断面三角形状などであっても良い。また、第1のシール部材6および第2のシール部材8の材質も限定されるものではない。
図1は、本発明の一実施例による複合シール部材の片断面図である。 図2は、図1に示した複合シール部材が装着される片あり溝の片断面図である。 図3は、本発明の一実施例による複合シール部材を片あり溝に装着したときの概略断面図である。 図4は、特開2005−164027号公報に開示された従来例の複合シール部材の概略図である。 図5は、図4に示した複合シール部材が圧縮されたときの断面図である。
符号の説明
2 片あり溝
2a シール溝底面
2b 径内方側壁面
6 第1のシール部材
8 第2のシール部材
8a 内壁面
10 凹凸嵌合部
28 第1締結部材
30 第2締結部材
α 傾斜角度

Claims (2)

  1. 片あり溝(2)のシール溝底面(2a)側に配置される第1のシール部材(6)と、前記片あり溝(2)の開口端面側に配置される第2のシール部材(8)とが、凹凸嵌合部(10)で着脱自在に一体化されるとともに、前記凹凸嵌合部(10)が前記シール溝底面(2a)と略平行な面に構成されていることを特徴とする複合シール部材。
  2. 前記片あり溝(2)の傾斜した径内方側壁面(2b)に当接する前記第2のシール部材(8)の内壁面(8a)は、前記片あり溝(2)の径内方側壁面(2b)の傾斜角度(α)に対応する傾斜角度(α)で傾斜していることを特徴とする請求項1に記載の複合シール部材。
JP2008228560A 2008-09-05 2008-09-05 複合シール部材 Active JP5204595B2 (ja)

Priority Applications (1)

Application Number Priority Date Filing Date Title
JP2008228560A JP5204595B2 (ja) 2008-09-05 2008-09-05 複合シール部材

Applications Claiming Priority (1)

Application Number Priority Date Filing Date Title
JP2008228560A JP5204595B2 (ja) 2008-09-05 2008-09-05 複合シール部材

Publications (2)

Publication Number Publication Date
JP2010060107A true JP2010060107A (ja) 2010-03-18
JP5204595B2 JP5204595B2 (ja) 2013-06-05

Family

ID=42187121

Family Applications (1)

Application Number Title Priority Date Filing Date
JP2008228560A Active JP5204595B2 (ja) 2008-09-05 2008-09-05 複合シール部材

Country Status (1)

Country Link
JP (1) JP5204595B2 (ja)

Cited By (4)

* Cited by examiner, † Cited by third party
Publication number Priority date Publication date Assignee Title
WO2018146817A1 (ja) * 2017-02-13 2018-08-16 堺ディスプレイプロダクト株式会社 真空装置
JP2019060367A (ja) * 2017-09-25 2019-04-18 三菱電線工業株式会社 密封構造体
JP2021167648A (ja) * 2020-04-13 2021-10-21 Nok株式会社 密封構造
WO2022185915A1 (ja) * 2021-03-01 2022-09-09 株式会社バルカー シール構造およびシール材

Citations (2)

* Cited by examiner, † Cited by third party
Publication number Priority date Publication date Assignee Title
JP2006071025A (ja) * 2004-09-02 2006-03-16 Mitsubishi Cable Ind Ltd シール材
JP2007321922A (ja) * 2006-06-02 2007-12-13 Nok Corp シールリング

Patent Citations (2)

* Cited by examiner, † Cited by third party
Publication number Priority date Publication date Assignee Title
JP2006071025A (ja) * 2004-09-02 2006-03-16 Mitsubishi Cable Ind Ltd シール材
JP2007321922A (ja) * 2006-06-02 2007-12-13 Nok Corp シールリング

Cited By (6)

* Cited by examiner, † Cited by third party
Publication number Priority date Publication date Assignee Title
WO2018146817A1 (ja) * 2017-02-13 2018-08-16 堺ディスプレイプロダクト株式会社 真空装置
JP2019060367A (ja) * 2017-09-25 2019-04-18 三菱電線工業株式会社 密封構造体
JP2021167648A (ja) * 2020-04-13 2021-10-21 Nok株式会社 密封構造
WO2022185915A1 (ja) * 2021-03-01 2022-09-09 株式会社バルカー シール構造およびシール材
JP2022132816A (ja) * 2021-03-01 2022-09-13 株式会社バルカー シール構造およびシール材
JP7436411B2 (ja) 2021-03-01 2024-02-21 株式会社バルカー シール構造

Also Published As

Publication number Publication date
JP5204595B2 (ja) 2013-06-05

Similar Documents

Publication Publication Date Title
JP5126999B2 (ja) シール材
JP6809917B2 (ja) 複合シール材
KR100995420B1 (ko) 복합 실링재
JP5126995B2 (ja) 複合シール材
JP2011501064A (ja) 管継手
JP5204595B2 (ja) 複合シール部材
CN108884952B (zh) 管连接件组合件
JP7068464B2 (ja) 複合シール材
TWI842106B (zh) 密封件及其製造與使用方法
JP2009174627A (ja) 複合シール材
JP5777315B2 (ja) 複合シール材
JP7436411B2 (ja) シール構造
JP2011196505A (ja) 摺動用シール
JP6613133B2 (ja) シール構造
JP2012137103A (ja) 複合シール材
JP2007224944A (ja) 複合シール材
KR20250072594A (ko) 튜브 커넥터 조립체용 너트

Legal Events

Date Code Title Description
A621 Written request for application examination

Free format text: JAPANESE INTERMEDIATE CODE: A621

Effective date: 20110824

RD02 Notification of acceptance of power of attorney

Free format text: JAPANESE INTERMEDIATE CODE: A7422

Effective date: 20110824

A977 Report on retrieval

Free format text: JAPANESE INTERMEDIATE CODE: A971007

Effective date: 20120829

A131 Notification of reasons for refusal

Free format text: JAPANESE INTERMEDIATE CODE: A131

Effective date: 20120904

A521 Request for written amendment filed

Free format text: JAPANESE INTERMEDIATE CODE: A523

Effective date: 20120913

A131 Notification of reasons for refusal

Free format text: JAPANESE INTERMEDIATE CODE: A131

Effective date: 20121218

A521 Request for written amendment filed

Free format text: JAPANESE INTERMEDIATE CODE: A523

Effective date: 20121228

TRDD Decision of grant or rejection written
A01 Written decision to grant a patent or to grant a registration (utility model)

Free format text: JAPANESE INTERMEDIATE CODE: A01

Effective date: 20130129

A61 First payment of annual fees (during grant procedure)

Free format text: JAPANESE INTERMEDIATE CODE: A61

Effective date: 20130215

R150 Certificate of patent or registration of utility model

Ref document number: 5204595

Country of ref document: JP

Free format text: JAPANESE INTERMEDIATE CODE: R150

Free format text: JAPANESE INTERMEDIATE CODE: R150

FPAY Renewal fee payment (event date is renewal date of database)

Free format text: PAYMENT UNTIL: 20160222

Year of fee payment: 3

R250 Receipt of annual fees

Free format text: JAPANESE INTERMEDIATE CODE: R250

R250 Receipt of annual fees

Free format text: JAPANESE INTERMEDIATE CODE: R250

R250 Receipt of annual fees

Free format text: JAPANESE INTERMEDIATE CODE: R250

R250 Receipt of annual fees

Free format text: JAPANESE INTERMEDIATE CODE: R250

S533 Written request for registration of change of name

Free format text: JAPANESE INTERMEDIATE CODE: R313533

R350 Written notification of registration of transfer

Free format text: JAPANESE INTERMEDIATE CODE: R350

R250 Receipt of annual fees

Free format text: JAPANESE INTERMEDIATE CODE: R250

R250 Receipt of annual fees

Free format text: JAPANESE INTERMEDIATE CODE: R250

R250 Receipt of annual fees

Free format text: JAPANESE INTERMEDIATE CODE: R250

R250 Receipt of annual fees

Free format text: JAPANESE INTERMEDIATE CODE: R250

R250 Receipt of annual fees

Free format text: JAPANESE INTERMEDIATE CODE: R250

R250 Receipt of annual fees

Free format text: JAPANESE INTERMEDIATE CODE: R250

R250 Receipt of annual fees

Free format text: JAPANESE INTERMEDIATE CODE: R250