JP2010059641A - ボルト受け金物 - Google Patents

ボルト受け金物 Download PDF

Info

Publication number
JP2010059641A
JP2010059641A JP2008224669A JP2008224669A JP2010059641A JP 2010059641 A JP2010059641 A JP 2010059641A JP 2008224669 A JP2008224669 A JP 2008224669A JP 2008224669 A JP2008224669 A JP 2008224669A JP 2010059641 A JP2010059641 A JP 2010059641A
Authority
JP
Japan
Prior art keywords
bolt
nut
structural material
hole
structural
Prior art date
Legal status (The legal status is an assumption and is not a legal conclusion. Google has not performed a legal analysis and makes no representation as to the accuracy of the status listed.)
Granted
Application number
JP2008224669A
Other languages
English (en)
Other versions
JP5555413B2 (ja
Inventor
Masahiro Kanai
正博 金井
Current Assignee (The listed assignees may be inaccurate. Google has not performed a legal analysis and makes no representation or warranty as to the accuracy of the list.)
Sumitomo Forestry Co Ltd
Original Assignee
Sumitomo Forestry Co Ltd
Priority date (The priority date is an assumption and is not a legal conclusion. Google has not performed a legal analysis and makes no representation as to the accuracy of the date listed.)
Filing date
Publication date
Application filed by Sumitomo Forestry Co Ltd filed Critical Sumitomo Forestry Co Ltd
Priority to JP2008224669A priority Critical patent/JP5555413B2/ja
Publication of JP2010059641A publication Critical patent/JP2010059641A/ja
Application granted granted Critical
Publication of JP5555413B2 publication Critical patent/JP5555413B2/ja
Expired - Fee Related legal-status Critical Current
Anticipated expiration legal-status Critical

Links

Images

Landscapes

  • Joining Of Building Structures In Genera (AREA)
  • Conveying And Assembling Of Building Elements In Situ (AREA)

Abstract

【課題】構造材に対して簡易に設置でき、要請される引っ張り耐力を備えるボルト受け金物を、容易に製作し、低廉なコストで製作して提供できる。
【解決手段】盤状体11’よりなる座体部11と、当該盤状体11’の表面11’cにナット12’を、当該ナット12’の一方端面12’mを接しさせて溶着してなるナット部12とを備え、かつ、前記座体部11に、当該座体部11の厚さ方向に貫通する複数個の孔11bを前記ナット部12を取り囲むように設けてあると共に、前記ナット部12の備えられていない側にある座体部の面11dを、構造材Aに対する取り付け面として前記孔11bから当該構造材Aにねじ入れられる木ねじ14で止着し得るようにしてある。
【選択図】図5

Description

この発明は、建築物の構造材に容易に取り付け用いうるボルト受け金物、及び、建築物における直交する向きにある構造材相互を引き寄せ状態に組み付ける連結金物におけるボルト受け金物の改良に関し、構造材に対して当該ボルト受け金物の取り付け側における取り付け操作のみで設置できると共に、構造材相互を一方の施工側のみで、容易かつ確実に引き寄せ得るボルト受け金物の提供に関する。
近時、建築物における構造材にボルトを挿通用意して用いたり、当該構造材を相互を引き寄せ状態に接合する手段として各種の建築金物が用いられている。
かかる構造材に備えられるボルトは、当該構造材に貫通孔を設け、その背面側から当該貫通孔にボルトを挿通したり、一方構造材を貫通するボルトを他方構造材に備えられる羽子板金物やホールダウン金物で受け、このボルトに螺合されるナットを締め付けて、当該羽子板金物やホールダウン金物の備えられている構造材を他方の構造材に引き寄せ、当該引き寄せ状態で接合をするようにしていた。
しかしながら、かかるボルトの設置方法では、構造材に前もってボルトを挿通用意し、あるいは、ボルトの挿通孔を穿設用意する必要があり、また、当該構造材の引き寄せ状態での接合処理を、構造材の接合側と、当該接合側と反対の側とから処理する必要があり、構造材の接合処理に各種の制約があった。
かかる点から、接合される構造材の接合側における処理で、当該構造材相互を接合するボルト受け金物が提案されている(例えば、特許文献1)。
特開2007−205064
しかしながら、構造材に盤状をなす座体部で止着されて、当該構造材から突き出すようにボルトを受けるナットを備えたボルト受け金物は見受けられ無かった。また、かかるボルト受け金物を用いて構造材相互の引き寄せをなすようにした構造材の引き寄せ金物は見受けられなかった。
また、特許文献1に係るボルト受け金物では、当該ボルト受け金物を構造材に備え付けるための構造と、螺入されるボルトを所定の引っ張り耐力で受け得るように構成する必要があった。
かかる点から、簡易に製作でき、しかも、所定の引っ張り耐力を備えるボルト受け金物の提供と、構造材に容易に設置できるボルト受け金物の提供とが求められていた。
かかる課題を解決するために、第一の発明は、盤状体よりなる座体部と、当該盤状体の表面にナットの一方端面を接しさせて溶着してなるナット部とを備え、かつ、前記座体部に、当該座体部の厚さ方向に貫通する複数個の孔を前記ナット部を取り囲むように設けてあると共に、
前記ナット部の備えられていない座体部の面を構造材に対する取り付け面として前記孔から当該構造材にねじ入れられる木ねじで止着し得るようにしてあることを特徴とするボルト受け金物としてある。
このように構成されるボルト受け金物は、製作が容易であり、比較的廉価に製作できると共に、必要とされる引き抜き耐力を螺入されるボルトにもたらすことができる。
また、かかるボルト受け金物は、特段の必要が無い限り、構造材に対する前加工が不要であり、構造材に対する取り付け設置が、円滑かつ容易に、しかも、正確になすことができる。
また、かかる課題を解決するために、第二の発明は、盤状体よりなる座体部と、当該盤状体の表面にナットの一方端面を接しさせて溶着してなるナット部とを備え、かつ、前記座体部に、当該座体部の厚さ方向に貫通する複数個の孔を前記ナット部を取り囲むように設けてあると共に、
前記ナット部の備えられていない座体部の面を構造材に対する取り付け面として、直交する向きにある一方の構造材に前記孔からねじ入れられる木ねじで止着されて、他方の構造材に備えられる金物に組み付けられるボルトをねじ入れ得るようにしてあることを特徴とするボルト受け金物としてある。
このように構成されるボルト受け金物は、前記特長に併せて、建築物における直交する向きにある構造材相互を、当該構造材の組み付け側の作業のみで引き寄せ接合することができ、新規に建築する場合にあっても、別段に構造材を増設する場合にあっても、既存家屋の補強やリフォーム等における構造材相互の簡易な、かつ、確実な接合をなすことができる。
また、前記課題を解決するために、前記座体部が、前記ナット部の雌ねじ孔に連通する当該座体部の厚さ方向に貫通する孔を備えていることを特徴とするボルト受け金物では、当該ボルト受け金物に対するボルトのねじ込みを、当該ボルト受け金物におけるナット部の雌ねじ孔を越えてなすことができ、ボルトをより安定にボルト受け金物に止着できると共に、余裕をもったボルトの螺入操作をなすことができる。
この発明に係るボルト受け金物は、構造材に対して簡易な手法で設置して用い得ると共に、要請される引っ張り耐力を備える当該ボルト受け金物を、容易に製作し、かつ、低廉なコストで製作して提供することができる特長を有する。
以下、この発明を実施するための最良の形態に係るボルト受け金物10及び当該ボルト受け金物10の典型的な使用態様について説明する。
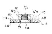
図1〜図6は、この発明を実施するための最良の形態に係るボルト受け金物10を示すものであって、図1は、当該ボルト受け金物10を構成する盤状体11’とナット12’とを斜め上方から見て示している。図2は、当該ボルト受け金物10を斜め上方から見て、図3では、これを上方から見て、図4では、これを縦向きで断面して、側方から見て示しており、図5は、当該ボルト受け金物10を構造材Aに備え付けた典型例を縦向きに要部を断面して側方から見て、図6は、これを水平向きに断面して上方から見て示している。
図7〜図12は、この発明を実施するための最良の形態に係る他のボルト受け金物10を示すものであって、図7は、当該ボルト受け金物10を構成する盤状体11’とナット12’とを斜め上方から見て示している。図8は、当該ボルト受け金物10を斜め上方から見て、図9では、これを上方から見て、図10では、これを縦向きで断面して、側方から見て示しており、図11は、当該ボルト受け金物11を構造材Aに備え付けた典型例を縦向きに要部を断面して側方から見て、図12は、これを水平向きに断面して上方から見て示している。
図13〜図17は、構造材Aに備えられたボルト受け金物10及び当該ボルト受け金物10を用いた構造材Aの引き寄せの典型例を示したものであって、図13〜図15では、梁等の互いに直交する向きにある構造材Aの引き寄せ接合を、図16及び図17では、柱等の縦向きにある構造材Aを土台等の横向きの構造材Aに引き寄せ連結する事例を示しており、図13では、構造材Aの一方に備えた当該ボルト受け金物10に、他方構造材Aに備えた金物Bを構成する羽子板金物30からボルト20を螺入して構造材A、A相互を引き付け状態に接合している状態を斜め上方から見て、図14では、その要部を断面して側方から見て、図15では、これを上方から要部を破断して示している。図16では、前記ボルト受け金物10を土台等の横向きの構造材Aに備え付けて、これに、柱等の縦向きの構造材Aに備えられた金物Bを構成するホールダウン金物40からボルト20を螺入して、構造材A、A相互を引き寄せ状態に連結している状態を斜め上方から見て、図17では、これを側方から要部を破断して見た状態を示している。
まず、第一の発明を実施するための最良の形態に係るボルト受け金物10は、盤状体11’よりなる座体部11と、当該盤状体11’の表面11’cにナット12’を、当該ナット12’の一方端面12’mを接しさせて溶着してなるナット部12とを備え、かつ、前記座体部11に、当該座体部11の厚さ方向に貫通する複数個の孔11bを前記ナット部12を取り囲むように設けてあると共に、
前記ナット部12の備えられていない側にある座体部の面11d、すなわち、前記座体部11をなす盤状体11’の裏面に相当する面を構造材Aに対する取り付け面として前記孔11bから当該構造材Aにねじ入れられる木ねじ14で止着し得るようにしてある。
このように構成されるボルト受け金物10は、製作が容易であり、比較的廉価に製作できると共に、必要とされる引き抜き耐力を螺入されるボルト20に確実にもたらすことができる。
また、かかるボルト受け金物10は、特段の必要が無い限り、構造材Aに対する前加工が不要であり、構造材Aに対する取り付け設置が、円滑かつ容易に、しかも、正確になすことができる。
なお、前記ボルト受け金物10は、当該ボルト受け金物10を木ねじ14で、構造材Aに止着した際に、目的とする所期の引き抜き強度を当該ボルト受け金物10に螺入されるボルト20にもたらし得るものであれば、いかなる素材によって構成してあっても、また、いかなる形状に構成してあってもよい。
かかる点は、当該ボルト受け金物10を構成する座体部11及びナット部12においても同様であって、ナット12’を溶接されている盤状座体部11をなす盤状体11’が、ナット部12に螺合されているボルト20の引き抜き方向に向けた所期の引っ張りに耐えうる素材及び構成を備えており、また、当該座体部11に備えられるナット部12が、当該ナット部12に螺合されるボルト20の引き抜き方向に向けた所期の引っ張りに耐えうる素材、及び構成を備えたものとして用意されており、ナット部12に螺合されるボルト20に加わる当該ボルト20の引き抜き方向に向けた引っ張りに耐え得るように座体部11を構成する盤状体11’にナット12’が溶着されてナット部12としてある。なお、図中13は、当該座体部11を構成する盤状体11’とナット12’の溶着に伴って生ずる溶接痕の盛り上がりであるビードを示している。
ついで、第二の発明におけるボルト受け金物10は、盤状体11’よりなる座体部11と、当該盤状体11’の表面11’cにナット12’を、当該ナット12’の一方端面12’mを接しさせて溶着してなるナット部12とを備え、かつ、前記座体部11に、当該座体部11の厚さ方向に貫通する複数個の孔11bを前記ナット部12を取り囲むように設けてあると共に、
前記ナット部12の備えられていない側にある座体部の面11d、すなわち、前記座体部11をなす盤状体11’の裏面に相当する面を構造材Aに対する取り付け面として、直交する向きにある一方の構造材Aに前記孔11bからねじ入れられる木ねじ14で止着されて、
他方の構造材Aに備えられる金物Bに組み付けられるボルト20をねじ入れ得るようにしてある。
ここで当該ボルト受け金物10を用いてボルト20で引き寄せ接合される構造材Aは、例えば、梁等の水平向きに直交するように備えられる構造材相互や、土台等の水平向きに備えられる構造材Aに、柱等の垂直向きに備えられる構造材A相互等、いかなる組み付け態様の構造材であっても、また、いかなる位置に備えられる構造材であってもよい。
このように構成されるボルト受け金物10は、前記特長に併せて、建築物における直交する向きにある構造材A、A相互を、当該構造材Aの組み付け側の作業のみで引き寄せ接合することができ、新規に建築する場合にあっても、別段に構造材Aを増設する場合にあっても、既存家屋の補強やリフォーム等における構造材A、A相互の簡易な、かつ、確実な接合等に都合よく用いることができる。
また、前記ボルト受け金物10にあって、座体部11が、前記ナット部12の雌ねじ孔12aに連通する当該座体部11の厚さ方向に貫通する孔11aを備えているボルト受け金物10では、当該ボルト受け金物10に対するボルト20のねじ込みを、当該ボルト受け金物10におけるナット部12の雌ねじ孔12aを越えてなすことができ、ボルト20をより安定にボルト受け金物10に止着できると共に、余裕をもったボルト20の螺入操作をなすことができる。
まず、図1〜図6に示される典型的なボルト受け金物10について具体的に説明する。
この図示例に係るボルト受け金物10は、表面と裏面とを備える盤状体11’よりなる座体部11と、当該盤状体11’の表面11’cにナット12’を、当該ナット12’の一方端面12’mを接しさせて溶着してなるナット部12とを備え、かつ、前記座体部11に、当該座体部11の厚さ方向に貫通する複数個の孔11bを前記ナット部12を取り囲むように設けてあると共に、
前記ナット部12の備えられていない側にある座体部の面11d、すなわち、前記座体部11をなす盤状体11’の裏面に相当する面を構造材Aに対する取り付け面として前記孔11bから当該構造材Aにねじ入れられる木ねじ14で止着し得るようにしてある。
かかる盤状体11’よりなる座体部11は、当該盤状体11’にナット12’を溶着したナット部12に螺入されたボルト20に引っ張り力が作用した際に、変形したり、ナット部12が剥離しない素材と構成としてあり、例えば、直径が45mm、厚さが5mmの鋼製の円盤体を用いることができる。なお、この図示例では、盤状体11’の中央に、当該盤状体11’の厚さ方向に貫通する孔11aが設けてある。この図示例にあっては、当該孔11aを、正六角形の孔11aとしてあり、「JIS B 1181 六角ナット」の項で規定されているM12ナットの平行面のなす基準寸法よりも、当該孔11aの互いに向き合う平行面間の寸法(当該平行面に直交する当該面間の寸法)を2mm小さく構成してある。
かかる盤状体11’の表面11’cに備えられるナット部12は、ナット12’の一方端面12’mを前記盤状体11’の面に接しさせて溶着して構成される。かかる座体部11に備えられる当該図示例に係るナット部12を構成するナット12’は、雌ねじ孔12aの貫設されている汎用的なナット12’であって、その端面12’m、すなわち、雌ねじ12aの開口縁部面を盤状体11’の表面11’cに接しさせて適宜の手法で溶着してナット部12としてある。
かかるナット12’は、より具体的には、貫通した円形孔を備える筒状体に構成され、当該円形孔に、ボルト20の螺入される雌ねじ12aを備えていると共に、この円形孔の軸中心線に直交する向きの断面形状が六角形の、いわゆる、六角ナットとしてある。典型例として、「JIS B 1181 六角ナット」の項で規定されているM12ナット(雌ねじ孔12aの呼び径が12mm、長さが10mm〜12mm)が用いられる。かかるナット12’を、その端面、すなわち、六角形をなす周面12’nに直交する向きにある前記円形孔の孔周面をなす端面12’mの一方を、前記盤状体11’の面に接しさせ、しかも、当該ナット12’の雌ねじ孔12aの中心軸線を前記孔11aの中心軸線に一致させて両者を連通させた状態で当該ナット12’と盤状体11’とを溶着してある。
すなわち、当該ナット12’の六角形の各辺を、当該盤状体11’の六角形の孔11aの各辺に沿わせるようにして、前記盤状体11’の六角形状の孔11aの周縁の表面11’cにナット12’の端面12’mを接しさせて溶着することでナット部12を備える座体部11を構成してあり、この座体部11の孔11aの内周壁面と、ナット部12における雌ねじ孔12aとの間に生ずる空間に当該ナット12’と盤状体11’との溶着によって生ずる溶接痕の盛上がりであるビード13が納めいれられたボルト受け金物10としてある。
かかるナット12’と盤状体11’の溶着は、ナット部12が前記座体部11と一体となってボルト受け金物10を構成し、これを構造材Aに組み付け用いた際に、当該ボルト20に生ずる所定の引き抜き力によって、当該溶着部分が破断されない溶着としてあり、例えば、アーク溶接で、盤状体11’に接するナット12’を、前記孔11a内を巡る領域で、当該盤状体11’に溶接してボルト受け金物10を構成し、当該溶接によって生ずるビード13が該孔11aの内側の全周を巡り、かつ、当該孔11a内に納まるように構成してある。
また、このボルト受け金物10に備えられる孔11bは、当該ボルト受け金物10をラグスクリュー等の木ねじ14で構造材Aに止着して用いる際に、このボルト受け金物10に螺合したボルト20に所定の引き抜き力が作用した場合にも、木ねじ14で、当該ボルト受け金物10を構造材Aから離脱しないように取り付け得るように設けてあり、この図示例では、ナット部12を巡る円周線上に、6個の円形孔11bを、当該円形孔11b、11bの各中心間の間隔が15〜17mmとなるように設けてあり、例えば、当該孔11bを用いて、外径が5mm、長さ75mmのラグスクリュー状の木ねじ14を構造材Aにねじ入れて、当該ボルト受け金物10を構造材Aに止着する。なお、この図示例では、外径が5mm、長さが75mmの四角穴付き木ねじ14が用いられている。
このように用意されたボルト受け金物10は、例えば、図5及び図6に示されるように各種の構造材に木ねじ14を用いて止着、用いられる。かかるボルト受け金物10の木ねじ14による止着は、当該木ねじ14で構造材Aに止着されたボルト受け金物Aが、当該ボルト受け金物10にねじ入れられるボルト20に付加される引き抜き方向に向けた外力によって構造材Aから離脱することの無い条件を満たす態様の木ねじを、当該条件を満たす本数、ねじ入れることによってなされる。
このように構造材Aに木ねじ14で止着されたボルト受け金物10におけるナット部12の雌ねじ12aに対して、対象物を取り付けるためのボルト20を適宜ねじ入れることで、当該ボルト20を構造材Aの面に垂直をなすように備え付けることができる。なお、ここでボルト受け金物10に螺入組み付けられるボルト20は、いわゆる、六角ボルト等の頭付きボルトや、両ねじボルト等、いかなる形態のボルトであってもよい。
かかるボルト受け金物10は、例えば、建築物における構造材A、A相互の引き寄せ接合に用いたり、構造材Aに、例えば、シャンデリア等の重量物等の取り付けに用いたり、構造材Aに適宜他の部材を連結するのに用いる等、各種の用途に用いることができる。
次いで、図7〜図12に示される典型的な他のボルト受け金物10について具体的に説明する。
この図示例に係るボルト受け金物10は、表面と裏面とを備える盤状体11’よりなる座体部11と、当該盤状体11’の表面11’cにナット12’を、当該ナット12’の一方端面12’mを接しさせて溶着してなるナット部12とを備え、かつ、前記座体部11に、当該座体部11の厚さ方向に貫通する複数個の孔11bを前記ナット部12を取り囲むように設けてあると共に、
前記ナット部12の備えられていない側にある座体部の面11d、すなわち、前記座体部11をなす盤状体11’の裏面に相当する面を構造材Aに対する取り付け面として前記孔11bから当該構造材Aにねじ入れられる木ねじ14で止着し得るようにしてある。
かかる盤状体11’よりなる座体部11は、当該盤状体11’にナット12’を溶着したナット部12に螺入されたボルト20に引っ張り力が作用した際に、変形したり、ナット部12が剥離しない素材と構成としてあり、例えば、直径が45mm、厚さが5mmの鋼製の円盤体を用いることができる。なお、この図示例では、盤状体11’の中央に、当該盤状体11’の厚さ方向に貫通する孔11aが設けてあり、例えば、当該孔11aを直径が12mmの円形孔として構成用意する。
かかる盤状体11’よりなる座体部11の表面11cに備えられるナット部12は、ナット12’を当該ナット12’の一方端面12’mを当該座体部11を構成する盤状体11’の表面11’cに接しさせて溶着して構成してある。かかる座体部11に備えられる当該図示例に係るナット部12を構成するナット12’は、雌ねじ孔12aの貫設されている汎用的なナット12’であって、その端面12’m、すなわち、雌ねじ12aの開口縁部面を盤状体11’の表面11’cに接しさせて適宜の手法で溶着してナット部12としてある。
かかるナット12’は、より具体的には、貫通した円形孔を備える筒状体に構成され、当該円形孔に、ボルト20の螺入される雌ねじ12aを備えていると共に、この円形孔の軸中心線に直交する向きの断面形状が六角形の、いわゆる、六角ナットとしてあって、典型例として、「JIS B 1181 六角ナット」の項で規定されているM12ナット(雌ねじ孔12aの呼び径が12mm、長さが10mm〜12mm)における端面、すなわち、六角形をなす周面12’nに直交する向きにある前記円形孔の孔周面をなす端面12’mの一方を、前記座体部11を構成する盤状体11’の表面11’cに接しさせ、しかも、当該ナット12’の雌ねじ孔12aの中心軸線を前記孔11aの中心軸線に一致させて両者を連通させた状態で、当該盤状体11’に溶着してナット部12を構成してある。
かかるナット12’の溶着は、ナット部12が前記座体部11と一体となってボルト受け金物10を構成し、これを構造材Aに組み付け用いた際に、当該ボルト20に生ずる所定の引き抜き力によって、当該溶着部分が破断されない溶着としてあり、例えば、アーク溶接で、座体部11を構成する盤状体11に接するナット12’の外周を巡る領域で当該ナット12’を盤状体11’に溶接してボルト受け金物10を構成してあり、図中13は、当該盤状体11’とナット12’の溶着によって生ずるビードを示している。
また、このボルト受け金物10に備えられる孔11bは、当該ボルト受け金物10をラグスクリュー等の木ねじ14で構造材Aに止着して用いる際に、このボルト受け金物10に螺合したボルト20に所定の引き抜き力が作用した場合にも、木ねじ14で、当該ボルト受け金物10を構造材Aから離脱しないように取り付け得るように設けてあり、この図示例では、ナット部12を巡る円周線上に、6個の円形孔11bを、当該円形孔11b、11bの各中心間の間隔が15〜17mmとなるように設けてあり、例えば、当該孔11bを用いて、外径が5mm、長さ75mmのラグスクリュー状の木ねじ14を構造材Aにねじ入れて、当該ボルト受け金物10を構造材Aに止着する。なお、この図示例では、外径が5mm、長さが75mmの四角穴付き木ねじ14が用いられている。
このように用意されたボルト受け金物10は、例えば、図11及び図12に示されるように各種の構造材に木ねじ14を用いて止着、用いられる。かかるボルト受け金物10の木ねじ14による止着は、当該木ねじ14で構造材Aに止着されたボルト受け金物Aが、当該ボルト受け金物10にねじ入れられるボルト20に付加される引き抜き方向に向けた外力によって構造材Aから離脱することの無い条件を満たす態様の木ねじを、当該条件を満たす本数、ねじ入れることによってなされる。
このように構造材Aに木ねじ14で止着されたボルト受け金物10におけるナット部12の雌ねじ12aに対して、対象物を取り付けるためのボルト20を適宜ねじ入れることで、当該ボルト20を構造材Aの面に垂直をなすように備え付けることができる。なお、ここでボルト受け金物10に螺入組み付けられるボルト20は、いわゆる、六角ボルト等の頭付きボルトや、両ねじボルト等、いかなる形態のボルトであってもよい。
かかるボルト受け金物10は、例えば、建築物における構造材A、A相互の引き寄せ接合に用いたり、構造材Aに、例えば、シャンデリア等の重量物等の取り付けに用いたり、構造材Aに適宜他の部材を連結するのに用いる等、各種の用途に用いることができる。
図13〜図15は、構造材Aに備えられるボルト受け金物10を用いて、当該構造材Aの側面に対して、他の構造材Aの木口である端面を接合するように、互いに直交して水平向きに接合配置される梁等の構造材A、A相互を引き寄せ状態に接合している一例を示している。
まず、引き寄せ接合される各構造材A、Aの一方を当該ボルト受け金物10の備えられる第一の構造材Aaとし、この構造材Aaの側面(長手面)に端面(木口面)を接するように接合される構造材Aを第二の構造材Abとし、この第二の構造材Abに備えられる金物Bに組み付けられるボルト20、この図示例では、頭部20aを備えるボルト20における頭部20aを、当該金物Bに引っ掛け、しかも、当該ボルト20を前記構造材Aaのボルト受け金物10に螺進退可能に螺入しうるように当該ボルト受け金物10を第一の構造材Aaに木ねじ14(例えば、四角穴付き木ねじ等)で止着用意する。なお、第一の構造材Aaに備え付けられるボルト受け金物10に前もって両ねじボルト20を螺入用意し、このボルト20を前記第二の構造材Abに備えられる金物Bにナットで締め付けるようにしてあってもよい。
なお、この図示例にあっては、構造材A、A相互を梁受け金物等の接合金物50等で接合する都合上、構造材Aaにおけるボルト受け金物10の取り付け位置に、当該ボルト受け金物10の納め入れられる凹部Hを設けてある。かかるボルト受け金物10の納め入れられる凹部Hは、当該ボルト受け金物10のナット部12が当該凹部Hから外方に突き出さない深さに設けてあれば、いかなる構成に設けてあっても、また、いかなる手法で設けてあってもよい。
この図示例にあっては、構造材Aaにおけるボルト受け金物10の設置予定位置に、当該ボルト受け金物10における座体部11の納まる直径の凹部Hを、ナット部12が当該凹部Hから外方に突き出さないで当該凹部H内に納まる深さまで座彫りして構成し、この凹部Hの底面にボルト受け金物10におけるナット部12の備えられていない側にある座体部の面11dを接した状態で、孔11b〜11bから当該構造材Aaに木ねじ14を順次にねじ入れてボルト受け金物10を止着する。
なお、かかるボルト受け金物10及び金物Bの備え付けに先立ち、又は、事後に、このボルト受け金物10の備えられる第一の構造材Aaの側面に第二の構造材Abの木口を当接するように、通例の手法、例えば、木ねじ51で止着される梁受け金物等の接合金物50等で、この第一の構造材Aaと第二の構造材Abとを接合するようにしてある。なお、この図示例では、ボルト受け金物10を前記態様で構造材Aaに備え付けた後に、前記接合金物50を備え付けて構造材A、Aを接合するようにしてあり、ボルト受け金物10にねじ入れられるボルト20の挿通される縦長の孔52を当該接合金物50に設けてあって、この接合金物50をボルト受け金物10を覆うように構造材Aに備え付けるようにしてある。
ついで、第二の構造材Abにボルト20を組み付け得るように金物Bを備え付け、前記第一の構造材Aaに備えられたボルト受け金物10の雌ねじ孔12aに当該ボルト20を螺入する。この金物Bの取り付け用意と前記ボルト受け金物10の構造材Aに対する備え付けは、構造材A、A相互の引き寄せの関係で、いずれを、先に設けるようにしてあってもよい。
この図示例にあっては、前記金物Bの典型例としての羽子板金物30が示されている。この羽子板金物30は、一連に連続して備えられる取り付け板部31及びボルト受け部32からなる鋼板製の羽子板金物30としてある。そして、この羽子板金物30は、ボルト受け部32のボルト挿通孔33に挿通されるボルト20が、当該ボルト受け部32に頭部20a又は当該ボルト20に螺着されるナット(図示省略)を引っ掛けて前記雌ねじ孔12aに差し込みうるように取り付け板部31を第二の構造材Abの側面に添わせた状態で、当該取り付け板部31に備えられている複数の孔から木ねじ34を当該第二の構造材Abにねじ入れることで当該第二の構造材Abに止着するようにしてある。
なお、この羽子板金物30は、例えば、鋼板によって構成してあり、一側部側を構造材Aの側面に密に接し得る平板状の取付板部31とし、他側部側を、当該羽子板金物30の短手側で折り曲げて当該羽子板金物30から断面U字状に突き出して取付板部31からの延設板部と共にボルト20の挿通されるボルト挿通孔33を構成するボルト受け部32となるように構成してある。
かかる羽子板金物30のボルト挿通孔33に挿通されるボルト20は、このボルト20によって各構造材Aa、Ab相互を引き寄せた際に、所期の引っ張り耐力を連結される当該構造材A、Aにもたらし得る構成を備えたものとして用意される。
かかるボルト20は、各種のボルトを用いることができるが、この図示例では、頭部20aと、雄ねじ20b’を有する軸部20bとを備えるボルトが示されており、例えば、「JIS B 1180 六角ボルト」の項で規定されているM12ボルトを用いることができる。
かかる構造材A、A相互の引き寄せ状態での接合は、前記第二の構造材Abに備えられている羽子板金物30のボルト挿通孔33にボルト20の軸部20bを挿通し、更に、前記接合金物50の孔52に挿通させた当該軸部20bの雄ねじ20b’を第一の構造材Aaに備えられているボルト受け金物10の雌ねじ孔12aに螺入、調整してなされる。また、図示されていないが、前記第一の構造材Aaに備えられているボルト受け金物10に両ねじボルトを螺合しておき、第二の構造材Abに備えられる羽子板金物30のボルト挿通孔33から突出される当該ボルトにナットを締め込んで、第一の構造材Aaと第二の構造材Abとを引き寄せるように当該ボルト受け金物10を用いることもできる。
このようにボルト受け金物10を用いてなされる構造材Aa、Ab相互の引き寄せは、例えば、引き寄せようとする各構造材Aa、Abの引き寄せ接合部分のみで処理することができ、各構造材Aa、Abに隣あって備えられるボルト受け金物10及び羽子板金物20の備え付け部分以外の部分の、例えば、壁材等を何等損なうこと無く、構造材Aa、Ab相互の引き寄せをなすこともできる。
かかる構造材Aa、Ab相互の引き寄せは、ボルト受け金物10と羽子板金物30及びボルト20の複数組を用いて第一の構造材Aaと第二の構造材Abとを引き寄せるようにしてあっても、また、この図示例におけるように、第二の構造材Abの両側に羽子板金物30及びボルト20を配置し、これに対応するように第一の構造材Aaに二組のボルト受け金物10を設けて、当該各構造材Aa、Ab相互を引き寄せ状態に組み付けるようにしてあってもよい。
ついで、図16及び図17に示され各構造材A、A相互の接合、引き寄せの構成について説明する。
この図示例は、横向きの構造材Aを第一の構造材Aaとして当該構造材Aaの長手面に、縦向きの構造材Aを第二の構造材Abとして当該構造材Abの端面(木口)を当接させるように引き寄せる態様を示している。この図示例では、その典型例として、基礎60にアンカーボルト(図示省略)等で止着されている構造材Aとしての土台を第一の構造材Aaとし、この第一の構造材Aaとしての土台上に起立状態に接合した構造材Aとしての柱を第二の構造材Abとして、両者をボルト受け金物10と金物Bを構成するホールダウン金物40及び当該ホールダウン金物40に組み付けられ、しかも、ボルト受け金物10にねじ入れられるボルト20で引き寄せるようにしたものである。
この土台をなす第一の構造材Aaに備えられるボルト受け金物10は、前記図1〜図12で示されたボルト受け金物10と同一の構成からなるものあり、柱をなす構造材Abの側方位置で、土台をなす構造材Aaの上面側に、前記図5及び図6、図11及び図12の状態に、この図示例にあっては、四角穴付き木ねじ14〜14で、止着してある。
すなわち、ボルト受け金物10における座体部11を当該構造材Aaの上面に接しさせた状態で、この座体部11に備えられている孔11b〜11bから、当該構造材Aに木ねじ14〜14をねじ入れ設置し、この状態で、各種ボルト20を当該ボルト受け金物10のナット部12の雌ねじ孔12aにねじ入れて組み付けるようにしたものであって、この図示例では、第一の構造材Aaに設置されるボルト受け金物10に対応して第二の構造材Abである柱に金物Bを備え付け、この金物Bに組み付けられるボルト20を当該ボルト受け金物10で受けるように構成してある。
かかる第二の構造材Abに備えられる金物Bを構成するホールダウン金物40は、当該第二の構造材Abの側面である長手面に添った板状の取り付け板部41と、この取り付け板部41の下部側にあって、縦向きに、当該取り付け板部41から突設されて、ボルト20の軸部20bを挿通されるボルト挿通孔43を前記取り付け板部41と共に構成する平断面がU字状をなすボルト支持板部42とを備えて構成されており、取り付け板部41から構造材Abに適宜必要数の木ねじ44のねじ入れによって備え付けてある。
かかるホールダウン金物40は、前記ボルト支持板部42に頭部20a又は当該ボルト20に螺着されたナット(図示省略)を引っ掛けるように挿通孔43に軸部20bを挿通したボルト20の雄ねじ20b’が前記ボルト受け金物10の雌ねじ孔12aに螺入しうるように、取り付け板部41を上方にして縦向きに第二の構造材Abの側面(長手面)に備えつけてあり、このホールダウン金物40における取り付け板部41を第二の構造材Abに添装状態にすると共に、木ねじ44〜44を当該取り付け板部41に備えられている孔から当該第二の構造材Abにねじ入れ止着してある。
かかるホールダウン金物40は、前記取り付け板部41のボルト挿通孔43に回転自在に挿通したボルト20の雄ねじ20b’を前記ボルト受け金物10の雌ねじ孔12aに螺入させて、構造材A、A相互を引き寄せた際に、所期の引っ張り耐力を連結される当該構造材A、Aにもたらし得る構成を備えたものとして用意される。
このように構造材Aaに備えられるボルト受け金物10の雌ねじ孔12aにねじ入れられ、しかも、構造材Abに備えられるホールダウン金物40のボルト挿通孔43に挿通されるボルト20によって、各構造材Aa、Abを引き寄せる。
ここで用いられるボルト20は、前記各図示例において用いられた引き寄せボルトと同様に、所期の引っ張り耐力を連結される当該構造材A、Aにもたらし得るものであって、各構造材Aa、Abを都合よく引き寄せうる強度を備えたものであれば、いかなる形態のボルトであってもよく、例えば、六角ボルト等の頭部を備えるボルトや、ナットと共に用いられる両ねじボルト等の各種のボルトを用いることができる。なお、この図示例では、雄ねじ20b’を備える軸部20bと頭部20aとを備えるボルトが示してあり、例えば、「JIS B 1180 六角ボルト」の項で規定されているM12ボルト等が都合よく用いられる。
このように各構造材Aa、Abの引き寄せに用いられるボルト受け金物10及びホールダウン金物40は、前記羽子板金物20とボルト受け金物10とによる構造材Aa、Abの引き寄せと同様に、当該ボルト受け金物10及びホールダウン金物40の組み付け操作部分以外の壁等に何等影響を与えることなく、各構造材A、Aの引き寄せ接合に用いることができる。
また、前記羽子板金物20とボルト受け金物10による各構造材Aa、Abの引き寄せと同様に複数組のボルト受け金物10及びホールダウン金物40を用いて第一の構造材Aaと第二の構造材Abを引き寄せるようにしてもよく、また、起立状態にある第二の構造材Abの両側にホールダウン金物40を設け、これを第一の構造材Aaのボルト受け金物10にボルト20で引き寄せるようにしてあってもよい。
かかる構造材Aa、Abの引き寄せは、例えば、基礎60のアンカーボルトが柱位置からずれている場合にも効果的に用いることができる。なお、前記梁受け金物50を用いる場合や、構造材面に沿った空間を活用する必要のある場合等にあっては、構造材の面に前記ボルト受け金物10の座体部11と同寸又は当該座体部11より大きめの直径の円形凹部Hを、当該凹部Hからナット部12が突き出さない深さ、例えば、18mm以上の深さに座彫りし、この座掘りした凹部H内に座体部11を納めるように当該ボルト受け金物10を構造材Aに対して木ねじ14で止着することが好ましい。
図18は、前記ボルト受け金物10と羽子板金物30とボルト20とで一方の構造材Aa(梁)にほぞ差しをした他方の構造材Abの引っ張り試験状況を示したものである。
この実験例では、厚さ5mmで直径45mmの鋼材からなる円盤状座体部11の中央に12mmの円形孔11aと、この円形孔11aの外方であって、該円形孔11aと同心の仮想円上に中心を位置づけるようにした6個の直径9mmの孔11bを、各孔11b、11bの孔中心間の間隔が等間隔をなすように設けてある座体部11と、この座体部11の表面11cの中央部に、前記孔11aの中心軸線と中心軸線を一致させて、M12ナット(ねじの呼び径12mm、長さ10〜12mm)の雌ねじ孔12aを該孔11aに連通するように当該ナット12’の端面12’mを接しさせてアーク溶接で溶着したナット部12とを備えるボルト受け金物10を用意した。
また、構造材Abの側面である長手面に前記構成からなる認定耐力が7.5kNの羽子板金物30を、外径5mm、長さ75mmの木ねじ34を 当該構造材Abに5本、ねじ入れて止着用意した。
また、この構造材Abに備えられる羽子板金物30のボルト挿通孔33に挿通されるボルト20の雄ねじ20b’のねじ込み位置にある構造材Aaの面に、前記座体部11を接しさせた状態で、前記構成のボルト受け金物10を当該ボルト受け金物10の孔11bから6本の、外径5mm、長さ75mmの木ねじ14 を当該構造材Aaにねじ入れて止着、用意した。
かかる構造材Aaと、当該構造材Aaにほぞを差し入れるように組み付けられている構造材Abとを、前記羽子板金物30のボルト挿通孔33からボルト受け金物10に「JIS B 1180 六角ボルト」に規定されるM12ボルト20をねじ入れて、財団法人日本住宅・木材技術センターの接合金物試験法規格で定める試験方法で、引っ張り耐力を測定したところ、降伏耐力は13.1kNであり、羽子板金物の認定耐力7.5kNを上回る基準耐力を備えていることが認められた。(図18参照)
なお、ボルト受け金物10のナット部12を構成するナット12’の長さが10〜12mmであることから、前記ボルト20に直交方向の外力が作用した際にあっても、当該ボルト受け金物10にかかるモーメントは小さく、計算値としては、羽子板金物30に挿通されているボルト20に30kNの直交方向の力が作用しても前記木ねじ14の抜け出しを生ずることが無かった。
典型的なボルト受け金物を構成するナット及び盤状体を示す斜視図 同ボルト受け金物の斜視図 同平面図 同縦断面図 同構造材に取り付け使用している状態の要部断面図 同平断面図 典型的な他のボルト受け金物を構成するナット及び盤状体を示す斜視図 同ボルト受け金物の斜視図 同平面図 同縦断面図 同構造材に取り付け使用している状態の要部断面図 同平断面図 同ボルト受け金物を用いた構造材の典型的な接合状態を示す要部斜視図 同要部を断面して示した側面図 同要部を破断して示した要部平面図 同ボルト受け金物を用いた構造材の他の典型的な接合状態を示す要部斜視図 同一部を破断した要部の側面図 同ボルト受け金物を用いた引っ張り試験の状態を示す斜視図
符号の説明
A 構造材
B 金物
10 ボルト受け金物
11 座体部
12 ナット部
13 溶着
20 ボルト

Claims (3)

  1. 盤状体よりなる座体部と、当該盤状体の表面にナットの一方端面を接しさせて溶着してなるナット部とを備え、かつ、前記座体部に、当該座体部の厚さ方向に貫通する複数個の孔を前記ナット部を取り囲むように設けてあると共に、
    前記ナット部の備えられていない座体部の面を構造材に対する取り付け面として前記孔から当該構造材にねじ入れられる木ねじで止着し得るようにしてあることを特徴とするボルト受け金物。
  2. 盤状体よりなる座体部と、当該盤状体の表面にナットの一方端面を接しさせて溶着してなるナット部とを備え、かつ、前記座体部に、当該座体部の厚さ方向に貫通する複数個の孔を前記ナット部を取り囲むように設けてあると共に、
    前記ナット部の備えられていない座体部の面を構造材に対する取り付け面として、直交する向きにある一方の構造材に前記孔からねじ入れられる木ねじで止着されて、
    他方の構造材に備えられる金物に組み付けられるボルトをねじ入れ得るようにしてあることを特徴とするボルト受け金物。
  3. 前記座体部が、前記ナット部の雌ねじ孔に連通する当該座体部の厚さ方向に貫通する孔を備えていることを特徴とする請求項1又は請求項2に記載のボルト受け金物。
JP2008224669A 2008-09-02 2008-09-02 ボルト受け金物 Expired - Fee Related JP5555413B2 (ja)

Priority Applications (1)

Application Number Priority Date Filing Date Title
JP2008224669A JP5555413B2 (ja) 2008-09-02 2008-09-02 ボルト受け金物

Applications Claiming Priority (1)

Application Number Priority Date Filing Date Title
JP2008224669A JP5555413B2 (ja) 2008-09-02 2008-09-02 ボルト受け金物

Publications (2)

Publication Number Publication Date
JP2010059641A true JP2010059641A (ja) 2010-03-18
JP5555413B2 JP5555413B2 (ja) 2014-07-23

Family

ID=42186731

Family Applications (1)

Application Number Title Priority Date Filing Date
JP2008224669A Expired - Fee Related JP5555413B2 (ja) 2008-09-02 2008-09-02 ボルト受け金物

Country Status (1)

Country Link
JP (1) JP5555413B2 (ja)

Cited By (3)

* Cited by examiner, † Cited by third party
Publication number Priority date Publication date Assignee Title
JP2019027132A (ja) * 2017-07-31 2019-02-21 Bxカネシン株式会社 横架材設置方法
IT202200006944A1 (it) * 2022-04-07 2023-10-07 Marlegno S R L Tecnologie Del Legno Metodo di rinforzo antisismico di un edificio e rispettivo edificio
JP2024008199A (ja) * 2022-07-07 2024-01-19 Bxカネシン株式会社 剪断受金物およびその剪断受金物を使用した構造物

Citations (4)

* Cited by examiner, † Cited by third party
Publication number Priority date Publication date Assignee Title
JP2004092339A (ja) * 2002-09-04 2004-03-25 Kanai:Kk 接合金物と接合構造
JP2004245009A (ja) * 2003-02-12 2004-09-02 Takeshi Shinada 引き寄せ金物や羽子板ボルトを固定するために柱などの表面に嵌め込む金具
JP2006322275A (ja) * 2005-05-20 2006-11-30 Jutaku Kozo Kenkyusho:Kk 引き寄せ金物
JP2010007454A (ja) * 2008-05-26 2010-01-14 Univ Nagoya 木造家屋の耐震補強構造および木造家屋の耐震補強工法ならびに耐震補強金具

Patent Citations (4)

* Cited by examiner, † Cited by third party
Publication number Priority date Publication date Assignee Title
JP2004092339A (ja) * 2002-09-04 2004-03-25 Kanai:Kk 接合金物と接合構造
JP2004245009A (ja) * 2003-02-12 2004-09-02 Takeshi Shinada 引き寄せ金物や羽子板ボルトを固定するために柱などの表面に嵌め込む金具
JP2006322275A (ja) * 2005-05-20 2006-11-30 Jutaku Kozo Kenkyusho:Kk 引き寄せ金物
JP2010007454A (ja) * 2008-05-26 2010-01-14 Univ Nagoya 木造家屋の耐震補強構造および木造家屋の耐震補強工法ならびに耐震補強金具

Cited By (3)

* Cited by examiner, † Cited by third party
Publication number Priority date Publication date Assignee Title
JP2019027132A (ja) * 2017-07-31 2019-02-21 Bxカネシン株式会社 横架材設置方法
IT202200006944A1 (it) * 2022-04-07 2023-10-07 Marlegno S R L Tecnologie Del Legno Metodo di rinforzo antisismico di un edificio e rispettivo edificio
JP2024008199A (ja) * 2022-07-07 2024-01-19 Bxカネシン株式会社 剪断受金物およびその剪断受金物を使用した構造物

Also Published As

Publication number Publication date
JP5555413B2 (ja) 2014-07-23

Similar Documents

Publication Publication Date Title
US9938709B2 (en) Moment resisting kneewall connector
JP6417377B2 (ja) 木造建築物の構造躯体の接合構造
JP5555413B2 (ja) ボルト受け金物
JP5385314B2 (ja) 連結構造
JP5567994B2 (ja) 連結具
JP2010031944A (ja) ボルト受け金物及びボルト受け金物の取付方法
JP2013014932A (ja) 建築用木材の継合構造
JP5002428B2 (ja) 締結具
JP2017186785A (ja) 連結構造
KR101245183B1 (ko) 골프장용 홀컵
CA2939792C (en) Moment resisting kneewall connector
JP2007218043A (ja) 木造建築物における接合緊締構造とその金具,柱脚構造とその金具,および柱・梁接合構造とその金具
JP5188595B2 (ja) 柱脚金具を用いた柱の連結構造
JP2007205064A (ja) ボルト受け金物及び構造材の引き寄せ方法
JP5946271B2 (ja) 柱脚部・柱頭部接合セット金物及び柱脚部・柱頭部接合構造
JP2009035954A (ja) ボルト受け金物
JP3082134U (ja) 筋交い用固定金具
JP2013194481A (ja) 横架材接合部構造
JP2004143801A (ja) 柱梁接合具および柱梁接合部の施工法
JP5159333B2 (ja) 階段
JP2002115339A (ja) 柱の固定金具
JP2003064770A (ja) 建物の柱の据付構造および基礎プレート
JP2022172031A (ja) 連結具
JP2002038611A (ja) ほぞ棒形接合金物
JP3208046U (ja) 木材圧接合金物、柱と横架材との接合構造

Legal Events

Date Code Title Description
A621 Written request for application examination

Free format text: JAPANESE INTERMEDIATE CODE: A621

Effective date: 20110819

A977 Report on retrieval

Free format text: JAPANESE INTERMEDIATE CODE: A971007

Effective date: 20121004

A131 Notification of reasons for refusal

Free format text: JAPANESE INTERMEDIATE CODE: A131

Effective date: 20121016

A521 Written amendment

Free format text: JAPANESE INTERMEDIATE CODE: A523

Effective date: 20121120

A131 Notification of reasons for refusal

Free format text: JAPANESE INTERMEDIATE CODE: A131

Effective date: 20130716

A521 Written amendment

Free format text: JAPANESE INTERMEDIATE CODE: A523

Effective date: 20130808

TRDD Decision of grant or rejection written
A01 Written decision to grant a patent or to grant a registration (utility model)

Free format text: JAPANESE INTERMEDIATE CODE: A01

Effective date: 20140527

A61 First payment of annual fees (during grant procedure)

Free format text: JAPANESE INTERMEDIATE CODE: A61

Effective date: 20140602

R150 Certificate of patent or registration of utility model

Ref document number: 5555413

Country of ref document: JP

Free format text: JAPANESE INTERMEDIATE CODE: R150

R250 Receipt of annual fees

Free format text: JAPANESE INTERMEDIATE CODE: R250

LAPS Cancellation because of no payment of annual fees