JP2010059313A - 改質アスファルトおよび2液型樹脂組成物 - Google Patents
改質アスファルトおよび2液型樹脂組成物 Download PDFInfo
- Publication number
- JP2010059313A JP2010059313A JP2008226853A JP2008226853A JP2010059313A JP 2010059313 A JP2010059313 A JP 2010059313A JP 2008226853 A JP2008226853 A JP 2008226853A JP 2008226853 A JP2008226853 A JP 2008226853A JP 2010059313 A JP2010059313 A JP 2010059313A
- Authority
- JP
- Japan
- Prior art keywords
- asphalt
- resin composition
- copolymer
- structural unit
- unit derived
- Prior art date
- Legal status (The legal status is an assumption and is not a legal conclusion. Google has not performed a legal analysis and makes no representation as to the accuracy of the status listed.)
- Granted
Links
Images
Classifications
-
- C—CHEMISTRY; METALLURGY
- C08—ORGANIC MACROMOLECULAR COMPOUNDS; THEIR PREPARATION OR CHEMICAL WORKING-UP; COMPOSITIONS BASED THEREON
- C08K—Use of inorganic or non-macromolecular organic substances as compounding ingredients
- C08K5/00—Use of organic ingredients
- C08K5/16—Nitrogen-containing compounds
- C08K5/29—Compounds containing one or more carbon-to-nitrogen double bonds
-
- C—CHEMISTRY; METALLURGY
- C08—ORGANIC MACROMOLECULAR COMPOUNDS; THEIR PREPARATION OR CHEMICAL WORKING-UP; COMPOSITIONS BASED THEREON
- C08K—Use of inorganic or non-macromolecular organic substances as compounding ingredients
- C08K5/00—Use of organic ingredients
- C08K5/04—Oxygen-containing compounds
-
- C—CHEMISTRY; METALLURGY
- C08—ORGANIC MACROMOLECULAR COMPOUNDS; THEIR PREPARATION OR CHEMICAL WORKING-UP; COMPOSITIONS BASED THEREON
- C08L—COMPOSITIONS OF MACROMOLECULAR COMPOUNDS
- C08L95/00—Compositions of bituminous materials, e.g. asphalt, tar, pitch
Landscapes
- Chemical & Material Sciences (AREA)
- Health & Medical Sciences (AREA)
- Chemical Kinetics & Catalysis (AREA)
- Medicinal Chemistry (AREA)
- Polymers & Plastics (AREA)
- Organic Chemistry (AREA)
- Engineering & Computer Science (AREA)
- Civil Engineering (AREA)
- Materials Engineering (AREA)
- Structural Engineering (AREA)
- Compositions Of Macromolecular Compounds (AREA)
- Road Paving Structures (AREA)
- Polyurethanes Or Polyureas (AREA)
Abstract
【解決手段】(A)アスファルト、(B)粘度低減剤、ならびに(C)ポリアルキレングリコールアリルエーテル(c1)由来の構成単位と、不飽和ジカルボン酸および/またはその無水物(c2)由来の構成単位と、芳香族ビニル化合物(c3)由来の構成単位とを有する共重合体を含有する改質アスファルト。
【選択図】なし
Description
また、エポキシ樹脂やウレタン樹脂などを用いてストレートアスファルトを改質する方法が知られている。しかしながら、ストレートアスファルトなどの非極性材料は、エポキシ樹脂やウレタン樹脂などの極性材料とは相溶性が悪く分離してしまうため、均質で固い硬化物が得られない。この原因は、上述したようにストレートアスファルトが脂肪族炭化水素化合物の集合体で、電荷的に分子内非極性であることによるもので、水と油とが混ざらないことと似た原因によると考えられている。
[1](A)アスファルト、(B)粘度低減剤、ならびに(C)ポリアルキレングリコールアリルエーテル(c1)由来の構成単位と、不飽和ジカルボン酸および/またはその無水物(c2)由来の構成単位と、芳香族ビニル化合物(c3)由来の構成単位とを有する共重合体を含有する改質アスファルト。
[3]前記アスファルト(A)が、JIS K2207で定められるブローンアスファルト(A2)である前記[1]に記載の改質アスファルト。
[5]下記(A)〜(E)を含有する主剤と、下記(F)を含有する硬化剤とからなる2液型樹脂組成物。(A)アスファルト、(B)粘度低減剤、(C)ポリアルキレングリコールアリルエーテル(c1)由来の構成単位と、不飽和ジカルボン酸および/またはその無水物(c2)由来の構成単位と、芳香族ビニル化合物(c3)由来の構成単位とを有する共重合体、(D)ポリオレフィンポリオール、(E)ポリエーテルポリオール、(F)ジイソシアネート。
[7]前記アスファルト(A)が、JIS K2207で定められるブローンアスファ
ルト(A2)である前記[5]に記載の2液型樹脂組成物。
[9]前記主剤が、さらに体質顔料(G)を含有する前記[5]〜[8]の何れかに記載の2液型樹脂組成物。
[11]鉄道の軌道充填材用である前記[5]〜[10]の何れかに記載の2液型樹脂組成物。
本発明の改質アスファルトは、アスファルト(A)、粘度低減剤(B)および共重合体(C)を含有する。また、任意成分として各種の添加剤を含有してもよい。
アスファルト(A)としては、ストレートアスファルト(A1)およびブローンアスファルト(A2)が挙げられる。なお、本発明において、ストレートアスファルトおよびブローンアスファルトとは、それぞれJIS K2207「石油アスファルト」で定められる「ストレートアスファルト」および「ブローンアスファルト」を指す。
(A1)としては、ストレートアスファルト40〜60が特に好ましい。
粘度低減剤(B)としては、例えば、プロセスオイル;脂肪酸エステル類;リン酸エステル類;エポキシエステル類;ジオクチルフタレート(DOP)、ジイソデシルフタレート(DIDP)、ジイソノニルフタレート(DINP)、ジヘプチルフタレート(DHP)、ブチルベンジルフタレート(BBP)などの芳香族二塩基酸エステル類;ジオクチルアジペート(DOA)、ジイソデシルアジペート(DIDA)、ジオクチルセバケート(DOS)などの脂肪族二塩基酸エステル類などの可塑剤が挙げられる。前記芳香族二塩基酸エステル類および脂肪族二塩基酸エステル類は、沸点および引火点が200℃以上であることが好ましい。
共重合体(C)は、ポリアルキレングリコールアリルエーテル(c1)由来の構成単位と、不飽和ジカルボン酸および/またはその無水物(c2)由来の構成単位と、芳香族ビニル化合物(c3)由来の構成単位とを有する共重合体である。
メチルスチレン、3−メチルスチレン、α−メチルスチレン、ビニルナフタリンが挙げられる。これらの中では、スチレンが特に好ましい。また、これらは1種単独で用いてもよく、2種以上を併用してもよい。
本発明において、改質アスファルト中の共重合体(C)の含有量は、通常は0.5〜7重量%、好ましくは0.5〜4重量%、より好ましくは0.5〜2重量%の範囲にある。共重合体(C)の含有量が前記範囲にあると、上述したようにアスファルト(A)の極性材料に対する分散性および相溶性が改善される。また、本発明で用いられる共重合体(C)と類似の構成を有する共重合体は通常はコストが高いために、アスファルトに多量に配合することができない。しかしながら、本発明で用いられる共重合体(C)は、前記のように少量でアスファルト(A)を改質することができ、極めてコストパフォーマンスに優れるのである。
レタン樹脂(多官能、高い水酸基価を有するポリエーテルポリオールのSP値は約14)などのSP値の高い合成樹脂に対しては、相溶性が非常に悪い(参考として示すなら、水のSP値は23.4、オイル成分のSP値は8〜10である)。
本発明の改質アスファルトには、本発明の目的を損なわない範囲で、必要に応じて、老化防止剤、難燃剤などの添加剤を配合してもよい。また、改質アスファルトの硬度を調整するために、石油樹脂、ロジン系樹脂、テルペン系樹脂、クマロン系樹脂、フェノール系樹脂、芳香族炭化水素樹脂、脂肪族炭化水素樹脂、脂環族炭化水素樹脂、およびこれらの水添樹脂類を配合してもよい。さらに、本発明の改質アスファルトを鉄道の軌道充填材の原料として使用する場合には、砂利などを配合してもよい。
本発明の改質アスファルトの製造条件は、上述の各成分の種類により適宜設定すればよい。例えば、アスファルト(A)としてストレートアスファルト40−60を用いる場合、ストレートアスファルト40−60と粘度低減剤(B)とを混合した際の液温が70〜75℃となるように調節すると、均質な混合物が得られる。前記範囲に液温を調節するには、例えば、ストレートアスファルト40−60の液温を80℃以上、粘度低減剤(B)の液温を60℃程度に設定すればよい。ストレートアスファルト40−60は液温が80℃以上であれば流動性を有するため、作業性が向上する。
本発明の改質アスファルトは、多官能で水酸基価(OHV)の高い(例えば、200以上)ポリエーテルポリオールなどの極性材料に対する分散性および相溶性が改善され、長期安定性に優れる。このため、後述するように鉄道の軌道充填材の原料として好適に用いることができる。
本発明の2液型樹脂組成物は、主剤と硬化剤とからなる。前記主剤は、アスファルト(A)、粘度低減剤(B)、共重合体(C)、ポリオレフィンポリオール(D)およびポリエーテルポリオール(E)を含有する。また、前記主剤は任意成分として体質顔料(G)を含有してもよく、さらに合成ゼオライト(H)を含有してもよい。また、前記硬化剤は、ジイソシアネート(F)を含有する。
本発明の2液型樹脂組成物を構成する主剤は、アスファルト(A)、粘度低減剤(B)、共重合体(C)、ポリオレフィンポリオール(D)およびポリエーテルポリオール(E)を必須成分として含有し、さらに体質顔料(G)および合成ゼオライト(H)を任意成分として含有してもよい。
する方法としては、例えば高速ディスパーなどを用いる方法が挙げられる。
アスファルト(A)としては、上述の改質アスファルトで用いられるアスファルト(A)と同様のアスファルトを用いることができる。
粘度低減剤(B)を用いる目的は、後述する体質顔料(G)などの無機粉末を多量に配合することによる2液型樹脂組成物を構成する主剤の粘度上昇を防ぐこと、および該樹脂組成物から得られる硬化物の硬化収縮を抑制することにある。
共重合体(C)は、上述の改質アスファルトで用いられる共重合体(C)と同様であり、ポリアルキレングリコールアリルエーテル(c1)由来の構成単位と、不飽和ジカルボン酸および/またはその無水物(c2)由来の構成単位と、芳香族ビニル化合物(c3)由来の構成単位とを有する共重合体である。
ポリオレフィンポリオール(D)は、非極性材料との相溶性に優れる。このため、2液型樹脂組成物から得られる硬化物において、ジイソシアネート(F)に対して非反応性のアスファルト(A)や粘度低減剤(B)の発汗を防止するためには組成上欠かすことができない成分である。
上述したように、ポリオレフィンポリオール(D)とアスファルト(A)とは優れた相溶性を示す。しかしながら、ジイソシアネート(F)と反応して硬化物の硬度を向上させるために配合される成分としてポリオレフィンポリオール(D)のみを用いるだけでは、軟質の硬化物しか得られないため、該硬化物を種々の用途に用いることは困難である。
ル(E)が上記主剤に配合される。
本発明の2液型樹脂組成物において、体質顔料(G)は、該樹脂組成物から得られる硬化物の機械強度の補強、硬化収縮の抑制、およびコスト低下の目的で用いられる。
応が進行するため、硬化収縮は避けられない。例えば、鉄道の軌道充填材のように、コンクリート構造物が有する一定容積の空隙に注入して使用される材料の場合には、硬化後の収縮は、硬化物内に残留応力を発生させ、(1)硬化物内に亀裂が生じる、(2)コンクリート構造物からの剥離が生じる、(3)空隙内において該材料が注入不充分となり隙間が生じる、などの原因になることがある。
本発明の2液型樹脂組成物において、主剤と硬化剤とを混合する段階において水分が混入し、該水分とジイソシアネート(F)との反応により炭酸ガスが発生し発泡することがある。しかしながら、任意成分として合成ゼオライト(H)を主剤に配合することで、水分が除去され、発泡を抑制防止することができる。
本発明において、ポリオレフィンポリオール(D)およびポリエーテルポリオール(E)と、ジイソシアネート(F)との架橋反応を促進するために、2液型樹脂組成物を構成する主剤に架橋反応触媒を添加してもよい。前記架橋反応触媒としては、アルキル酸エステル金属塩や塩基性化合物などのウレタン反応触媒、具体的にはジブチル錫ジラウレート、ジオクチル錫ジラウレート、ジオクチル錫マレート、オクチル酸鉛、トリエチレンジア
ミン、1,8−ジアザビシクロ(5,4,0)ウンデセン−7が挙げられる。
本発明の2液型樹脂組成物を構成する硬化剤は、ジイソシアネート(F)を含有する。ジイソシアネート(F)は、ポリオレフィンポリオール(D)およびポリエーテルポリオール(E)を架橋する架橋剤として用いられる。
本発明の2液型樹脂組成物は、通常は上述の主剤と硬化剤とから構成され、主剤と硬化剤とを公知の方法に準じて混合することにより硬化物を得ることができる。
また、本発明の2液型樹脂組成物を硬化して得られる硬化物は、例えば、鉄道の軌道充填材として好適に用いることができる。一例を挙げると、前記硬化物は、鉄道高架橋の橋面とレールとの間に設けられるコンクリート構造物を、該橋面に隙間無く据え付けるために用いられる。また、レールの熱膨張収縮や、曲線区間における車輌走行時の遠心力による横圧などによる荷重によってコンクリート構造物が破損することを防止するためにも用いられる。
[実施例1]
粘度低減剤(B):アロマ系プロセスオイル(出光興産製、ダイアナプロセスAC−12)(44.25重量部)をスチームジャケット付タンクに投入し、高速ディスパー(回転速度:1000〜1500rpm)で攪拌しながら約50℃に昇温し、続いて予め100℃に調整されたアスファルト(A):ストレートアスファルト40−60(55重量部)を該タンクに投入し、混合液を調製した。
実施例1において、アスファルト(A)としてブローンアスファルト20−30を用い、各配合成分を表1に記載の割合で用いたこと以外は実施例1と同様にして、改質ブローンアスファルトを得た。
実施例1において、各配合成分を表1に記載の割合で用いたこと以外は実施例1と同様にして、液化ストレートアスファルトを得た。
実施例2において、各配合成分を表1に記載の割合で用いたこと以外は実施例2と同様にして、液化ブローンアスファルトを得た。
以上の実施例で得られた改質アスファルト(改質ストレートアスファルト、改質ブローンアスファルト)、または比較例で得られた非改質アスファルト(液化ストレートアスファルト、液化ブローンアスファルト)165gと、3官能のポリエーテルポリオール(商品名:エクセノール400MP、旭硝子(株)製、水酸基価:400)45gとを混合して、試験用の小型高速ディスパーを用いて室温で30分間攪拌した後、さらに室温で7日間放置した。
実施例1で得られた改質ストレートアスファルト(30重量部)、粘度低減剤(B)としてアロマ系プロセスオイル(13重量部)、ポリオレフィンポリオール(D)としてポリブタジエンジオール(Poly−bd R45HT(出光興産(株)製)、数平均分子量2800、両末端に第一級水酸基を有する液状ポリブタジエン(水酸基数2))(7重量部)、ポリエーテルポリオール(E)としてポリオキシプロピレンエーテルポリオール(エクセノール400MP(旭ガラス(株)製)、数平均分子量420、水酸基数3)(8重量部)、体質顔料(G)として乾式粉砕重質炭酸カルシウム粉末(平均粒子径2μm)(40重量部)、架橋反応触媒としてジブチル錫ジラウレート(0.01重量部)を、配合用の容器に順次秤量した後、高速ディスパーで均質に攪拌した。
実施例3において、表2に記載の成分および配合割合で主剤を調製したこと以外は実施例3と同様にして、2液型樹脂組成物を得た。次いで、実施例3と同様にして硬化物を製造して評価を行った。
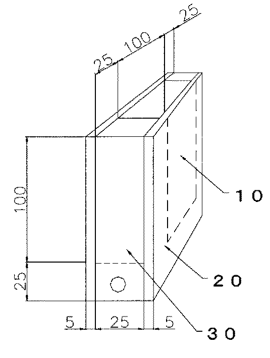
図1に示す高密度ポリエチレン製の3個の成型容器に2液型樹脂組成物を充填し、2日間、23.5℃かつ50%RHの恒温恒湿室で養生した。その後、前記成型容器から養生物を取出し、さらに23.5℃かつ50%RHの恒温恒湿室で2週間養生し、硬化物を製造した。前記硬化物を3枚製造して試験体とし、以下の評価試験によりこれを評価した。
2液型樹脂組成物から得られた硬化物の硬度は、日本ゴム協会規格SRIS−0101に準拠した硬度計を用いて、試験体1枚につき3点測定し、試験体3枚の合計9点測定した結果の平均値を採用した。
2液型樹脂組成物から得られた硬化物のヤング率は、JIS K6385に準拠したばね定数試験により得られたばね定数から、ヤング率に換算する方法により測定した。ヤング率の測定は、2液型樹脂組成物の硬化物の硬度をさらに定量的に判断するために実施したものである。なお、試験体3枚のヤング率を求め、結果はその平均値とした。
2液型樹脂組成物から得られた硬化物からの発汗性は、試験体を23.5℃かつ50%
RHの恒温恒湿室で3ヶ月間保管し、該硬化物からのアスファルトおよびプロセスオイルの浸出の有無を目視により経過観察することにより評価した。
20・・・高密度ポリエチレン板(150×125×5mm)
30・・・高密度ポリエチレン角棒(25mm角)
Claims (11)
- (A)アスファルト、
(B)粘度低減剤、ならびに
(C)ポリアルキレングリコールアリルエーテル(c1)由来の構成単位と、不飽和ジカルボン酸および/またはその無水物(c2)由来の構成単位と、芳香族ビニル化合物(c3)由来の構成単位とを有する共重合体
を含有する改質アスファルト。 - 前記アスファルト(A)が、JIS K2207で定められるストレートアスファルト(A1)である請求項1に記載の改質アスファルト。
- 前記アスファルト(A)が、JIS K2207で定められるブローンアスファルト(A2)である請求項1に記載の改質アスファルト。
- 前記粘度低減剤(B)が、プロセスオイルである請求項1〜3の何れかに記載の改質アスファルト。
- 下記(A)〜(E)を含有する主剤と、
下記(F)を含有する硬化剤とからなる2液型樹脂組成物。
(A)アスファルト、
(B)粘度低減剤、
(C)ポリアルキレングリコールアリルエーテル(c1)由来の構成単位と、不飽和ジカルボン酸および/またはその無水物(c2)由来の構成単位と、芳香族ビニル化合物(c3)由来の構成単位とを有する共重合体、
(D)ポリオレフィンポリオール、
(E)ポリエーテルポリオール、
(F)ジイソシアネート。 - 前記アスファルト(A)が、JIS K2207で定められるストレートアスファルト(A1)である請求項5に記載の2液型樹脂組成物。
- 前記アスファルト(A)が、JIS K2207で定められるブローンアスファルト(A2)である請求項5に記載の2液型樹脂組成物。
- 前記粘度低減剤(B)が、プロセスオイルである請求項5〜7の何れかに記載の2液型樹脂組成物。
- 前記主剤が、さらに体質顔料(G)を含有する請求項5〜8の何れかに記載の2液型樹脂組成物。
- 前記主剤が、さらに合成ゼオライト(H)を含有する請求項9に記載の2液型樹脂組成物。
- 鉄道の軌道充填材用である請求項5〜10の何れかに記載の2液型樹脂組成物。
Priority Applications (4)
| Application Number | Priority Date | Filing Date | Title |
|---|---|---|---|
| JP2008226853A JP5265993B2 (ja) | 2008-09-04 | 2008-09-04 | 改質アスファルトおよび2液型樹脂組成物 |
| US12/540,044 US7893139B2 (en) | 2008-09-04 | 2009-08-12 | Modified asphalt and two-component resin composition |
| RU2009132635/05A RU2442808C2 (ru) | 2008-09-04 | 2009-09-01 | Модифицированный нефтяной битум и двухкомпонентная смоляная композиция |
| CN2009101686915A CN101684199B (zh) | 2008-09-04 | 2009-09-01 | 改性沥青及二液型树脂组合物 |
Applications Claiming Priority (1)
| Application Number | Priority Date | Filing Date | Title |
|---|---|---|---|
| JP2008226853A JP5265993B2 (ja) | 2008-09-04 | 2008-09-04 | 改質アスファルトおよび2液型樹脂組成物 |
Publications (2)
| Publication Number | Publication Date |
|---|---|
| JP2010059313A true JP2010059313A (ja) | 2010-03-18 |
| JP5265993B2 JP5265993B2 (ja) | 2013-08-14 |
Family
ID=41726368
Family Applications (1)
| Application Number | Title | Priority Date | Filing Date |
|---|---|---|---|
| JP2008226853A Expired - Fee Related JP5265993B2 (ja) | 2008-09-04 | 2008-09-04 | 改質アスファルトおよび2液型樹脂組成物 |
Country Status (4)
| Country | Link |
|---|---|
| US (1) | US7893139B2 (ja) |
| JP (1) | JP5265993B2 (ja) |
| CN (1) | CN101684199B (ja) |
| RU (1) | RU2442808C2 (ja) |
Cited By (4)
| Publication number | Priority date | Publication date | Assignee | Title |
|---|---|---|---|---|
| JP2014077094A (ja) * | 2012-10-11 | 2014-05-01 | Yokohama Rubber Co Ltd:The | ウレタン接着剤組成物 |
| JP2020090607A (ja) * | 2018-12-05 | 2020-06-11 | 花王株式会社 | 再生アスファルト混合物及びその製造方法、並びにアスファルト混合物の再生方法 |
| JP2020523463A (ja) * | 2017-06-14 | 2020-08-06 | ビーエーエスエフ ソシエタス・ヨーロピアBasf Se | 熱硬化性反応性化合物を含むアスファルト組成物 |
| CN115516001A (zh) * | 2020-06-19 | 2022-12-23 | 巴斯夫欧洲公司 | 包含异氰酸酯和增塑剂的混合物作为性能添加剂的沥青组合物 |
Families Citing this family (9)
| Publication number | Priority date | Publication date | Assignee | Title |
|---|---|---|---|---|
| WO2013082255A1 (en) * | 2011-11-30 | 2013-06-06 | Henry Company Llc | Asphalt compositions having improved properties and related coatings and methods |
| CN102604520B (zh) * | 2011-12-23 | 2014-04-16 | 万华化学集团股份有限公司 | 沥青基反应型聚氨酯涂料及其制备方法和用途 |
| US9068129B2 (en) | 2012-09-20 | 2015-06-30 | Exxonmobil Research And Engineering Company | Upgrading properties of asphalts with wax |
| DE102014212999A1 (de) * | 2014-07-04 | 2016-01-07 | Henkel Ag & Co. Kgaa | Polyurethan-Kaschierklebstoff enthaltend Füllstoffe |
| CN104553130B (zh) * | 2015-01-23 | 2017-02-22 | 唐山东方雨虹防水技术有限责任公司 | 一种易熔型弹性体改性沥青防水卷材 |
| CN108558272B (zh) * | 2018-05-24 | 2020-10-09 | 浙江绣山园林建设有限公司 | 一种再生型道路冷补料 |
| CN110105911B (zh) * | 2019-05-05 | 2021-11-16 | 河北德瑞公路工程有限公司 | 一种常温路面用双组分液体灌缝胶及其制备方法 |
| KR20230106656A (ko) | 2020-11-12 | 2023-07-13 | 사빅 글로벌 테크놀러지스 비.브이. | 상용화제를 포함하는 개질 역청, 상용화제 및 이의 아스팔트, 루핑 또는 도로 적용예에의 용도 |
| CN113106806A (zh) * | 2021-04-26 | 2021-07-13 | 中化学交通建设集团第四工程有限公司 | 基于钢筋焊接网的连续配筋混凝土路面 |
Citations (4)
| Publication number | Priority date | Publication date | Assignee | Title |
|---|---|---|---|---|
| JPS6253371A (ja) * | 1985-08-31 | 1987-03-09 | Nichireki Chem Ind Co Ltd | 歴青入りポリウレタンとその製造方法 |
| JPS62218448A (ja) * | 1986-03-19 | 1987-09-25 | Toa Doro Kogyo Kk | アスフアルト・ポリオ−ル乳化物およびその製造方法 |
| JPH02228363A (ja) * | 1989-03-01 | 1990-09-11 | Mitsubishi Kasei Corp | アスファルト常温硬化合材およびその製造法 |
| JP2005179554A (ja) * | 2003-12-22 | 2005-07-07 | Kao Corp | セメントアスファルトグラウトモルタル用アスファルト乳剤及びその乳化剤 |
Family Cites Families (11)
| Publication number | Priority date | Publication date | Assignee | Title |
|---|---|---|---|---|
| US4530652A (en) * | 1984-01-12 | 1985-07-23 | Buck Ollie G | Asphalt composition |
| JPS61152764A (ja) | 1984-12-27 | 1986-07-11 | Nippon Yunikaa Kk | 改質アスフアルト用添加剤 |
| JPS6440871A (en) | 1987-08-06 | 1989-02-13 | Minolta Camera Kk | Fixing device |
| JPS6440866A (en) | 1987-08-07 | 1989-02-13 | Canon Kk | Transfer material separating method for image forming device |
| DE4226000A1 (de) * | 1992-08-06 | 1994-02-10 | Hoechst Ag | Modifizierte Bitumen, Verfahren zu ihrer Herstellung, ihre Verwendung sowie Löslichkeitsvermittler für plastifiziertes Polyvinylbutyral in Bitumen |
| JPH07118541A (ja) | 1993-10-22 | 1995-05-09 | Taisei Rotetsuku Kk | 改質アスファルト混合物 |
| MY132249A (en) * | 1995-02-17 | 2007-09-28 | Shell Int Research | Bituminous composition |
| RU2152965C1 (ru) * | 1998-11-25 | 2000-07-20 | Государственное предприятие РФ Центральное научно-конструкторское бюро | Способ получения модифицированного битума |
| JP4863237B2 (ja) | 1999-02-22 | 2012-01-25 | Jx日鉱日石エネルギー株式会社 | 排水性舗装用改質アスファルト組成物 |
| JP3798230B2 (ja) | 2000-07-06 | 2006-07-19 | 花王株式会社 | アスファルト乳化分散剤 |
| JP4046290B2 (ja) | 2004-11-24 | 2008-02-13 | 財団法人ひろしま産業振興機構 | 改質アスファルト、改質アスファルトの製造方法及びアスファルト混合物 |
-
2008
- 2008-09-04 JP JP2008226853A patent/JP5265993B2/ja not_active Expired - Fee Related
-
2009
- 2009-08-12 US US12/540,044 patent/US7893139B2/en active Active
- 2009-09-01 CN CN2009101686915A patent/CN101684199B/zh not_active Expired - Fee Related
- 2009-09-01 RU RU2009132635/05A patent/RU2442808C2/ru active
Patent Citations (4)
| Publication number | Priority date | Publication date | Assignee | Title |
|---|---|---|---|---|
| JPS6253371A (ja) * | 1985-08-31 | 1987-03-09 | Nichireki Chem Ind Co Ltd | 歴青入りポリウレタンとその製造方法 |
| JPS62218448A (ja) * | 1986-03-19 | 1987-09-25 | Toa Doro Kogyo Kk | アスフアルト・ポリオ−ル乳化物およびその製造方法 |
| JPH02228363A (ja) * | 1989-03-01 | 1990-09-11 | Mitsubishi Kasei Corp | アスファルト常温硬化合材およびその製造法 |
| JP2005179554A (ja) * | 2003-12-22 | 2005-07-07 | Kao Corp | セメントアスファルトグラウトモルタル用アスファルト乳剤及びその乳化剤 |
Cited By (5)
| Publication number | Priority date | Publication date | Assignee | Title |
|---|---|---|---|---|
| JP2014077094A (ja) * | 2012-10-11 | 2014-05-01 | Yokohama Rubber Co Ltd:The | ウレタン接着剤組成物 |
| JP2020523463A (ja) * | 2017-06-14 | 2020-08-06 | ビーエーエスエフ ソシエタス・ヨーロピアBasf Se | 熱硬化性反応性化合物を含むアスファルト組成物 |
| JP7242566B2 (ja) | 2017-06-14 | 2023-03-20 | ビーエーエスエフ ソシエタス・ヨーロピア | 熱硬化性反応性化合物を含むアスファルト組成物 |
| JP2020090607A (ja) * | 2018-12-05 | 2020-06-11 | 花王株式会社 | 再生アスファルト混合物及びその製造方法、並びにアスファルト混合物の再生方法 |
| CN115516001A (zh) * | 2020-06-19 | 2022-12-23 | 巴斯夫欧洲公司 | 包含异氰酸酯和增塑剂的混合物作为性能添加剂的沥青组合物 |
Also Published As
| Publication number | Publication date |
|---|---|
| CN101684199A (zh) | 2010-03-31 |
| JP5265993B2 (ja) | 2013-08-14 |
| US20100056674A1 (en) | 2010-03-04 |
| RU2009132635A (ru) | 2011-03-10 |
| US7893139B2 (en) | 2011-02-22 |
| CN101684199B (zh) | 2012-04-25 |
| RU2442808C2 (ru) | 2012-02-20 |
Similar Documents
| Publication | Publication Date | Title |
|---|---|---|
| JP5265993B2 (ja) | 改質アスファルトおよび2液型樹脂組成物 | |
| KR102119728B1 (ko) | 라텍스 수지를 포함하는 방수아스팔트(lma) 콘크리트 조성물 및 이의 시공방법 | |
| RU2190002C2 (ru) | Композиция для покрытий | |
| KR100830254B1 (ko) | 아스팔트 바인더 또는 루핑 조성물에 이용하기 위한 중합체개질 역청 조성물 | |
| CN107151452B (zh) | 沥青结合料组合物 | |
| US9688883B2 (en) | Method for making asphalt compositions and substrates coated therewith having improved properties | |
| KR102119736B1 (ko) | Sis, sebs, 재생아스팔트 순환골재 및 개선된 골재 입도의 미분말 골재를 포함하는 도로포장용 개질아스팔트 콘크리트 조성물 및 이의 시공방법 | |
| JP2011127288A (ja) | 屋外施設用舗装体の製法およびそれに用いられる表面仕上げ材、並びにそれによって得られる屋外施設用舗装体 | |
| CN1954033A (zh) | 用于地沥青粘合剂或屋面组合物的聚合物改质沥青组合物 | |
| KR102119756B1 (ko) | Sis, sebs 및 개선된 골재 입도의 미분말 골재를 포함하는 아스팔트 도막 방수제 조성물 및 이의 시공방법 | |
| JP6244848B2 (ja) | てん充材組成物、及び、それを用いたスラブ軌道のセメントアスファルトモルタル層の補修方法 | |
| JP5014039B2 (ja) | 湿気硬化型組成物及び湿気硬化型シーリング材 | |
| RU2332435C1 (ru) | Композиция для покрытий | |
| JP4902255B2 (ja) | 防水・止水材用改質アスファルト組成物、およびその製造方法 | |
| KR102119742B1 (ko) | Sis, sebs 및 개선된 골재 입도의 미분말 골재를 포함하는 저소음 배수성 복층 아스팔트 콘크리트 조성물 및 이의 시공방법 | |
| AU2004251888B2 (en) | Asphalt-epoxy resin compositions | |
| KR101186971B1 (ko) | 노후도로 보수용 초속건성 아스팔트 우레탄 바인더 및 그 제조방법 | |
| EP1792940B1 (en) | Acrylic sol composition | |
| JP7620421B2 (ja) | アスファルト改質剤 | |
| KR102119732B1 (ko) | Sis, sebs 및 개선된 골재 입도의 미분말 골재를 포함하는 도로포장용 개질아스팔트 콘크리트 조성물 및 이의 시공방법 | |
| KR102132607B1 (ko) | Sebs를 이용한 고분자 개질 쇄석 매스틱 아스팔트 콘크리트(psma) 조성물 및 이의 시공방법 | |
| TW201819531A (zh) | 版式軌道之修補材料、硬化體、版式軌道之修補方法、版式軌道及樹脂組成物 | |
| JP6842262B2 (ja) | ウレタン組成物および湿気硬化型ポリウレタン組成物 | |
| JPS5941501A (ja) | ポリウレタン舗装材 | |
| KR102119747B1 (ko) | Sis, sebs, 재생아스팔트 순환골재 및 개선된 골재 입도의 미분말 골재를 포함하는 중온아스팔트 콘크리트 조성물 및 이의 시공방법 |
Legal Events
| Date | Code | Title | Description |
|---|---|---|---|
| A621 | Written request for application examination |
Free format text: JAPANESE INTERMEDIATE CODE: A621 Effective date: 20110817 |
|
| RD02 | Notification of acceptance of power of attorney |
Free format text: JAPANESE INTERMEDIATE CODE: A7422 Effective date: 20120223 |
|
| A977 | Report on retrieval |
Free format text: JAPANESE INTERMEDIATE CODE: A971007 Effective date: 20130124 |
|
| A131 | Notification of reasons for refusal |
Free format text: JAPANESE INTERMEDIATE CODE: A131 Effective date: 20130129 |
|
| A521 | Request for written amendment filed |
Free format text: JAPANESE INTERMEDIATE CODE: A523 Effective date: 20130325 |
|
| TRDD | Decision of grant or rejection written | ||
| A01 | Written decision to grant a patent or to grant a registration (utility model) |
Free format text: JAPANESE INTERMEDIATE CODE: A01 Effective date: 20130416 |
|
| A61 | First payment of annual fees (during grant procedure) |
Free format text: JAPANESE INTERMEDIATE CODE: A61 Effective date: 20130502 |
|
| R150 | Certificate of patent or registration of utility model |
Free format text: JAPANESE INTERMEDIATE CODE: R150 Ref document number: 5265993 Country of ref document: JP Free format text: JAPANESE INTERMEDIATE CODE: R150 |
|
| R250 | Receipt of annual fees |
Free format text: JAPANESE INTERMEDIATE CODE: R250 |
|
| R250 | Receipt of annual fees |
Free format text: JAPANESE INTERMEDIATE CODE: R250 |
|
| R250 | Receipt of annual fees |
Free format text: JAPANESE INTERMEDIATE CODE: R250 |
|
| R250 | Receipt of annual fees |
Free format text: JAPANESE INTERMEDIATE CODE: R250 |
|
| R250 | Receipt of annual fees |
Free format text: JAPANESE INTERMEDIATE CODE: R250 |
|
| R250 | Receipt of annual fees |
Free format text: JAPANESE INTERMEDIATE CODE: R250 |
|
| R250 | Receipt of annual fees |
Free format text: JAPANESE INTERMEDIATE CODE: R250 |
|
| R250 | Receipt of annual fees |
Free format text: JAPANESE INTERMEDIATE CODE: R250 |
|
| LAPS | Cancellation because of no payment of annual fees |
