JP2010058959A - 吊りクランプのジョー - Google Patents

吊りクランプのジョー Download PDF

Info

Publication number
JP2010058959A
JP2010058959A JP2008228898A JP2008228898A JP2010058959A JP 2010058959 A JP2010058959 A JP 2010058959A JP 2008228898 A JP2008228898 A JP 2008228898A JP 2008228898 A JP2008228898 A JP 2008228898A JP 2010058959 A JP2010058959 A JP 2010058959A
Authority
JP
Japan
Prior art keywords
jaw
tooth
suspension clamp
cam
work
Prior art date
Legal status (The legal status is an assumption and is not a legal conclusion. Google has not performed a legal analysis and makes no representation as to the accuracy of the status listed.)
Granted
Application number
JP2008228898A
Other languages
English (en)
Other versions
JP5000610B2 (ja
JP2010058959A5 (ja
Inventor
Hatsuo Tsuyama
初雄 津山
Kentaro Hashigami
健太郎 橋上
Current Assignee (The listed assignees may be inaccurate. Google has not performed a legal analysis and makes no representation or warranty as to the accuracy of the list.)
Eagle Clamp Co Ltd
Original Assignee
Eagle Clamp Co Ltd
Priority date (The priority date is an assumption and is not a legal conclusion. Google has not performed a legal analysis and makes no representation as to the accuracy of the date listed.)
Filing date
Publication date
Application filed by Eagle Clamp Co Ltd filed Critical Eagle Clamp Co Ltd
Priority to JP2008228898A priority Critical patent/JP5000610B2/ja
Publication of JP2010058959A publication Critical patent/JP2010058959A/ja
Publication of JP2010058959A5 publication Critical patent/JP2010058959A5/ja
Application granted granted Critical
Publication of JP5000610B2 publication Critical patent/JP5000610B2/ja
Active legal-status Critical Current
Anticipated expiration legal-status Critical

Links

Images

Landscapes

  • Load-Engaging Elements For Cranes (AREA)

Abstract

【課題】吊りクランプのジョーにおいて最外周側の歯山に集中荷重が作用して破損する現象が生ずることを防止する。
【解決手段】平鋼板や形鋼などのワークをカムとジョーとの間に挟んで吊り上げるように構成された吊りクランプにおいて、ジョー19のワーク当接面に四角錐からなる綾目状のローレット歯14が形成されている。四角錐からなる綾目状のローレット歯14は一つ一つが独立しており、しかも各々の歯底面積が大きく形成されるので、ジョーとカムとの間にワークを挟んで把持したときに外周側など一部の歯に集中荷重が作用した場合であっても、旋状山に比較して荷重の分散効果が大きいため、歯山の破損を防止して耐用性を高める効果がある。
【選択図】図2

Description

本発明は、平鋼板や形鋼などのワークをカムとジョーとの間に挟んで吊り上げるように構成された吊りクランプに関し、より詳しくは吊りクランプのジョーの新規な歯形状に関する。
平鋼板や形鋼などのワークを吊り上げるために用いられる各種の吊りクランプは、カムとジョー(受け金とも呼ばれる。また、ネジ式クランプでは締付パッドとして構成されることもある。)で掴んだワークの吊り荷重(負荷)が増えるに従いリンク機構による倍力作用とカム機構を通じて締付力が自動的に増加し、カムがワークに食い込んでワークを掴む構造を有している。このような構造の吊りクランプは周知である(たとえば下記特許文献1)。
特開2006−347716号公報(図1,図2)
従来の吊りクランプにおけるジョーの表面には、カムとの間に挟むワークに対する把持力を高めるために、二山または三山からなる旋状の歯山が同心円状に形成されている。図3,図4には表面に旋状の歯山A,B,Cが設けられた従来のジョーの一例が示されている。歯山A,B,Cの断面は略三角形であり、歯頂点Dをセンターとして内側および外側の傾斜角θがいずれも45度であり、したがって歯山角度は2θ=90度である。また、歯山A,B,Cは同一平面E上にある。
このような従来のジョーを用いてワークをカムとの間に把持して吊り上げたときに、ワークに捩れや傾きが生ずると、ジョーの表面(歯山)に均一にワークが当接せず、特に最外周に位置する歯山に集中荷重が作用して破損する現象が頻繁に起こっている。また、歯山が連続しているため、一点に荷重が集中的に作用するとその部分だけでなくその周りにも破損が波及してしまい、結果として大きな破損が生ずることになっていた。
したがって、本発明の課題は、吊りクランプにおけるジョーの歯山の破損を防止して耐用性を高めることにある。
この課題を解決するため、請求項1に係る本発明は、平鋼板や形鋼などのワークをカムとジョーとの間に挟んで吊り上げるように構成された吊りクランプにおいて、ジョーのワーク当接面に四角錐からなる綾目状のローレット歯が形成されてなることを特徴とする吊りクランプのジョーである。
本発明によれば、吊りクランプにおいて、ジョーのワーク当接面に形成される歯が、従来の同心状に形成される旋状山ではなく、四角錐からなる綾目状のローレット歯として形成されている。四角錐からなる綾目状のローレット歯は一つ一つが独立しており、しかも各々の歯底面積が大きく形成されるので、ジョーとカムとの間にワークを挟んで把持したときに外周側など一部の歯に集中荷重が作用した場合であっても、旋状山に比較して荷重の分散効果が大きい。したがって、歯山の破損を防止して耐用性を高める効果がある。
図1は、本発明が対象とする吊りクランプの一例として、特に平鋼板や形鋼などのワークの垂直面部分をその両側からクランプするに適した縦吊用クランプ10を示す。このクランプ10は、各々下方に延長する脚部12および13の間に略逆U字形の開口(ワーク挿入口)を備えたクランプ本体11を有する。脚部12には、リンクアーム24の下端に連結されたカム20がワーク挿入口に突出可能に設けられ、脚部13にはジョー(旋回顎)19がワーク挿入口に臨んで回転自在に設けられている。ワーク挿入口にワークWを挿入した状態で吊環23のクレーンのフックなどを挿入して吊り上げると、リンクアーム24を介してカム20がワーク挿入口に突出し、ジョー19との間にワークWを所定の締付力で把持する。
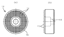
図2はジョー19についての本発明実施例を示す。このジョー19の表面(ワーク当接面)には正四角錐からなる綾目状のローレット歯14が形成されている。該ワーク当接面の周縁部は所定角度の傾斜面16となるように面取りされている。正四角錐からなる綾目状のローレット歯14は一つ一つが独立しているので、従来の旋状山(図4,図5)のように一点に荷重が集中することなく複数の歯14に荷重を分散させることができ、しかも、一つの歯14が破損してもそれが他の歯に波及することがない。
また、ジョー19は回転自在に取り付けられており、図2(a)および図3(a)は各ローレット歯14が正面視正方形状に見える状態で使用される場合を示し、図3(d)は各ローレット歯14が正面視菱形状に見える状態で使用される場合を示している。図3(d)は図3(a)から45度ジョー19が回転した状態である。図3(a)の状態でローレット歯14の頂点(歯先)に荷重が下向きに作用した場合、歯底の長さX1はローレット歯14の正方形状底面の一辺の長さに等しい(図3(c))が、図3(d)の状態でローレット歯14の頂点に荷重が下向きに作用した場合は、歯底の長さX2はローレット歯14の正方形状底面の一辺の長さの1.414倍の長さとなり(X2=X1×1.414)、破断に対する強度が大きく発揮され、破損しにくくなる。すなわち、ローレット歯14の頂点に荷重が下向きに作用した場合の歯底の長さXは、ジョー19の回転角度位置に応じてX1≦X≦X2の範囲で変化する。
以上において本発明を図示実施例に基づいて詳細に説明したが、本発明は図示実施例に限定されるものではなく、特許請求の範囲の記載から把握される発明の範囲内において種々の変形態様を取ることができる。たとえば、図示実施例ではジョー19のセンターに、ジョー19をクランプ10の脚部13に回動自在に取り付けるための取付穴18が形成されているが、これは本発明の主題と直接関係するものではなく、本発明をネジ式クランプの締付パッドなどに適用する実施形態においては必ずしも必要ではない。また、ジョー19の高さ(厚み)などの寸法は任意に設定し得るものであり、その形状も図示実施形態の形状に限定されることなく円筒形や段付き形状等任意に設定することができる。
本発明の実施例によるジョーが適用される一例としての縦吊用クランプの負荷状態図である。 本発明の一実施例によるジョーの平面図(a)および側面図(b)である。 この実施例のジョーの一回転角度位置における正面図(a)、一つのローレット歯の拡大正面図(b)および拡大側面図(c)ならびにこの回転角度位置から45度回転した角度位置における正面図(d)、一つのローレット歯の拡大正面図(e)および拡大側面図(f)である。 従来のジョー形状を示す平面図(a)および側面図(b)である。 図4の従来のジョーの拡大断面図である。
符号の説明
10 縦吊用クランプ
11 クランプ本体
12,13 脚部
14 四角錐からなる綾目状のローレット歯
15 ローレット歯の頂点(歯先)
16 周縁部の傾斜面
18 取付穴
19 ジョー
20 カム
23 吊環
24 リンクアーム

Claims (1)

  1. 平鋼板や形鋼などのワークをカムとジョーとの間に挟んで吊り上げるように構成された吊りクランプにおいて、ジョーのワーク当接面に四角錐からなる綾目状のローレット歯が形成されてなることを特徴とする吊りクランプのジョー。
JP2008228898A 2008-09-05 2008-09-05 吊りクランプ Active JP5000610B2 (ja)

Priority Applications (1)

Application Number Priority Date Filing Date Title
JP2008228898A JP5000610B2 (ja) 2008-09-05 2008-09-05 吊りクランプ

Applications Claiming Priority (1)

Application Number Priority Date Filing Date Title
JP2008228898A JP5000610B2 (ja) 2008-09-05 2008-09-05 吊りクランプ

Publications (3)

Publication Number Publication Date
JP2010058959A true JP2010058959A (ja) 2010-03-18
JP2010058959A5 JP2010058959A5 (ja) 2011-02-17
JP5000610B2 JP5000610B2 (ja) 2012-08-15

Family

ID=42186234

Family Applications (1)

Application Number Title Priority Date Filing Date
JP2008228898A Active JP5000610B2 (ja) 2008-09-05 2008-09-05 吊りクランプ

Country Status (1)

Country Link
JP (1) JP5000610B2 (ja)

Citations (5)

* Cited by examiner, † Cited by third party
Publication number Priority date Publication date Assignee Title
JPS59130883U (ja) * 1983-09-27 1984-09-03 象印チエンブロツク株式会社 吊下げクランプ
JPH0733381A (ja) * 1993-07-16 1995-02-03 Eagle Kuranpu Kk 特に角コラム用継手の吊揚に適したクランプ
JPH10126874A (ja) * 1996-10-23 1998-05-15 Kenwood Corp マイクロフォンクリップ
JP2006347716A (ja) * 2005-06-17 2006-12-28 Eagle Kuranpu Kk 吊りクランプの履歴表示装置
JP3141398U (ja) * 2008-02-21 2008-05-01 イーグルクランプ株式会社 吊りクランプの歯形構造

Patent Citations (5)

* Cited by examiner, † Cited by third party
Publication number Priority date Publication date Assignee Title
JPS59130883U (ja) * 1983-09-27 1984-09-03 象印チエンブロツク株式会社 吊下げクランプ
JPH0733381A (ja) * 1993-07-16 1995-02-03 Eagle Kuranpu Kk 特に角コラム用継手の吊揚に適したクランプ
JPH10126874A (ja) * 1996-10-23 1998-05-15 Kenwood Corp マイクロフォンクリップ
JP2006347716A (ja) * 2005-06-17 2006-12-28 Eagle Kuranpu Kk 吊りクランプの履歴表示装置
JP3141398U (ja) * 2008-02-21 2008-05-01 イーグルクランプ株式会社 吊りクランプの歯形構造

Also Published As

Publication number Publication date
JP5000610B2 (ja) 2012-08-15

Similar Documents

Publication Publication Date Title
US10144118B2 (en) Driving portion of wrench
JP3179866U (ja) ネジ式クランプの受け金
TWI714436B (zh) 開口扳手的不對稱結構
US8894335B2 (en) Slider locknut
JP3210799U (ja) ハンドツール回転部
JP2013008619A (ja) 電子機器の端子装置
US20100303580A1 (en) Unlocking-resistant and loosening-resistant nut assembly
JP5000610B2 (ja) 吊りクランプ
EP1955872B1 (en) Spoke
US7610833B2 (en) Thread gripping tool
JP3179867U (ja) 吊りクランプのジョー
CN112025591A (zh) 套筒扳手的驱动头结构
JP2010058959A5 (ja)
TWI312716B (ja)
EP1655499A3 (en) Positive Hold Weld Stud
KR20200140760A (ko) 자동 원점복귀가 가능한 스위블 패드
JP3141398U (ja) 吊りクランプの歯形構造
JP2010058960A (ja) 吊りクランプのジョー
JP3186818U (ja) 吊りクランプのジョー
CN102297191B (zh) 防滑螺钉
AU2009100347A4 (en) Unlocking-resistant and loosening-resistant nut assembly
CN104080578A (zh) 开口扳手头
JP7186435B2 (ja) 穴吊りクランプ
JP3138891U (ja) スチールワイヤロープ用挟持具
CN212893502U (zh) 一种用于吊运复合板的钢板钳

Legal Events

Date Code Title Description
A521 Request for written amendment filed

Free format text: JAPANESE INTERMEDIATE CODE: A523

Effective date: 20101221

A621 Written request for application examination

Free format text: JAPANESE INTERMEDIATE CODE: A621

Effective date: 20101221

A871 Explanation of circumstances concerning accelerated examination

Free format text: JAPANESE INTERMEDIATE CODE: A871

Effective date: 20101221

A975 Report on accelerated examination

Free format text: JAPANESE INTERMEDIATE CODE: A971005

Effective date: 20110705

A131 Notification of reasons for refusal

Free format text: JAPANESE INTERMEDIATE CODE: A131

Effective date: 20110802

A131 Notification of reasons for refusal

Free format text: JAPANESE INTERMEDIATE CODE: A131

Effective date: 20111213

A521 Request for written amendment filed

Free format text: JAPANESE INTERMEDIATE CODE: A523

Effective date: 20120116

TRDD Decision of grant or rejection written
A01 Written decision to grant a patent or to grant a registration (utility model)

Free format text: JAPANESE INTERMEDIATE CODE: A01

Effective date: 20120508

A01 Written decision to grant a patent or to grant a registration (utility model)

Free format text: JAPANESE INTERMEDIATE CODE: A01

A61 First payment of annual fees (during grant procedure)

Free format text: JAPANESE INTERMEDIATE CODE: A61

Effective date: 20120516

R150 Certificate of patent or registration of utility model

Free format text: JAPANESE INTERMEDIATE CODE: R150

Ref document number: 5000610

Country of ref document: JP

Free format text: JAPANESE INTERMEDIATE CODE: R150

FPAY Renewal fee payment (event date is renewal date of database)

Free format text: PAYMENT UNTIL: 20150525

Year of fee payment: 3

R250 Receipt of annual fees

Free format text: JAPANESE INTERMEDIATE CODE: R250

R250 Receipt of annual fees

Free format text: JAPANESE INTERMEDIATE CODE: R250

R250 Receipt of annual fees

Free format text: JAPANESE INTERMEDIATE CODE: R250

R250 Receipt of annual fees

Free format text: JAPANESE INTERMEDIATE CODE: R250

R250 Receipt of annual fees

Free format text: JAPANESE INTERMEDIATE CODE: R250

R250 Receipt of annual fees

Free format text: JAPANESE INTERMEDIATE CODE: R250

R250 Receipt of annual fees

Free format text: JAPANESE INTERMEDIATE CODE: R250

R250 Receipt of annual fees

Free format text: JAPANESE INTERMEDIATE CODE: R250

R250 Receipt of annual fees

Free format text: JAPANESE INTERMEDIATE CODE: R250

R250 Receipt of annual fees

Free format text: JAPANESE INTERMEDIATE CODE: R250

R250 Receipt of annual fees

Free format text: JAPANESE INTERMEDIATE CODE: R250