JP2010057372A - なめこの栽培方法及びなめこ栽培用短原木 - Google Patents

なめこの栽培方法及びなめこ栽培用短原木 Download PDF

Info

Publication number
JP2010057372A
JP2010057372A JP2008223395A JP2008223395A JP2010057372A JP 2010057372 A JP2010057372 A JP 2010057372A JP 2008223395 A JP2008223395 A JP 2008223395A JP 2008223395 A JP2008223395 A JP 2008223395A JP 2010057372 A JP2010057372 A JP 2010057372A
Authority
JP
Japan
Prior art keywords
short
log
logs
humidity
cultivating
Prior art date
Legal status (The legal status is an assumption and is not a legal conclusion. Google has not performed a legal analysis and makes no representation as to the accuracy of the status listed.)
Granted
Application number
JP2008223395A
Other languages
English (en)
Other versions
JP4692910B2 (ja
Inventor
Hiroe Ito
弘栄 伊藤
Current Assignee (The listed assignees may be inaccurate. Google has not performed a legal analysis and makes no representation or warranty as to the accuracy of the list.)
Individual
Original Assignee
Individual
Priority date (The priority date is an assumption and is not a legal conclusion. Google has not performed a legal analysis and makes no representation as to the accuracy of the date listed.)
Filing date
Publication date
Application filed by Individual filed Critical Individual
Priority to JP2008223395A priority Critical patent/JP4692910B2/ja
Publication of JP2010057372A publication Critical patent/JP2010057372A/ja
Application granted granted Critical
Publication of JP4692910B2 publication Critical patent/JP4692910B2/ja
Expired - Fee Related legal-status Critical Current
Anticipated expiration legal-status Critical

Links

Images

Landscapes

  • Mushroom Cultivation (AREA)

Abstract

【課題】この発明は、一夏越しの種原木からの通常のようになめこを生産することを目的としたものである。
【解決手段】この発明は、長尺に切断した原木へ縦横に植菌し、該植菌した原木を積み上げ、シートを掛けて温度20℃〜27℃、湿度70%〜80%で2ヶ月〜3ヶ月養生した後、前記原木を15cm〜25cmに切断して短原木とし、該短原木を地上へ密に並列し、シートを掛けて、温度20℃〜27℃、湿度70%〜80%に調整した状態で1ヶ月前後養生し、前記養生を終了した短原木を直射日光の少ない地上へ間隔をおいて並べることを特徴としたなめこの栽培方法により、目的を達成した。
【選択図】図1

Description

この発明は、原木に植菌した後前後2回に亘って養生し、短原木としてなめこを栽培することを特徴としたなめこの栽培方法及びなめこ栽培用短原木に関する。
従来水分調節した原木を90cm〜120cmに切断した後、前記原木にシイタケ菌を接種した成型駒を用いて植菌した後、ホダ場などに仮伏せ又は本伏せして原木への活着を図り、爾後常法により芽出し作業を経てシイタケを収穫する方法が知られていた。
またなめこの栽培においては、水分を調節した短原木に植菌し、これを栽培地に配置(一部埋める)する方法が一般的であった。
特開平9−74901 特開平2−23814 特公平7−108155
従来シイタケの栽培においては、原木を伐採し、これを90cm〜120cmの長さに切断し、積み上げて所定の水分にした後シイタケ菌を植菌した後、仮伏せや、本伏せしてシイタケ菌の原木へ活着と蔓延を図り、爾後常法に従って浸水、水切り、芽出し作業を経てシイタケを収穫していたが、通常植菌後2夏を越して収穫していた(特許文献1)。
前記はシイタケの収穫であるが、なめこの場合にもほぼ同様に植菌後2夏を越すのが通常の栽培方法とされていた。
またシイタケの場合には、特別の成型駒又はオガ菌を用いる「年内発生法」が知られていたが(特許文献1)、なめこに関しては、2夏越しに収穫されるものが多かった。この場合には、一年前の春に準備するものとされていた。
またなめこの場合に、原木の水分が少なくなってから(例えば伐採後1ヶ月以上放置)短尺に切断して植菌する場合には、なめこ菌の発育が往々雑菌に阻害され、なめこ菌の発育を害するおそれがあって、収穫量が不安定になるおそれがあり、年により場所により収穫量に大差を生じる場合があった。
前記各問題点について研究、開発の結果、収穫の不安定性を改善し、かつ年内発生法を確立したのである。
即ち収穫の不安定性については、雑菌の発生による植菌発育の阻害が第1であることを究明したので、雑菌の繁殖を阻止する為に、伐採後、生木の間に植菌することにより、雑菌の繁殖を十分阻止できることが判明した。そこで伐採後30日以内(例えば10日〜20日)に所定の長尺に切断して原木とし、この原木に所定の植菌(例えば左右間隔5cm、上下間隔17cm)をすることにより、雑菌の繁殖を防止し、なめこ菌を繁殖させることに成功した。前記は生木の樹水に含まれる殺菌成分が雑菌の繁殖を防止するが、なめこ菌には無害であることが判明した。元来なめこの繁殖に適するはんの木、柳、桜(原木)などの樹水に含まれた殺菌性は、なめこ菌の繁殖に悪影響を与えないものと認められた。
即ちこの発明は、長尺に切断した原木へ縦横に植菌し、該植菌した原木を積み上げ、シートを掛けて温度20℃〜27℃、湿度70%〜80%で2ヶ月〜3ヶ月養生した後、前記原木を15cm〜25cmに切断して短原木とし、該短原木を地上へ密に並列し、シートを掛けて、温度20℃〜27℃、湿度70%〜80%に調整した状態で1ヶ月前後(例えば25日〜35日間)養生し、前記養生を終了した短原木を直射日光の少ない地上へ間隔をおいて並べることを特徴としたなめこの栽培方法である。
次に他の発明は、15cm〜25cmの短尺に切断した短原木へ縦横に植菌し、該植菌した短原木を積み上げ、シートを掛けて温度20℃〜27℃、湿度70%〜80%で2ヶ月〜3ヶ月養生した後、前記短原木を地上へ密に並列してシートを掛けて、温度20℃〜27℃、湿度70%〜80%に調整した状態で1ヶ月前後(例えば25日〜35日間)養生し、前記養生を終了した短原木を直射日光の少ない地上へ間隔をおいて並べることを特徴としたなめこの栽培方法である。前記温度については好ましい温度であり、20℃以下の温度が続いたとしても長く(10日以上)続かなければ支障はない。然し乍ら27℃を越える温度が1日以上続くと支障を来すことがある。元来高温には弱く、低温には強い特性がある。また湿度についても、好ましい湿度を示すもので、一時的(例えば2日〜5日連続して)に湿度が少なく(70%未満)、又は湿度が多くても(80%を越える)支障はない。例えば1週間以上連続して湿度が70%未満であったり、80%を越える場合には、菌糸の繁殖に支障を来す場合がある。
元来山野に自然栽培するのであるから、最良の温度及び湿度を継続することはむつかしい。例えば山中において、昼間最良の温度(例えば20℃〜27℃)に保てたとしても、夜間は低温度(例えば10℃〜20℃)になることは珍しくない。然し乍ら前記適温又は適湿度を外れる状態が10時間以上継続しないことが望ましい。特に温度は27℃を越える温度が1日以上継続すると、支障を来すことが多く、2日以上も継続すると、確実に支障を来すことが認められた。前記支障を来す程度と時間の関係は、原木の状態によって異なる。
また、長尺の原木は、直径10cm〜20cm、長さ80cm〜110cmとし、短原木は長さ15cm〜25cmとしたものであり、短原木の下部を土又は原木の鋸屑に埋めた状態で縦又は横にして篭に入れ、前記篭の下部を地中に埋めるものであり、請求項1又は2記載の2回の養生を経たことを特徴とするなめこ栽培用短原木であり、請求項1又は2記載の2回の養生を経た短原木を、土と共に篭に入れたことを特徴とするなめこ栽培用短原木である。
前記において、養生時の温度が27℃以上又は20℃未満になると、なめこ菌の菌糸の繁殖に悪影響を及ぼすのでこの範囲とし、湿度は70%〜80%が適当である。前記温度が28℃以上になると、菌が弱化し、遂には死滅するおそれがあり、温度が20℃以下になると、菌の繁殖が遅くなる。
前記における原木の長さは80cm〜110cm位が取扱い上便利であり、短原木を15cm〜25cmにするのは、最も効率よく繁殖するからである。更に繁殖地に並列して若干回転させる場合においても、長さが15cm〜25cmならば、容易に取り扱うことができると共に、木端面の利用も合理的である。
なめこの原木としては、はんの木又は柳が好ましい。このような木は芯がなく、栄養分の保存が有効にできるが、従来使用している他の木も使用することができる。
前記発明における篭とは通気性、通水性容器であって、竹製はもとより合成樹脂製、木製でも使用することができる。
前記発明において、養生を2回に分けて行うのは、第1回目の養生は、全体として原木の状態を均質(例えば水分含有量)として、なめこ菌の繁殖下地を十分作ることを目的としている。第2回目の養生は、原木の周囲になめこ菌の菌糸を十分繁殖させる為である。
また長尺の原木で植菌し、養生後短尺に切断するのは、取扱いは長尺の方がよいが、なめこの繁殖には短尺がよいからである。ただし、原木の直径が大きいと(例えば直径20cm〜30cm)、長尺では取扱いが不便になるからである。また当初から短尺にすると、取扱い上、長尺より労力が掛かるからである。
次に本伏せにおいて、種原木を地中に埋めるのは、水分の自動調整(乾燥防止)を行わせる為である。更に養生地にシートを被せるのは、温、湿度の調整と、菌糸の繁殖を助長させ、原木の表面へ全般的に菌糸が繁殖する為である。
前記において、長尺を80cm〜110cmとするのは、専ら取扱い上の合理化を測るもので、一人(太い場合は2人)で持ち運びできることも重要な要件となるが、必ずしも前記長さに限定されるものでもない。また直径10cm〜30cmが最も多いが、直径30cmを越える(例えば40cm)場合も同様の処理で種原木を作ることができるが、直径が大きくなっても、その割合で収量が多くなるものでもない。そこで取扱い上(収量を勘案しても)、直径10cm〜30cmが好ましい。
この発明によれば、長尺の原木に植菌した後養生するので、比較的少労力で容易に養生することができる効果がある。
また前記長尺の原木の養生後に適宜切断して短原木とし、再び養生するが、この場合には積み上げることなく各短原木に目が届くので、管理においても手入れが均一になり、同一品質の種原木を得ることができる効果がある。
前記二度目の養生を確実に行うことによって、当年度(夏季1回越え)から十分の収穫量(例えば通常の30%〜50%増収)を見込むことができる種原木を得て栽培できる効果がある。
この発明は、なめこ栽培用の原木伐採後、直ちに又は少日数(例えば1週間〜2週間)後、長尺に切断し、原木とする。この原木になめこ菌を植菌した後積み上げ、シートを掛けて温度25℃〜27℃、湿度70%〜80%が適当で2ヶ月間養生する。前記植菌は通常駒孔を開けて駒を押し込むのであるが、駒孔の容積は駒より大きい(例えば50%〜100%増)が菌の繁殖促進上好ましい。
前記養生終了後、前記長尺の原木を数個に分断し、一列に密に並べて再び温度25℃〜27℃、湿度70%〜80%で1ヶ月間シートを掛けて養生して、種原木の処理を完成する。
前記種原木を、木洩日のある地面に下部を若干埋めて並べ、毎年9月以降位になめこができる。
この発明の実施例を図1,2に基づいて説明すると、伐採した(後7日経過)生はんの木を90cm宛切断して長尺原木1とし、この長尺原木1に円周方向の間隔4cm〜5cm、縦方向間隔10cm〜15cmで駒孔2で植菌する。ついで前記長尺原木1,1を山積み3とし、シート4で覆って、温度25℃〜27℃、湿度70%〜80%で管理し、2ヶ月間養生する。
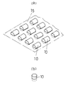
前記養生した長尺原木1を数個に分断し(切断線6)、短原木5を得る。この短原木5を一列に密に並べ(図2(a))、シート4を被覆して、温度25℃〜27℃、湿度70%〜80%で1ヶ月間養生し、種原木10を得る。前記短原木5は、図2(a)のように密に並列し、間に原木の鋸屑7を詰め、両端部を丸太8で塞ぐようにして、温度、湿度の管理を容易にする。前記シート4を掛けることにより、菌糸の均一繁殖を容易にする。また温湿度管理も容易となる。シートは半透明(例えば青色シート)を用いる。
次に種原木10を木洩日のあるような地面に1/3位埋めて並べ、通気性シート15を掛けて栽培すれば、毎年9月以後位に、各種原木10へなめこ9,9が生える。これを適宜収穫し、12月位まで収穫することができる。
この発明の他の実施例を図2(b)、(c)について説明すると、竹篭11へ紙14を介して土12を入れて、種原木10を縦に収容し、温湿度を管理すると、図2(c)のようになめこ9,9が生える。この実施例の場合には、下げ手13により種原木入り竹篭11を販売することができる。この種原木は、3年間なめこを生産する。
また種原木を地面上へ縦に設置すれば(1/3埋める)、図2(b)のようになめこを繁殖させることができる。
(a)この発明の実施例の長尺原木の斜視図、(b)同じく長尺原木を積み上げた状態の一部を省略した斜視図。 (a)同じく短原木の養生を示す一部を省略した斜視図、(b)同じく種原木の設置状態の実施例の一部断面図、(c)同じく種原木を篭内へ縦に設置した状態を示す一部を省略した断面図。 (a)同じく種原木を横置し、一部を省略した斜視図、(b)同じく縦置した斜視図。
符号の説明
1 長尺原木
2 駒孔
3 山積み
4 シート
5 短原木
7 オガクズ
8 丸太
9 なめこ
10 種原木
11 竹篭
12 土

Claims (6)

  1. 長尺に切断した原木へ縦横に植菌し、該植菌した原木を積み上げ、シートを掛けて温度20℃〜27℃、湿度70%〜80%で2ヶ月〜3ヶ月養生した後、前記原木を15cm〜25cmに切断して短原木とし、該短原木を地上へ密に並列し、シートを掛けて、温度20℃〜27℃、湿度70%〜80%に調整した状態で1ヶ月前後養生し、前記養生を終了した短原木を直射日光の少ない地上へ間隔をおいて並べることを特徴としたなめこの栽培方法。
  2. 15cm〜25cmの短尺に切断した短原木へ縦横に植菌し、該植菌した短原木を積み上げ、シートを掛けて温度20℃〜27℃、湿度70%〜80%で2ヶ月〜3ヶ月養生した後、前記短原木を地上へ密に並列してシートを掛けて、温度20℃〜27℃、湿度70%〜80%に調整した状態で1ヶ月前後養生し、前記養生を終了した短原木を直射日光の少ない地上へ間隔をおいて並べることを特徴としたなめこの栽培方法。
  3. 長尺の原木は、直径10cm〜30cm、長さ80cm〜110cmとし、短原木は長さ15cm〜25cmとしたことを特徴とする請求項1記載のなめこの栽培方法。
  4. 短原木の下部を土に埋めた状態で縦又は横にして篭に入れ、前記篭の下部を地中に埋めることを特徴とした請求項1又は2記載のなめこの栽培方法。
  5. 請求項1又は2記載の2回の養生を経たことを特徴とするなめこ栽培用短原木。
  6. 請求項1又は2記載の2回の養生を経た短原木を、土と共に篭に入れたことを特徴とするなめこ栽培用短原木。
JP2008223395A 2008-09-01 2008-09-01 なめこの栽培方法 Expired - Fee Related JP4692910B2 (ja)

Priority Applications (1)

Application Number Priority Date Filing Date Title
JP2008223395A JP4692910B2 (ja) 2008-09-01 2008-09-01 なめこの栽培方法

Applications Claiming Priority (1)

Application Number Priority Date Filing Date Title
JP2008223395A JP4692910B2 (ja) 2008-09-01 2008-09-01 なめこの栽培方法

Publications (2)

Publication Number Publication Date
JP2010057372A true JP2010057372A (ja) 2010-03-18
JP4692910B2 JP4692910B2 (ja) 2011-06-01

Family

ID=42184926

Family Applications (1)

Application Number Title Priority Date Filing Date
JP2008223395A Expired - Fee Related JP4692910B2 (ja) 2008-09-01 2008-09-01 なめこの栽培方法

Country Status (1)

Country Link
JP (1) JP4692910B2 (ja)

Cited By (1)

* Cited by examiner, † Cited by third party
Publication number Priority date Publication date Assignee Title
JP2011200172A (ja) * 2010-03-25 2011-10-13 Hanabiratake Honpo:Kk キノコの栽培方法

Non-Patent Citations (1)

* Cited by examiner, † Cited by third party
Title
JPN6010065115, 日本農林種菌(株)キノコ栽培と種菌:なめこの作り方 *

Cited By (1)

* Cited by examiner, † Cited by third party
Publication number Priority date Publication date Assignee Title
JP2011200172A (ja) * 2010-03-25 2011-10-13 Hanabiratake Honpo:Kk キノコの栽培方法

Also Published As

Publication number Publication date
JP4692910B2 (ja) 2011-06-01

Similar Documents

Publication Publication Date Title
JP6529711B2 (ja) 山林樹木挿し木苗の育苗方法
KR101447895B1 (ko) 천마의 인공 재배 방법
KR101220035B1 (ko) 관상용 표고버섯 재배 원목 및 그 제조방법
KR101432471B1 (ko) 천마 재배용 상토, 그 제조방법 및 이를 이용한 천마 재배방법
CN108887077B (zh) 一种高效育种的野生赤灵芝栽培方法
CN104663220B (zh) 一种天麻种植方法
KR20110119352A (ko) 액체균주를 이용한 천마의 균상재배방법
KR20100060589A (ko) 일반 버섯 재배사 등 시설물의 실내 및 노지에서 복령버섯 및 복신의 지상재배 방법.
KR101914510B1 (ko) 천마 재배방법
JP4692910B2 (ja) なめこの栽培方法
Whitcomb Innovations and the Nursery Industry1
CN104351003B (zh) 显著增加树木高度和材积的培养方法
JP4771264B1 (ja) キノコの栽培方法
CN104920164B (zh) 一种绿化苗木切根方法
CN105340673B (zh) 一种高出材率大径级树木的快速培育方法
RU2284099C1 (ru) Способ выращивания гриба вешенка
CN110720373A (zh) 一种大型裸根苗木的浅水种植方法及其种植坑
CN203735121U (zh) 一种树桩、弓棚、平菇复合体
CN104381016B (zh) 脆蜜桃嫁接方法
KR101004645B1 (ko) 침엽수 원목을 이용한 꽃송이 버섯 재배방법
KR101996032B1 (ko) 천마의 연중 생산방법
CN104542157B (zh) 一种乌干达十数樟的压条方法
JP2969429B2 (ja) シイタケ栽培用ほだ木と該ほだ木の育成方法並びに育成されたほだ木を使用したシイタケ栽培方法
KR100328312B1 (ko) 상황버섯 인공재배방법
CN209594373U (zh) 一种方便拆卸的园林园艺用苗木培育盘

Legal Events

Date Code Title Description
A621 Written request for application examination

Free format text: JAPANESE INTERMEDIATE CODE: A621

Effective date: 20091222

A871 Explanation of circumstances concerning accelerated examination

Free format text: JAPANESE INTERMEDIATE CODE: A871

Effective date: 20100722

A975 Report on accelerated examination

Free format text: JAPANESE INTERMEDIATE CODE: A971005

Effective date: 20100806

A131 Notification of reasons for refusal

Free format text: JAPANESE INTERMEDIATE CODE: A131

Effective date: 20101116

A521 Written amendment

Free format text: JAPANESE INTERMEDIATE CODE: A523

Effective date: 20101214

TRDD Decision of grant or rejection written
A01 Written decision to grant a patent or to grant a registration (utility model)

Free format text: JAPANESE INTERMEDIATE CODE: A01

Effective date: 20110111

A01 Written decision to grant a patent or to grant a registration (utility model)

Free format text: JAPANESE INTERMEDIATE CODE: A01

A61 First payment of annual fees (during grant procedure)

Free format text: JAPANESE INTERMEDIATE CODE: A61

Effective date: 20110210

FPAY Renewal fee payment (event date is renewal date of database)

Free format text: PAYMENT UNTIL: 20140304

Year of fee payment: 3

R150 Certificate of patent or registration of utility model

Free format text: JAPANESE INTERMEDIATE CODE: R150

LAPS Cancellation because of no payment of annual fees